|
|
(21), (22) Заявка: 2005126877/11, 25.08.2005
(24) Дата начала отсчета срока действия патента:
25.08.2005
(46) Опубликовано: 10.04.2007
(56) Список документов, цитированных в отчете о поиске:
Композиционные материалы. Т.7. Анализ и проектирование конструкций. Часть I / Под ред. К.Чамиса. – М.: Машиностроение, 1978. – С.131. RU 2230406 С2, 10.07.2003. US 4389447 А, 21.06.1983. JP 02-251678 А, 11.06.1991.
Адрес для переписки:
249035, Калужская обл., г. Обнинск, Киевское ш., 15, ФГУП “ОНПП “Технология”
|
(72) Автор(ы):
Климакова Любовь Анатольевна (RU), Комиссар Олег Николаевич (RU), Половый Александр Олегович (RU)
(73) Патентообладатель(и):
Федеральное государственное унитарное предприятие “Обнинское научно-производственное предприятие “Технология” (RU)
|
(54) ИНТЕГРАЛЬНАЯ РАМНАЯ КОНСТРУКЦИЯ ИЗ СЛОИСТОГО ПОЛИМЕРНОГО КОМПОЗИЦИОННОГО МАТЕРИАЛА
(57) Реферат:
Изобретение относится к размеростабильным несущим конструкциям рамного типа из слоистых полимерных композиционных материалов и может применяться в высокоточных наземных и космических системах. Интегральная рамная конструкция из слоистого полимерного композиционного материала состоит из ребер прямоугольного сечения и узлов их соединения, образующих вместе с ребрами монолитный силовой каркас, выполненный из лежащих в плоскости рамы слоев волокнистого материала, пропитанного полимерным связующим. Каждое ребро и каждый узел содержат не менее одного слоя волокнистого материала, волокна которого ориентированы вдоль продольной оси ребра, и слои волокнистого материала, волокна которого ориентированы в направлениях, соответствующих направлениям продольных осей других ребер. В результате повышается стабильность и точность позиционирования узлов рамы, снижаются вариации термомеханических свойств по длине ребер, обеспечивается высокая точность размеров изделия. 1 з.п. ф-лы, 2 ил.
Изобретение относится к размеростабильным несущим конструкциям рамного типа из слоистых полимерных композиционных материалов и может применяться в высокоточных наземных и космических системах, например, в качестве опорных конструкций ускорителей элементарных частиц или приборных платформ космических аппаратов.
Основным показателем качества и функциональной эффективности опорных рам для высокоточных изделий является постоянство геометрии, которое достигается получением однородной по жесткости и структуре композитной конструкции с минимальной вариацией термомеханических свойств конструктивных элементов.
Такая конструкция характеризуется пониженной жесткостью и высокой деформативностью из-за наличия конструктивных разъемов, частичного или полного перерезания продольных (ориентированных вдоль продольных осей ребер) волокон в узлах рамы, разнородности структуры и высокой вариации свойств ребер как раздельно формуемых деталей, а также низкой прочностью соединений, пониженной точностью рабочей поверхности изделия, технологической сложностью и высокой трудоемкостью изготовления.
Ближайшим аналогом, выбранным в качестве прототипа, является интегральная рамная конструкция из слоистого полимерного композиционного материала, содержащая стержневые элементы прямоугольного сечения (ребра) и узлы их соединения, которые образуются одновременно с ребрами в процессе намотки или выкладки слоев однонаправленного препрега (Композиционные материалы. Т.7. Анализ и проектирование конструкций. Часть I / Под ред. К.Чамиса. – М.: Машиностроение, 1978. – С.131).
Несмотря на то, что такое техническое решение позволяет реализовать более эффективное соединений ребер, а также повысить общую жесткость и технологичность рамной конструкции, она не отвечает требованиям по размерной стабильности и точности вследствие неизбежных утолщений в узлах пересечения ребер, приводящих к неоднородности структуры материала, значительной вариации жесткости и термомеханических свойств по длине ребер, низкой точности размеров сечения и рабочей поверхности изделия. Еще одним существенным недостатком является невозможность управления схемой армирования материала и характеристиками изделия, то есть получения рациональной по термоупругим свойствам конструкции.
Задачей изобретения является создание интегральной рамной конструкции из слоистого полимерного композиционного материала с высокой геометрической стабильностью в условиях циклического изменения температуры эксплуатации на основе применения новых структур армирования слоев материала, согласованных с пространственной ориентацией образующих раму стержневых элементов (ребер).
Техническим результатом изобретения является повышение стабильности и точности позиционирования узлов рамы, обеспечение рациональных термоупругих характеристик ребер, однородности структуры материала, постоянной жесткости сечения, снижения вариации термомеханических свойств по длине ребер, высокой точности размеров сечения и рабочей поверхности изделия.
Для этого в интегральной рамной конструкции из слоистого полимерного композиционного материала, состоящей из ребер прямоугольного сечения и узлов их соединения, образующих вместе с ребрами монолитный силовой каркас, выполненный из лежащих в плоскости рамы слоев волокнистого материала, пропитанного полимерным связующим, согласно предлагаемому изобретению, каждое ребро и каждый узел содержат не менее одного слоя волокнистого материала, волокна которого ориентированы вдоль продольной оси ребра, и слои волокнистого материала, волокна которого ориентированы в направлениях, соответствующих направлениям продольных осей других ребер.
Кроме того, с целью повышения жесткости интегральная рамная конструкция может дополнительно содержать второй монолитный силовой каркас, аналогичный по структуре армирования первому монолитному силовому каркасу и выполненный из материала, идентичного материалу первого монолитного силового каркаса, и заполнитель, например сотовый или синтактный, расположенный между первым и вторым монолитными силовыми каркасами и соединенный с ними посредством склейки или приформовки.
Для монолитных силовых каркасов может быть использован материал на основе углеродных, арамидных, стеклянных волокон или их комбинации и термореактивных связующих, например эпоксидных, цианатных или полиэфирных. В качестве заполнителя могут применяться сотовые заполнители на основе углеродных, стеклянных и арамидных тканей, металлические сотозаполнители, например, из алюминиевой фольги, а также синтактные заполнители на основе полых угле- и стекломикросфер. Для склейки заполнителя с монолитными силовыми каркасами могут использоваться клеевые композиции горячего и холодного отверждения.
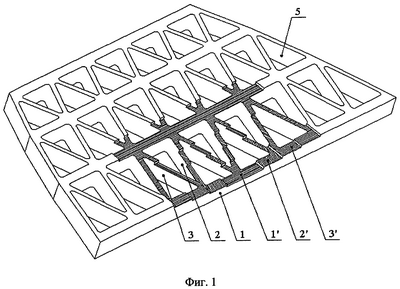
На фиг.1 представлена интегральная рамная конструкция из слоистого полимерного композиционного материала, на фиг.2 – интегральная рамная конструкция с дополнительными конструктивными элементами.
Интегральная рамная конструкция (фиг.1) из слоистого полимерного композиционного материала содержит пересекающиеся ребра 1, 2, 3 прямоугольного сечения и узлы соединения 4, образующие вместе с ребрами монолитный силовой каркас 5, выполненный из лежащих в плоскости рамы слоев волокнистого материала, пропитанного полимерным связующим. Каждое ребро 1, 2, 3 и каждый узел соединения 4 рамы содержат не менее одного слоя 1′ волокнистого материала, волокна которого ориентированы вдоль продольной оси ребер 1, и слои 2′ и 3′ волокнистого материала, волокна которого ориентированы вдоль продольных осей ребер 2 и 3 соответственно.
Соотношения слоев 1′, 2′ и 3′ в ребрах (и узлах соответственно) определяются условием получения требуемых термомеханических характеристик материала (термического коэффициента линейного расширения, модуля упругости, прочности и т.д.).
Интегральная рамная конструкция из слоистого полимерного композиционного материала (фиг.2) содержит дополнительный монолитный силовой каркас 6, аналогичный по структуре армирования монолитному силовому каркасу 5 и выполненный из материала, идентичного материалу монолитного силового каркаса 5, и заполнитель 7, расположенный между монолитными силовыми каркасами 5, 6 и соединенный с ними.
Геометрия интегральной рамной конструкции, в том числе ее форма, размеры сечений, количество и взаимное положение ребер, определяется конструктивными и компоновочными требованиями к изделию.
Изготовление интегральной рамной конструкции выполняется посредством получения плоской плиты методом послойной выкладки и формования и ее дальнейшей точной механической обработкой.
Процесс получения интегральной рамной конструкции с дополнительными конструктивными элементами включает изготовление плоских плит методом выкладки слоев полимерного композиционного материала и формования, склейку или приформовку плит с заполнителем и последующую точную механическую обработку.
Максимальные термические перемещения узлов прецизионных интегральных кольцевых рам, изготовленных из углепластика КМУ-4Л на основе ленты углеродной ЛУ-П/0.1А ГОСТ 28006-88 и эпоксидного связующего ЭНФБ ТУ 1-596-36-98 с использованием предложенного технического решения, имеющих наружный диаметр 2,15 м, толщину 21 мм и треугольную структуру силового каркаса из радиальных и кольцевых ребер прямоугольного сечения шириной 10 и 5 мм, составили величину менее 25 мкм в заданном диапазоне температуры эксплуатации от +15 до +35°С. Термический коэффициент линейного расширения материала при этом составил 2,3×10-6 1/°С (2,8×10-6 1/°С) для радиальных и 0,7×10-6 1/°С (1,0×10-6 1/°С) для кольцевых ребер. Пористость материала интегральных кольцевых рам – менее 1,0%. Вариация модуля упругости ребер составила менее 5%, термического коэффициента линейного расширения ±0,2×10-6 1/°С. Достигнутая точность рабочей поверхности интегральных кольцевых рам – 300 мкм.
Таким образом, заявляемое техническое решение позволяет получить высокоточные крупногабаритные рамные конструкции интегрального типа с высокой геометрической стабильностью, применяемые в наземной и космической технике, и в предложенной совокупности нового и известных существенных признаков соответствует критерию “промышленная применимость”.
Объем предлагаемого изобретения следует понимать шире, чем конкретное выполнение, приведенное в описании, формуле и на чертежах. Предложенное техническое решение может быть использовано в других областях техники с высоким уровнем требований по размерной стабильности и точности.
Формула изобретения
1. Интегральная рамная конструкция из слоистого полимерного композиционного материала, состоящая из ребер прямоугольного сечения и узлов их соединения, образующих вместе с ребрами монолитный силовой каркас, выполненный из лежащих в плоскости рамы слоев волокнистого материала, пропитанного полимерным связующим, отличающаяся тем, что каждое ребро и каждый узел содержат не менее одного слоя волокнистого материала, волокна которого ориентированы вдоль продольной оси ребра, и слои волокнистого материала, волокна которого ориентированы в направлениях, соответствующих направлениям продольных осей других ребер.
2. Интегральная рамная конструкция из слоистого полимерного композиционного материала по п.1, отличающаяся тем, что дополнительно содержит второй монолитный силовой каркас, аналогичный по структуре армирования первому монолитному силовому каркасу и выполненный из материала, идентичного материалу первого монолитного силового каркаса, и заполнитель, расположенный между первым и вторым монолитными силовыми каркасами и соединенный с ними.
РИСУНКИ
|
|