|
(21), (22) Заявка: 2005135316/02, 14.11.2005
(24) Дата начала отсчета срока действия патента:
14.11.2005
(46) Опубликовано: 10.04.2007
(56) Список документов, цитированных в отчете о поиске:
RU 2098259 C1, 10.12.1997. RU 2168552 C1, 10.06.2001. SU 387819 A1, 01.01.1973. RU 2234405 C1, 20.08.2004. WO 9006835 A1, 28.06.1990.
Адрес для переписки:
302020, г.Орел, Наугорское ш., 29, ОрелГТУ
|
(72) Автор(ы):
Степанов Юрий Сергеевич (RU), Киричек Андрей Викторович (RU), Афанасьев Борис Иванович (RU), Фомин Дмитрий Сергеевич (RU), Карманов Александр Сергеевич (RU), Пряхин Анатолий Анатолиевич (RU)
(73) Патентообладатель(и):
Государственное образовательное учреждение высшего профессионального образования “Орловский государственный технический университет” (ОрелГТУ) (RU)
|
(54) СПОСОБ ЭЛЕКТРОСТАТИКОИМПУЛЬСНОЙ ОБРАБОТКИ
(57) Реферат:
Изобретение относится к технологии машиностроения, а именно к способам комбинированной отделочно-упрочняющей обработки деталей из сталей и сплавов электрическим термическим поверхностным пластическим деформированием со статико-импульсным нагруженном инструмента. К инструменту прикладывают нормально к обрабатываемой поверхности заготовки статическую нагрузку и периодическую импульсную нагрузку. Используют инструмент в виде бойка и волновода, выполненных в виде стержней одинакового диаметра, и закрепленного на свободном конце волновода деформирующего инструмента в виде деформирующего ролика. При этом осуществляют подвод электрического тока от низковольтного источника к деформирующему инструменту и заготовке посредством токоподводящего ролика. К токоподводящему ролику прикладывают статическую нагрузку, равную по величине и противоположную по направлению упомянутой статической нагрузке, приложенной к деформирующему инструменту. Токоподводящий ролик располагают диаметрально противоположно относительно деформирующего ролика. В результате расширяются технологические возможности, повышается качество обрабатываемой поверхности и производительность обработки. 2 ил.
Изобретение относится к технологии машиностроения, в частности к способам комбинированной отделочно-упрочняющей обработки заготовок из сталей и сплавов электрическим термическим поверхностным пластическим деформированием со статико-импульсным нагружением инструмента.
Известен способ чистовой и упрочняющей обработки деталей обкатыванием [1], при котором сообщают движения подачи и скорости обработки инструменту и заготовке, контактирующим под приложенной к инструменту нормально к обрабатываемой поверхности постоянной статической нагрузкой в диапазоне усилий, обеспечивающих достижение заданной шероховатости, и периодической импульсной нагрузкой, изменяющейся в установленном диапазоне от минимального до максимального значения. При этом частоту пульсации нагрузки выбирают в зависимости от требуемой глубины наклепа.
Способ отличается низким КПД, большой энергоемкостью, недостаточно большой глубиной упрочненного слоя и недостаточно высокой степенью упрочнения обрабатываемой поверхности.
Известен способ статико-импульсной обработки поверхностным пластическим деформированием, осуществляемым инструментом, к которому нормально к обрабатываемой поверхности прикладывают постоянную статическую нагрузку и перпендикулярную импульсную нагрузку, которая сообщается посредством бойка и волновода, а форму, амплитуду, эффективную длительность и частоту единичных импульсов силы деформирования определяют по приведенным формулам [2].
Известный способ отличается ограниченными технологическими возможностями управления в создании гетерогенных упрочненных слоев и регулярного микрорельефа обрабатываемой поверхности.
Задачей изобретения является расширение технологических возможностей за счет совмещения электрического термического воздействия со статико-импульсной обработкой поверхностным пластическим деформированием, позволяющее управлять глубиной упрочненного слоя и микрорельефом поверхности, а также повышение качества обрабатываемой поверхности и производительности обработки.
Поставленная задача решается предлагаемым способом поверхностного пластического деформирования, включающий приложение к инструменту в виде бойка и волновода, выполненных в виде стержней одинакового диаметра, и закрепленного на свободном конце волновода деформирующего инструмента нормально к обрабатываемой поверхности заготовки статической нагрузки и периодической импульсной нагрузки, причем осуществляют подвод электрического тока от низковольтного источника к деформирующему инструменту и заготовке посредством токопроводящего ролика, к которому прикладывают статическую нагрузку, равную по величине и противоположную по направлению упомянутой статической нагрузке, приложенной к деформирующему инструменту, при этом используют деформирующий инструмент в виде деформирующего ролика с наружный диметром D и радиусом закругления его рабочей поверхности r, причем упомянутый наружный диметр D выбирают из соотношения 2r D/2 r, а токопроводящий ролик располагают диаметрально противоположно относительно деформирующего ролика.
Особенности способа поясняются чертежами.
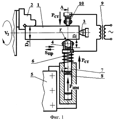
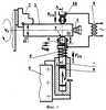
На фиг.1 представлена схема обработки по предлагаемому способу поверхностного пластического деформирования с электрическим термическим воздействием на примере заготовки – вала, установленного в патроне и заднем центре на токарном станке; на фиг.2 – поперечное сечение А-А на фиг.1.
Предлагаемый способ предназначен для поверхностного пластического деформирования с использованием постоянной статической и периодической импульсной нагрузки на инструмент и электрическим термическим воздействием на обрабатываемую поверхность.
Заготовку 1, например вал, устанавливают в патроне 2 и поджимают центром 3 задней бабки токарного станка, а деформирующее устройство 4, оснащенное механизмами статического и импульсного нагружения инструмента, – в резцедержателе станка 5 (фиг.1). В качестве механизма статического и импульсного нагружения инструмента применяется гидравлический генератор импульсов [3, 4].
Деформирующее устройство 4 инструмента выполнено в виде деформирующего ролика диметром D и радиусом закругления рабочей поверхности r, соотношение размеров которого определено по формуле
2r D/2 r,
где D – наружный диметр деформирующего ролика, мм;
r – радиус закругления рабочей поверхности деформирующего ролика, мм.
Инструменту сообщают движение подачи Sпр, а заготовке – вращение с частотой скорости обработки V3 и вводят их в контакт. В направлении нормали к обрабатываемой поверхности к деформирующему инструменту прикладывают постоянную статическую Рст и периодическую импульсную Рим нагрузку.
Статическое нагружение Рст осуществляется посредством пружины 6, смонтированной на волноводе 7. Величина статической силы деформирования выбирается наибольшей из обеспечивающих упругие контактные деформации обрабатываемого материала.
Импульсное нагружение Рим осуществляется посредством удара бойка 8 по торцу волновода 7, являющегося инструментом.
К деформирующему инструменту 4 и обрабатываемой заготовке 1 подводится электрический ток от низковольтного источника 9 большой мощности с целью дополнительного термического воздействия на обрабатываемую поверхность. Электрический ток технологического напряжения подведен к заготовке 1 через токопроводящий ролик 10, к которому приложена равная по величине Рст и противоположно направленная сила статического воздействия на заготовку деформирующим инструментом, при этом токопроводящий ролик 10 установлен диаметрально противоположно к деформирующему инструменту 4.
Кроме того, токопроводящий ролик 10 выполняет роль подвижного люнета, применяемого при обработке нежестких и тяжелых валов и для уравновешивания односторонне действующей деформирующей силы Рст.
Деформирующий инструмент в виде сферической поверхности (см. прототипы [1, 2]) имеет существенный недостаток: деформирующий элемент находится под действием технологического напряжения от низковольтного источника большой мощности, и поэтому из-за микроэлектроэрозионных явлений в зоне обработки происходит износ деформирующего инструмента и ухудшается качество обработки. Конструкция предлагаемого деформирующего ролика 4, шарнирно закрепленного на волноводе 7, лишена такого недостатка.
В результате удара бойка 8 по торцу волновода 7 в бойке и волноводе возникают ударные и противоположно направленные импульсы одинаковой амплитуды и продолжительности, каждый из которых будет воздействовать на обрабатываемую поверхность с цикличностью, равной двойной продолжительности импульсов. Дойдя до обрабатываемой поверхности, ударный импульс распределяется на проходящий и отражающий. Проходящий импульс формирует динамическую составляющую силы деформации.
При прохождении через зону обработки тока от низковольтного источника большой мощности возникает локальный нагрев обрабатываемого материала, снижаются его твердость и прочность, возрастает предрасположенность материала заготовки к получению последующего технологического воздействия.
В результате статического и импульсного давления и рабочего продольного перемещения деформирующего ролика обеспечиваются пластическое деформирование поверхности заготовки и сглаживание микронеровностей.
Глубина упрочненного слоя обработанного предлагаемым устройством достигает 2…3 мм, что значительно (в 3…4 раза) больше, чем при традиционном статическом упрочнении. Наибольшая степень упрочнения составляет 15…30%. В результате электростатико-импульсной обработки предлагаемым способом по сравнению с традиционным накатыванием эффективная глубина слоя, упрочненного на 20% и более, возрастает в 2…3 раза, а глубина слоя, упрочненного на 10% и более, – в 2…2,5 раза.
Пример. Для оценки параметров качества поверхностного слоя, упрочненного предлагаемым способом, проведены экспериментальные исследования обработки вала на токарном станке с использованием специального стенда. Значения технологических факторов (частоты ударов, радиус ролика инструмента, величина подачи) выбирались таким образом, чтобы обеспечить кратность ударного воздействия на элементарную площадку обрабатываемой поверхности в диапазоне 6…10. Дальнейшее увеличение кратности деформирующего воздействия ведет к разупрочнению. Сила тока 0,3…1,0 кА, скорость обработки 0,2…2 м/с, продольная подача инструмента 0,2…0,3 мм/об.
Величина силы статического поджатия инструмента к обрабатываемой поверхности составляла Рст 25…40 кН; Рим=255…400 кН. Заготовки из стали 40Х; исходная твердость «сырых» образцов – HV 270…280. Глубина упрочненного электростатико-импульсной обработкой слоя в 3…4 раза выше, чем при традиционном обкатывании. Упрочненный слой при традиционном статическом обкатывании формируется в условиях длительного действия больших статических усилий. Предлагаемым способом аналогичная глубина упрочненного слоя достигается в результате кратковременного воздействия на очаг деформации пролонгированного импульса энергии. При близких степенях упрочнения поверхностного слоя величина статической составляющей нагрузки предлагаемым способом значительно меньше.
Исследования напряженного состояния упрочненного поверхностного слоя электростатико-импульсной обработкой показали, что максимальные остаточные напряжения находятся близко к поверхности, как при чеканке, что благоприятно для большинства сопрягаемых деталей механизмов и машин. Сравнение глубины напряженного и упрочненного слоя, градиента напряжений и градиента наклепа показывает, что глубина напряженного слоя в 1,1…1,3 раза больше, чем глубина наклепанного слоя, что согласуется с теорией поверхностного – пластического деформирования.
Достигаемая в процессе обработки предлагаемым способом предельная величина шероховатости составляет Ra=0,08 мкм, возможно снижение исходной шероховатости в 6 раз благодаря локальному нагреву обрабатываемого материала, снижающего его твердость и прочность.
Микровибрации в процессе благоприятно сказываются на условиях работы инструмента. Наложение малого по амплитуде колебательного движения приводит к более равномерному распределению нагрузки на инструмент, вызывает дополнительные циклические перемещения контактных поверхностей инструмента и заготовки, облегчает формирование упрочняемой поверхности. Колебания способствуют лучшему проникновению смазочно-охлаждающей жидкости (СОЖ) в зону обработки. При наложении колебаний деформирующая поверхность инструмента периодически «отдыхает», что способствует увеличению ее стойкости. Обработка в условиях колебаний резко увеличивает эффективность охлаждающего, диспергирующего и пластифицирующего действия СОЖ вследствие облегчения ее доступа в зону контакта инструмента и заготовки.
Источники информации
1. А.с. СССР, 456719, МКИ В24В 39/00. Способ чистовой и упрочняющей обработки деталей обкатыванием. 1974.
2. Патент РФ 2098259, МКИ6 В24В 39/00. Лазуткин А.Г., Киричек А.В., Соловьев Д.Л. Способ статикоимпульсной обработки поверхностным пластическим деформированием. №96110476/02, 23.05.96; 10.12.97. Бюл. №34.
4. Патент РФ 2090342. Лазуткин А.Г., Киричек А.В., Соловьев Д.Л. Гидроударное устройство для обработки деталей поверхностным пластическим деформированием. 1997. Бюл. №34.
Формула изобретения
Способ поверхностного пластического деформирования, включающий приложение к инструменту в виде бойка и волновода, выполненных в виде стержней одинакового диаметра, и закрепленного на свободном конце волновода деформирующего инструмента нормально к обрабатываемой поверхности заготовки статической нагрузки и периодической импульсной нагрузки, отличающийся тем, что осуществляют подвод электрического тока от низковольтного источника к деформирующему инструменту и заготовке посредством токоподводящего ролика, к которому прикладывают статическую нагрузку, равную по величине и противоположную по направлению упомянутой статической нагрузке, приложенной к деформирующему инструменту, при этом используют деформирующий инструмент в виде деформирующего ролика с наружным диаметром D и радиусом закругления его рабочей поверхности r, причем упомянутый наружный диаметр D выбирают из соотношения 2r D/2 r, а токоподводящий ролик располагают диаметрально противоположно относительно деформирующего ролика.
РИСУНКИ
MM4A – Досрочное прекращение действия патента СССР или патента Российской Федерации на изобретение из-за неуплаты в установленный срок пошлины за поддержание патента в силе
Дата прекращения действия патента: 15.11.2007
Извещение опубликовано: 27.07.2009 БИ: 21/2009
|