|
|
(21), (22) Заявка: 2006105861/02, 26.02.2006
(24) Дата начала отсчета срока действия патента:
26.02.2006
(46) Опубликовано: 10.04.2007
(56) Список документов, цитированных в отчете о поиске:
RU 2254969 C1, 27.06.2005. RU 2074071 C1, 27.02.1997. SU 1017447 A1, 15.05.1983. SU 653052 A2, 25.03.1979. GB 2045136 A, 29.10.1980. JP 57-064479 A, 19.04.1982. JP 59-150637 A, 28.08.1984.
Адрес для переписки:
652055, Кемеровская обл., г. Юрга, ул. Ленинградская, 26, ЮТИ ТПУ, А.В. Чинахову
|
(72) Автор(ы):
Седнев Вячеслав Владимирович (RU), Брунов Олег Геннадьевич (RU), Крюков Артем Викторович (RU), Солодский Сергей Анатольевич (RU)
(73) Патентообладатель(и):
Томский политехнический университет (RU)
|
(54) МЕХАНИЗМ ИМПУЛЬСНОЙ ПОДАЧИ СВАРОЧНОЙ ПРОВОЛОКИ
(57) Реферат:
Изобретение относится к технологическому сварочному оборудованию, а именно к механизмам для импульсной подачи сварочной проволоки. Механизм содержит два зажима (1) и (2) для проволоки (3), шток (4) и устройство возвратно-поступательного перемещения штока в осевом направлении. Ось штока расположена перпендикулярно оси прохождения проволоки, пропущенной через отверстие (5), выполненное в средней части штока. Устройство возвратно-поступательного перемещения штока выполнено в виде пружины сжатия (6), установленной на одном конце штока, а на другом расположен ролик (7), взаимодействующий с кулачком (8), имеющим привод вращения (9). Кулачок выполнен в виде диска и установлен под углом на валу привода. Привод смещен в горизонтальной плоскости относительно штока. Это позволит упростить конструкцию механизма. 2 ил.
Изобретение относится к технологическому сварочному оборудованию, в частности к приспособлениям для подачи сварочной проволоки в зону сварки.
Известен механизм импульсной подачи сварочной проволоки, содержащий два зажима для проволоки, шток, ось которого расположена перпендикулярно оси прохождения проволоки, пропущенной через отверстие, выполненное в средней части штока, и устройство возвратно-поступательного перемещения штока в осевом направлении (см. описание к патенту №2154560, кл. В 23 К 9/12, 20.08.2000).
Недостатком описанного механизма является его сложность.
Известен механизм импульсной подачи сварочной проволоки, содержащий два зажима для проволоки, шток, ось которого расположена перпендикулярно оси прохождения проволоки, пропущенной через отверстие, выполненное в средней части штока, и устройство возвратно-поступательного перемещения штока в осевом направлении, которое выполнено в виде пружины сжатия, установленной на одном конце штока, а на другом расположены ролики, взаимодействующие с дисковым кулачком, имеющим привод вращения (см. описание к патенту №2254969 С1, кл. В 23 К 9/12, 9/133, от 27.06.2005).
В известном механизме кулачок, по сути, выполнен в виде стакана, на боковых стенках которого симметрично изготовлены фасонные поверхности, обкатываемые роликами, и поэтому этот кулачок не является дисковым и его изготовление трудоемко, т.к. конструкция сравнительно сложна.
Задача – упрощение конструкции механизма в целом.
Поставленная задача достигается тем, что в механизме импульсной подачи сварочной проволоки, содержащем два зажима для проволоки, шток, ось которого расположена перпендикулярно оси прохождения проволоки, пропущенной через отверстие, выполненное в средней части штока, и устройство возвратно-поступательного перемещения штока в осевом направлении, выполненное в виде пружины сжатия, установленной на одном конце штока, а на другом расположен ролик, взаимодействующий с кулачком, имеющим привод вращения, кулачок выполнен в виде диска, установленного под углом на валу привода, а сам привод смещен в горизонтальной плоскости относительно штока.
Заявляемое устройство характеризуется наличием следующих существенных отличительных признаков:
а) кулачок выполнен в виде диска;
б) диск установлен на валу привода под углом;
в) привод смещен в горизонтальной плоскости относительно штока.
Исследования по патентной и научно-технической литературе позволили сделать вывод о соответствии заявляемого механизма критериям охраноспособности изобретений, а испытание опытного образца – его работоспособность.
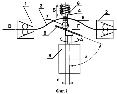
Сущность заявляемого поясняется чертежами, где на фиг.1 схематично изображен общий вид механизма импульсной подачи сварочной проволоки; на фиг.2 – вид по Г на фиг.1.
Механизм содержит два зажима 1 и 2 для проволоки 3, шток 4, ось которого расположена перпендикулярно оси прохождения проволоки 3, пропущенной через отверстие 5, выполненное в средней части штока 4, и устройство возвратно-поступательного перемещения штока 4 в осевом направлении, выполненное в виде пружины сжатия 6, установленной на одном конце штока 4, а другим концом шток 4, снабженный роликом 7, взаимодействует с дисковым кулачком 8, имеющим привод вращения 9. Кулачок 8 выполнен в виде диска и установлен на валу привода 9 под углом , а сам привод 9 смещен в горизонтальной плоскости относительно штока 4 на величину l.
Механизм работает следующим образом.
Проволоку 3 в механизм заводят через зажим 2, пропускают через отверстие 5 в штоке 4 и выводят через зажим 1. При включении привода 9 начинает вращаться кулачок 8 по стрелке “А”, воздействуя на шток 4 через ролик 7, который обкатывает кулачок 8. В результате чего шток 4 (при расположении ролика 7 на подъеме кулачка8) поднимается вверх по стрелке “Б”, сжимая пружину 6 и вытягивая проволоку 3 из зажима 2, при этом зажим 1 заклинивает и проволока 3 образует волну. При дальнейшем повороте кулачка 8, когда ролик 7 под действием пружины 6 займет крайнее нижнее положение, шток 4, опускаясь вниз по стрелке “Б”, будет выпрямлять волну проволоки 3, которая, расклинивая зажим 1, будет выходить из механизма и по шлангу (на чертеже не показан) направляться в зону сварки по стрелке “В”. В этом случае зажим 2 заклинивает. При работе механизма шток 4 совершает возвратно-поступательное перемещение по стрелке “Б”, производя то образование волны проволоки 3, то проталкивание ее через зажим 1. Частота импульсов подачи проволоки 3 зависит от скорости вращения кулачка 8. Ход подачи сварочной проволоки зависит от расстояния l, от которого зависит расстояние – l1, т.е. от ролика 7 до центра вращения кулачка 8.
Формула изобретения
Механизм импульсной подачи сварочной проволоки, содержащий два зажима для проволоки, шток, ось которого расположена перпендикулярно оси прохождения проволоки, пропущенной через отверстие, выполненное в средней части штока, и устройство возвратно-поступательного перемещения штока в осевом направлении, выполненное в виде пружины сжатия, установленной на одном конце штока, а на другом расположен ролик, взаимодействующий с кулачком, имеющим привод вращения, отличающийся тем, что кулачок выполнен в виде диска и установлен под углом на валу привода, а привод смещен в горизонтальной плоскости относительно штока.
РИСУНКИ
MM4A – Досрочное прекращение действия патента СССР или патента Российской Федерации на изобретение из-за неуплаты в установленный срок пошлины за поддержание патента в силе
Дата прекращения действия патента: 27.02.2008
Извещение опубликовано: 27.09.2009 БИ: 27/2009
|
|