|
|
(21), (22) Заявка: 2005129408/02, 20.09.2005
(24) Дата начала отсчета срока действия патента:
20.09.2005
(46) Опубликовано: 10.04.2007
(56) Список документов, цитированных в отчете о поиске:
SU 824969 А, 30.04.1981. SU 1266518 A1, 30.10.1982. SU 1491433 A1, 07.07.1989. SU 1674788 A1, 07.09.1991. US 5901403 A, 11.05.1999.
Адрес для переписки:
302020, г.Орел, Наугорское ш., 29, ОрелГТУ, Проректору по НР и МС Ю.С.Степанову
|
(72) Автор(ы):
Степанов Юрий Сергеевич (RU), Киричек Андрей Викторович (RU), Харламов Геннадий Андреевич (RU), Тарапанов Александр Сергеевич (RU), Афанасьев Борис Иванович (RU), Василенко Юрий Валерьевич (RU), Фомин Дмитрий Сергеевич (RU), Самойлов Николай Николаевич (RU)
(73) Патентообладатель(и):
Государственное образовательное учреждение высшего профессионального образования “Орловский государственный технический университет” (ОрелГТУ) (RU)
|
(54) СПОСОБ КОМБИНИРОВАННОГО ИГЛОФРЕЗЕРОВАНИЯ
(57) Реферат:
Изобретение относится к области технологии машиностроения, обработке материалов резанием. Способ заключается в том, что иглофрезе, содержащей корпус, имеющий свободно размещенные стаканы с пучком ворса, сообщают вращательное движение и продольную подачу. Для расширения технологических возможностей за счет управления глубиной снимаемого слоя и микрорельефом обработанной поверхности на обрабатываемую поверхность поочередно воздействуют жестко установленными пучками ворса и подвижными в радиальном направлении пучками ворса, перемещающимися под действием ударной импульсной нагрузки. Корпус жестко закреплен на шпинделе и выполнен в виде диска с радиально расположенными гнездами, в которых расположены подвижные в радиальном направлении стаканы. При этом иглофреза снабжена неподвижной опорой, контактирующей с днищем подвижного стакана, и неподвижными стаканами с пучками ворса, чередующимися с подвижными стаканами, жестко установленными в продольных пазах корпуса, имеющих форму в поперечном сечении расширяющейся к центру трапеции, которые закреплены с помощью клина, причем неподвижные стаканы имеют форму, ответную форме паза. 4 ил.
Изобретение относится к технологии машиностроения, к обработке материалов резанием, в частности к интенсивной обработке иглофрезерованием заготовок из металлов.
Известен способ обработки цилиндрической щеткой, содержащей установленную на корпусе обойму с цилиндрическими гнездами, в каждом из которых размещен стакан с пучком ворса, и упругий элемент, расположенный под стаканами и контактирующий с корпусом, при этом стаканы установлены в гнездах свободно, каждое гнездо на внутренней поверхности имеет кольцевую проточку, а на наружной поверхности стакана выполнен кольцевой выступ, ширина которого меньше ширины проточки гнезда, причем упругие элементы размещены в канавках корпуса, а на упругих элементах смонтированы отражатели [1].
Известный способ не позволяет производить резание неровностей значительной глубины, не позволяет управлять усилием прижатия пучков ворса к обрабатываемой поверхности, т.е. не позволяет управлять глубиной резания, и не позволяет упрочнять обрабатываемую поверхность, что снижает производительность и качество обработки.
Задача изобретения – расширение технологических возможностей за счет управления глубиной срезаемого слоя и микрорельефом обрабатываемой поверхности, интенсификация процесса путем приложения импульсной нагрузки, позволяющей повысить качество, производительность и добиться упрочнения обрабатываемой поверхности за счет использования специальной конструкции комбинированной иглофрезы.
Поставленная задача решается с помощью предлагаемого способа иглофрезерования, при котором сообщают вращательное движение и продольную подачу иглофрезе, содержащей корпус с имеющими на внутренней поверхности выточку гнездами, в каждом из которых свободно размещен стакан с пучком ворса, на наружной поверхности имеющий буртик, ширина которого меньше ширины выточки, и крышку, причем часть стаканов с пучком ворса устанавливают жестко, а часть – подвижно в радиальном направлении и на обрабатываемую поверхность поочередно воздействуют жестко установленными пучками ворса и подвижными пучками ворса, перемещающимися под действием ударной импульсной нагрузки, обеспечивающей резание с максимальным упрочнением, за счет жесткого закрепления корпуса на шпинделе и использования неподвижной опоры, контактирующей с днищем подвижного стакана в процессе резания, при этом корпус иглофрезы выполняют в виде диска с радиально расположенными гнездами с поперечным сечением в виде прямоугольника с закругленными углами, в которых расположены подвижные в радиальном направлении стаканы, имеющие форму, ответную форме гнезда, причем гнезда закрыты крышками, закрепленными на периферийной поверхности диска и имеющими отверстия для пучков ворса, между крышкой и буртиком стакана расположена пружина сжатия, при этом иглофрезу снабжают неподвижными стаканами с пучками ворса, чередующимися с подвижными стаканами, жестко установленными в продольных пазах корпуса, имеющих форму в поперечном сечении расширяющейся к центру трапеции, которые закреплены с помощью клина, причем неподвижные стаканы имеют форму, ответную форме паза.
Особенности способа комбинированного иглофрезерования поясняются чертежами.
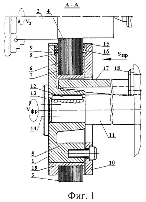
На фиг.1 представлена схема обработки заготовки-вала по предлагаемому способу, реализуемому специальной иглофрезой, продольный разрез А-А на фиг.2; на фиг.2 – общий вид слева на фиг.1 и частичный поперечный разрез иглофрезы; на фиг.3 – общий вид иглофрезы; на фиг.4 – элемент Б на фиг.2, зона контакта подвижного в радиальном направлении пучка ворса с заготовкой-валом.
Предлагаемый способ комбинированного иглофрезерования осуществляется специальной иглофрезой 1, которой сообщают вращательное движение Vфр и продольную подачу Sпр.
Комбинированный способ предназначен для обработки заготовок типа тел вращения 2, а также плоских поверхностей заготовок иглофрезой 1, позволяющей не только резать жестко закрепленными пучками ворса 3, но интенсифицировать процесс резания с упрочнением обработанной поверхности подвижными в радиальном направлении пучками ворса 4 благодаря их импульсному радиальному нагружению. Рабочая режущая поверхность иглофрезы состоит из чередующихся между собой пучков ворса 3 и 4, которые располагаются на периферии.
Иглофреза 1 состоит из корпуса 5 с гнездами 6 для подвижных стаканов 7, на внутренней поверхности имеющие выточку 8. В каждом гнезде 6 свободно размещен подвижный в радиальном направлении стакан 7 с пучком ворса 4, при этом на наружной поверхности стакана имеется буртик 9, ширина которого меньше ширины выточки 8. Корпус 5 выполнен в виде диска с радиально расположенными гнездами 6 и имеет один торец глухой (например, левый, фиг.1), другой торец закрыт крышкой 10, при этом корпус имеет центральное отверстие и ступицу, благодаря которой он жестко закреплен на шпинделе 11 с помощью шпонки 12, шайбы 13 и винтов 14.
Гнезда 6, расположенные в корпусе 5, в совокупности с крышкой 10 в поперечном сечении представляют собой прямоугольник с закругленными углами, в которых расположены подвижные в радиальном направлении стаканы 7, имеющие форму, ответную форме гнезда 6, причем гнезда 6 со стороны пучков ворса закрыты крышками 15, закрепленными винтами на периферийной поверхности корпуса и имеющими отверстия для пучков ворса 4.
Между крышкой 15 и буртиком 9 стакана 7 расположена пружина сжатия 16, которая постоянно стремится переместить стакан к центру иглофрезы.
Иглофреза снабжена неподвижной опорой 17 в виде кронштейна, который закреплен на корпусе 18 индивидуального привода фрезы (не показан). Неподвижная опора 17 контактирует с днищем подвижного стакана 7 и при набегании днища стакана при вращении иглофрезы на неподвижную опору сообщает пучку ворса 4 импульсную радиальную нагрузку Рим по направлению от центра фрезы к периферии.
Иглофреза также снабжена неподвижными стаканами 19 с пучками ворса 3, чередующимися с подвижными стаканами 7, жестко установленными в продольных пазах 20 корпуса 5. Продольные пазы 20 имеют форму в поперечном сечении расширяющейся к центру трапеции. Неподвижные стаканы 19 закрепляются в пазах 20 с помощью клина 21 и имеют форму, в поперечном сечении в совокупности с клином ответную форме паза 20.
Обработка по предлагаемому комбинированному способу осуществляется следующим образом.
В нерабочем неподвижном состоянии иглофрезы ее жестко закрепленные пучки ворса находятся на одном наружном диаметре Dфр, а подвижные в радиальном направлении пучки ворса находятся на меньшем диаметре, так как пружина сжатия 16 постоянно прижимает буртик 9 стакана 7 к днищу выточки 8.
Только при вращении иглофрезы со скоростью Vфр подвижные пучки ворса под действием центробежной силы устанавливаются на диаметре Dфр и при необходимости правятся совместно известными способами, например, шлифовальным кругом.
При обработке, например, заготовки-вала на токарном станке ее закрепляют в трехкулачковом самоцентрирующем патроне и поджимают центром задней бабки, как при традиционном точении валов.
Заготовке дают вращательное движение Vз, иглофрезе, установленной на шпинделе специальной головки с индивидуальным приводом иглофрезы, смонтированном на суппорте токарного станка, дают также вращательное движение со скоростью Vфр, устанавливают глубину резания, т.е., величину снимаемого припуска t, дают натяг h, компенсирующий прогибание ворса, и включают продольную подачу Sпр.
Имеющиеся в конструкции иглофрезы жестко закрепленные пучки ворса 3 работают, как в традиционных иглофрезах. Как только жестко закрепленный пучок ворса 3 касается обрабатываемой поверхности, так первоначально ворсинки начинают отклоняться от своей продольной оси ввиду малой жесткости. Максимальное отклонение пучка ворса 3 составит величину натяга h, т.е. иглофреза режет диаметром, равным
Dp=(Dфр-2h) мм,
где Dp – диаметр режущей иглофрезы с изогнутым пучком ворса, мм;
Dфр – диаметр иглофрезы в нерабочем состоянии, мм;
h – величина натяга, мм.
Когда суммарная сила упругой жесткости пучка ворса 3 будет противодействовать и окажется больше прочности материала заготовки, начнется процесс резания.
При контакте с заготовкой подвижный пучок ворса 4 поведет себя иначе.
При вращении иглофрезы на подвижный стакан 7 действует центробежная сила, которая преодолевает сопротивление пружины 16, заставляя ее сжиматься, при этом подвижные пучки ворса 4 выходят на диаметр Dфр и буртик 9 не касается дна выточки 8.
В первый момент касания пучком ворса 4 заготовки (см. фиг.4), а это произойдет на диаметре Dфр, подвижный стакан 7, преодолевая сопротивление инерционных сил, будет радиально перемещаться к центру иглофрезы на суммарную величину натяга плюс припуск на резание, т.е. на величину (h+t) мм. После прохождения этого пути стакан, находясь в зоне расположения неподвижной опоры 17, днищем начинает контактировать с ее рабочей поверхностью.
В результате воздействия рабочей поверхности неподвижной опоры 17 на днище стакана 7 он изменит свое направление движения на противоположное и пучки ворса 3 начнут двигаться от центра иглофрезы к заготовке.
Подвижный стакан 7 с пучком ворса 4 и выпуклым днищем проходит путь (h+t) мм, получая импульсную ударную радиальную подачу с усилием Рим, обеспечивающую резание с максимальным упрочнением (см. фиг.4).
При нахождении стакана с пучком ворса на выступе неподвижной опоры 17 производится эффективное резание со снятием припуска t ввиду вращения заготовки и максимальное упрочнение.
От конфигурации профилей неподвижной опоры и днища подвижных стаканов и их сочетания зависит эффективность обработки и качество обработанной поверхности.
Оптимального сочетания конфигурации профилей кулачка и днища стаканов для каждого конкретного случая добиваются опытным путем.
Таким образом, при вращении иглофрезы и набегании днища подвижного стакана с пучком ворса на рабочий выступ неподвижной опоры формируется импульсная ударная радиальная подача с усилием Рим, которая интенсифицирует процесс резания и упрочняет поверхностный обрабатываемый слой.
Возможность рационального использования энергии ударных волн определяется размерами инструмента.
Глубина упрочненного слоя, обработанного предлагаемой иглофрезой, достигает 0,5…1,5 мм. Наибольшая степень упрочнения составляет 15…30%.
Для оценки параметров качества поверхностного слоя, обработанного и упрочненного предлагаемой иглофрезой, проведены экспериментальные исследования обработки вала. Величина силы импульсного воздействия инструмента на обрабатываемую поверхность составляла Римп=255…400 Н. Заготовки из стали 40Х; исходная твердость «сырых» образцов – HV 230…280. Глубина упрочненного импульсной обработкой слоя составила 0,9…1,2 мм.
Исследования напряженного состояния обработанного и упрочненного поверхностного слоя показали, что максимальные остаточные напряжения находятся близко к поверхности, как при чеканке, что благоприятно для большинства сопрягаемых деталей механизмов и машин. Сравнение глубины напряженного и упрочненного слоя, градиента напряжений и градиента наклепа показывает, что глубина напряженного слоя в 1,1…1,3 раза больше, чем глубина наклепанного слоя, что согласуется с теорией поверхностного – пластического деформирования.
Достигаемая в процессе обработки предлагаемым способом предельная величина шероховатости составляет Ra=1,6 мкм, возможно снижение исходной шероховатости в 2,5 раза.
Микровибрации в процессе благоприятно сказываются на условиях работы инструмента. Наложение малого по амплитуде колебательного движения приводит к более равномерному распределению нагрузки на инструмент, вызывает дополнительные циклические перемещения контактных поверхностей инструмента и заготовки, облегчает формирование срезаемой стружки и упрочняемой поверхности.
Колебания способствует лучшему проникновению смазачно-охлаждающей жидкости (СОЖ) в зону обработки. При данном прерывистом резании режущая поверхность инструмента периодически «отдыхает», что способствует увеличению ее стойкости. Обработка в условиях колебаний резко увеличивает эффективность охлаждающего, диспергирующего и пластифицирующего действия СОЖ вследствие облегчения ее доступа в зону контакта инструмента и заготовки.
Таким образом, предлагаемый способ позволяет расширить технологические возможности за счет управления глубиной срезаемого слоя и микрорельефом обрабатываемой поверхности, интенсифицировать процесс путем приложения переменной импульсной нагрузки, позволяющей повысить качество, производительность и добиться упрочнения обрабатываемой поверхности.
Источник информации
1. А.с. СССР 824969, МКИ3 А46В 7/10. Цилиндрическая щетка. Берков Б.В. 2809273-12; 08.08.79; 30.04.81. Бюл. №16 – прототип.
Формула изобретения
Способ иглофрезерования, при котором сообщают вращательное движение и продольную подачу иглофрезе, содержащей корпус с имеющими на внутренней поверхности выточку гнездами, в каждом из которых свободно размещен стакан с пучком ворса, на наружной поверхности имеющий буртик, ширина которого меньше ширины выточки, и крышку, отличающийся тем, что часть стаканов с пучком ворса устанавливают жестко, а часть – подвижно в радиальном направлении и на обрабатываемую поверхность поочередно воздействуют жестко установленными пучками ворса и подвижными пучками ворса, перемещающимися под действием ударной импульсной нагрузки, обеспечивающей резание с максимальным упрочнением за счет жесткого закрепления корпуса на шпинделе и использования неподвижной опоры, контактирующей с днищем подвижного стакана в процессе резания, при этом корпус иглофрезы выполняют в виде диска с радиально расположенными гнездами с поперечным сечением в виде прямоугольника с закругленными углами, в которых расположены подвижные в радиальном направлении стаканы, имеющие форму, ответную форме гнезда, причем гнезда закрыты крышками, закрепленными на периферийной поверхности диска и имеющими отверстия для пучков ворса, между крышкой и буртиком стакана расположена пружина сжатия, при этом иглофрезу снабжают неподвижными стаканами с пучками ворса, чередующимися с подвижными стаканами, жестко установленными в продольных пазах корпуса, имеющих форму, в поперечном сечении расширяющейся к центру трапеции, которые закреплены с помощью клина, причем неподвижные стаканы имеют форму, ответную форме паза.
РИСУНКИ
MM4A – Досрочное прекращение действия патента СССР или патента Российской Федерации на изобретение из-за неуплаты в установленный срок пошлины за поддержание патента в силе
Дата прекращения действия патента: 21.09.2007
Извещение опубликовано: 10.05.2009 БИ: 13/2009
|
|