|
| На основании пункта 3 статьи 13 Патентного закона Российской Федерации от 23 сентября 1992 г. № 3517-I патентообладатель обязуется передать исключительное право на изобретение (уступить патент) на условиях, соответствующих установившейся практике, лицу, первому изъявившему такое желание и уведомившему об этом патентообладателя и федеральный орган исполнительной власти по интеллектуальной собственности, – гражданину РФ или российскому юридическому лицу. |
|
(21), (22) Заявка: 2005125332/02, 09.08.2005
(24) Дата начала отсчета срока действия патента:
09.08.2005
(46) Опубликовано: 10.04.2007
(56) Список документов, цитированных в отчете о поиске:
WO 2004/098821 A1, 18.11.2004. SU 814573 A, 25.03.1981. SU 1046026 A, 07.10.1983. SU 1646691 A1, 07.05.1991.
Адрес для переписки:
129366, Москва, до востребования, Н.А. Корюкиной
|
(72) Автор(ы):
Корюкина Нина Алексеевна (RU)
(73) Патентообладатель(и):
Корюкина Нина Алексеевна (RU)
|
(54) РЕЖУЩАЯ ПЛАСТИНА ДЛЯ ТОЧЕНИЯ
(57) Реферат:
Изобретение относится к области токарной обработки материалов резанием, сборному режущему инструменту. Пластина имеет по крайней мере один угол в диапазоне 30-85°, образованный режущими кромками, переднюю и заднюю поверхности, поперечную кромку, расположенную перпендикулярно к проходящей через ее середину биссектрисе упомянутого угла, и переходные радиусные режущие кромки от поперечной кромки к режущим кромкам. Для повышения стойкости режущей пластины за счет улучшения ее геометрии на передней поверхности выполнен по крайней мере один выступ. При этом переходная режущая кромка образована пересечением поверхности указанного выступа с задней поверхностью режущей пластины. 3 ил.
Изобретение относится к области токарной обработки материалов резанием, сборному режущему инструменту.
Известна режущая пластина для точения, имеющая по крайней мере один угол в диапазоне 30-85°, образованный режущими кромками, переднюю и заднюю поверхности, поперечную кромку, расположенную перпендикулярно к проходящей через ее середину биссектрисе упомянутого угла, и переходные радиусные режущие кромки от поперечной кромки к режущим кромкам (см. WO 2004/098821, В 23 В 27/16, 2004).
Недостатком известной режущей пластины является повышенный износ по задней поверхности в области переходных радиусных кромок.
Задачей изобретения является повышение стойкости режущей пластины за счет улучшения ее геометрии.
Поставленная задача решается тем, режущая пластина для точения, имеющая по крайней мере один угол в диапазоне 30-85°, образованный режущими кромками, переднюю и заднюю поверхности, поперечную кромку, расположенную перпендикулярно к проходящей через ее середину биссектрисе упомянутого угла, и переходные радиусные режущие кромки от поперечной кромки к режущим кромкам, согласно изобретению на передней поверхности выполнен по крайней мере один выступ, при этом переходная режущая кромка образована пересечением поверхности указанного выступа с задней поверхностью режущей пластины.
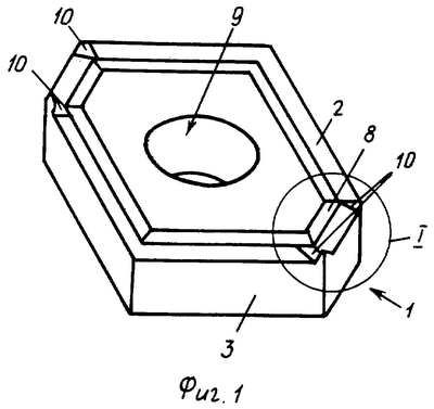
Предложенная режущая пластина представлена на фиг.1-3, на которых:
на фиг.1 – представлен вид в перспективе на режущую пластину;
на фиг.2 – представлен в увеличенном масштабе вид сверху на выделенный участок на фиг.1;
на фиг.3 – представлен вид спереди на фиг.2.
Режущая пластина для точения включает, по крайней мере, один угол 1, выбранный из диапазона 30-85°, образованный режущими кромками, переднюю поверхность 2 и заднюю поверхность 3, поперечную кромку 4, расположенную перпендикулярно к проходящей через ее (поперечной кромки) середину биссектрисе 5 упомянутого угла. Угол 1 образован режущими кромками 6 и имеет переходные радиусные кромки 7 между ними и поперечной кромкой 4.
На передней поверхности выполнен уступ 8 для дробления стружки.
Для закрепления в гнезде режущего инструмента режущая пластина может иметь сквозное отверстие 9.
На передней поверхности выполнен, по крайней мере, один выступ 10, при этом переходная режущая кромка 7 образована на пересечении поверхности указанного выступа с задней поверхностью 3. Следует отметить, что выступ 10 может захватывать не только переходную режущую кромку, но и часть кромки, образующей угол.
Формула изобретения
Режущая пластина для точения, имеющая по крайней мере один угол в диапазоне 30-85°, образованный режущими кромками, переднюю и заднюю поверхности, поперечную кромку, расположенную перпендикулярно проходящей через ее середину биссектрисе упомянутого угла, и переходные радиусные режущие кромки от поперечной кромки к режущим кромкам, отличающаяся тем, что на передней поверхности выполнен по крайней мере один выступ, при этом переходная режущая кромка образована пересечением поверхности указанного выступа с задней поверхностью режущей пластины.
РИСУНКИ
|
|