|
|
(21), (22) Заявка: 2005128894/02, 15.09.2005
(24) Дата начала отсчета срока действия патента:
15.09.2005
(46) Опубликовано: 10.04.2007
(56) Список документов, цитированных в отчете о поиске:
SU 1458041 A1, 15.02.1989. SU 1219188 A1, 23.03.1986. SU 1014607 A1, 11.12.1981. DE 2651490 A1, 18.05.1978.
Адрес для переписки:
455002, Челябинская обл., г. Магнитогорск, ул. Кирова, 93, ОАО “ММК”, отдел рационализации, изобретательства и патентной работы
|
(72) Автор(ы):
Панов Виктор Викторович (RU), Овсов Михаил Борисович (RU), Головин Владимир Александрович (RU), Носов Василий Леонидович (RU), Еремин Александр Васильевич (RU), Шмаков Владимир Иванович (RU)
(73) Патентообладатель(и):
Открытое акционерное общество “Магнитогорский металлургический комбинат” (RU)
|
(54) МЕХАНИЗМ УСТАНОВКИ ВЕРХНЕГО ВАЛКА ПРОКАТНОЙ КЛЕТИ
(57) Реферат:
Изобретение относится к прокатному производству и может быть использовано в реверсивных клетях обжимных, крупносортных, рельсобалочных и толстолистовых станов. Задача изобретения – сокращение затрат на ремонт, уменьшение эксплуатационных расходов и увеличение производительности стана. Механизм оснащен электрогидравлической системой управления гидроцилиндром уравновешивания, состоящей из четырехлинейного двухпозиционного золотникового распределителя и последовательно по отношению к нему установленных в линии трубопроводов редукционного, переливного, обратного клапанов и регулируемого дросселя. Изобретение позволяет разгружать гайки нажимных винтов и подпятники от усилия переуравновешивания при переустановке верхнего валка на новое обжатие во время пауз, что увеличивает долговечность винтовой пары. 1 з.п. ф-лы, 1 ил.
Изобретение относится к прокатному производству и может быть использовано в реверсивных прокатных клетях обжимных, крупносортных, рельсобалочных и толстолистовых станов.
Известен механизм установки верхнего валка прокатной клети (А.с. СССР №827201, В 21 В 31/24, опубл. 07.05.81, Бюл. №17). Недостатком данного механизма является то, что задача повышения долговечности гайки нажимного винта и подпятника решается установкой дополнительного гидроцилиндра в станине, шток которого взаимодействует с балкой уравновешивания, и гидросистемы уравновешивания верхнего валка и управления дополнительным гидроцилиндром функционально разделены, что усложняет устройство и не повышает его надежность.
Известно также гидравлическое уравновешивающее устройство прокатной клети (А.с. СССР №1219188, B 21 В 31/32, опубл. 23.03.86, Бюл. №11). К недостаткам этого устройства следует отнести отсутствие разгрузки гайки нажимного винта и подпятника при движении нажимных винтов вверх.
Наиболее близким аналогом к заявляемому механизму является механизм установки верхнего валка прокатной клети (А.с. №1458041, В 21 В 31/24, опубл. 15.02.89, Бюл. №6). Недостатком данного механизма является наличие в гидросистеме управления работой гидроцилиндров уравновешивания двух распределителей с общим числом позиций, равным пяти, что снижает надежность механизма из-за несрабатывания любого из них в каждой из позиций по причине выхода из строя катушек электромагнитов или заедания золотников в процессе переключений при загрязнении рабочей жидкости. Это может привести к недостаточному прижиму подпятников к пятам нажимных винтов и наличию зазоров в винтовой паре или запертости гидросистемы при сливе рабочей жидкости с последующим разрушением трубопроводов.
Техническая задача, решаемая изобретением, заключается в повышении долговечности винтовой пары механизма и повышении надежности механизма.
Поставленная задача решается тем, что механизм установки верхнего валка прокатной клети снабжен электрогидравлической системой управления работой гидроцилиндра уравновешивания верхнего валка, включающей четырехлинейный двухпозиционный золотниковый распределитель, последовательно с которым в линии подводящего трубопровода к гидроцилиндру уравновешивания верхнего валка установлены редукционный и обратный клапаны, а в линии отводящего трубопровода к баку насосной станции установлен переливной клапан с регулируемым дросселем, причем переливной клапан настроен на меньшее давление до себя по ходу потока рабочей жидкости, чем давление, создаваемое в напорном трубопроводе аккумулятора, а редукционный клапан настроен на меньшее давление после себя по ходу потока рабочей жидкости, чем давление, на которое настроен переливной клапан.
Такое устройство механизма установки верхнего валка прокатной клети позволяет разгружать гайку нажимного винта и подпятник во время переустановки верхнего валка на новое обжатие во время пауз от усилия переуравновешивания, создаваемого аккумулятором постоянно, и создавать необходимое усилие переуравновешивания, когда нажимные винты неподвижны. Это увеличивает долговечность гайки нажимного винта и подпятника, уменьшает нагрузки на двигатели нажимных винтов и передаточные механизмы, сокращает затраты на ремонты, уменьшает эксплуатационные расходы и увеличивает производительность стана за счет сокращения простоев. Так как состав гидроаппаратуры для реализации электрогидравлической системы управления минимален, то это сокращает отказы до минимума и увеличивает надежность механизма.
Известны также технические решения аналогичной задачи по следующим авторским свидетельствам:
А.с. СССР №1014607, В 21 В 31/32, опубл. 30.04.83, Бюл. №16,
А.с. СССР №1134252, В 21 В 31/20, опубл. 15.01.85, Бюл. №2,
А.с. СССР №1310052, В 21 В 31/32, опубл. 15.05.87, Бюл. №18,
А.с. СССР №1357097, В 21 В 31/20, опубл. 07.12.87, Бюл. №45.
В перечисленных изобретениях задача повышения долговечности винтовой пары решается более сложными устройствами, и отличительные признаки заявляемого механизма в них не обнаружены.
Поэтому из анализа известных технических решений можно сделать вывод, что для специалистов заявляемый механизм установки верхнего валка прокатной клети не следует явным образом из известного уровня техники, а следовательно, соответствует условию патентоспособности «изобретательский уровень».
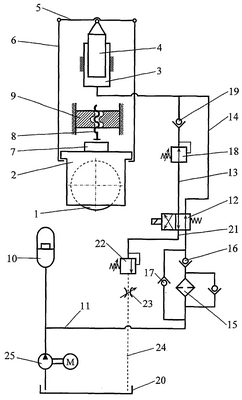
На чертеже изображен механизм установки верхнего валка прокатной клети с электрогидравлической схемой управления работой гидроцилиндра уравновешивания верхнего валка.
Механизм установки верхнего валка прокатной клети имеет систему уравновешивания верхнего валка 1 с подушками 2, содержащую гидроцилиндр 3 уравновешивания, неподвижно закрепленный в расточке станины, в котором размещен плунжер 4, соединенный с подушками 2 через коромысло 5 и тяги 6. На подушках 2 установлены подпятники 7, контактирующие с пятами нажимных винтов 8, сопряженных с гайками 9, неподвижно установленными в расточках станины. Рабочая жидкость к гидроцилиндру 3 уравновешивания подведена от аккумулятора 10 по нагнетательному трубопроводу 11 через двухпозиционный четырехлинейный распределитель 12 с управлением от электромагнита и пружинным возвратом и подводящие трубопроводы 13 и 14. В линии нагнетательного трубопровода 11 установлены фильтр тонкой очистки 15 со встроенным предохранительным клапаном и обратный клапан 16. Фильтр тонкой очистки 15 шунтирован обратным клапаном 17. В линии подводящего трубопровода 13 установлены редукционный клапан 18 и обратный клапан 19, последовательно соединенные с распределителем 12. Для слива рабочей жидкости в бак 20 с распределителем 12 соединены отводящий трубопровод 21, в линии которого последовательно с распределителем 12 установлены переливной клапан 22 и регулируемый дроссель 23. Дроссель установлен в линии сливного трубопровода 24. Аккумулятор 10 заполняется рабочей жидкостью от насосной станции 25. В исходной позиции распределителя 12 нагнетательный трубопровод 11 соединен с подводящим трубопроводом 14, а отводящий трубопровод 21 – с подводящим трубопроводом 13.
Механизм может работать в трех режимах: нажимные винты неподвижны, нажимные винты движутся вниз, нажимные винты движутся вверх.
Нажимные винты неподвижны (исходное состояние механизма): аккумулятор 10 от насосной станции 25 заполнен рабочей жидкостью; электродвигатели нажимных винтов 8 обесточены и нажимные винты неподвижны; электромагнит двухпозиционного четырехлинейного распределителя 12 обесточен и линии связей распределителя находятся в исходной позиции; переливной клапан 22 отрегулирован на меньшее давление до себя по ходу потока рабочей жидкости, чем давление, создаваемое аккумулятором в напорном трубопроводе; редукционный клапан 18 отрегулирован на меньшее давление после себя по ходу потока рабочей жидкости, чем давление, на которое отрегулирован переливной клапан 22. В этом состоянии механизма рабочая жидкость под давлением, создаваемым аккумулятором 10, по напорному трубопроводу 11 через фильтр тонкой очистки 15, обратный клапан 16, распределитель 12, подводящий трубопровод 14 поступает в гидроцилиндр 3 уравновешивания верхнего валка. При этом обратный клапан 19 закрыт. Плунжер 4 гидроцилиндра 3, перемещаясь вверх, воздействует через коромысло 5 и тяги 6 на подушки 2 верхнего валка, которые также перемещаются вверх. Зазоры между подпятником 7 и пятой нажимного винта 8, а также в паре нажимной винт 8 – гайка 9 выбираются. Механизм уравновешивания верхнего валка находится под воздействием усилия переуравновешивания, которое на 20-40% больше веса уравновешиваемых деталей. Все зазоры выбраны и клеть готова принять раскат.
Работа механизма при движении нажимных винтов вниз осуществляется следующим образом. Такое движение нажимным винтам 8 дается при переустановке верхнего валка 1 с подушками 2 на новое обжатие после очередного прохода раската через клеть. При этом электродвигатели нажимных винтов 8 включаются на перемещение нажимных винтов вниз и одновременно дается импульс на срабатывание электромагнита распределителя 12. Левая позиция распределителя занимает положение исходной и нагнетательный трубопровод 11 соединяется с подводящим трубопроводом 13, а подводящий трубопровод 14 – с отводящим трубопроводом 21. При движении нажимных винтов 8 вниз рабочая жидкость плунжером 4 вытесняется из гидроцилиндра 3 под давлением, определяемым настройкой переливного клапана 22, через подводящий трубопровод 14, распределитель 12, отводящий трубопровод 21, переливной клапан 22, дроссель 23 и сливной трубопровод 24 в бак 20. Дросселем 23 регулируется расход рабочей жидкости, обеспечивающий синхронизацию движения плунжера 4 и нажимных винтов 8. Усилия, действующие на подпятник 7 и гайку 9 нажимного винта 8, определяются настройкой переливного клапана 22 и могут быть минимальными. Подпятник 7 и гайки 9 нажимных винтов 8, таким образом, разгружаются при переустановке верхнего валка 1 на новое обжатие во время пауз между проходами металла через валки. Уменьшаются нагрузки на электродвигатели нажимных винтов 8, на передаточные механизмы, уменьшается износ пары нажимной винт 8 – гайка 9 и подпятник 7. Рабочая жидкость из аккумулятора 10 через напорный трубопровод 11, фильтр 15, обратный клапан 16, распределитель 12, подводящий трубопровод 13, редукционный клапан 18, закрытый обратный клапан 19 в гидроцилиндр не поступает. Это обусловлено тем, что давление перед переливным клапаном 22 больше, чем давление, редуцируемое редукционным клапаном 18. После установки верхнего валка 1 на заданное обжатие электродвигатели нажимных винтов 8 и электромагнит распределителя 12 обесточиваются. При этом нажимные винты 8 неподвижны, а линии связей распределителя 12 занимают исходную позицию. Состояние механизма установки верхнего валка соответствует режиму – нажимные винты неподвижны. Клеть готова принять раскат. При переустановке верхнего валка 1 на новые обжатия цикл работы механизма повторяется.
Работа механизма при движении нажимных винтов вверх осуществляется следующим образом. Такое движение нажимным винтам 8 сообщается тогда, когда клетью выполнены все проходы и верхний валок 1 необходимо вернуть в исходное положение для принятия новой заготовки. В этом случае электродвигатели нажимных винтов 8 включаются на работу нажимных винтов вверх и одновременно подается импульс на срабатывание электромагнита распределителя 12. Левая позиция распределителя опять занимает положение исходной и нагнетательный трубопровод 11 соединяется с подводящим трубопроводом 13, а подводящий трубопровод 14 – с отводящим трубопроводом 21. При движении нажимных винтов 8 вверх рабочая жидкость из аккумулятора 10 по нагнетательному трубопроводу 11, через фильтр 15, обратный клапан 16, распределитель 12, подводящий трубопровод 13, редукционный клапан 18, обратный клапан 19 под давлением, обусловленным настройкой редукционного клапана 18, будет поступать в гидроцилиндр 3. По подводящему трубопроводу 14 через распределитель 12, отводящий трубопровод 21 в сливную магистраль 24 рабочая жидкость поступать не будет, так как давление, редуцируемое редукционным клапаном 18, меньше, чем давление, на которое настроен переливной клапан 22. Усилия, действующие на подпятник 7 и гайки 9 нажимных винтов 8, определяются настройкой редукционного клапана 18 и могут быть также минимальны. После остановки нажимных винтов и выполнения в дальнейшем клетью заданного числа проходов движение нажимных винтов вверх всегда будет повторяться.
Работа механизма установки верхнего валка возможна и при отказах распределителя 12. Пусть при движении нажимных винтов 8 вверх или вниз распределитель 12 не включился. Тогда при движении нажимных винтов 8 вниз рабочая жидкость из гидроцилиндра 3 по подводящему трубопроводу 14 через распределитель 12, обратный клапан 17, минуя фильтр 15, так как обратный клапан 16 закрыт, будет поступать по нагнетательному трубопроводу 11 в аккумулятор 10. При движении нажимных винтов 8 вверх рабочая жидкость из аккумулятора будет вытесняться по нагнетательному трубопроводу 11 через фильтр 15, обратный клапан 16, распределитель 12, подводящий трубопровод 14 в гидроцилиндр 3. В обоих случаях механизм будет работать при повышенном в гидросистеме давлении, создаваемом аккумулятором, что не создает аварийности. В случае, если распределитель 12 не выключился, работа механизма при движении нажимных винтов вверх и вниз будет осуществляться в режимах, выше описанных, а переуравновешивание верхнего валка во время остановки нажимных винтов 8 будет пониженным, что также не создает аварийной ситуации.
Формула изобретения
1. Механизм установки верхнего валка прокатной клети, включающий гидроцилиндр уравновешивания верхнего валка, плунжер которого взаимодействует через систему тяг с подушками верхнего валка и винтовыми передачами нажимного механизма, насосную станцию, аккумулятор, систему соединительных трубопроводов, отличающийся тем, что он снабжен электрогидравлической системой управления, включающей четырехлинейный двухпозиционный золотниковый распределитель, последовательно с которым в линии подводящего трубопровода к гидроцилиндру уравновешивания верхнего валка установлены редукционный и обратный клапаны, а в линии отводящего трубопровода к баку насосной станции установлен переливной клапан, причем переливной клапан настроен на меньшее давление перед ним по ходу потока рабочей жидкости, чем давление, создаваемое аккумулятором, а редукционный клапан настроен на меньшее давление после него по ходу потока рабочей жидкости, чем давление, на которое настроен переливной клапан.
2. Механизм по п.1, отличающийся тем, что последовательно с переливным клапаном в сливной магистрали установлен регулируемый дроссель.
РИСУНКИ
|
|