|
|
(21), (22) Заявка: 2005115586/28, 23.05.2005
(24) Дата начала отсчета срока действия патента:
23.05.2005
(43) Дата публикации заявки: 27.11.2006
(46) Опубликовано: 10.04.2007
(56) Список документов, цитированных в отчете о поиске:
RU 2066573 C1, 20.09.1996. SU 1218179, 15.03.1986. RU 2005563,15.01.1994. RU 93011184 A, 20.12.1995.
Адрес для переписки:
630116, г.Новосибирск, Боровая партия, 9, кв.6, Н.А. Радкевичу
|
(72) Автор(ы):
Радкевич Николай Александрович (RU)
(73) Патентообладатель(и):
Радкевич Николай Александрович (RU)
|
(54) ПНЕВМАТИЧЕСКИЙ ВИБРОВОЗБУДИТЕЛЬ
(57) Реферат:
Изобретение относится к вибрационной технике и может быть применено в строительной и горной промышленности. Технический результат – упрощение в исполнении – достигается за счет изменения связей и расположения упругого элемента. Пневматический вибровозбудитель состоит из корпуса, в котором установлен ударник со сквозным каналом для сообщения между собой камеры с впускным отверстием и камеры с выпускным отверстием, упругого элемента, связанного одним концом с ударником, а другим с поверхностью корпуса. Коммутирующий элемент выполнен в виде клапана с запорным органом для взаимодействия с поверхностью корпуса, включающей выпускное отверстие, и с запорным органом для взаимодействия с поверхностью сквозного канала ударника. Коммутирующий элемент в виде клапана установлен в камере с возможностью взаимодействовать запорным органом с поверхностью патрубка с выпускным каналом, включающим выпускное отверстие, и запорным органом с поверхностью ударника, включающей отверстие сквозного канала. При этом ударник установлен в корпусе за счет эластичной диафрагмы. 4 з.п. ф-лы, 2 ил.
Изобретение относится к устройствам для возбуждения колебаний и может быть использовано в оборудовании для производства строительных материалов, в горной промышленности, а также в другом оборудовании, где используется вибрация.
Известен пневматический вибрационный привод, содержащий корпус с каналом для подачи сжатого воздуха, клапан, расположенный в полости корпуса, шток, связанный с рабочей массой, диафрагму, прикрепленную к корпусу и штоку посредством центровочных втулок с фланцами, причем шток и рабочая масса связаны между собой резьбой, с помощью которой регулируется зазор между клапаном и неподвижным седлом корпуса, при этом положение рабочей массы в пространстве обеспечивают упругие элементы, воздействующие на нее с разных сторон (авт. свид. СССР №749450, В 06 В 1/18, опубл. 23.07.80. Бюл. №27).
Недостатком этого привода является достаточно сложная конструкция, а также наличие открытых подвижных элементов.
Наиболее близким к предлагаемому устройству можно считать пневматический вибровозбудитель, содержащий корпус, установленный в корпусе ударник со сквозным каналом для сообщения двух камер между собой, расположенные на стенках корпуса впускное и выпускное отверстия для соответственного соединения камер с источником рабочей среды и с атмосферой, при этом одна из этих камер снабжена системой газораспределения, включающий клапан с двумя запорными органами, который расположен в сквозном канале ударника с возможностью перекрытия одним органом подачи рабочей среды в эту камеру, при одновременном соединении ее другим органом с атмосферой через выпускное отверстие, и наоборот, упругий элемент, связанный одним концом с ударником, а другим концом со штоком, при этом шток одним концом размещен в канале ударника и связаный другим концом с корпусом со стороны камеры с впускным отверстием (патент РФ №2066573, М. кл. 6 В 06 В 1/18, F 15 В 21/12, опуб. 20.09.96. Бюл. 26).
Недостатком этого устройства является относительная сложность и ограниченность в использовании в частных случаях его выполнения из-за наличия штока.
В основу изобретения поставлена задача создания достаточно простых пневматических вибровозбудителей.
Поставленная задача решается в заявляемом пневматическом вибровозбудителе и в его частных случаях выполнения.
Пневматический вибровозбудитель, который как и известный, содержит корпус, установленный в корпусе ударник со сквозным каналом для сообщения двух камер между собой, расположенные на стенках корпуса впускное и выпускное отверстия для соответственного соединения камер с источником рабочей среды и с атмосферой, при этом одна из этих камер снабжена системой газораспределения, включающей коммутирующий элемент с двумя запорными органами, один из которых служит для перекрытия подачи рабочей среды в эту камеру, при одновременном соединении ее другим органом с атмосферой, и наоборот, связанный одним концом с ударником упругий элемент. В отличие от известного в заявляемом пневматическом вибровозбудителе упругий элемент связан другим концом с поверхностью корпуса и установлен с возможностью воздействия в осевом направлении на ударник со стороны камеры, которая соединена с атмосферой через выпускное отверстие. В частных случаях выполнения пневматического вибровозбудителя ударник может быть выполнен в виде поршня или установлен подвижно в корпусе за счет эластичной диафрагмы, которая прикреплена к корпусу и к ударнику без зазора. В других частных случаях выполнения коммутирующий элемент может быть выполнен в виде клапана, расположенного в сквозном канале ударника, и установлен с возможностью взаимодействовать при осевых перемещениях ударника с поверхностью корпуса, включающей выпускное отверстие, или с поверхностью сквозного канала ударника, либо может быть выполнен в виде клапана, расположенного в камере с впускным отверстием, и установлен с возможностью взаимодействия при осевых перемещениях ударника с торцевой поверхностью последнего, включающей отверстие сквозного канала ударника, или с поверхностью патрубка с выпускным каналом, включающей выпускное отверстие, который одним концом установлен на корпусе, другим концом расположен в сквозном канале ударника.
Сущность заявляемого изобретения поясняется предоставленными чертежами и описанием работы пневматического вибровозбудителя.
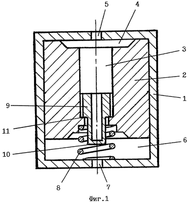
На фиг.1 схематично изображен пневматический вибровозбудитель с ударником в виде поршня и с клапаном, размещенным в сквозном канале ударника.
На фиг.2 – с ударником, установленным подвижно в корпусе за счет эластичной диафрагмы, и клапаном, расположенным в камере с впускным отверстием.
Пневматический вибровозбудитель состоит из корпуса 1, в котором установлен ударник 2 со сквозным каналом 3 для сообщения между собой камеры 4 с впускным отверстием 5 и камеры 6 с выпускным отверстием 7, упругого элемента 8, связанного одним концом с ударником 2, а другим с поверхностью корпуса 1. Коммутирующий элемент на фиг.1 выполнен виде клапана 9 с запорным органом 10 для взаимодействия с поверхностью корпуса 1, включающей выпускное отверстие 7, и с запорным органом 11 для взаимодействия с поверхностью сквозного канала 3 ударника 2. На фиг.2 коммутирующий элемент в виде клапана 9 установлен в камере 4 с возможностью взаимодействовать запорным органом 10 с поверхностью патрубка 12 с выпускным каналом 13, включающим выпускное отверстие 7, и запорным органом 11 с поверхностью ударника 2, включающей отверстие сквозного канала 3. При этом ударник 2 установлен в корпусе 1 за счет эластичной диафрагмы 14.
Пневматический вибровозбудитель работает следующим образом.
В исходном положении ударник 2 находится в крайнем положении, клапан 9 запорным органом 11 перекрывает сквозной канал 3, выпускное отверстие 7 открыто. Рабочая среда под давлением подается через впускное отверстие 5 в камеру 4. За счет давления объем камеры 4 увеличивается, перемещая ударник 2 в сторону выпускного отверстия 7, при этом сжимая упругий элемент 8. В момент взаимодействия запорного органа 10 с поверхностью корпуса 1 (фиг.1) или с поверхностью патрубка 12 (фиг.2) за счет сил инерции ударник 2 продолжает свое движение, при этом запорный орган 10 перекрывает выпускное отверстие 7, герметизируя камеру 6, и одновременно запорным органом 11 открывает доступ рабочей среды в камеру 6. Давление в камерах выравнивается. Ударник 2 вначале останавливается, а затем за счет упругих сил элемента 8 возвращается в исходное положение. Далее цикл повторяется.
Таким образом видно, заявляемый пневматический вибровозбудитель, имея сходный принцип действия с известным, более прост в исполнении.
Формула изобретения
1. Пневматический вибровозбудитель, содержащий корпус, установленный в корпусе ударник со сквозным каналом для сообщения двух камер между собой, расположенные на стенках корпуса впускное и выпускное отверстия для соответственного соединения камер с источником рабочей среды и с атмосферой, при этом одна из этих камер снабжена системой газораспределения, включающий коммутирующий элемент с двумя запорными органами, один из которых служит для перекрытия подачи рабочей среды в эту камеру при одновременном соединении ее другим органом с атмосферой, и наоборот, связанный одним концом с ударником упругий элемент, отличающийся тем, что упругий элемент связан другим концом с поверхностью корпуса и установлен с возможностью воздействия в осевом направлении на ударник со стороны камеры, которая соединена с атмосферой через выпускное отверстие.
2. Пневматический вибровозбудитель по п.1, отличающийся тем, что ударник выполнен в виде поршня.
3. Пневматический вибровозбудитель по п.1, отличающийся тем, что ударник установлен подвижно в корпусе за счет эластичной диафрагмы, которая прикреплена к корпусу и к ударнику без зазора.
4. Пневматический вибровозбудитель по п.2 или 3, отличающийся тем, что коммутирующий элемент выполнен в виде клапана, расположенного в сквозном канале ударника, который установлен с возможностью взаимодействия при осевых перемещениях ударника с поверхностью корпуса, включающей выпускное отверстие, или с поверхностью сквозного канала ударника.
5. Пневматический вибровозбудитель по п.2 или 3, отличающийся тем, что коммутирующий элемент выполнен в виде клапана, расположенного в камере с впускным отверстием, который установлен с возможностью взаимодействия при осевых перемещениях ударника с торцевой поверхностью последнего, включающую отверстие сквозного канала ударника, или с поверхностью патрубка с выпускным каналом, включающим выпускное отверстие, который одним концом установлен на корпусе, а другим концом расположен в сквозном канале ударника.
РИСУНКИ
|
|