|
|
(21), (22) Заявка: 2005129435/12, 21.09.2005
(24) Дата начала отсчета срока действия патента:
21.09.2005
(46) Опубликовано: 10.04.2007
(56) Список документов, цитированных в отчете о поиске:
SU 1584959 A1, 15.08.1990. SU 1694235 A1, 30.11.1991. RU 2256473 C1, 27.03.2004. GB 144131 A, 10.06.1920. SU 1729612 A1, 30.04.1992. SE 524120 A, 29.04.2004. DE 19937755 A, 18.03.2001.
Адрес для переписки:
300004, г.Тула, Щегловская засека, 33, ФГУП “ГНПП “Сплав”, патентный отдел
|
(72) Автор(ы):
Макаровец Николай Александрович (RU), Денежкин Геннадий Алексеевич (RU), Фалдин Владимир Дмитриевич (RU), Дмитриев Вячеслав Васильевич (RU), Гура Эдуард Николаевич (RU)
(73) Патентообладатель(и):
Федеральное Государственное унитарное предприятие “Государственное научно-производственное предприятие “Сплав” (RU)
|
(54) АВТОНОМНОЕ РАСПЫЛИТЕЛЬНОЕ УСТРОЙСТВО
(57) Реферат:
Изобретение может быть использовано при разработке автономных распылительных устройств, предназначенных для дегазации, дезактивации, дезинфекции военной, гражданской техники, а также для обработки различными растворами растений и сельскохозяйственных животных, распыления огнетушащих составов при ликвидации очагов возгорания. Автономное распылительное устройство содержит цилиндрический корпус с доньями и горловиной, крышку, полость высокого давления, заправочно-дренажную трубку, запорную арматуру и форсунку. На боковой поверхности крышки размещена ручка-патрубок, а форсунка снабжена стыковочной муфтой. На верхнем дне смонтирована опора дугообразной формы. На свободном конце заправочно-дренажной трубки выполнен раструб, в торец которого вмонтирован сеточный фильтр диаметром не менее 1,4 диаметра трубки. При этом длину ручки-патрубка, расстояние между заправочно-дренажной трубкой и продольной осью, дугообразной опорой и продольной осью и диаметр горловины выбирают соответственно равными 0,2-0,3; 0,13-0,2; не менее 0,36; 0,4 диаметра корпуса. Изобретение направлено на создание конструкции автономного распылительного устройства, позволяющее обеспечить надежную и безопасную эксплуатацию прибора в служебном обращении, быструю сборку-разборку при эксплуатации, а также простоту и удобство снаряжения от внешнего источника повышенного давления. 3 ил.
Изобретение относится к автономным распылительным устройствам и может быть использовано для дегазации, дезактивации, дезинфекции военной, гражданской техники, а также для обработки различными растворами растений и сельскохозяйственных животных, распыления огнетушащих составов при ликвидации очагов возгорания.
Конструкции распылительных устройств, в которых используются сжатый воздух для вытеснения рабочих растворов и нагнетаемый от внешнего источника давления, должны быть просты, надежны и обладать мобильностью при эксплуатации, то есть обеспечивать многократно быстрый ввод прибора в чрезвычайных ситуациях.
Известно распылительное устройство подачи рабочего раствора (огнегасящего состава) на очаг возгорания (см. огнетушитель по а.с. №1637813 СССР, МПК А62С 13/22), содержащее цилиндрический корпус с доньями, газогенератор, включающий систему запуска, расположенную в верхней части корпуса, камеру высокого давления с газогенерирующим составом, крышку и запорное приспособление.
Такая конструкция устройства позволяет распылять рабочие наполнители, но не может быть использована для снаряжения от внешнего источника давления.
Таким образом, задачей данного технического решения являлось одноразовое использование устройства подачи рабочего наполнителя без обеспечения его многократного использования, что очень важно в чрезвычайных ситуациях.
Общими признаками с предлагаемым авторами автономным распылительным устройством является цилиндрический корпус с доньями, крышка и запорная арматура.
Наиболее близким по технической сути и достигаемому техническому результату является устройство подачи рабочего раствора (огнегасящих составов, см. авторское свидетельство СССР №1584959, МПК А 62 С 3/07), принятое авторами за прототип.
Известное устройство подачи рабочего раствора содержит корпус, крышку, баллон сжатого воздуха, сообщенный с полостью корпуса посредством штуцера, сифонную трубку, запорную мембрану с насадкой.
К причинам, препятствующим достижению указанного ниже технического результата при использовании известного устройства, принятого за прототип, относится то, что оно не может быть использовано для снаряжения в свободный объем резервуара воздуха от внешнего источника давления (пневмосистемы автотранспортной техники, передвижного компрессора и т.п.), что не позволяет ему быть компактным и удобным в обращении устройством в чрезвычайных обстоятельствах, что является крайне важным при ликвидации очагов возгорания (тушении лесных пожаров), дегазации, дезактивации, дезинфекции как военной, так и гражданской техники, распылении инсектицидных растворов в сельском хозяйстве.
Таким образом, задачей данного технического решения (прототипа) является обеспечение функционирования распылительного устройства посредством баллона высокого давления без обеспечения возможности закачки в свободный объем резервуара воздуха от внешнего источника давления (пневмосистемы автотранспортной техники, компрессора и т.п.).
Общими признаками с предлагаемым авторами распылительным устройством является наличие корпуса с доньями и горловиной, крышки, полости высокого давления, заправочно-дренажной трубки, запорной арматуры и форсунки.
В отличие от прототипа в предлагаемом авторами автономном распылительном устройстве на боковой поверхности крышки размещена ручка-патрубок, форсунка снабжена стыковочной муфтой, на верхнем дне смонтирована опора дугообразной формы, на свободном конце заправочно-дренажной трубки выполнен раструб, в торец которого вмонтирован сеточный фильтр диаметром не менее 1,4 диаметра трубки, при этом длину ручки-патрубка, расстояние между заправочно-дренажной трубкой и продольной осью, дугообразной опорой и продольной осью и диаметр горловины выбирают соответственно равными 0,2-0,3; 0,13-0,2; не менее 0,36; 0,4 диаметра корпуса.
Именно это позволяет сделать ввод о наличии причинно-следственной связи между совокупностью существенных признаков заявленного технического решения и достигаемым техническим результатом.
Указанные признаки, отличительные от прототипа и на которые распространяется испрашиваемый объект правовой защиты, во всех случаях достаточны.
Задачей предлагаемого изобретения является обеспечение надежной и безопасной эксплуатации автономного распылительного устройства в служебном обращении, быстрой сборки-разборки при эксплуатации, а также простоты и удобства снаряжения от внешнего источника повышенного давления.
Указанный технический результат при осуществлении изобретения достигается тем, что в известном устройстве, содержащем цилиндрический корпус с доньями и горловиной, крышку, полость высокого давления, заправочно-дренажную трубку, запорную арматуру и форсунку, особенность заключается в том, что на боковой поверхности крышки размещена ручка-патрубок, форсунка снабжена стыковочной муфтой, на верхнем дне смонтирована опора дугообразной формы, на свободном конце заправочно-дренажной трубки выполнен раструб, в торец которого вмонтирован сеточный фильтр диаметром не менее 1,4 диаметра трубки, при этом длину ручки-патрубка, расстояние между заправочно-дренажной трубкой и продольной осью, дугообразной опорой и продольной осью и диаметр горловины выбирают соответственно равными 0,2-0,3; 0,13-0,2; не менее 0,36; 0,4 диаметра корпуса.
Новая совокупность конструктивных элементов, а также наличие связей между узлами и деталями заявляемого автономного распылительного устройства позволяют, в частности, за счет:
– размещения на боковой поверхности крышки ручки-патрубка обеспечить быструю установку и извлечение крышки из горловины без перекоса в условиях жестких допусков их изготовления;
– снабжения форсунки стыковочной муфтой обеспечить простоту и удобство снаряжения сжатым воздухом от внешнего источника давления (пневмосистемы автотранспортной техники, компрессора и т.п.) через форсунку, что значительно сократило время на подготовку устройства к работе;
– монтажа на верхнем дне опоры дугообразной формы позволяет обеспечить удобство ручной фиксации при сборке – разборке устройства во время заправочных операций рабочим раствором;
– выполнения на свободном конце заправочно-дренажной трубки раструба, в торец которого вмонтирован сеточный фильтр диаметром 1,4 диаметра трубки, обеспечить надежную подачу рабочего раствора и исключить попадание посторонних фрагментов в форсунку распылительного устройства, при диаметре фильтра менее 1,4 не обеспечиваются требуемые параметры распылительного устройства;
– выбора длины ручки-патрубка, расстояния между заправочно-дренажной трубкой и продольной осью, дугообразной опорой и продольной осью и диаметра горловины соответственно равными 0,2-0,3; 0,13-0,2; не менее 0,36; 0,4 диаметра корпуса обеспечить оптимальное конструктивно-компоновочное решение автономного распылительного устройства, при длине ручки-патрубка менее 0,2 диаметра корпуса затруднено извлечение крышки из горловины корпуса, при длине более 0,3 в зоне стыка ручки-патрубка с крышкой снижается жесткость конструкции, при расстоянии между заправочно-дренажной трубкой и продольной осью менее 0,13 диаметра корпуса остаточное количество рабочего раствора превышает требуемое значение, при расстоянии более 0,2 возможно повреждение заправочно-дренажной трубки и сеточного фильтра при извлечении крышки, при расстоянии между дугообразной опорой и продольной осью менее 0,36 диаметра корпуса затруднено извлечение и установка крышки при сборке – разборке устройства, при диаметре горловины менее 0,5 диаметра корпуса затруднено заполнение устройства рабочим раствором и осуществление визуального контроля процесса заполнения.
Признаки, отличающие предлагаемое техническое решение от прототипа, не выявлены в других технических решениях и не известны из уровня техники в процессе проведения патентных исследований, что позволяет сделать вывод о соответствии изобретения критерию “новизна”.
Исследуя уровень техники в ходе проведения патентного поиска по всем видам сведений, доступных в странах бывшего СССР и зарубежных странах, обнаружено, что предлагаемое техническое решение явным образом не следует из известного на сегодня уровня техники, следовательно, можно сделать вывод о соответствии критерию “изобретательский уровень”.
Сущность изобретения заключается в том, что в автономном распылительном устройстве, содержащем цилиндрический корпус с доньями и горловиной, крышку, полость высокого давления, заправочно-дренажную трубку, запорную арматуру и форсунку, в отличие от прототипа согласно изобретению на боковой поверхности крышки размещена ручка-патрубок, форсунка снабжена стыковочной муфтой, на верхнем дне смонтирована опора дугообразной формы, на свободном конце заправочно-дренажной трубки выполнен раструб, в торец которого вмонтирован сеточный фильтр диаметром не менее 1,4 диаметра трубки, при этом длину ручки-патрубка, расстояние между заправочно-дренажной трубкой и продольной осью, дугообразной опорой и продольной осью и диаметр горловины выбирают соответственно равными 0,2-0,3; 0,13-0,2; не менее 0,36; 0,4 диаметра корпуса.
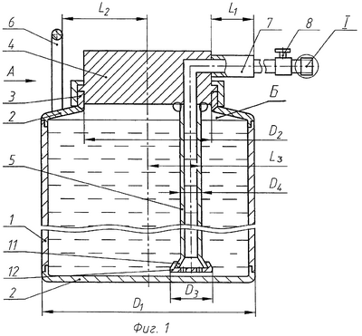
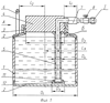
Сущность предлагаемого изобретения поясняется чертежом, где на фиг.1 представлен общий вид автономного распылительного устройства, на фиг.2 – вид со стороны опоры дугообразной формы, на фиг.3 – форсунка со стыковочной муфтой.
Предлагаемое автономное распылительное устройство содержит цилиндрический корпус 1 с доньями 2 и горловиной 3, крышку 4, заправочно-дренажную трубку 5, опору дугообразной формы 6, ручку-патрубок 7, запорную арматуру 8, форсунку 9, снабженную стыковочной муфтой 10, раструб 11 и сеточный фильтр 12, полость высокого давления Б, длина патрубка – L1, расстояние от продольной оси до опоры дугообразной формы – L2, расстояние от продольной оси до запорно-дренажной трубки L3, диаметр корпуса – D1, диаметр горловины – D2, диаметр сеточного фильтра – D3, диаметр заправочно-дренажной трубки – D4.
Вышеописанное устройство работает следующим образом.
Извлекают крышку 4 из горловины 3 посредством манипуляций ручки-патрубка 7 и опоры дугообразной формы 6, заправляют устройство рабочим раствором до заданного объема и устанавливают крышку 4 в рабочее положение, затем к стыковочной муфте 10 подсоединяют магистраль внешнего источника давления и сжатый воздух через форсунку 9, открытую арматуру 8 и заправочно-дренажную трубку 5 поступает в полость высокого давления Б корпуса 1 с доньями 2, по достижении заданного давления подачу сжатого воздуха прекращают посредством запорной арматуры 8 и отсоединяют магистраль внешнего источника давления. При работе автономного распылительного устройства запорную арматуру 8 открывают и сжатый воздух из полости высокого давления Б вытесняет рабочую жидкость через сеточный фильтр 12, вмонтированный в раструб 11, заправочно-дренажную трубку 5, ручку-патрубок 7, открытую запорную арматуру 8 и форсунку 9, рабочий раствор подают на обрабатываемую поверхность.
Выполнение автономного распылительного устройства в соответствии с изобретением позволяет обеспечить надежную и безопасную эксплуатацию автономного распылительного устройства в служебном обращении, быструю сборку-разборку при эксплуатации, а также простоту и удобство снаряжения от внешнего источника повышенного давления.
Предлагаемое техническое решение может быть использовано при разработке автономных распылительных устройств – компактных и удобных в обращении приборов, предназначенных для дегазации, дезактивации, дезинфекции военной, гражданской техники, а также для обработки различными растворами растений и сельскохозяйственных животных, распыления огнетушащих составов при ликвидации очагов возгорания.
Указанный положительный эффект подтвержден испытаниями опытных образцов автономных распылительных устройств, выполненных в соответствии с изобретением.
В настоящее время разработана конструкторская документация, проведены государственные испытания, намечено серийное производство.
Формула изобретения
Автономное распылительное устройство, содержащее цилиндрический корпус с доньями и горловиной, крышку, полость высокого давления, заправочно-дренажную трубку, запорную арматуру и форсунку, отличающееся тем, что на боковой поверхности крышки размещена ручка-патрубок, форсунка снабжена стыковочной муфтой, на верхнем дне смонтирована опора дугообразной формы, на свободном конце заправочно-дренажной трубки выполнен раструб, в торец которого вмонтирован сеточный фильтр диаметром не менее 1,4 диаметра трубки, при этом длину ручки-патрубка, расстояние между заправочно-дренажной трубкой и продольной осью, дугообразной опорой и продольной осью и диаметр горловины выбирают соответственно равными 0,2-0,3; 0,13-0,2; не менее 0,36; 0,4 диаметра корпуса.
РИСУНКИ
|
|