|
|
(21), (22) Заявка: 2005110312/15, 08.04.2005
(24) Дата начала отсчета срока действия патента:
08.04.2005
(43) Дата публикации заявки: 20.10.2006
(46) Опубликовано: 10.04.2007
(56) Список документов, цитированных в отчете о поиске:
RU 2109552 C1, 27.04.1998. RU 2088311 С1, 27.08.1997. SU 1172581 А, 15.08.1985. SU 136685 А, 28.06.1961. SU 1422438 A1, 27.10.1995. RU 2064814 С1, 10.08.1996. RU 2233201 C1, 27.07.2004. US 4371382 A, 01.02.1983.
Адрес для переписки:
650060, г.Кемерово, б-р Строителей, 47, Кемеровский технологический институт пищевой промышленности, патентный отдел
|
(72) Автор(ы):
Сорокопуд Александр Филиппович (RU), Горячкина Наталья Мударисовна (RU), Бельдяев Илья Евгеньевич (RU)
(73) Патентообладатель(и):
Кемеровский технологический институт пищевой промышленности (RU)
|
(54) РОТОРНЫЙ ПЫЛЕУЛОВИТЕЛЬ
(57) Реферат:
Изобретение относится к мокрой очистке газов от растворимых пылей в пищевой и смежных отраслях промышленности. Аппарат имеет тангенциально расположенные патрубки входа и выхода газа, вращающийся транспортирующий цилиндр с отверстиями в верхней части и насосным устройством в нижней, бункер для сбора жидкости и уловленной пыли, сепаратор для улавливания капель жидкости из потока газа. В верхней части транспортирующего цилиндра установлена крыльчатка-сепаратор, для обеспечения постоянного подпора жидкости в насосном устройстве и непрерывного отвода шлама из аппарата имеется специальный гидрозатвор. Изобретение позволяет повысить эффективность пылеочистки и увеличить нагрузки по газу, обеспечивает создание постоянного уровня орошаемой жидкости и непрерывный отвод шлама из аппарата. 1 ил.
Изобретение относится к технике мокрой очистки газов от пыли и может быть использовано в пищевой, химической и смежных отраслях промышленности для улавливания хорошо растворимых мелко- и среднедисперсных пылей, пылей, образующих суспензии, в условиях, требующих непрерывного отвода суспензии (шлама).
Известен мокрый пылеотделитель /1/, содержащий цилиндрический корпус с патрубками ввода и вывода газа и очищающей жидкости, внутри которого размещен вращающийся перфорированный цилиндр, в нижней части пылеотделителя размещен бункер. Недостатками пылеотделителя являются высокий расход орошающей жидкости из-за отсутствия ее внутренней циркуляции в аппарате, недостаточная эффективность очистки и повышенное гидравлическое сопротивление.
Наиболее близким по техническому решению является роторный пылеотделитель /2/, содержащий цилиндрический корпус с патрубками ввода и вывода газа и жидкости, транспортирующий цилиндр, в верхней части которого расположены распыливающие отверстия, а в нижней – насосное устройство, сепаратор жидкости, бункер для сбора уловленной пыли и очищающей жидкости, отличающийся тем, что патрубки ввода и вывода газа установлены тангенциально к корпусу, транспортирующий цилиндр вращается по направлению движения газа, патрубок ввода газа установлен ниже распыливающих отверстий транспортирующего цилиндра наклонно к поверхности жидкости, залитой в бункер.
К недостаткам данной конструкции следует отнести отсутствие устройства для поддержания постоянного уровня и непрерывного отвода жидкости из бункера, непостоянный напор жидкости в транспортирующем цилиндре во время периодического удаления шлама из бункера, недостаточная производительность по газу вследствие брызгоуноса.
Задачей исследования является повышение эффективности пылеочистки и увеличение нагрузки по газу, создание постоянного уровня орошаемой жидкости и непрерывного отвода шлама из аппарата, улучшение эксплуатационных характеристик.
Решение задачи достигается применением специального гидрозатвора (устройства для непрерывного отвода шлама и поддержания постоянного уровня орошающей жидкости). Снижение брызгоуноса достигается установкой крыльчатки-сепаратора в верхней части транспортирующего цилиндра.
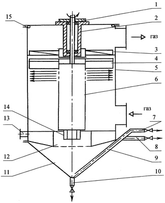
На чертеже изображен общий вид роторного пылеуловителя, поперечный разрез.
Пылеуловитель содержит вал 1, подшипниковую опору 2, сепаратор 3, крыльчатку-сепаратор 4, корпус 5, транспортирующий цилиндр 6 с насосным устройством 14, вокруг которого соосно установлен направляющий цилиндр с сеткой для отделения нерастворившихся частиц уловленной пыли 12. В нижней части пылеотделителя установлен бункер 11 с гидрозатвором 9 и патрубком удаления шлама 10. На корпусе установлен патрубок ввода орошающей жидкости 13.
Пылеуловитель работает следующим образом. Очищаемый газ по патрубку, тангенциально установленному к цилиндрическому корпусу 5, вводится в аппарат, в результате возникает центробежная сила, действующая на частицы пыли. Очищаемый газ прижимается к поверхности жидкости, залитой в бункер 11. Частицы пыли, находящиеся в газовом потоке, соприкасаясь с поверхностью жидкости, смачиваются и оседают на дно бункера 11. В результате контакта с поверхностью жидкости, залитой в бункер 11, образуется дополнительная поверхность взаимодействия частиц пыли с жидкостью, что положительно сказывается на эффективности пылеочистки.
Приобретенное закрученное движение очищаемый газ сохраняет по всей высоте аппарата, поскольку движется вслед за распыляемой транспортирующим цилиндром жидкостью, захватывается крыльчаткой-сепаратором 4, а в сепараторе 3 проходит по лабиринтным каналам, образованным отбойными элементами. Сохраняя закрученное движение, газ выходит из сепаратора 3 и прижимается к стенке в верхней части корпуса 5 и выводится по тангенциально установленному к корпусу 5 патрубку. Такое движение газового потока обеспечивает минимальное гидравлическое сопротивление его прохождению через аппарат.
Очищающая жидкость заливается в необходимом количестве в бункер 11, с помощью насосного устройства 14 непрерывно подается в транспортирующий цилиндр 6, в верхней части которого расположены в необходимом количестве распыливающие отверстия. При диспергировании жидкости транспортирующим цилиндром 6 образуется слой струй и капель, достигнув стенок корпуса 5, капли ударяются об нее, в результате появляются вторичные капли, а на стенке корпуса 5 образуется пленка турбулизированной жидкости. Пленка жидкости стекает по корпусу 5 в бункер 11.
Очищаемый газ, отразившись от поверхности жидкости, залитой в бункер 11, контактирует со стекающей по корпусу 5 пленкой, со струями и каплями жидкости, распыленной транспортирующим цилиндром 6, и проходит через зону удара капель жидкости о стенку корпуса. На всем пути газ встречает высокоразвитую и интенсивно обновляющуюся поверхность жидкости, что обеспечивает высокую степень очистки газа от пыли. Пройдя факел распыла, газ очищается от капель рабочей жидкости и подкручивается крыльчаткой-сепаратором 4,что создает зону разряжения и обеспечивает снижение гидравлического сопротивления аппарата.
Рабочая жидкость вместе с частицами уловленной пыли собирается в бункере 11 пылеуловителя, где частицы пыли растворяются и шлам непрерывно выводится в виде суспензии или раствора через патрубки 7, 8 гидрозатвора 9. Подпитка аппарата свежей рабочей жидкостью с учетом компенсации потерь ее на испарение и с выгружаемым шламом осуществляется непрерывно через патрубок 13.
Уловленная в сепараторе 3 жидкость сливается вдоль стенок корпуса вниз. Для промывки лабиринтных каналов в сепараторе 3 предусмотрено специальное орошающее устройство 15.
Направляющий цилиндр 12 служит для предотвращения раскручивания жидкости в бункере 11 и улучшения работы насосного устройства 14.
Положительный эффект в предлагаемом техническом решении достигается следующим образом. Повышение эффективности очистки – за счет создания постоянного подпора жидкости в насосном устройстве и постоянного отвода суспензии (шлама) при помощи гидрозатвора 9. Снижение вероятности забивания распыливающих отверстий частицами пыли еще нерастворившегося продукта – за счет установки решетки на направляющем цилиндре 12. Улучшение сепарации газа от капель рабочей жидкости и уменьшение гидравлического сопротивления аппарата – за счет установки крыльчатки-сепаратора 4. Повышение нагрузки по газу – за счет снижения брызгоуноса и гидравлического сопротивления аппарата. Улучшение отмеченных выше показателей в совокупности обеспечит улучшение эксплуатационных и технических характеристик пылеуловителя.
Литература
2. Пат. РФ 2045999, В 01 D 47/16. Роторный пылеотделитель / Сорокопуд А.Ф.; заявл. 02.06.97; опубл. 27.04.98.
Формула изобретения
Роторный пылеуловитель, содержащий корпус с тангенциально установленными к корпусу патрубками ввода и вывода газа, транспортирующий цилиндр, в верхней части которого расположены распыливающие отверстия, а в нижней – насосное устройство, сепаратор капель жидкости, бункер для сбора уловленной пыли и очищающей жидкости, отличающийся тем, что бункер снабжен гидрозатвором, имеющим патрубки для обеспечения постоянного подпора жидкости в насосном устройстве и непрерывного отвода шлама из аппарата, в верхней части транспортирующего цилиндра над распыливающими отверстиями установлена крыльчатка-сепаратор.
РИСУНКИ
MM4A – Досрочное прекращение действия патента СССР или патента Российской Федерации на изобретение из-за неуплаты в установленный срок пошлины за поддержание патента в силе
Дата прекращения действия патента: 09.04.2007
Извещение опубликовано: 20.07.2008 БИ: 20/2008
|
|