|
|
(21), (22) Заявка: 2005125992/15, 15.08.2005
(24) Дата начала отсчета срока действия патента:
15.08.2005
(46) Опубликовано: 10.04.2007
(56) Список документов, цитированных в отчете о поиске:
SU 87620 А, 28.07.1960. SU 168051 A, 14.04.1965. SU 93255 А, 14.09.1955. RU 2252061 C1, 20.05.2005. US 5126041 A, 30.06.1992. US 4045293 A, 30.08.1977. US 4252616 A, 24.02.1981.
Адрес для переписки:
625000, г.Тюмень, Главпочтамт, ячейка 344, НПО “ИНТЕРЛИТ”, ул.Герцена, 96, оф.324
|
(72) Автор(ы):
Бекетов Борис Никандрович (RU), Шахов Георгий Геннадьевич (RU), Шевяков Аркадий Викторович (RU)
(73) Патентообладатель(и):
Общество с ограниченной ответственностью “Научно-производственное объединение “ИНТЕРЛИТ” (RU)
|
(54) ДИСТИЛЛЯТОР
(57) Реферат:
Изобретение относится к аппаратам для получения дистиллированной воды и может быть использовано в здравоохранении и других отраслях народного хозяйства, где требуется дистиллят с высокой степенью очистки от летучих веществ, в частности аммиака. Дистиллятор содержит корпус с полыми стенками, камеру испарения с помещенными в ней сепарационными экранами и электронагревателями, камеру конденсации, сообщающийся с камерой испарения уравнитель с датчиком уровня и питающую трубу. Дистиллятор снабжен фильтром, установленным снаружи корпуса на питающей трубе под уравнителем, при этом уравнитель и фильтр сообщены между собой соединительным патрубком с перепускным краном, а фильтр выполнен в виде кожуха с размещенным в нем картриджем с наполнителем, поглощающим аммиак. Кроме того, внутри картриджа фильтра соосно расположен входной патрубок, при этом в нижней части входного патрубка и в верхней части картриджа на их боковых поверхностях по окружности выполнены отверстия. В качестве наполнителя используют минерал, обладающий селективной сорбцией по отношению к аммиаку, например цеолит. Предлагаемое устройство позволяет повысить качество дистиллята за счет удаления аммиака из дистиллируемой воды до подачи ее в камеру испарения. 3 з.п.ф-лы, 2 ил.
Изобретение относится к аппаратам для получения дистиллированной воды и может быть использовано в здравоохранении и других отраслях народного хозяйства, где требуется дистиллят с высокой степенью очистки от летучих веществ, в частности аммиака.
Для производства дистиллированной воды в аптеках, лабораториях и других лечебных учреждениях, как правило, используют дистилляторы типа ДЭ различных модификаций.
Использование дистиллированной воды, полученной на таких установках, для приготовления инъекционных растворов, микстур и других лекарственных средств является весьма проблематичным из-за высокого содержания в ней аммиака, который невозможно удалить известными дистилляторами. Гигиенические нормативы (СанПиН 2.1.4.1074-01) содержания вредных веществ в питьевой воде, к которым относится и аммиак (класс опасности – 3), регламентируют содержание его до 2,0 мг/л.
Однако фармакопейная статья на воду очищенную ФС 42-2619-97 и ФС 42-2620-97 регламентирует содержание аммиака в воде не более 0,00002%.
В условиях фармацевтического производства данное требование выполняется в результате предварительной подготовки исходной воды по удалению аммиака: фильтрация, ионный обмен, обратный осмос и др. способы, а дистилляцию производят уже на конечной стадии получения воды требуемого качества. В условиях аптечных учреждений и лабораторий для удаления аммиака уже очищенную воду подвергают кипячению в открытой емкости, что не исключает ее загрязнение.
Присутствие аммиака в очищенной воде может оказать влияние на качество лекарственных препаратов при их изготовлении на данной воде. Особенно это относится к препаратам для парентерального введения, глазным каплям и лекарственным растворам, обладающим кислотными свойствами или стабилизируемым кислотами, а также при изготовлении реактивов с использованием воды очищенной и проведении химических анализов.
Наиболее близким аналогом является дистиллятор ДЭ-25, содержащий корпус с полыми стенками, размещенные в корпусе камеру испарения с сепарационными экранами и электронагревателями и камеру конденсации, уравнитель с датчиком уровня, патрубки для подвода дистиллируемой воды и отвода дистиллята (Технология лекарств, Том 1, под ред. Кондратьевой Т.С., М., Медицина, 1991. С.167-169, рис. 9.2).
Недостатком известного дистиллятора является невозможность удаления летучих веществ, например аммиака, при дистилляции исходной водопроводной воды (А.Е. Приходько, С.А. Валевко. Методы предварительной подготовки и получения воды для фармацевтических целей. – Химико-фармацевтический журнал, том 36, 2002, №10, с.31-40). При этом проведение дистилляции в условиях замкнутого пространства дистиллятора и высокая летучесть аммиака приводят к возрастанию концентрации его в очищенной воде по отношению к исходной. Кроме того, при эксплуатации дистиллятора с использованием воды с большим содержанием летучих веществ, в частности аммиака, а также высоким солесодержанием возможно вспенивание воды и заполнение пеной парового пространства камеры испарения, в результате чего начнется выброс горячей воды и работа аппарата прекратится. В этом случае нормальная работа аппарата может быть обеспечена при:
– периодическом (несколько раз в день) сливе и заполнении вновь камеры испарения водопроводной водой;
– снижении мощности аппарата;
– предварительной обработке используемой водопроводной воды по методикам, применяемым на местных тепловых электростанциях и в котельных (Аквадистиллятор ДЭ-25, Паспорт, Модель 784. С.7-8).
Задачей изобретения является повышение качества дистиллята путем удаления аммиака из дистиллируемой воды до подачи ее в камеру испарения.
Поставленная задача решается тем, что в известном дистилляторе, содержащем корпус с полыми стенками, размещенные в корпусе камеру испарения с помещенными в ней сепарационными экранами и электронагревателями и камеру конденсации, сообщающийся с камерой испарения уравнитель с датчиком уровня и питающую трубу, согласно изобретению дистиллятор снабжен фильтром, установленным снаружи корпуса на питающей трубе под уравнителем, при этом уравнитель и фильтр сообщены между собой соединительным патрубком с перепускным краном, а фильтр выполнен в виде кожуха с размещенным в нем картриджем с наполнителем, поглощающим аммиак.
В полости картриджа фильтра соосно расположен входной патрубок, при этом в нижней части входного патрубка и в верхней части картриджа на их боковых поверхностях по окружности выполнены отверстия.
В качестве наполнителя, поглощающего аммиак, используют минерал, обладающий селективной сорбцией по отношению к аммиаку, например цеолит (Н.Ф.Челищев, Б.Г.Беренштейн, В.Ф.Володин, Цеолиты – новый тип минерального сырья. М., Недра, 1987, 176 с.).
Кроме того, фильтр выполнен сменным.
Сущность изобретения состоит в том, что снабжение дистиллятора фильтром позволяет провести предварительную очистку исходной воды от аммиака до поступления ее в камеру испарения в результате селективной сорбции его наполнителя, которым заполнен картридж фильтра. В качестве наполнителя используют цеолит с размером зерен 0,3-0,8 мм. Предварительные исследования показали, что влияние на обменную емкость цеолита оказывает концентрация аммиака в исходной воде. При этом при увеличении концентрации аммиака в исходной воде сорбционная емкость цеолита увеличивается. Обменная емкость цеолита также возрастает при увеличении температуры сорбции, что обеспечивается прохождением через цеолит воды, нагретой в результате теплообменных процессов, происходящих в дистилляторе. Кроме того, цеолит может подвергаться многократной регенерации с восстановлением первоначальных сорбционных свойств, что продлевает его срок службы.
Проведенные исследования по оценке сорбционной способности цеолита при прохождении через фильтр исходных растворов с содержанием аммиака 1,7 мкг/мл и 0,2 мкг/мл показали, что снижение содержания аммиака начинается с первых минут контакта воды с цеолитом.
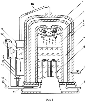
На фиг.1 изображен дистиллятор, разрез; на фиг.2 – фильтр, разрез.
Дистиллятор состоит из корпуса 1 с полыми стенками, образующими камеру охлаждения 2, к которой подведен питающий вентиль 3. В корпусе 1 размещена камера испарения 4 с электронагревателями 5 и сепарационными экранами 6. Внутренняя стенка корпуса 1 и наружная поверхность камеры испарения 4 образуют камеру конденсации 7 с ниппелем 8. Уравнитель 9, установленный снаружи корпуса 1, соединен с камерой охлаждения 2 посредством отводного патрубка 10. Уравнитель 9 сообщен с камерой испарения 4 при помощи питающей трубы 11 и имеет слив через отвод 12. Питающая труба 11 снабжена спускным краном 13, а уравнитель 9 – поплавковым датчиком уровня 14, подключенным к питающей трубе 11 через подводящий патрубок 15. Дистиллятор снабжен фильтром 16, установленным на питающей трубе 11 под уравнителем 9. Уравнитель 9 и фильтр 16 сообщены между собой соединительным патрубком 17 с перепускным краном 18. Фильтр 16 состоит из кожуха 19, в котором размещен картридж 20, заполненный наполнителем 21. Между внутренней поверхностью стенки кожуха 19 и наружной поверхностью стенки картриджа 20 имеется полость 22 с выходным патрубком 23 для выхода очищенной фильтром воды. Внутри картриджа 20 фильтра 16 соосно расположен входной патрубок 24 для поступления воды из уравнителя 9. В нижней части входного патрубка 24 и в верхней части картриджа 20 на их боковых поверхностях по окружности выполнены отверстия 25 и 26 соответственно. Наполнитель 21 удерживается сверху сеткой 27, фиксируемой гайкой 28. Картридж 20 закрыт крышкой 29 (на фиг.2 крышка 29 показана в снятом состоянии). Фильтр 16 установлен на питающей трубе 11 с помощью соединительных муфт 30.
Дистиллятор работает следующим образом.
Водопроводная вода непрерывно поступает через питающий вентиль 3 в камеру охлаждения 2 корпуса 1 и далее по отводному патрубку 10 в уравнитель 9, из которого через фильтр 16 и питающую трубу 11 вода поступает в камеру испарения 4. Камера испарения 4 заполняется водой до установленного уровня.
При работе фильтра 16 перепускной кран 18 на соединительном патрубке 17 открыт. При поступлении воды из уравнителя 9 в фильтр 16 вначале вода проходит через входной патрубок 24 и, выходя из него снизу через отверстия 25, равномерно распределяется по картриджу 20 с наполнителем 21 снизу вверх и, выходя через верхнюю часть картриджа 20 с сеткой 27 и отверстия 26, поступает в полость 22, образованную стенками кожуха 19 и картриджа 20.
В картридже 20 происходит поглощение аммиака из водопроводной воды наполнителем 21. Затем очищенная от аммиака вода поступает из полости 22 в выходной патрубок 23 и далее через открытый перепускной кран 18 на соединительном патрубке 17 в питающую трубу 11 и камеру испарения 4.
Рабочий уровень воды в камере испарения 4 регулируется уравнителем 9 за счет непрерывного оттока из него избыточной водопроводной воды через отвод 12. При понижении уровня воды в камере испарения 4 ниже рабочего поплавковый датчик уровня 14 отключает электронагреватели 5.
В камере испарения 4 вода нагревается электронагревателями 5 до кипения. Пар проходит через сепарационные экраны 6 в камеру конденсации 7, охлаждаемую снаружи водопроводной водой, протекающей в камере охлаждения 2 корпуса 1. Отсепарированный пар конденсируется в камере конденсации 7, и образовавшийся дистиллят сливается через ниппель 8.
При полном отключении дистиллятора, например, для профилактического осмотра вся вода из камеры испарения 4 дистиллятора сливается через спускной кран 13.
В случае, если нет необходимости в очистке воды от аммиака, дистиллятор может работать в обычном режиме, для этого достаточно закрыть перепускной кран 18 на соединительном патрубке 17, и дистиллируемая вода, минуя фильтр 16, сразу поступает из уравнителя 9 через соединительный патрубок 17 в питающую трубу 11 и затем в камеру испарения 4.
Фильтр 16 выполнен сменным. При выработке наполнителя 21 картриджа 20 фильтр отвинчивают с помощью соединительных муфт 30. Затем снимают крышку 29 с картриджа 20 и вынимают последний из кожуха 19 фильтра. Отвинчивают гайку 28 на входном патрубке 24, снимают сетку 27 и удаляют наполнитель 21. После регенерации наполнителя или его замены картридж вновь заполняют наполнителем и помещают в кожух 19 фильтра, который устанавливают на прежнее место.
Замена наполнителя картриджа проводится при появлении аммиака в анализируемых пробах очищенной воды.
Пример.
Для определения поглощающей способности наполнителя через фильтр с цеолитом фракции 0,3-0,8 мм в количестве 1000 г пропускали водный раствор аммиака с концентрацией 0,2 мкг/мл. Скорость подачи анализируемой воды через фильтр без ее последующей дистилляции составила 400 мл/мин. Через равные интервалы времени брали пробу воды очищенной в количестве 10 мл и подвергали анализу на содержание аммиака. Содержание аммиака определяли методом калибровочного графика на основе фотометрирования раствора продукта реакции ионов аммония с реактивом Несслера при 440 нм в кювете с толщиной слоя 20 мм. Поглощение аммиака из водного раствора составило 970 мкг/г цеолита, что обеспечивает очистку 4850 литров исходного водного раствора.
Рабочий ресурс фильтра зависит от скорости подачи воды в дистиллятор и содержания аммиака в исходной водопроводной воде.
Для дистиллятора ДЭ-25 со скоростью подачи воды в камеру испарения 25 л/ч и при содержании аммиака в исходной водопроводной воде 0,1 мг/л и массе цеолита 1000 г рабочее время фильтра составит 388 ч. При потребности использования воды очищенной в количестве 25 л в сутки возможно приготовление лекарственных препаратов в количестве 250 флаконов объемом 100 мл (раствор для инъекций) или в количестве 2500 флаконов объемом 10 мл (глазные капли), в этом случае рабочий ресурс фильтра составит 18-20 месяцев.
Использование предлагаемого технического решения позволяет повысить качество воды очищенной за счет удаления из нее аммиака.
Формула изобретения
1. Дистиллятор, содержащий корпус с полыми стенками, размещенные в корпусе камеру испарения с помещенными в ней сепарационными экранами и электронагревателями и камеру конденсации, сообщающийся с камерой испарения уравнитель с датчиком уровня, и питающую трубу, отличающийся тем, что дистиллятор снабжен фильтром, установленным снаружи корпуса на питающей трубе под уравнителем, при этом уравнитель и фильтр сообщены между собой соединительным патрубком с перепускным краном, а фильтр выполнен в виде кожуха с размещенным в нем картриджем с наполнителем, поглощающим аммиак.
2. Дистиллятор по п.1, отличающийся тем, что внутри картриджа фильтра соосно расположен входной патрубок, при этом в нижней части входного патрубка и в верхней части картриджа на их боковых поверхностях по окружности выполнены отверстия.
3. Дистиллятор по п.1, отличающийся тем, что в качестве наполнителя, поглощающего аммиак, используют минерал, обладающий селективной сорбцией по отношению к аммиаку, например цеолит.
4. Дистиллятор по п.1, отличающийся тем, что фильтр выполнен сменным.
РИСУНКИ
MM4A – Досрочное прекращение действия патента СССР или патента Российской Федерации на изобретение из-за неуплаты в установленный срок пошлины за поддержание патента в силе
Дата прекращения действия патента: 16.08.2008
Извещение опубликовано: 10.07.2010 БИ: 19/2010
|
|