|
|
(21), (22) Заявка: 2005107349/14, 16.03.2005
(24) Дата начала отсчета срока действия патента:
16.03.2005
(43) Дата публикации заявки: 27.08.2006
(46) Опубликовано: 10.04.2007
(56) Список документов, цитированных в отчете о поиске:
RU 2003100893 A1, 27.07.2004. SU 1607817 A1, 23.11.1990. SU 1600784 A1, 23.10.1990. RU 2159602 C1, 27.11.2000. US 6615830 A, 09.09.2003. JP 8224321 A1, 03.09.1996.
Адрес для переписки:
141080, Московская обл., г. Королев, ул. Проспект Космонавтов, 20/35, кв.370, А.А. Герасимову
|
(72) Автор(ы):
Герасимов Андрей Анатольевич (RU), Герасимов Александр Анатольевич (RU), Герасимов Анатолий Степанович (RU)
(73) Патентообладатель(и):
Герасимов Андрей Анатольевич (RU), Герасимов Александр Анатольевич (RU), Герасимов Анатолий Степанович (RU)
|
(54) УСТРОЙСТВО ДЛЯ ДЫХАНИЯ ГИПЕРКАПНИЧЕСКОЙ ДЫХАТЕЛЬНОЙ СМЕСЬЮ
(57) Реферат:
Изобретение относится к медицине и может использоваться для лечения и профилактики заболеваний органов дыхания. Устройство выполнено в виде маски, которая выполнена жесткой, имеет емкость до 0,8 л. В маску погружается нос, рот и подбородок. Маска снабжена шарнирно закрепленной к ней опорой, при помощи которой маска опирается на нос. Резинка служит для закрепления маски на голове и перемещается в крепежных отверстиях маски. За счет перемещения регулируется зазор между лицом и маской и прижим к лицу. Конструкция устройства позволяет пользователю самостоятельно подбирать параметры дыхательной смеси. 1 з.п. ф-лы, 1 ил.
Изобретение относится к медицинской технике и может использоваться для лечения и профилактики органов дыхания, кровообращения, пищеварения. Известно устройство по авторскому свидетельству CCCP №1607817 А1, в котором дыхательная смесь образуется за счет собственного выдыхаемого воздуха и вдыхаемого атмосферного, смешивающихся в смесительной камере, состоящей из большого количества деталей (более 8 шт.), имеющее большие габариты, шкалу с указанием концентрации углекислого газа во вдыхаемой смеси, оборудованную регулировочной задвижкой. Известно, что концентрация углекислого газа во всех устройствах подобного типа зависит от емкости смесительной камеры, объемов вдоха и выдоха больного и обмена веществ в клетках организма. Все эти составляющие дыхательного процесса, включая и кровообращение, постоянно меняются. Чтобы поддержать в смесительной камере величину концентрации углекислого газа, заданную на шкале, задвижку надо постоянно двигать, а градуировочная шкала не влияет на обмен веществ, дыхания и кровообращения, следовательно, эти детали излишни.
Техническая задача изобретения – разработка и создание устройства, позволяющего больному самостоятельно, без вредных медикаментов, восстановить нормальную концентрацию углекислого газа в альвеолярной дыхательной смеси и крови с помощью смешения собственного выдыхаемого воздуха с атмосферным. Устройство должно быть простым, легким, пригодным для применения во время приступов астмы, стенокардии, артериального давления, для профилактики болезней, в покое, движении, как тренажера мускулатуры легких.
Эта задача решается с помощью изобретения “Устройство для дыхания гиперкапнической дыхательной смесью”, содержащее маску, отличающееся тем, что маска выполнена жесткой, представляет собой смесительную камеру и имеет емкость до 0,8 л для погружения носа, рта и подбородка, при этом маска снабжена шарнирно закрепленной на ней опорой для опоры на нос и резинкой для закрепления на голове, имеющей возможность перемещения в крепежном отверстии маски, регулирования зазора между маской и лицом и прижима маски к лицу, отличающееся тем, что устройство обеспечивает возможность регулирования концентрации углекислого газа в дыхательной смеси до 3 об.%.
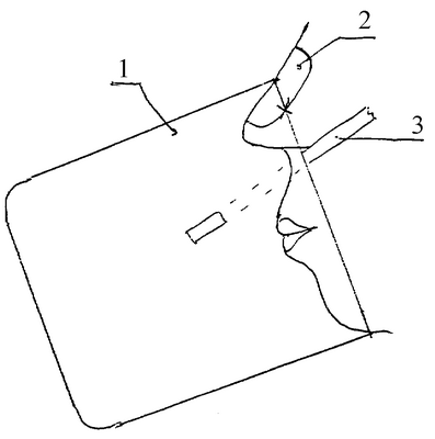
На чертеже изображено устройство для дыхания гипертонической дыхательной смесью, содержащее маску 1, отличающееся тем, что маска 1 выполнена жесткой, представляет собой смесительную камеру и имеет емкость до 0,8 л для погружения носа, рта и подбородка, при этом маска снабжена шарнирно закрепленной на ней опорой 2 для опоры на нос и резинкой 3 для закрепления на голове, имеющей возможность перемещения в крепежном отверстии маски, регулирования зазора между маской и лицом и прижима маски к лицу, что позволяет менять глубину погружения части лица в маску, тем самым менять емкость-нетто маски, а следовательно, и концентрацию углекислого газа в дыхательной смеси устройства, легких пациента, артериальной крови.
Работа устройства
Пациент погружает в маску 1 нос, рот, подбородок, резинкой 3 закрепляет ее на голове, начинает дышать. По самочувствию регулирует при помощи резинки 3 зазоры между лицом и маской, что изменяет объем-нетто маски, сопротивление вдоху-выдоху и концентрацию углекислого газа в дыхательной смеси маски до 3 об.% в зависимости от объема дыхания и обмена веществ, что способствует увеличению содержания углекислого газа в крови от сеанса к сеансу, а со временем к адаптации дыхательного центра на нормальное дыхание, восстановлению нормального содержания углекислого газа в крови (6,5 об.%), излечению болезней без применения вредных медикаментов.
Для снятия приступов астмы, стенокардии, артериального давления больные дышат в маске 30-40 мин. Для профилактики болезней надо дышать в маске не менее трех раз в сутки по 1 часу: утром, в обед и вечером. Дышать можно в движении, покое, во время сна. Общая продолжительность лечебного дыхания – до полного восстановления здоровья и зависит от тяжести болезней и воли больного.
Контроль выздоровления – задержка дыхания в спокойном состоянии после выдоха не менее 60 сек или при помощи определения минутного объема дыхания в спокойном состоянии при помощи герметичного мешка известной емкости, одеваемого герметично на рот и заполняемого выдыхаемым воздухом за определенное время при вдохе носом, а выдохе в мешок через рот. По данным учебников физиологии человека нормальным считается минутный объем дыхания в спокойном состоянии, равный 5 л/мин, что соответствует нормальному содержанию углекислого газа в артериальной крови, если больше – болезни.
Предлагаемое изобретение можно использовать как тренажер – физкультурный имитатор за счет регулирования сечения зазоров резинкой 3, увеличивая сопротивление вдоху-выдоху увеличивается нагрузка на мускулатуру легких аналогично результатам от занятий физкультурой.
Преимущества предлагаемого устройства для дыхания гиперкапнической смесью – простота (всего три детали), легкость, универсальность, можно использовать в покое, движении, для снятия приступов, для профилактики болезней, тренировки мускулатуры легких.
Формула изобретения
1. Устройство для дыхания гиперкапнической дыхательной смесью, содержащее маску, отличающееся тем, что маска выполнена жесткой, представляет собой смесительную камеру и имеет емкость до 0,8 л для погружения носа, рта и подбородка, при этом маска снабжена шарнирно закрепленной на ней опорой для опоры на нос и резинкой для закрепления на голове, имеющей возможность перемещения в крепежном отверстии маски, регулирования зазора между маской и лицом и прижима маски к лицу.
2. Устройство по п.1, отличающееся тем, что обеспечивает возможность регулирования концентрации углекислого газа в дыхательной смеси до 3%.
РИСУНКИ
|
|