|
|
(21), (22) Заявка: 2005126371/14, 19.08.2005
(24) Дата начала отсчета срока действия патента:
19.08.2005
(46) Опубликовано: 10.04.2007
(56) Список документов, цитированных в отчете о поиске:
RU 2068683 С1, 10.11.1996. GB 1291015 A, 27.09.1972. US 2003145386 A, 07.08.2003. WO 023899 А, 16.05.2002.
Адрес для переписки:
404111, Волгоградская обл., г. Волжский, пр. Ленина, 72, ВИСТех (филиал) ВолгГАСУ, ректору
|
(72) Автор(ы):
Бурков Юрий Герасимович (RU), Горюнов Владимир Александрович (RU), Шмелев Леонид Федорович (RU), Шумячер Вячеслав Михайлович (RU)
(73) Патентообладатель(и):
Государственное образовательное учреждение высшего профессионального образования Волгоградский государственный архитектурно-строительный университет (ВолгГАСУ) (RU)
|
(54) ПРОТИВОПРОЛЕЖНЕВОЕ СТРУЙНОЕ УСТРОЙСТВО
(57) Реферат:
Изобретение относится к медицинской технике и предназначено для профилактики и лечения пролежней, возникающих в результате нарушения микрокровообращения. Техническим результатом является упрощение настройки и увеличение диапазона регулирования давления в надувных камерах. Противопролежневое струйное устройство содержит источник давления сжатого воздуха, ряд четных и нечетных надувных камер, расположенных в общем матраце, и струйный бистабильный элемент, имеющий питающий канал, два управляющих канала, два выходных канала и два атмосферных канала. Питающий канал струйного бистабильного элемента соединен с источником давления сжатого воздуха, один из выходных каналов струйного бистабильного элемента соединен с рядом нечетных надувных камер и каналом обратной связи с соответствующим управляющим каналом струйного бистабильного элемента, второй выходной канал струйного бистабильного элемента соединен с рядом четных надувных камерам и каналом обратной связи с соответствующим управляющим каналом струйного бистабильного элемента. В каждом из каналов обратной связи установлен постоянный дроссель, а в каждом из атмосферных каналов струйного бистабильного элемента установлен настроечный дроссель. 1 ил.
Изобретение относится к медицинской технике и предназначено для профилактики и лечения пролежней, возникающих в результате нарушения микрокровообращения.
Известно большое число противопролежневых и массажных устройств, использующих в качестве рабочего тела сжатый воздух. Такие устройства содержат источник давления сжатого воздуха, блок управления, надувные камеры и соединительные шланги. Блоки управления этих устройств могут содержать, например, пневматические электромагнитные клапаны (см. патент РФ №2014056, кл. А61Н 9/00, «Аппарат для пневмомассажа», опубликовано 15.06.94.) и другую аппаратуру. Надувные камеры противопролежневых и массажных устройств могут объединяться в две независимые группы (четные и нечетные камеры) к которым поочередно подается давление, (см. 1. Патент РФ №93050843, кл. А61G 7/057, «Противопролежневый матрац», опубликовано 10.02.97.; 2. Патент РФ №5006769, кл. А61G 7/057, «Матрац для больных», опубликовано 27.01.98.).
Наиболее близким к предлагаемому изобретению по совокупности признаков является массажное устройство, содержащее блок управления, включающий в себя струйные бистабильные элементы и обратные связи, которые обеспечивают автоколебательный режим работы блока управления, источник давления рабочей среды, подключенный к каналам питания струйных бистабильных элементов, и надувные камеры, расположенные в общем чехле (см. патент РФ №2068683, кл. А61Н 9/00, 23/00, «Массажное устройство», опубликовано 10.11.96.).
Недостатком известных устройств является относительная сложность настройки требуемого уровня давления в надувных камерах и небольшой диапазон регулирования этого давления.
Техническим результатом предлагаемого технического решения является упрощение настройки и увеличение диапазона регулирования давления в надувных камерах.
Указанный технический результат достигается тем, что в противопролежневом струйном устройстве, содержащем источник давления сжатого воздуха, ряд четных и нечетных надувных камер, расположенных в общем матраце, и струйный бистабильный элемент, имеющий питающий канал, два управляющих канала, два выходных канала и два атмосферных канала, причем питающий канал струйного бистабильного элемента соединен с источником давления сжатого воздуха, один из выходных каналов струйного бистабильного элемента соединен с рядом нечетных надувных камер и каналом обратной связи с соответствующим управляющим каналом струйного бистабильного элемента, второй выходной канал струйного бистабильного элемента соединен с рядом четных надувных камер и каналом обратной связи с соответствующим управляющим каналом струйного бистабильного элемента, согласно изобретению, в каждом из каналов обратной связи установлен постоянный дроссель, а в каждом из атмосферных каналов струйного бистабильного элемента установлен настроечный дроссель.
Установка постоянных дросселей в каналах обратной связи и настроечных дросселей в атмосферных каналах струйного бистабильного элемента позволяет легко настраивать струйное противопролежневое устройство на требуемую величину рабочего (максимального) давления в надувных камерах в широком диапазоне, причем величина этого давления остается постоянной и не зависит от веса больного.
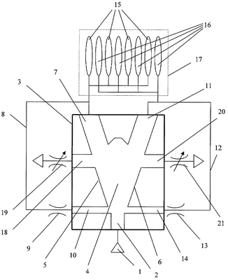
На чертеже изображено противопролежневое струйное устройство.
Устройство содержит источник давления сжатого воздуха 1, подключенный к питающему каналу 2 струйного бистабильного элемента 3 (в качестве струйного бистабильного элемента может быть использован, например, струйный элемент «Триггер с раздельными входами» серии «ВОЛГА», см.: «Струйные логические элементы и устройства автоматического управления технологическим оборудованием». Отраслевой каталог. Под ред. Э.И.Чаплыгина, М.: ВНИИТЭМР, 1989), рабочая камера 4 которого ограничена боковыми стенками 5 и 6. Выходной канал 7 струйного бистабильного элемента 3 соединен каналом обратной связи 8, в котором установлен постоянный дроссель 9 с соответствующим управляющим каналом 10 струйного бистабильного элемента 3. Выходной канал 11 струйного бистабильного элемента 3 соединен каналом обратной связи 12, в котором установлен постоянный дроссель 13 с соответствующим управляющим каналом 14 струйного бистабильного элемента 3. Выходной канал 7 струйного бистабильного элемента 3 также соединен с нечетными надувными камерами 15, выходной канал 11 струйного бистабильного элемента 3 – с четными надувными камерами 16. Четные и нечетные надувные камеры, помещенные в общий чехол матраца 17, чередуются между собой по всей длине матраца (в общем случае число надувных камер может быть любым). В атмосферном канале 18 струйного бистабильного элемента 3 установлен настроечный дроссель 19, а в атмосферном канале 20 – настроечный дроссель 21.
Противопролежневое струйное устройство работает следующим образом.
При подаче сжатого воздуха от источника 1 к питающему каналу 2 струйного бистабильного элемента 3 питающий поток направляется в рабочую камеру 4 этого элемента. Этот поток может с равной вероятностью притянуться к одной из боковых стенок 5 или 6 струйного бистабильного элемента 3. Допустим, что поток притянулся к боковой стенке 5. В этом случае питающий поток поступает в выходной канал 7 струйного бистабильного элемента 3. При этом в атмосферном канале 18 создается разрежение (вакуум), так как питающий поток при своем течении эжектирует некоторое количество воздуха из этого канала. Сжатый воздух из канала 7 начнет поступать к нечетным надувным камерам 15 матраца 17, заполняя их, и в канал обратной связи 8. Наличие постоянного дросселя 9 в канале обратной связи 8 ограничивает уровень пневматического сигнала в управляющем канале 10 струйного бистабильного элемента 3, делая невозможным переключение этого элемента до набора определенного уровня давления в нечетных надувных камерах 15.
По мере заполнения нечетных надувных камер 15 скорость течения потока в канале 7 уменьшается, а давление воздуха в этом канале увеличивается. В атмосферном канале 18 давление также постоянно увеличивается и, когда давление в этом канале станет избыточным, начнется истечение некоторого количества воздуха через настроечный дроссель 19 в атмосферу. При определенном значении давления в канале 7 произойдут отрыв потока от боковой стенки 5 и его релейная переброска к боковой стенке 6, то есть произойдет переключение струйного бистабильного элемента 3.
После переключения струйного бистабильного элемента 3 питающий поток поступает в выходной канал 11. При этом в атмосферном канале 20 создается разряжение (вакуум), так как питающий поток при своем течении эжектирует некоторое количество воздуха из этого канала. Сжатый воздух из канала 11 начнет поступать к четным надувным камерам 16 матраца 17, заполняя их, и в канал обратной связи 12. Наличие постоянного дросселя 13 в канале обратной связи 12 ограничивает уровень пневматического сигнала в управляющем канале 14 струйного бистабильного элемента 3, делая невозможным переключение этого элемента до набора определенного уровня давления в четных надувных камерах 16.
По мере заполнения четных надувных камер 16 скорость течения потока в канале 11 уменьшается, а давление воздуха в этом канале увеличивается. В атмосферном канале 20 давление также постоянно увеличивается и, когда давление в этом канале станет избыточным, начнется истечение некоторого количества воздуха через настроечный дроссель 21 в атмосферу. При определенном значении давления в канале 11 произойдут отрыв потока от боковой стенки 6 и его релейная переброска к боковой стенке 5. Далее цикл повторяется.
Величина давления в канале 7, при котором происходит переброска питающего потока от боковой стенки 5 к боковой стенке 6, соответствует максимальной величине давления в нечетных надувных камерах 15 и определяется настройкой дросселя 19. Если при настройке установлена достаточно большая величина проходного сечения дросселя 19, переключение струйного бистабильного элемента 3 произойдет за счет управляющего сигнала, который сформируется в канале обратной связи 8 и поступит в управляющий канал 10. Таким образом, переключение струйного бистабильного элемента 3 может произойти либо за счет противодавления в выходном канале 7 (когда величина проходного сечения настроечного дросселя 19 достаточно мала), либо за счет управляющего сигнала, сформированного в канале обратной связи 8 и поступившего в управляющий канал 10. Это расширяет диапазон регулирования давления в надувных камерах. Аналогичные процессы происходят, когда питающий поток притянут к боковой стенке 6.
Предлагаемое противопролежневое струйное устройство легко настраивается на требуемое рабочее давление в надувных камерах. Устройство обеспечивает стабильное рабочее давление в надувных камерах не зависимо от веса больного. При изменении веса больного устройство самонастраивается на новый вес за счет некоторого изменения времени заполнения надувных камер, сохраняя при этом установленную величину рабочего давления в надувных камерах.
Формула изобретения
Противопролежневое струйное устройство, содержащее источник давления сжатого воздуха, ряд четных и нечетных надувных камер, расположенных в общем матраце, и струйный бистабильный элемент, имеющий питающий канал, два управляющих канала, два выходных канала и два атмосферных канала, причем питающий канал струйного бистабильного элемента соединен с источником давления сжатого воздуха, один из выходных каналов струйного бистабильного элемента соединен с рядом нечетных надувных камер и каналом обратной связи с соответствующим управляющим каналом струйного бистабильного элемента, второй выходной канал струйного бистабильного элемента соединен с рядом четных надувных камер и каналом обратной связи с соответствующим управляющим каналом струйного бистабильного элемента, отличающееся тем, что в каждом из каналов обратной связи установлен постоянный дроссель, а в каждом из атмосферных каналов струйного бистабильного элемента установлен настроечный дроссель.
РИСУНКИ
|
|