|
|
(21), (22) Заявка: 2002113162/14, 20.05.2002
(24) Дата начала отсчета срока действия патента:
20.05.2002
(30) Конвенционный приоритет:
22.05.2001 SI SI P-20010136
(43) Дата публикации заявки: 27.12.2003
(46) Опубликовано: 10.04.2007
(56) Список документов, цитированных в отчете о поиске:
DE 4447530 A1, 14.03.1996. US 4729368 А, 08.03.1988. US 2519790 А, 22.08.1950. ЕР 1002510 A1, 24.05.2000. US 5665053 A, 09.09.1997. US 6090055 A, 18.07.2000. RU 2135147 C1, 27.08.1999.
Адрес для переписки:
119034, Москва, Пречистенский пер., д.14, стр.1, Гоулингз Интернэшнл Инк., пат.пов. В.Н.Дементьеву
|
(72) Автор(ы):
ЕЛЕНС Йоже (SI)
(73) Патентообладатель(и):
ТЕКНОХИТ д.о.о. (SI)
|
(54) УСТРОЙСТВО ДЛЯ РАДИАЛЬНОЙ ПО ГЛУБИНЕ КОЖНОЙ ТЕРАПИИ
(57) Реферат:
Изобретение относится к медицине и применяется для глубинного массажа кожи. Устройство содержит колоколообразный корпус, цилиндр, установленный в корпусе. Цилиндр имеет форму перевернутого горшка, шарик введенный в цилиндр у его основания, и соединитель, который расположен на верхней стороне цилиндра и предназначен для подключения устройства к источнику отсоса. При помощи соединителя в активной камере создается эффект всасывания, позволяющий образовать кольцевую складку кожи. Технический результат заключается в снижении болезненных ощущений пациента при осуществлении боковых массажных движений. 4 з.п. ф-лы, 3 ил.
Настоящее изобретение имеет отношение к созданию устройства для радиальной по глубине (глубинной) кожной терапии, позволяющего производить глубинное лечение ткани за счет массажа (растирания) поверхности кожи при помощи радиальных движений, посредством чего образуется специфическая складка кожи в виде кольца. Известно, что различные техники массажа служат хорошей основой для глубинной терапии, когда за счет приложения давления и различных движений живая ткань подвергается ударам, сжатию или защемлению между пальцами.
Для повышения эффективности глубинной терапии за счет массажа кожи предложены различные аппараты, которые позволяют легче и более эффективно производить массаж. В качестве примеров фирм, которые выпускают такие аппараты, назовем LPG Systems (US 4729368), Enco, Weyergans High Care AG (EP 1002510) и Medic Systems (US 6090055).
Устройства для массажа, которые предназначены для проведения некоторых видов глубинной терапии, обычно имеют удлиненный управляемый вручную корпус и ролики или шарики, помещенные внутри корпуса и позволяющие производить простые механические действия массажа. При помощи указанных роликов или шариков также можно производить втирание масла или целебной мази в кожу. Что касается эффектов глубинного массажа, то эффективность упомянутых устройств намного меньше эффективности, которая может быть получена при помощи устройства в соответствии с настоящим изобретением.
В практике глубинной терапии кожи применяют также устройства, которые имеют колоколообразный корпус с закругленным базовым (нижним) краем, имеющий соединение с всасывающим насосом. В ходе массажной терапии (обработки) кожа втягивается в камеру всасывания и образует простую складку кожи. Такие устройства сложно использовать и особенно сложно при их помощи выполнять (производить) массажные движения, поэтому они более всего подходят для проведения только простой статической терапии.
Кроме того, используют устройства для глубинной терапии кожи, которые имеют форму удлиненного прямоугольного параллелепипеда, снабженного роликами или шариками и средством соединения с всасывающим насосом. Эти устройства позволяют проводить глубинную терапию кожи за счет обработки складки кожи, созданной при помощи всасывающего насоса. Однако известные устройства этого типа имеют существенный недостаток, вытекающий из их конструкции: они позволяют производить главным образом линейные движения по коже, в то время как осуществление боковых движений затруднено и не может быть осуществлено без эффекта, причиняющего боль пациенту. Поэтому за счет концепции и конструктивного исполнения указанных устройств для глубинной терапии кожи боковая часть складки кожи остается необработанной, что создает несколько болезненное или неприятное ощущение у пациента, когда производят движения в боковом направлении.
Устройство для радиальной по глубине кожной терапии, выполненное в соответствии с настоящим изобретением, позволяет исключить упомянутые выше недостатки.
Устройство для радиальной по глубине кожной терапии, выполненное в соответствии с настоящим изобретением, содержит колоколообразный корпус, нижний край которого отогнут наружу и образует закругленные отвороты с гладко отполированной поверхностью; цилиндр, установленный внутри корпуса, причем корпус указанного цилиндра имеет форму горшка (тигля), перевернутого верхней стороной вниз и имеющего на своей нижней стороне, где введен шарик или несколько шариков, более толстую полосу своей стенки, которая идет по толщине почти до стенки корпуса; и, в верхней части указанного корпуса, средство соединения с источником всасывания (отсоса), которое открыто во внутреннее пространство указанного корпуса в положении над основанием указанного цилиндра.
Шарик или несколько шариков, или подобных шарикам тел, введены в отдельные выемки в указанном цилиндре и легко вращаются при перемещении устройства, что позволяет производить безболезненную обработку (кожи) при проведении процедур массажа.
Внутри колоколообразного корпуса создается так называемая “активная камера”, которая ограничена при помощи внутренней стенки указанного корпуса и при помощи части основания указанного цилиндра, установленного в корпусе. Все “активные поверхности”, которые входят в контакт с кожей пациента, в данном случае внутренняя поверхность части основания корпуса вместе с закругленными отворотами указанного корпуса и поверхность основания указанного внутреннего цилиндра, а также поверхность вращающихся шариков, обработаны соответствующим образом для того, чтобы контакт с указанными активными поверхностями не создавал никаких неприятных ощущений у пациента.
Внутри указанной активной камеры создаются условия вакуума и, следовательно, кожа на массируемом пятне всасывается во внутреннее пространство корпуса, где образуется характерная кольцевая складка кожи. Этот эффект оказывает весьма благоприятное воздействие на кровообращение и усиливает также лимфатические процессы в массируемой зоне. Дополнительные терапевтические эффекты и усиление воздействия радиального движения могут быть достигнуты за счет изменения интенсивности отсоса, которая может колебаться между двумя заданными значениями. Терапевтические эффекты указанного устройства могут быть существенно усилены за счет введения ультразвуковой головки в корпус, а также за счет установки нескольких инфракрасных источников теплоты в указанном корпусе.
Для изменения пятна в массируемой зоне устройство может совершать перемещение в любом направлении, как линейно, так и в боковом направлении. Более того, могут быть осуществлены также различные радиальные движения, которые очень важны при проведении всех известных процедур массажа.
Преимущества устройства в соответствии с настоящим изобретением позволяют улучшить качество массажа во всех точках “активной поверхности” устройства и одновременно обеспечить отсутствие любых болезненных или неприятных ощущений пациента при различных движениях указанного устройства по его коже.
Построение устройства для радиальной по глубине кожной терапии, которое является предметом настоящего изобретения, будет более понятно из последующего детального описания, данного в качестве примера, не имеющего ограничительного характера и приведенного со ссылкой на сопроводительные чертежи.
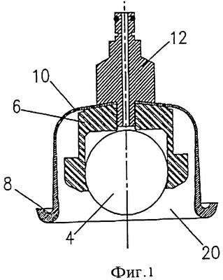
На фиг.1 схематично показано поперечное сечение устройства в соответствии с настоящим изобретением.
На фиг.2 схематично показано поперечное сечение, позволяющее понять образование складки кожи в устройстве в соответствии с настоящим изобретением.
На фиг.3 схематично показано поперечное сечение устройства в соответствии с настоящим изобретением, с встроенной ультразвуковой головкой.
Устройство для радиальной по глубине кожной терапии, которое является предметом настоящего изобретения, содержит колоколообразный корпус 10, цилиндр 6, закрепленный в указанном корпусе, шарик 4, несколько шариков или подобных шарикам тел, которые введены в цилиндр, и соединитель 12, позволяющий подключить устройство к источнику отсоса.
Корпус 10 приводится в действие (захватывается) рукой и поэтому имеет соответствующую форму, позволяющую производить простые манипуляции в ходе различных массирующих движений. Базовый край 8 корпуса имеет форму отогнутого наружу отворота с гладко отполированной поверхностью для обеспечения плотного и безболезненного контакта с кожей пациента, а также для осуществления движений массажа во всех направлениях.
В верхней части корпуса 10 предусмотрен соединитель 12 для источника отсоса, который открыт во внутреннее пространство корпуса 10 в положении над цилиндром 6 и обеспечивает герметичное межсоединение между внутренним пространством корпуса 10 и источником отсоса.
Цилиндр 6, который установлен в корпусе 10 и выполнен таким образом, чтобы совпадать с внутренней стенкой корпуса 10, содержит опоры для шарика 4, несколько шариков или подобных шарикам тел. При массирующем движении шарик 4, несколько шариков или подобных шарикам тел свободно вращаются в их опорах и плотно прилегают к складке кожи 14, что позволяет производить безболезненный массаж и движения массажа во всех направлениях.
Между цилиндром 6, нижней частью корпуса 10 и специально закругленным базовым краем 8 корпуса 10 создается активная камера 20, в которой образуется кольцевая складка кожи 14 в ходе процедур массажа, в результате всасывающего действия, создаваемого при помощи системы отсоса, подключенной к устройству. Интенсивность отсоса может быть постоянной или может изменяться с заданной скоростью. Параметры отсоса могут быть установлены в соответствии с ожидаемыми результатами массажной терапии. Циклические вариации отсоса создают эффект следующих друг за другом захватывания и отпускания складки кожи 14, в результате чего стимулируется мышечный тонус, аналогично достигаемому при методе массажа, известном как разминание или растирание.
Благоприятные терапевтические эффекты устройства для радиальной по глубине кожной терапии могут быть усилены за счет встраивания в корпус ультразвукового устройства 16 и/или инфракрасного устройства.
Формула изобретения
1. Устройство для массажа поверхности кожи, которое содержит колоколообразный корпус (10), цилиндр (6), закрепленный в корпусе (10), имеющий форму перевернутого горшка, в который введен, по меньшей мере, один шарик, и соединитель (12), связывающий внутреннее пространство корпуса (10) с системой отсоса воздуха, при этом между цилиндром (6) и нижней частью корпуса (10) образована камера (20) для втягивания в нее в ходе процедуры массажа складки кожи (14) в форме кольца.
2. Устройство по п.1, у которого кромка (8) основания корпуса (10) выполнена закругленной наружу, с отполированной поверхностью, позволяющей производить безболезненные массирующие движения в различных направлениях.
3. Устройство по одному из пп.1 и 2, у которого по меньшей мере один шарик (4) введен в цилиндр (6) с возможностью свободного вращения и выступает наружу из цилиндра (6).
4. Устройство по п.1, которое дополнительно снабжено встроенной в корпус (10) ультразвуковой головкой (16).
5. Устройство по п.1, которое дополнительно снабжено инфракрасными источниками тепла для нагрева его внутреннего пространства.
РИСУНКИ
|
|