|
|
(21), (22) Заявка: 2004116306/14, 26.09.2002
(24) Дата начала отсчета срока действия патента:
26.09.2002
(30) Конвенционный приоритет:
31.10.2001 (пп.1-17) SE 0103628-4
(43) Дата публикации заявки: 27.03.2005
(46) Опубликовано: 10.04.2007
(56) Список документов, цитированных в отчете о поиске:
WO 9315702 A1, 19.08.1993. EP 0443627 A2, 28.08.1991. RU 2103970 C1,10.02.1998.
(85) Дата перевода заявки PCT на национальную фазу:
31.05.2004
(86) Заявка PCT:
SE 02/01751 (26.09.2002)
(87) Публикация PCT:
WO 03/053299 (03.07.2003)
Адрес для переписки:
129010, Москва, ул. Б.Спасская, 25, стр.3, ООО “Юридическая фирма Городисский и Партнеры”, пат.пов. С.А.Дорофееву, рег.№ 146
|
(72) Автор(ы):
ЭЛЬФСТРЕМ Анна-Карин (SE), ЛИНДМАРК Карин (SE), ХЕРМАНССОН Кент (SE), ОЛЬССОН Линда (SE)
(73) Патентообладатель(и):
СКА ХАЙДЖИН ПРОДАКТС АБ (SE)
|
(54) ПОДГУЗНИК-ТРУСЫ ОДНОРАЗОВОГО ИСПОЛЬЗОВАНИЯ
(57) Реферат:
Изобретение относится к абсорбирующему подгузнику-трусам одноразового использования, имеющему внутренний покрывающий слой, наружный покрывающий слой и абсорбирующее тело, заключенное между двумя покрывающими слоями. Подгузник-трусы также имеет переднюю часть и заднюю часть, которые соединены промежуточной промежностной частью. Абсорбирующее тело имеет такую конструкцию, что зона распространения жидкости в подгузнике-трусах ограничена зоной распространения с площадью менее 200 квадратных сантиметров в плоскости абсорбирующего тела для количества жидкости, составляющего 150 миллилитров. Технический результат – повышение комфортности при использовании. 16 з.п. ф-лы, 4 ил.
ОБЛАСТЬ ТЕХНИКИ, К КОТОРОЙ ОТНОСИТСЯ ИЗОБРЕТЕНИЕ
Изобретение относится к абсорбирующему подгузнику-трусам одноразового использования, имеющему продольное направление и поперечное направление, внутренний покрывающий слой, наружный покрывающий слой и абсорбирующее тело, заключенное между двумя покрывающими слоями, и имеющему два концевых края, проходящих в поперечном направлении с образованием отверстия для талии, и два боковых края, проходящих в продольном направлении с образованием отверстий для ног, при этом подгузник-трусы также имеет переднюю часть и заднюю часть, которые соединены промежуточной промежностной частью.
ИЗВЕСТНЫЙ УРОВЕНЬ ТЕХНИКИ
Большое количество пользователей абсорбирующих подгузников-трусов, предназначенных для различных типов недержания, – это физически активные женщины, которым не присуща физическая или умственная неспособность справляться с заменой указанного подгузника-трусов.
Те подгузники-трусы для людей, страдающих недержанием, которые имеются в настоящее время на рынке, главным образом предназначены для людей, страдающих сильным недержанием. Такие пользователи часто являются физически немощными в большей или меньшей степени и, кроме того, часто достигли умственного состояния, при котором они не осознают, произошло ли опорожнение мочевого пузыря или когда произошло опорожнение мочевого пузыря.
Подгузники-трусы обычного типа, предназначенные для людей, страдающих тяжелыми формами недержания, оказались чрезвычайно полезными для этой группы пользователей, поскольку, что касается этой группы, существует большая потребность в изделии, которое может принимать, распределять и удерживать большие количества жидкости при одновременном обеспечении плотного контакта с телом с тем, чтобы избежать утечек выделенной жидкости. Чтобы обеспечить достаточную способность абсорбции выделенной жидкости при одновременном поддержании небольшой толщины изделия, абсорбирующий материал, включенный в обычный подгузник-трусы, распределяется по большой зоне, которая в том случае, когда подгузник-трусы надет на пользователя, проходит по существу от живота пользователя через промежность до зоны талии на спине пользователя. Когда пользователь стоит или сидит, перемещение выделенной мочи обычно заканчивается в том месте, которое известно как место смачивания, расположенное в промежностной части подгузника. Поскольку сильное недержание часто приводит к нескольким опорожнениям мочевого пузыря, жизненно важно, чтобы подгузник-трусы был выполнен так, чтобы жидкость эффективно распределялась от места смачивания в промежностной части с тем, чтобы она удерживалась во всей массе имеющегося абсорбирующего материала, а также для того, чтобы принимающее жидкость место смачивания было готово для следующего опорожнения.
Для человека, страдающего сильным недержанием, очевидно, необходимо, чтобы выделенная жидкость распределялась по всей абсорбирующей зоне для гарантирования того, что не произойдет утечек в промежностной части, которая подвергается большой нагрузке при воздействии на нее жидкости. Неудобство в виде дискомфорта и раздражения, которое вызвано большими количествами жидкости, удерживаемыми в абсорбирующем материале большой протяженности и, следовательно, находящимися рядом с большими зонами кожи, – это то, с чем приходится мириться для обеспечения высокого уровня герметичности, который достигается с помощью соответствующей конструкции подгузника-трусов.
Кроме того, подгузник-трусы, предназначенный для использования при сильном недержании, обычно предназначен для людей, которые не способны сами заменить использованное изделие, людей, которым из-за этого требуется помощь со стороны для замены использованного подгузника-трусов. В этой ситуации нередки случаи, когда происходит несколько опорожнений до того, как вообще может быть выполнена замена. Следовательно, давление на промежностную зону, которая первая подвергается воздействию выделенной жидкости, обязательно должно быть снижено для удерживания жидкости в абсорбирующих передней и задней частях подгузника-трусов.
Дополнительная проблема заключается в плотном прилегании, обеспечиваемом подгузником-трусами при выполнении им функции защиты от утечек. Вопреки назначению подгузника-трусов этот плотный контакт создает проблему, поскольку отсутствует возможность вентиляции окружающих зон кожи, которые контактируют с наполненным жидкостью абсорбирующим материалом.
Очевидная проблема возникает, когда физически активные женщины, которые как физически, так и умственно способны хорошо справляться с заменой их собственного изделия, предназначенного для использования при недержании, а также полностью осознают нежелательное присутствие жидкости рядом с телом, вынуждены использовать изделие данного типа. В существующих обычных подгузниках-трусах, предназначенных для использования при сильном недержании, когда ожидается, что продукт будет абсорбировать большие количества жидкости после нескольких опорожнений, жидкость также распределяется по большой зоне распространения, покрывающей живот и заднюю часть пользователя. Результатом этого является то, что, даже если пользователь заменит изделие через относительно короткий период времени, распределение уже приведет к контакту больших участков кожи с влажной поверхностью, при этом кожа останется по-прежнему влажной при надевании нового подгузника-трусов. Эта влажность создает ощущение дискомфорта и несвежести для осознающего это пользователя и, более того, вызывает распространение характерного неприятного запаха выделенной жидкости, что вызывает неловкость и раздражение при активной общественной жизни.
Еще одна проблема, с которой обычно сталкиваются при использовании обычных абсорбирующих подгузников-трусов, состоит в том, что для обеспечения выполнения требования абсорбции эти подгузники требуют наличия больших количеств абсорбирующего материала. Само собой разумеется, следствием этого является то, что подгузник-трусы будет иметь большие размеры и объем и часто создает ощущение неудобства при движении, и его трудно скрыть под обычной одеждой. Поскольку целевая группа, а именно активные женщины, чрезвычайно социально активна, для них крайне важно, чтобы изделие, используемое при недержании, невозможно было заметить под одеждой и чтобы оно в максимально возможной степени создавало ощущение обычного предмета нижнего белья.
То, что при изготовлении подгузников-трусов используются большие количества материала, также делает их более дорогостоящими в изготовлении, что также делает их более дорогими для пользователя. Поскольку указанная группа пользователей заменяет подгузник-трусы настолько быстро, насколько это возможно после опорожнения, используется довольно большое количество подгузников-трусов. Само собой разумеется, менее дорогостоящее изделие позволит пользователю чаще заменять и выбрасывать изделие, как только оно стало мокрым.
Как очевидно из вышеизложенного, существует потребность в усовершенствованном абсорбирующем подгузнике-трусах, предназначенном для физически активных женщин. Кроме того, желательно обеспечить возможность создать абсорбирующий подгузник-трусы, который имеет низкую производственную себестоимость.
РАСКРЫТИЕ ИЗОБРЕТЕНИЯ
Посредством настоящего изобретения был создан подгузник-трусы указанного во введении типа, который позволяет по существу устранить проблемы, связанные с ранее известными подгузниками-трусами для целевой группы физически активных женщин.
В этой связи абсорбирующий подгузник-трусы, выполненный в соответствии с изобретением, отличается главным образом тем, что абсорбирующее тело имеет такую конструкцию, что зона распространения жидкости в подгузнике-трусах ограничена зоной распространения с площадью менее 200 квадратных сантиметров в плоскости абсорбирующего тела для количества жидкости, составляющего 150 миллилитров.
Неизбежное распространение жидкости в обычном подгузнике-трусах, которое следует за опорожнением, будет немедленно распознано осознающей это физически активной женщиной, которая испытывает большой дискомфорт в данной ситуации. Следовательно, указанный пользователь заменит использованный подгузник-трусы в течение очень короткого периода времени, чтобы избежать неприятного ощущения перемещения в увлажненном изделии. Что касается психологического состояния, то также было установлено, что пользователь стремится заменить подгузник-трусы как можно скорее после опорожнения мочевого пузыря. В отличие от физически немощных и/или имеющих проблемы с умственными способностями людей указанная целевая группа способна справляться с немедленной заменой после выделения сравнительно большого количества жидкости при опорожнении, поскольку это представляет собой наиболее естественный рефлекс. Поскольку как по причинам обеспечения комфорта, так и по причинам обеспечения стабильности желательно, чтобы абсорбирующее тело проходило немного вверх к части живота и к задней части, крайне важно, чтобы в промежутке времени между заменами предотвращалось распространение выделенной жидкости в эти зоны.
Абсорбирующий подгузник-трусы обычно имеет абсорбирующее тело, выполненное из трех слоев, при этом абсорбирующее тело расположено между внутренним проницаемым для жидкостей слоем, обращенным к пользователю, и наружным, не проницаемым для жидкостей слоем, обращенным от пользователя. Абсорбирующее тело включает в себя абсорбирующие части, например вспушенную измельченную целлюлозу с добавлением или без добавления того, что известно как суперабсорбенты, которые представляют собой полимеры, способные абсорбировать жидкость в количестве, в несколько раз превышающем их собственный вес, и компоненты, предназначенные для распределения жидкости в абсорбирующем теле.
В одном варианте осуществления настоящего изобретения абсорбирующий подгузник-трусы был создан с абсорбирующим телом, содержащим центральный абсорбирующий слой и предохранительный (защитный) слой. Центральный абсорбирующий слой соответственно состоит из смеси абсорбирующей вспушенной измельченной целлюлозы и суперабсорбентов, при этом один компонент модифицирован с тем, чтобы оказывать подкисляющее воздействие при контакте с выделившейся из пользователя жидкостью, чтобы получить абсорбирующее тело с ограниченным распространением жидкости. Для достижения одной цели изобретения абсорбирующий слой должен содержать абсорбирующий жидкость материал с большой удерживающей способностью, но с малой распределяющей способностью. В одном варианте осуществления предохранительный слой также может иметь соответствующий материал со сверхвысокой абсорбционной способностью в качестве гарантии от любой возможной утечки из абсорбирующего слоя. Использование абсорбирующего материала с высокой степенью кислотности предпочтительно с точки зрения гигиены, поскольку известно, что низкий водородный показатель рН обеспечивает уменьшение частоты отрицательных воздействий на кожу, а также препятствует жизнедеятельности микроорганизмов.
Следовательно, абсорбирующее тело в соответствии с изобретением предпочтительно содержит вещество, регулирующее водородный показатель рН, в виде, например, частично нейтрализованного материала со сверхвысокой абсорбционной способностью [суперабсорбента], что означает, что водородный показатель рН в абсорбирующем подгузнике-трусах после смачивания составляет от 3,5 до 4,9. Состав абсорбирующего материала и взаимосвязь между абсорбирующим слоем и предохранительным слоем в многослойной структуре выполнены такими, чтобы при абсорбции абсорбирующим телом жидкости, выделившейся из пользователя, зона распространения жидкости была ограничена меньшей зоной абсорбирующего тела.
B абсорбирующее тело также может быть включен даже суперабсорбент обычных типов, то есть материал в виде волокон, частиц, гранул, пленки или т.п., который обладает способностью абсорбировать жидкость в количестве, в несколько раз превышающем массу самого материала со сверхвысокой абсорбционной способностью. Материал со сверхвысокой абсорбционной способностью связывает жидкость и образует содержащий жидкость гель. Эти суперабсорбенты хорошо известны специалисту в данной области техники, и поэтому нет необходимости их подробно описывать.
Абсорбирующее тело также может содержать другие абсорбирующие материалы помимо частично нейтрализованного материала со сверхвысокой абсорбционной способностью, например целлюлозу. Было установлено, что предпочтительно использовать частично нейтрализованный материал со сверхвысокой абсорбционной способностью, как указано выше, в сочетании с вспушенной измельченной целлюлозой с водородным показателем рН, составляющим менее 7 и предпочтительно менее 6, что дает дополнительный положительный эффект. Использование вышеуказанных абсорбирующих материалов с низкими значениями водородного показателя рН обеспечивает возможность, согласно изобретению, ограничить распространение жидкости в абсорбирующем изделии.
Подходящая целлюлоза может состоять из химико-термомеханической целлюлозной массы с водородным показателем рН, составляющим 2,5-8,5, предпочтительно 2,5-6,5 и наиболее предпочтительно 2,5-5,5, или из целлюлозы с водородным показателем рН, составляющим 2,5-8,5, предпочтительно 2,5-8,0 и наиболее предпочтительно 2,5-7,0.
Соответствующий частично нейтрализованный материал со сверхвысокой абсорбционной способностью может состоять, например, из сшитого полиакрилата такого типа, который продается под наименованием HYSORB С 7110 фирмой BASF. Также можно использовать другие типы материалов со сверхвысокой абсорбционной способностью, отличные от указанных выше, которые имеют соответствующие свойства. Соответствующая доля материала со сверхвысокой абсорбционной способностью в абсорбирующем слое составляет 30-70 вес.%, предпочтительно 45-55 вес.% и наиболее предпочтительно приблизительно 50 вес.% материала абсорбирующего тела. Поскольку абсорбирующее тело состоит из многослойной структуры, предохранительный слой также расположен в нем соответствующим образом. В этом случае предохранительный слой также может содержать суперабсорбенты, так что обеспечивается дополнительная защита от утечек. Соответствующая доля суперабсорбента в предохранительном слое в этом случае составляет от 5 до 25%, предпочтительно приблизительно 15%.
Степень нейтрализации в материале со сверхвысокой абсорбционной способностью обычно должна составлять менее 45% и предпочтительно менее 35%. Тем не менее степень нейтрализации соответственно должна быть выше приблизительно 20% с тем, чтобы добиться наилучшего эффекта, как описано в описании патента Швеции 511838.
Суперабсорбенты обычно поставляются в виде отдельных частиц, но также существуют волокна, хлопья, гранулы и пленка. Частицы могут иметь любую заданную форму, например сферическую, спиральную, полуспиральную, кубическую, стержнеобразную, многогранную и т.д. В данном случае также можно использовать формы, которые имеют большое отношение максимального размера к минимальному размеру, такие как иглы, хлопья и волокна. В альтернативном варианте может быть использована смесь частиц суперабсорбента. В абсорбирующем теле согласно изобретению предпочтительно используются частицы суперабсорбента с размером не менее приблизительно 100 мкм и не более приблизительно 1000 мкм, и еще более предпочтительно использовать частицы, из которых 60-65 вес.% частиц имеют размеры в диапазоне приблизительно от 106 до 500 мкм, а 40-35 вес.% частиц имеют размеры в диапазоне от приблизительно 500 до 850 мкм. Определенный размер частиц получают путем просеивания частиц суперабсорбента через сита, при этом отверстия сит имеют ранее известные диаметры. Следовательно, те частицы, которые прошли через сито с определенным размером отверстий, но не через сито с меньшим размером отверстий, имеют размер, находящийся в диапазоне между двумя соответствующими диаметрами.
Считается, что размер частиц оказывает большое влияние на скорость, с которой суперабсорбенты абсорбируют и распределяют жидкость, которая была абсорбирована. Считается, что скорость абсорбции жидкости для частиц большего размера будет меньше с учетом их ограниченной площади абсорбирующей жидкость поверхности по отношению к их объему. По аналогичной причине считается, что чрезвычайно малые частицы имеют более высокую скорость абсорбции жидкости, но для них ограничение, в свою очередь, обусловлено тем, что после набухания они легко вдавливаются в межволоконные капилляры в волокнистой структуре, такой как слой вспушенной измельченной целлюлозы. Кроме того, они также легко образуют массу коагулированного геля, который удерживается вместе за счет сил поверхностного натяжения жидкости, тем самым образуя барьер для жидкости, что, в свою очередь, приводит к уменьшению распространения жидкости, явлению, которое известно как блокирование гелем. Было установлено, что диапазон размеров частиц, указанный выше, является подходящим для обеспечения надлежащей абсорбции при одновременном ограничении распространения абсорбированной жидкости в продольном направлении.
Использование абсорбирующего подгузника-трусов с ограниченным распространением жидкости в соответствии с изобретением означает, что гарантированная прилегаемость подгузника-трусов с обеспечением высокой степени герметичности, присущей ему, которая обусловлена плотным контактом подгузника-трусов с телом, создает преимущества для пользователя, и при этом влага не удерживается там, где она может снова попадать на открытые для воздействия участки кожи, что приводит к отрицательным последствиям. Для гарантирования прилегаемости подгузник-трусы может быть выполнен с эластичными элементами, например с растяжимыми нитями, лентами, пленкой или т.п. Использование большого числа эластичных элементов предотвращает возникновение ощущения неудобства у пользователя из-за упругого стягивания благодаря тому, что эластичные элементы по отдельности не создают слишком большого локального давления, действующего на пользователя, при одновременном гарантировании плотного прилегания подгузника-трусов.
Для обеспечения получения преимуществ, обусловленных плотным контактом с телом, без поглощения влаги в слишком обширных зонах в пространстве между кожей и подгузником-трусами, важно, чтобы абсорбирующий материал имел ограниченную протяженность внутри подгузника-трусов. Следовательно, в многослойной структуре удерживающий жидкость абсорбирующий слой имеет протяженность в продольном направлении внутри подгузника-трусов, которая должна составлять не более 60-80% и предпочтительно не более приблизительно 65-70% от общей протяженности абсорбирующего тела. Таким образом, жидкость, абсорбированная в абсорбирующем слое, будет контактировать с кожей пользователя только на ограниченных участках. По этой причине общая площадь абсорбирующего слоя не должна превышать площади, составляющей 195-235 см2, и предпочтительно должна составлять не более 210-220 см2 для объема абсорбированной жидкости, составляющего приблизительно 150 мл. Тем не менее абсорбирующее тело в целом имеет такую протяженность внутри подгузника-трусов, которая все еще отвечает требованиям комфорта и стабильности.
Как было указано выше, уменьшенное количество абсорбирующего материала желательно по соображениям удобства и комфортности. Кроме того, использование меньшего количества абсорбирующего материала означает наличие существенного преимущества с экологической точки зрения. Кроме того, поскольку предполагается, что пользователи в заданной целевой группе по изобретению будут менять изделие после первого опорожнения мочевого пузыря, также отсутствует необходимость в наличии большего количества абсорбирующего материала, чем, как ожидается, потребуется для абсорбции всей жидкости, выделенной при одном опорожнении. Следовательно, подгузник-трусы согласно первому варианту выполнения изобретения может быть выполнен с общей абсорбционной емкостью, составляющей 350-400 г, предпочтительно не более приблизительно 370 г. В соответствии со вторым вариантом выполнения изобретения, в котором предохранительный слой не имеет функции абсорбции какой-либо жидкости, возможно вытекающей из абсорбирующего слоя, но его главной функцией является направление жидкости вниз в абсорбирующий слой, общая абсорбционная емкость может быть немного меньше. Общая абсорбционная емкость абсорбирующего изделия означает теоретическую величину, которую рассчитывают, зная абсорбционную способность различных составляющих материалов.
В соответствии с первым вариантом осуществления изобретения предохранительный слой расположен под абсорбирующим слоем, то есть абсорбирующий слой находится рядом с внутренним покрывающим слоем. Абсорбирующее тело может быть выполнено с принимающим жидкость слоем, расположенным рядом с внутренним покрывающим слоем, а также с дополнительным слоем, который образует часть абсорбирующего слоя. В данном варианте осуществления предохранительный слой может, как указано выше, функционировать в качестве барьера, защищающего от утечек жидкости, поступающей из абсорбирующего слоя. По этой причине предохранительный слой в данном случае соответственно содержит меньшую долю суперабсорбентов, предпочтительно соответствующую 10-20 вес.% и наиболее предпочтительно приблизительно 15 вес.% от веса всего абсорбирующего материала, в целях связывания жидкости. В данном случае предохранительный слой имеет меньшую плотность по сравнению с абсорбирующим слоем, который может придавать подгузнику-трусам свойство, обеспечивающее возникновение ощущения большей мягкости изделия при использовании, и тем самым усиливать ощущение комфортности.
Во втором варианте выполнения изобретения предохранительный слой расположен над абсорбирующим слоем, то есть предохранительный слой расположен рядом с пользователем. В данном случае предохранительный слой в первую очередь функционирует в качестве промежуточного слоя, обеспечивающего перемещение жидкости. В данном варианте выполнения указанный слой имеет высокую степень пористости и является в большей или меньшей степени гидрофобным и поэтому обладает хорошей способностью принимать жидкость и выпускать жидкость в абсорбирующий слой. Тем не менее в обоих указанных вариантах выполнения предохранительный слой может предпочтительно иметь меньшую гидрофильность по сравнению с абсорбирующим слоем. В данном варианте осуществления состав предохранительного слоя является таким, что быстро выделенная жидкость будет быстро и с обеспечением ее сосредоточения перемещена непосредственно в абсорбирующий слой. Поскольку жидкость перемещается прямо в абсорбирующий слой в направлении, перпендикулярном к плоскости абсорбирующего слоя, обеспечивается противодействие начальному растеканию. Таким образом, жидкость скапливается с обеспечением ее большего сосредоточения в абсорбирующем слое и поэтому на ранней стадии в меньшей степени распространяется в продольном направлении. Предохранительный слой также образует промежуточный слой между жидкостью, которая была абсорбирована в абсорбирующем слое, и телом пользователя и таким образом предотвращает повторное смачивание, то есть ситуацию, при которой выделенная организмом и уже абсорбированная текучая среда проходит назад через внутренний покрывающий слой. Кроме того, предохранительный слой служит в качестве защиты от разбрызгивания при выделении жидкости и благодаря его протяженности служит в качестве средства, повышающего степень комфортности.
В обоих описанных выше вариантах выполнения, и наиболее предпочтительно в последнем случае, может оказаться целесообразным разместить не проницаемый для жидкостей барьерный слой под абсорбирующим телом рядом с наружным покрывающим слоем. Это позволит обеспечить улучшенную защиту от протечек.
Для того чтобы установить, что подгузник-трусы согласно изобретению обеспечивает заданное ограничение распространения выделенной жидкости, подгузник-трусы согласно изобретению сравнивали с подгузником-трусами, содержащим обычное абсорбирующее тело.
Соответствующие изделия были исследованы с помощью способа имитации пользователя, который разработан таким образом, что анатомия пользователя и опорожнение мочевого пузыря в абсорбирующее изделие имитируются в максимально возможной степени. С этой целью было использовано измерительное приспособление, выполненное по существу в соответствии с анатомией пользователя.
КРАТКОЕ ОПИСАНИЕ ЧЕРТЕЖЕЙ
Далее изобретение описано более подробно со ссылкой на фигуры, показанные на сопровождающих чертежах, на которых:
фиг.1 – подгузник-трусы согласно изобретению, при этом указанный подгузник-трусы находится в несобранном состоянии;
фиг.2а – сечение подгузника-трусов, выполненное по линии IIa-IIa на фиг.1, согласно первому варианту осуществления изобретения;
фиг.2b – сечение подгузника-трусов, выполненное по линии IIb-IIb на фиг.1, согласно второму варианту осуществления изобретения;
фиг.3 – подгузник-трусы согласно изобретению, при этом указанный подгузник-трусы находится в собранном состоянии;
фиг.4а – вид сбоку зажимного приспособления для проведения испытаний; и
фиг.4b – вид сверху зажимного приспособления для испытаний по фиг.4а.
ВАРИАНТ(Ы) ВЫПОЛНЕНИЯ ИЗОБРЕТЕНИЯ
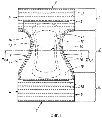
На фиг.1 абсорбирующий подгузник-трусы показан в его еще не собранном состоянии, то есть в состоянии, когда отверстия для талии и для ног еще не образованы. Подгузник-трусы имеет переднюю часть 1, предназначенную для размещения спереди на пользователе, заднюю часть 2, предназначенную для размещения сзади на пользователе, и промежностную часть 3, расположенную между передней и задней частями 1, 2 и предназначенную для размещения между ногами пользователя. Передняя часть 1 имеет два боковых края 4, 5, предназначенных для скрепления их вместе, которые соответствуют двум боковым краям 4, 5, предназначенным для скрепления их вместе и имеющимся на задней части 2, при этом соответствующие боковые края 4, 5 предназначены для скрепления их вместе для образования подгузника-трусов согласно фиг.3. Передняя и задняя части 1, 2 также имеют прямолинейные концевые края 6, 7, предназначенные для образования отверстия для талии. Промежностная часть 3 имеет два продольных, изогнутых внутрь, боковых края 8, 9, предназначенных для образования отверстий для ног. Подгузник-трусы также содержит абсорбирующее тело 10, которое выполнено удлиненным в продольном направлении подгузника-трусов и заключено между внутренним покрывающим слоем 11, предназначенным для того, чтобы быть обращенным к пользователю во время использования, и наружным покрывающим слоем 12, предназначенным для того, чтобы быть обращенным в сторону от пользователя во время использования.
Передняя и задняя части 1, 2 и промежностная часть 3 подгузника-трусов выполнены в виде одного непрерывного куска, который тем самым образует наружный покрывающий слой 12. Наружный покрывающий слой 12 может состоять из одного или нескольких слоев нетканого материала или других подобных текстилю материалов.
Внутренний покрывающий слой 11, который расположен с той стороны абсорбирующего тела 10, которая направлена к пользователю во время использования, имеет форму, подобную форме песочных часов. Наружному покрывающему слою 12 придана такая форма, что он образует полную протяженность подгузника-трусов. Покрывающие слои 11, 12 соединены друг с другом вокруг абсорбирующего тела 10, например, посредством склеивания, сшивания или сварки путем использования тепла или ультразвука. Кроме того, один или оба покрывающих слоя 11, 12 могут быть присоединены к абсорбирующему телу 10, например, посредством склеивания, сшивания, стачивания или сварки путем использования тепла или ультразвука.
Внутренний покрывающий слой 11 представляет собой слой обычного типа и поэтому может состоять из любого проницаемого для жидкостей материала, пригодного для данной цели. Примерами таких материалов являются различные виды тонкого нетканого материала, перфорированные пластиковые пленки, сетчатый материал, проницаемый для жидкостей вспененный материал или т.п.
Внутренний покрывающий слой 11 в подгузнике-трусах согласно изобретению необязательно должен состоять из отдельного слоя материала, но покрывающий слой 11 может представлять собой поверхность абсорбирующего тела 10 подгузника-трусов. В этом случае два покрывающих слоя не будут соединены друг с другом так, как описано выше.
Наружный покрывающий слой 12 может состоять из материала того же типа, что и материал внутреннего покрывающего слоя 11. В качестве средства, предназначенного для повышения степени защиты от утечек, используют не проницаемый для жидкостей, барьерный слой 19, который расположен между абсорбирующим телом и наружным покрывающим слоем 12, как показано на фиг.2b. Может оказаться предпочтительным, если барьерный слой 19 будет иметь некоторую воздухопроницаемость, то есть будет обеспечена возможность прохода водяного пара через слой 19. Не проницаемый для жидкостей барьерный слой 19 может, подобно внутреннему покрывающему слою 11, представлять собой неотъемлемую часть абсорбирующего тела и может состоять, например, из не проницаемой для жидкостей, подобной оболочке поверхности на абсорбирующем пористом материале. Барьерный слой 19 присоединен к подгузнику-трусам, например, посредством склеивания, сшивания или сварки путем использования тепла или ультразвука. Как вариант наружный покрывающий слой 12 может состоять полностью или частично из не проницаемого для жидкостей материала, такого как не проницаемая для жидкостей пластиковая пленка, слой нетканого материала, который был покрыт не пропускающим жидкость материалом, или слой какого-либо другого гибкого материала, который обладает способностью противодействовать проникновению жидкостей.
В соответствии с одним вариантом выполнения изобретения абсорбирующее тело 10 содержит два слоя, с одной стороны абсорбирующий слой 13 и с другой стороны предохранительный слой 14. Каждый из двух слоев содержит специфическую для каждого слоя смесь абсорбирующего материала, состоящего из вспушенной измельченной целлюлозы и полимерных гидроколлоидных материалов, которые известны как суперабсорбенты. Другими абсорбирующими материалами, пригодными для использования в абсорбирующем теле 10, являются, например, абсорбирующие слои скрепленных волокон, слои тонкой папиросной бумаги, абсорбирующий вспененный материал, торф или т.п. Суперабсорбенты представляют собой материалы, обладающие способностью абсорбировать жидкость в количестве, во много раз превышающем их собственную массу, путем образования содержащего жидкость геля.
Суперабсорбенты обычно имеются в наличии в виде частиц, хлопьев, волокон, гранул или т.п. В некоторых случаях может присутствовать только материал со сверхвысокой абсорбционной способностью, или он может присутствовать вместе с другим абсорбирующим материалом и может быть расположен в виде слоев, или он может быть в виде смеси с другими материалами, такими как целлюлозные волокна или синтетические волокна.
Ограничение распространения жидкости может быть обеспечено, если абсорбирующий материал будет подготовлен таким образом, что степень кислотности, или водородный показатель рН, в подгузнике-трусах при смачивании будет находиться в диапазоне от 3,5 до 4,9. Этот диапазон достигается за счет того, что абсорбирующий материал содержит частично нейтрализованный материал со сверхвысокой абсорбционной способностью и со степенью нейтрализации, превышающей приблизительно 20%, составляющей менее 45% и предпочтительно составляющей менее приблизительно 35%. Подходящий материал со сверхвысокой абсорбционной способностью может состоять из частиц суперабсорбента, такого как HYSORB С 7110, поставляемого фирмой BASF. Также могут быть использованы другие виды материалов со сверхвысокой абсорбционной способностью, которые обладают соответствующими свойствами. Частицы суперабсорбента обычно имеют вид отдельных частиц, при этом размер частиц суперабсорбента предпочтительно превышает приблизительно 100 мкм, но меньше приблизительно 1000 мкм, и еще более предпочтительно, если приблизительно 60-65 вес.% частиц имеет размер в диапазоне от 106 до 500 мкм, а 40-35 вес.% частиц имеет размер в диапазоне от 500 до 850 мкм. Было установлено, что размер частиц суперабсорбента имеет важное значение для распространения жидкости, и поэтому очень важно, чтобы размер частиц суперабсорбента был выбран так, чтобы обеспечить достижение заданного эффекта распространения. Было установлено, что указанный диапазон размеров частиц позволяет получить хорошие результаты при обеспечении распространения жидкости согласно изобретению, что можно видеть из приведенных ниже результатов измерений.
Кроме того, подкисленная целлюлоза также может служить в качестве материала, регулирующего рН. В этом случае целлюлоза может состоять, например, из химико-термомеханической целлюлозной массы с водородным показателем рН, составляющим 2,5-8,5, предпочтительно 2,5-6,5 и наиболее предпочтительно 2,5-5,5, или из химической целлюлозной массы с водородным показателем рН, составляющим 2,5-8,5, предпочтительно 2,5-8,0 и наиболее предпочтительно 2,5-7,0. Было установлено, что комбинация частично нейтрализованного материала со сверхвысокой абсорбционной способностью, подобного указанному выше, с целлюлозной массой с водородным показателем рН, составляющим менее 7, предпочтительно менее 6, дает лучшие результаты. Для получения соответствующей степени кислотности целлюлозы водородный показатель рН целлюлозы можно регулировать в технологическом процессе, например, путем добавления подкисляющего вещества. Этот добавляемый ингредиент может состоять, например, из воды с диоксидом серы SO2. За счет этой операции гидроксид натрия NaOH, содержащийся в целлюлозе, также может быть нейтрализован. Другим способом получения соответствующей степени кислотности целлюлозы является добавление пригодной кислоты в обработанную целлюлозу.
Желательное ограничение распространения жидкости не сводится только к примеру, указанному выше, но может быть также обеспечено рядом способов, например путем использования различных составов слоев в абсорбирующем теле, зон с разной степенью сжатия в абсорбирующем слое, слабо сжатой целлюлозы или т.п. В альтернативном варианте различные средства, препятствующие проходу жидкости, в виде увеличенных концентраций материала со сверхвысокой абсорбционной способностью или барьеров в виде не проницаемых для жидкостей зон или т.п. могут быть предусмотрены в частях абсорбирующего тела.
Для достижения надлежащего эффекта доля материала со сверхвысокой абсорбционной способностью в абсорбирующем слое 13 составляет приблизительно 30-70%, предпочтительно 45-55% и наиболее предпочтительно приблизительно 50% от веса материала абсорбирующего слоя.
Абсорбирующий слой 13 и предохранительный слой 14 могут занимать взаимно противоположные положения по отношению к телу пользователя и с точки зрения их размещения в непосредственной близости от тела пользователя. Таким образом, каждый слой может быть расположен или рядом с внутренним покрывающим слоем 11, или рядом с наружным покрывающим слоем 12. Предохранительный слой имеет немного большую протяженность в продольном направлении и до некоторой степени в поперечном направлении по сравнению с абсорбирующим слоем 13. Положение предохранительного слоя в каждом случае показано в вариантах осуществления, проиллюстрированных на фиг.2а и 2b. Предохранительный слой 14 может выполнять ряд функций, в частности обеспечивать повышенную герметичность, гарантированную стабильность абсорбирующего тела и комфорт для пользователя.
Эластичные средства 16, 17 расположены вдоль боковых краев 8, 9 и образуют резинки для ног при использовании подгузника-трусов. Соответствующие эластичные средства представляют собой различные виды эластичных нитей, лент, эластичного нетканого материала, эластичного вспененного материала или т.п. Некоторое количество поперечных эластичных элементов 18, например эластичных нитей, лент или т.п., проходит в растянутом состоянии в поперечном направлении как через переднюю часть, так и через заднюю часть. Поперечные эластичные элементы 18 соответствующим образом заключены между двумя слоями материала, такого как нетканый материал различных типов или другие подобные текстилю материалы, при этом указанный материал образует переднюю и заднюю части 1, 2 и промежностную часть 3 подгузника-трусов.
На фиг.2а и 2b показаны различные варианты выполнения абсорбирующего тела в подгузнике-трусах с фиг.1. На фиг.2а видно, что предохранительный слой 14 расположен под абсорбирующим слоем 13. В данном варианте осуществления абсорбирующий слой 13 соответствующим образом выполнен с принимающим жидкость слоем 15, который образует часть, расположенную сверху на абсорбирующем слое, рядом с внутренним покрывающим слоем 11. Принимающий жидкость слой отличается большой способностью мгновенно абсорбировать жидкость и способностью выпускать жидкость в абсорбирующий слой 13. Принимающий жидкость слой 15 предпочтительно выполнен с большей пористостью по сравнению с абсорбирующим слоем 13 и предпочтительно состоит из слоев упругого материала. Кроме того, обычно предпочтительно, чтобы данный слой имел меньшую гидрофильность по сравнению с абсорбирующим слоем 13, находящимся за его пределами. Принимающий жидкость слой 15 также образует промежуточный слой между жидкостью, которая была абсорбирована в абсорбирующем слое 13, и телом пользователя и таким образом предотвращает повторное смачивание, то есть ситуацию, при которой выделенная организмом и уже абсорбированная текучая среда проходит назад через внутренний покрывающий слой 11. К примерам материалов, которые обычно используются в вышеуказанном слое, относятся полиэфирная вата, объемные нетканые материалы, различные типы ламината, сшитые целлюлозные волокна или т.п. Кроме того, проставочный слой должен создавать приятное ощущение и ощущение мягкости при размещении его на теле пользователя. Обычно предпочтительно, если принимающий жидкость слой 15 содержит термопластичный компонент, который может быть использован для скрепления принимающего жидкость слоя 15 вместе с внутренним покрывающим слоем 11 и/или абсорбирующим слоем 13.
Абсорбирующий слой 13 также может быть предусмотрен с дополнительным слоем, который может или представлять собой отдельный слой, или составлять часть абсорбирующего слоя 13. Дополнительный слой может иметь функцию обеспечения перемещения жидкости, служить в качестве барьерного слоя по отношению к материалу со сверхвысокой абсорбционной способностью, содержащемуся в соседнем абсорбирующем слое, или т.п. Дополнительный слой может состоять из любых материалов, пригодных для данной цели, и предпочтительно содержит определенную долю вспушенной измельченной целлюлозы в таком количестве, чтобы она служила в качестве барьерного слоя.
В примере варианта выполнения, показанном на фиг.2а, подгузник-трусы дополнительно содержит предохранительный слой 14, который расположен рядом с наружным покрывающим слоем 12. Предохранительный слой 14 имеет большую протяженность как в продольном направлении, так и в поперечном направлении по сравнению с абсорбирующим слоем 13. Большая площадь создает ощущение большего комфорта для пользователя, а также придает устойчивость абсорбирующему телу в вытянутом положении. Кроме того, предохранительный слой 14 служит в качестве защиты от любой возможной утечки из абсорбирующего слоя 13. В данном варианте осуществления слой 14 содержит материал того же типа, что и материал абсорбирующего слоя, но с отличающимся составом абсорбирующего материала. Доля суперабсорбента будет немного меньше и будет составлять от 10 до 20% и предпочтительно приблизительно 15% от общего количества абсорбирующего материала, при этом назначение частиц указанного суперабсорбента состоит в обеспечении абсорбции любой жидкости, вытекающей из абсорбирующего слоя 13. Таким образом, общая теоретическая абсорбционная емкость абсорбирующего тела составляет 350-400 г и предпочтительно приблизительно 370 г. Предохранительный слой 14 также имеет меньшую плотность по сравнению с абсорбирующим слоем 13, при этом более низкая плотность обеспечивает получение консистенции с большим количеством воздуха, что, в свою очередь, позволяет создать ощущение большей мягкости и, следовательно, повышенного комфорта.
На фиг.2b видно, что предохранительный слой 14 расположен над абсорбирующим слоем 13, при этом он находится в непосредственной близости от тела пользователя. На фигуре предохранительный слой 14 показан с немного меньшей протяженностью в поперечном направлении в зоне сечения по сравнению с абсорбирующим слоем 13. Тем не менее два слоя 13, 14 предпочтительно могут иметь одинаковую протяженность в поперечном направлении в указанной зоне. Одно преимущество варианта выполнения, показанного на фиг.2b, заключается в том, что предохранительный слой 14 при размещении его в данном положении образует слой, обеспечивающий эффективный прием жидкости и предназначенный для быстрого и осуществляемого без растекания перемещения жидкости в абсорбирующий слой 13. В этом случае выделенная жидкость скапливается в центральной зоне, благодаря чему последующее распространение жидкости будет ограничено уже на начальной стадии. В данном варианте осуществления в промежностной части 3 рядом с местом смачивания предохранительный слой 14 может иметь протяженность в поперечном направлении, равную протяженности абсорбирующего слоя 13 в этой зоне. Таким образом, предохранительное действие обеспечивается за счет того, что предохранительный слой за счет его протяженности может улавливать брызги, возникающие от сильной струи выделяемой мочи, при этом они не будут воздействовать на остальную часть материала подгузника-трусов. В данном варианте выполнения предохранительный слой 14 может выполнять ряд функций и может, например, представлять собой пористый принимающий жидкость слой, слой, обеспечивающий перемещение жидкости, мягкий прокладочный слой, барьерный слой, препятствующий повторному смачиванию, или маскирующий слой. Поскольку предохранительный слой 14 в данном варианте выполнения не служит для выполнения такой функции как абсорбирующий слой, предохранительный слой 14 не содержит частиц суперабсорбента, а состоит из материалов, характерных для принимающего жидкость слоя, соответственно имеющих большую пористость по сравнению с абсорбирующим слоем 13 и хорошую способность быстро принимать жидкость и “отдавать” жидкость в абсорбирующий слой 13. В данном варианте выполнения предохранительный слой 14 также может представлять собой промежуточный слой между жидкостью, которая была абсорбирована в абсорбирующем слое 13, и телом пользователя, за счет чего предотвращается повторное смачивание. Для обеспечения повышенного комфорта предпочтительно, если предохранительный слой 14 будет создавать приятное ощущение и ощущение мягкости. Материалами, подходящими для использования в предохранительном слое 14, могут быть полиэфирная вата, объемные нетканые материалы, различные типы ламината, сшитые целлюлозные волокна или т.п.
Абсорбирующий слой 13, расположенный рядом с наружным покрывающим слоем 12, может иметь тот же состав и такое же количество абсорбирующего материала, как и в первом варианте осуществления, описанном со ссылкой на фиг.2а. При отсутствии абсорбирующего предохранительного слоя 14 общая теоретическая абсорбционная емкость уменьшается до 240-280 г. В качестве средства, обеспечивающего защиту от утечек, в данном случае предусмотрен барьерный слой 19, расположенный между абсорбирующим слоем 13 и наружным покрывающим слоем 12, при этом указанный барьерный слой соответственно состоит из не проницаемой для жидкостей пластиковой пленки, слоя нетканого материала, который был покрыт не пропускающим жидкость материалом, или другого материала, который противодействует проникновению жидкостей. В альтернативном варианте наружный покрывающий слой 12 может быть покрыт не пропускающим жидкость материалом. Барьерный слой не всегда является необходимым, поскольку количество жидкости, выделяющееся при обычном опорожнении, не должно превышать заданной абсорбционной емкости подгузника-трусов, особенно в том случае, когда изделие предназначено для женщин, которые, как обычно предполагается, выделяют меньшее количество жидкости. В том случае, когда желателен более высокий уровень защиты, другой альтернативой является компенсация уменьшенной абсорбционной емкости за счет увеличения количества абсорбирующего материала в абсорбирующем слое 13 с тем, чтобы снова получить общую абсорбционную емкость, составляющую 350-400 г. В данном случае барьерные слои также могут представлять собой альтернативу в качестве средства повышения степени защиты от протечек.
На фиг.3 подгузник-трусы показан в его собранном виде, если смотреть в направлении передней части 1, при этом два продольных, изогнутых внутрь, боковых края 8, 9 образуют отверстия для ног и два концевых края 6, 7 образуют отверстие для талии. Два боковых края 4, 5, предназначенных для скрепления их вместе, в каждом случае соединены вместе, так что подгузник-трусы имеет форму трусов. Соединение вместе может быть осуществлено, например, посредством склеивания, сшивания или сварки путем использования тепла или ультразвука.
На фиг.4а показан вид сбоку устройства, которое известно как зажимное приспособление и на котором были выполнены экспериментальные замеры. Зажимное приспособление и насосное устройство были спроектированы и выполнены таким образом, что размеры, показанные на фиг.4а и указанные в миллиметрах, и указанный угол, составляющий 60°, по существу соответствуют обычным положениям, существующим между пользователем и подгузником-трусами, надетыми на пользователя. Зажимное приспособление выполнено с передней поверхностью 20, задней поверхностью 21 и промежностной зоной 22, на которых могут быть расположены соответствующие передняя часть 1, задняя часть 2 и промежностная часть 3 подгузника-трусов, то есть они будут расположены внутри зажимного приспособления. Промежностная зона 22 имеет две отбортованные кромки 23, 24, которые подняты над нижней пластиной 25 зажимного приспособления и той зоной нижней пластины 25, которая образована указанными краями 23, 24. Отбортованные кромки 23, 24 показаны на фиг.4b, где зажимное приспособление показано на виде сверху. Когда промежностная часть 3 подгузника-трусов будет размещена в промежностной зоне 22, промежностная часть 3 будет располагаться между отбортованными кромками 23, 24, при этом внутренние участки промежностной части будут находиться у той части нижней пластины 25, которая ограничена отбортованными кромками 23, 24. Насосное устройство подсоединено посредством трубки к соплу 26, из которого синтетическая моча нагнетается с такой скоростью и в таком количестве, которые соответствуют обычному опорожнению мочевого пузыря. Сопло 26 закреплено в зажимном приспособлении посредством держателя 27 в положении, при котором оно будет перпендикулярно изделию, когда последнее будет размещено в зажимном приспособлении. Держатель 27 закреплен в боковой части передней поверхности 20 зажимного приспособления и выполнен так, что он изогнут по существу перпендикулярно и проходит поперек передней поверхности 20. Как описано выше, держатель 27 удерживает сопло 26 в фиксированном положении над абсорбирующим изделием при измерении.
ОПИСАНИЕ ПРИМЕРА СПОСОБА
Нижеприведенный пример предназначен для того, чтобы более подробно проиллюстрировать эффект распространения жидкости в абсорбирующем подгузнике-трусах с абсорбирующим телом, включающим в себя комбинацию частично нейтрализованного материала со сверхвысокой абсорбционной способностью и целлюлозы с водородными показателем рН, составляющим 2,5-8,5, в сравнении с абсорбирующим телом, содержащим обычные материалы соответствующего вида.
Жидкость для испытаний
Жидкость для испытаний представляла собой окрашенную синтетическую мочу SUM. Состав синтетической мочи был следующим: 0,66 г/л MgSO4, 4,47 г/л KCl, 7,60 г/л NaCl, 18,00 г/л NH2CONH2, 3,54 г/л КН2PO4, 0,745 г/л Na2HPO4, 0,4 г/л Nykockin (краситель) и 1,00 г/л 0,1%-ного раствора Triton X-100. Водородный показатель рН этой смеси составлял 6,0±0,5.
Способ
Для выполнения измерений подгузник-трусы, который был собран, как на фиг.3, разделяли у скрепляющих боковых краев 4, 5, чтобы получить форму подгузника-трусов по фиг.1. Определяли положение центральной точки абсорбирующего тела и отмечали его. После этого определяли положение точки, которая известна как место смачивания и которая находится на расстоянии, составляющем семь сантиметров, от центральной точки в направлении в сторону передней части 1. Подгузник-трусы размещали в зажимном приспособлении с обеспечением выставления изделия таким образом, чтобы его центральная точка располагалась над соответствующей центральной точкой в промежностной зоне зажимного приспособления. При таком размещении точка смачивания, отмеченная на абсорбирующем теле, оказывалась расположенной непосредственно под соплом на расстоянии двух сантиметров от него. После этого синтетическую мочу нагнетали со скоростью 20 мл/с с объемом дозы, составляющим 150 мл, при этом считается, что данный объем соответствует нормальному выделению жидкости при опорожнении мочевого пузыря. Подгузник-трусы оставался в данном положении в зажимном приспособлении в течение пяти минут, так что обеспечивалась возможность распространения абсорбированной жидкости. После указанного периода времени подгузник-трусы извлекали из зажимного приспособления и отмечали контуры зоны распространения, которая была окрашена используемой при испытаниях мочой. Подгузник-трусы размещали в вытянутом положении на плоской поверхности, после чего прозрачную пленку определенной площади закрепляли сверху над указанными отмеченными линиями контура, охватывающими зону распространения. После этого контуры вычерчивали на прозрачной пленке, которую затем взвешивали для определения массы на единицу площади пленки. После этого обрезали пленку по отмеченным контурам, и оставшуюся часть, соответствующую зоне распространения жидкости, взвешивали для того, чтобы в конце получить значение площади исходя из определенной ранее массы на единицу площади. Измерения были проведены, с одной стороны, для десяти подгузников-трусов согласно настоящему изобретению и, с другой стороны, для десяти подгузников-трусов, содержащих обычное абсорбирующее тело. После этого для каждого типа подгузника-трусов были определены средние значения веса в граммах и площади распространения жидкости в квадратных сантиметрах.
Результаты измерений ясно показали, что подгузник-трусы согласно изобретению имел заметно более ограниченную зону распространения жидкости по сравнению с соответствующим обычным подгузником-трусами. Было установлено, что подгузник-трусы согласно изобретению со средним весом 62,62 грамма имел среднюю площадь распространения, составляющую 192,98 см2, в отличие от стандартного подгузника с весом 55,06 грамма и средней площадью зоны распространения, составляющей 240,01 см2. Это дает большую разницу, в среднем составляющую приблизительно 47 см2. В обоих сериях измерений имел место определенный разброс значений измеренных величин, который, возможно, приблизительно соответствует обычному расхождению между отдельными подгузниками-трусами. Тем не менее диапазоны площадей распространения жидкости, полученные в двух сериях измерений, не перекрывались, и наибольшая измеренная величина для подгузника-трусов согласно изобретению была существенно меньше наименьшей измеренной величины для подгузника-трусов обычного типа.
Формула изобретения
1. Абсорбирующий подгузник-трусы одноразового использования, имеющий продольное направление и поперечное направление, внутренний покрывающий слой (11), наружный покрывающий слой (12) и абсорбирующее тело (10), заключенное между двумя указанными покрывающими слоями (11, 12), и имеющее два концевых края (6, 7), проходящих в поперечном направлении с образованием отверстия для талии, и два боковых края (8, 9), проходящих в продольном направлении с образованием отверстий для ног, при этом подгузник-трусы также имеет переднюю часть (1) и заднюю часть (2), которые соединены промежуточной промежностной частью (3), отличающийся тем, что абсорбирующее тело (10) имеет такую конструкцию, что зона распространения жидкости в подгузнике-трусах ограничена и составляет менее 200 см2 в плоскости абсорбирующего тела (10) для количества жидкости, составляющего 150 мл, измеренного с помощью способа имитации пользователя, при котором используется измерительное приспособление, выполненное по существу в соответствии с анатомией пользователя.
2. Абсорбирующий подгузник-трусы одноразового использования по п.1, отличающийся тем, что абсорбирующее тело (10) содержит абсорбирующий слой (13) и предохранительный слой (14).
3. Абсорбирующий подгузник-трусы одноразового использования по п.2, отличающийся тем, что предохранительный слой (14) расположен под абсорбирующим слоем (13).
4. Абсорбирующий подгузник-трусы одноразового использования по п.2, отличающийся тем, что предохранительный слой (14) расположен над абсорбирующим слоем (13).
5. Абсорбирующий подгузник-трусы одноразового использования по пп.2, 3 или 4, отличающийся тем, что предохранительный слой (14) имеет меньшую плотность по сравнению с абсорбирующим слоем (13).
6. Абсорбирующий подгузник-трусы одноразового использования по п.2, отличающийся тем, что предохранительный слой (14) имеет меньшую гидрофильность по сравнению с абсорбирующим слоем (13).
7. Абсорбирующий подгузник-трусы одноразового использования по п.2, отличающийся тем, что предохранительный слой (13) имеет протяженность в продольном направлении подгузника-трусов, которая меньше, чем протяженность предохранительного слоя (14), и соответствует предпочтительно приблизительно 70%.
8. Абсорбирующий подгузник-трусы одноразового использования по п.2, отличающийся тем, что общая площадь абсорбирующего слоя (13) не превышает площади, составляющей 195-235 см2, и предпочтительно составляет не более 210-220 см2.
9. Абсорбирующий подгузник-трусы одноразового использования по п.2, отличающийся тем, что абсорбирующий слой (13) содержит абсорбирующий жидкость материал с большой удерживающей способностью, но с малой распределительной способностью.
10. Абсорбирующий подгузник-трусы одноразового использования по п.2, отличающийся тем, что материал абсорбирующего слоя (13) включает в себя химико-термомеханическую целлюлозную массу с водородным показателем рН, составляющим 2,5-8,5, предпочтительно 2,5-6,5 и наиболее предпочтительно 2,5-5,5.
11. Абсорбирующий подгузник-трусы одноразового использования по п.2, отличающийся тем, что материал абсорбирующего слоя (13) включает в себя целлюлозу с водородным показателем рН, составляющим 2,5-8,5, предпочтительно 2,5-8,0 и наиболее предпочтительно 2,5-7,0.
12. Абсорбирующий подгузник-трусы одноразового использования по п.1, отличающийся тем, что абсорбирующее тело (10) имеет общую абсорбционную емкость, составляющую 350-400 г, предпочтительно приблизительно 370 г.
13. Абсорбирующий подгузник-трусы одноразового использования по п.1, отличающийся тем, что абсорбирующий жидкость материал содержит материал со сверхвысокой абсорбционной способностью.
14. Абсорбирующий подгузник-трусы одноразового использования по п.13, отличающийся тем, что вес материала со сверхвысокой абсорбционной способностью составляет 30-70%, предпочтительно 45-55% и наиболее предпочтительно приблизительно 50% от веса материала абсорбирующего тела (10).
15. Абсорбирующий подгузник-трусы одноразового использования по п.13, отличающийся тем, что материал со сверхвысокой абсорбционной способностью состоит из частиц с размером не менее приблизительно 100 мкм и не более приблизительно 1000 мкм и даже более предпочтительно – из частиц, из которых приблизительно 60-65 вес.% частиц имеют размеры в диапазоне приблизительно от 106 до 500 мкм и 40-35 вес.% частиц имеют размеры в диапазоне от приблизительно 500 до 850 мкм.
16. Абсорбирующий подгузник-трусы одноразового использования по п.13, отличающийся тем, что материал со сверхвысокой абсорбционной способностью включает в себя нейтрализованные частицы суперабсорбента со степенью нейтрализации, превышающей приблизительно 20%, но составляющей менее 45% и предпочтительно менее 35%.
17. Абсорбирующий подгузник-трусы одноразового использования по п.1, отличающийся тем, что не проницаемый для жидкостей барьерный слой (19) расположен под абсорбирующим телом (10) рядом с наружным покрывающим слоем (12).
РИСУНКИ
|
|