|
|
(21), (22) Заявка: 2004109578/14, 22.08.2002
(24) Дата начала отсчета срока действия патента:
22.08.2002
(30) Конвенционный приоритет:
31.08.2001 SE 0102897-6
(43) Дата публикации заявки: 20.03.2005
(46) Опубликовано: 10.04.2007
(56) Список документов, цитированных в отчете о поиске:
WO 96/20670 А1, 11.07.1996. JP 10234775 А, 10.09.1998. SE 345378 В, 29.05.1972. SE 432348 А, 02.04.1984. ЕР 0857050 А, 08.12.1998. RU 2089151 С1, 10.09.1997. RU 2126672 C1, 27.02.1999. RU 2085165 C1, 27.07.1997.
(85) Дата перевода заявки PCT на национальную фазу:
31.03.2004
(86) Заявка PCT:
SE 02/01494 (22.08.2002)
(87) Публикация PCT:
WO 03/017900 (06.03.2003)
Адрес для переписки:
129010, Москва, ул. Б.Спасская, 25, стр.3, ООО “Юридическая фирма Городисский и Партнеры”, пат.пов. Ю.Д.Кузнецову, рег.№ 595
|
(72) Автор(ы):
ВАРТИАИНЕН Кент (SE)
(73) Патентообладатель(и):
СКА ХАЙДЖИН ПРОДАКТС АБ (SE)
|
(54) АБСОРБИРУЮЩЕЕ ИЗДЕЛИЕ, ИМЕЮЩЕЕ ОТВЕРСТИЯ В АБСОРБИРУЮЩЕМ ТЕЛЕ
(57) Реферат:
Настоящее изобретение относится к области медицины и может быть применено как абсорбирующее изделие, например подгузник или прокладка, используемая при недержании. Абсорбирующее изделие содержит пропускающий жидкости слой, не проницаемый для жидкостей поверхностный слой и первое абсорбирующее тело, расположенное между поверхностными слоями и проходящее в продольном направлении и в поперечном направлении вдоль поверхностных слоев, а также в направлении по толщине от пропускающего жидкости поверхностного слоя к не проницаемому для жидкостей поверхностному слою. Указанное первое абсорбирующее тело имеет отверстия, которые проходят в направлении по толщине. Вторая абсорбирующая структура расположена с той стороны первого абсорбирующего тела, которая обращена от пропускающего жидкости поверхностного слоя. В соответствии с изобретением пропускающий жидкости поверхностный слой прикреплен ко второй абсорбирующей структуре посредством отверстий. Технический результат – улучшение способности изделия справляться с мочой и более вязкими жидкостями, обеспечивая при этом более сухую поверхность контакта с кожей в процессе. 9 з.п. ф-лы, 2 ил.
ОБЛАСТЬ ТЕХНИКИ, К КОТОРОЙ ОТНОСИТСЯ ИЗОБРЕТЕНИЕ
Настоящее изобретение относится к абсорбирующему изделию, такому как подгузник или прокладка, используемая при недержании, содержащему пропускающий жидкости поверхностный слой, не проницаемый для жидкостей поверхностный слой и первое абсорбирующее тело, расположенное между поверхностными слоями. Первое абсорбирующее тело проходит в продольном направлении и в поперечном направлении вдоль поверхностных слоев, а также в направлении по толщине от пропускающего жидкости поверхностного слоя к не проницаемому для жидкостей поверхностному слою, при этом первое абсорбирующее тело имеет отверстия, которые проходят в направлении по толщине.
ИЗВЕСТНЫЙ УРОВЕНЬ ТЕХНИКИ
В патенте США 5846231 описано абсорбирующее изделие, содержащее пропускающий жидкости поверхностный слой, прикрепленный к не проницаемому для жидкостей поверхностному слою посредством отверстий в виде вырезов в абсорбирующем теле. Для обеспечения лучшего распределения по изделию вырезы расположены с промежутками также в продольном направлении в дополнение к их расположению в поперечном направлении, как было известно ранее. Тем не менее, для обеспечения эффективного распределения и возможности справляться с большими количествами мочи, а также более вязких жидкостей, таких как жидкие испражнения, это решение является неподходящим.
В документе WO 99/25291 описано абсорбирующее изделие, содержащее принимающее средство, предназначенное для размещения его рядом с анальным отверстием и имеющее заданное эффективное отверстие, а также расположенное над удерживающим слоем, предназначенным для более вязких жидкостей, таких как жидкие испражнения. Пропускающий жидкости поверхностный слой может быть выполнен с отверстиями. Однако это решение не подходит для обеспечения эффективного распределения и удерживания как мочи, так и испражнений.
В документе WO 96/20670 описано абсорбирующее изделие, содержащее абсорбирующее тело, имеющее принимающие зоны, которые могут быть выполнены в виде отверстий, проходящих сквозь абсорбирующее тело. Зоны в абсорбирующем теле, примыкающие к принимающим зонам, состоят из материала, толщина которого при его смачивании увеличивается в направлении толщины изделия, перпендикулярном к принимающей поверхности изделия. Принимающие зоны расположены между находящимся над ними слоем и находящимся под ними слоем.
ЗАДАЧА И ОСНОВНЫЕ ПРИЗНАКИ ИЗОБРЕТЕНИЯ
Одна задача настоящего изобретения заключается в создании абсорбирующего изделия с улучшенной способностью справляться как с мочой, так и с более вязкими жидкостями, такими как жидкие испражнения. Другая задача настоящего изобретения заключается в обеспечении наличия более сухой поверхности контакта с кожей, когда на изделие попадают моча и более вязкие жидкости.
В соответствии с изобретением было получено абсорбирующее изделие указанного во введении типа. Абсорбирующее изделие согласно изобретению отличается главным образом тем, что вторая абсорбирующая структура расположена с той стороны первого абсорбирующего тела, которая обращена от пропускающего жидкости поверхностного слоя, и тем, что пропускающий жидкости поверхностный слой прикреплен ко второй абсорбирующей структуре посредством отверстий.
Термин “прикрепленный к” означает, что материалы соединены друг с другом непосредственно, или непрямым образом посредством промежуточного материала. Соединение может иметь вид соединения, образованного, например, путем ультразвуковой сварки, термосварки или с помощью клея.
Пропускающий жидкости поверхностный слой может состоять из любого известного материала, предназначенного для обеспечения возможности прохода жидкости через него в расположенный под ним слой. Примерами таких материалов являются нетканый материал, перфорированная пластиковая пленка, перфорированные гидрофобные материалы, сетка. Поверхностный слой может также состоять из ламината из двух или более слоев одного и того же материала или разных материалов.
В соответствии с вариантом осуществления изобретения пропускающий жидкости поверхностный слой не прикреплен к первому абсорбирующему телу. Пропускающий жидкости поверхностный слой в современных известных абсорбирующих изделиях обычно прикреплен к расположенной под ним абсорбирующей структуре посредством клея. Это выполняется, среди прочего, для того, чтобы абсорбирующая структура не смещалась и не образовывала комков. При креплении пропускающего жидкости поверхностного слоя ко второму абсорбирующему телу отсутствует необходимость приклеивать пропускающий жидкости поверхностный слой к первой абсорбирующей структуре. Таким образом, можно устранить такие проблемы, как проход клея насквозь вследствие нанесения слишком большого количества клея на изделие в процессе изготовления и обусловленные этим раздражения кожи или ограниченная способность пропускать жидкости, поскольку поры в пропускающем жидкости поверхностном слое забиты клеем. Также можно снизить остроту других проблем, таких как остановки во время изготовления изделия, обусловленные наличием клея в машинах, и пониженная абсорбционная способность в результате закупоривания клеем пор в абсорбирующем теле. В предпочтительном случае существует возможность использования тонких пропускающих жидкости поверхностных слоев без забитых пор поверхностного слоя или клея, проникающего в материал, в результате чего может быть достигнута лучшая проницаемость. Таким образом, пропускающий жидкости поверхностный слой может иметь максимальную массу на единицу площади, составляющую 20 г/м2.
В соответствии с вариантом осуществления слой, обеспечивающий перемещение жидкостей, расположен между пропускающим жидкости, поверхностным слоем и первым абсорбирующим телом. В данном варианте осуществления слой, обеспечивающий перемещение жидкостей, также прикреплен ко второй абсорбирующей структуре посредством сквозных отверстий в первом абсорбирующем теле. Пропускающий жидкости поверхностный слой прикреплен не непосредственно ко второй абсорбирующей структуре, а посредством слоя, обеспечивающего перемещение жидкостей и расположенного между поверхностным слоем и второй абсорбирующей структурой.
В соответствии с вариантом осуществления вторая абсорбирующая структура содержит проницаемый для жидкостей слой, расположенный с принимающей жидкости стороны структуры, к которому прикреплен пропускающий жидкости поверхностный слой. Проницаемый для жидкостей слой может состоять из любого известного материала, предназначенного для обеспечения возможности прохода жидкости через него в соседний слой. Примерами таких материалов являются нетканый материал, перфорированная пластиковая пленка, перфорированные гидрофобные материалы, сетка. Слой также может состоять из ламината из двух или более слоев одного и того же материала или различных материалов. Поскольку данный слой не находится в непосредственном контакте с кожей, он может также предпочтительно состоять из гидрофильного материала или гидрофобного материала, которому приданы гидрофильные свойства, и, таким образом, он обеспечивает возможность быстрого прохода жидкости в расположенные под ним слои. Примерами пригодных гидрофильных материалов являются гидратцеллюлозное волокно или хлопок. Примерами способов придания гидрофильных свойств гидрофобным материалам являются обработка материала смачивающим веществом, пламенная обработка, обработка в коронном разряде или плазменная обработка. Вторая абсорбирующая структура может состоять из проницаемого для жидкостей слоя.
Проницаемый для жидкостей слой не обязательно должен быть прикреплен к расположенным под ним слоям, например, таким как любые другие части абсорбирующей структуры, или к расположенной под ним третьей абсорбирующей структуре или, альтернативно, к не проницаемому для жидкостей поверхностному слою в вариантах осуществления, в которых вторая абсорбирующая структура состоит только из проницаемого для жидкостей слоя. За счет того, что проницаемый для жидкостей слой не прикреплен к расположенному под ним слою, получают гибкую зону между проницаемым для жидкостей слоем и расположенным под ним слоем. В этом случае пропускающий жидкости поверхностный слой и проницаемый для жидкостей слой могут предпочтительно иметь отверстия, которые расположены у сквозных отверстий в абсорбирующем теле. Таким образом, испражнения и моча могут скапливаться в гибкой зоне между проницаемым для жидкостей слоем и расположенным под ним слоем после прохода через отверстия в пропускающем жидкости, поверхностном слое и в проницаемом для жидкостей слое и отверстия в абсорбирующем теле.
Термин “расположенный под ним слой” в вышеприведенном абзаце означает, что слой расположен с той стороны проницаемого для жидкостей слоя, которая обращена от носителя во время использования.
В данной связи термин “неприкрепленный” означает, что материалы не были преднамеренно присоединены друг к другу во время изготовления. Тем не менее, первое абсорбирующее тело в зоне, ближайшей к месту присоединения пропускающего жидкости, поверхностного слоя ко второй абсорбирующей структуре, может быть присоединено или к пропускающему жидкости поверхностному слою, или ко второй абсорбирующей структуре, или к обоим этим элементам. Материалы могут быть соединены друг с другом вдоль поперечных и/или продольных боковых краев.
Пропускающий жидкости поверхностный слой может иметь гидрофобные зоны между отверстиями. В этом случае моча и испражнения могут быстро проходить в отверстия для того, чтобы они скапливались там перед дальнейшим распределением по абсорбирующим структурам и телам. Таким образом, пропускающий жидкости поверхностный слой может обеспечить ощущение большей сухости в процессе использования. Пропускающий жидкости поверхностный слой может состоять из перфорированного гидрофобного материала, или поверхностный слой может быть подвергнут химической обработке для получения разделенной на зоны гидрофобной поверхности таким образом, как известно из предшествующего уровня техники.
КРАТКОЕ ОПИСАНИЕ ФИГУР
Изобретение будет описано ниже более подробно со ссылкой на фигуры, на которых:
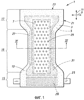
фиг.1 – вид в плане подгузника согласно варианту осуществления настоящего изобретения,
фиг.2а – поперечное сечение подгузника по фиг.1, выполненное по линии II-II, согласно первому варианту осуществления,
фиг.2b – поперечное сечение подгузника по фиг.1, выполненное по линии II-II, согласно второму варианту осуществления,
фиг.2с – поперечное сечение подгузника по фиг.1, выполненное по линии II-II, согласно третьему варианту осуществления,
фиг.2d – поперечное сечение подгузника по фиг.1, выполненное по линии II-II, согласно четвертому варианту осуществления,
фиг.2е – поперечное сечение подгузника по фиг.1, выполненное по линии II-II, согласно пятому варианту осуществления, и
фиг.2f – поперечное сечение подгузника по фиг.1, выполненное по линии II-II, согласно шестому варианту осуществления.
СПОСОБЫ РЕАЛИЗАЦИИ ИЗОБРЕТЕНИЯ
Подгузник 1, показанный на фиг.1 и 2, содержит пропускающий жидкости поверхностный слой 3, не проницаемый для жидкостей поверхностный слой 5, а также первое абсорбирующее тело 7, расположенное между поверхностными слоями 3, 5. Подгузник имеет поперечное направление 9 и продольное направление 11 в плоскости. Подгузник также имеет направление 10 по толщине, проходящее перпендикулярно к продольному и поперечному направлению.
Два поверхностных слоя простираются наружу по отношению к первому абсорбирующему телу 7 в поперечном направлении 9 и в продольном направлении 11 и соединены друг с другом в зоне выступающих частей 13, например, с помощью клея или термосварки, или в альтернативном варианте с помощью ультразвуковой сварки.
Пропускающий жидкости поверхностный слой 3 может состоять из любого известного материала, предназначенного для обеспечения возможности прохода жидкости через него в расположенный под ним слой. Примерами таких материалов являются нетканый материал, перфорированная пластиковая пленка, перфорированные гидрофобные материалы, сетка. Поверхностный слой может также состоять из ламината из двух или более слоев одного и того же материала или разных материалов. Пропускающий жидкости поверхностный слой может состоять из поддающегося растягиванию материала, или поддающегося упругому растягиванию, или поддающегося неупругому растягиванию.
Не проницаемый для жидкостей поверхностный слой 5 может состоять из любого материала, пригодного для того, чтобы противодействовать проникновению жидкости. Примерами таких материалов являются пластиковые пленки, ламинаты из ряда слоев нетканого материала и/или пластиковой пленки и аналогичных материалов. Предпочтительно, если материал обеспечивает возможность пропускания водяного пара и тем самым обладает воздухопроницаемостью.
Подгузник 1 имеет удлиненную форму с задней частью 15, предназначенной для размещения ее рядом с телом пользователя сзади во время использования, передней частью 17, предназначенной для размещения ее рядом с телом пользователя спереди во время использования, и промежностной частью 19, расположенной между передней частью 17 и задней частью 15. Промежностная часть 19, расположенная между передней частью 17 и задней частью 15, выполнена более узкой по сравнению с задней частью 15 и передней частью 17, при этом подгузник 1 имеет форму песочных часов. Подгузник также имеет продольные боковые края 21 и поперечные концевые края 23. На задней части 15 подгузник имеет скрепляющее средство 25, расположенное вдоль каждого продольного бокового края 21 и предназначенное для крепления к принимающей зоне, расположенной на той стороне передней части 17, которая обращена наружу во время использования подгузника. Такие скрепляющие средства 25 ранее известны и могут представлять собой, например, клейкие скрепляющие средства, например, такие как липкая лента, или механические скрепляющие средства, например, такие как застежки, функционирующие по принципу “дотронься и закрой” (“липучки”). Принимающая зона для клейкого скрепляющего средства может быть усилена пластиковой пленкой, а принимающая зона для механического скрепляющего средства может представлять собой поверхность, к которой механическое скрепляющее средство может прикрепляться, например, такую как поверхность застежек типа “дотронься и закрой” или нетканый материал.
Конструкцию подгузника, описанного выше и показанного на чертежах, не следует рассматривать как ограничивающую изобретение. В пределах объема изобретения отсутствует необходимость, например, того, чтобы абсорбирующее изделие было выполнено со скрепляющими средствами. Изделие, имеющее закрытые боковые части, например, такое как подгузник-трусы, также представляет собой возможный вариант осуществления изобретения. Абсорбирующие вставки, предназначенные для применения в не проницаемых для жидкостей покрытиях, также представляют собой возможные варианты осуществления изобретения. Само собой разумеется, конструкцию также не следует рассматривать как ограниченную показанной формой песочных часов. Подгузник 1 также имеет продольные эластичные средства 27, прикрепленные в предварительно растянутом состоянии вдоль каждого продольного бокового края 21. Эти эластичные средства 27 предназначены для обеспечения плотного прилегания к ногам пользователя во время использования и тем самым обеспечивают лучшую защиту от утечек жидкостей из подгузника. Подгузник 1 имеет поперечное эластичное средство 28, проходящее вдоль концевого края 23 на задней части 15 и прикрепленное к подгузнику в предварительно растянутом состоянии. Это поперечное эластичное средство 28 образует резинку для пояса. Наличие эластичных средств в абсорбирующем изделии не является обязательным для изобретения.
Первое абсорбирующее тело может содержать один или несколько слоев из одного и того же абсорбирующего материала или из разных абсорбирующих материалов.
Первое абсорбирующее тело предпочтительно выполнено с возможностью приема и перемещения жидкости. В этом случае оно может содержать слой материала, который имеет большие поры или капилляры с тем, чтобы создавать малое сопротивление потоку жидкости, проходящему через тело. Этот слой соответственно состоит из мягкого материала, который создает приятное ощущение при размещении его у тела пользователя в процессе использования. Примерами материалов, которые могут быть использованы, являются слои целлюлозы с малой степенью сжатия, в частности, образованные из древесной массы, термомеханической целлюлозы или химико-термомеханической древесной массы, или волокнистые маты и вата, изготовленные из натуральных или синтетических волокон других типов. Также существует возможность использования мягких перфорированных или открытопористых материалов, например, таких как вспененный материал.
Первое абсорбирующее тело также может содержать определенное количество полимеров с высокой абсорбционной способностью, которые известны как суперабсорбенты, в виде волокон, частиц, гранул, пленки. Эти суперабсорбенты отличаются большой способностью связывать жидкость в количестве, в несколько раз превышающем их собственный вес.
Первое абсорбирующее тело также может содержать материал, который существенно расширяется в направлении по толщине при смачивании. Изготовление такого соответствующего материала описано в документе WO 94/10956. Отличительным признаком этого материала является то, что его получают с помощью сухого способа формования целлюлозных волокон, высушенных посредством аэрофонтанной сушки, для образования холста с массой на единицу площади от 30 до 2000 г/м2, который спрессовывают до плотности от 0,2 до 1 г/м3, и что холст включают в качестве абсорбирующей структуры в абсорбирующее изделие без последующего разделения на волокна и образования измельченной целлюлозы. Другим примером является вспушенная измельченная целлюлоза, в которую вмешано определенное количество суперабсорбента, предпочтительно в количестве, соответствующем не менее 10 мас.%. Примерами других материалов, которые могут расширяться в направлении по толщине, являются спрессованные вспененные материалы и волокнистые набивки, которые частично возвращаются к своему размеру в неспрессованном состоянии при их смачивании. Пропускающий жидкости поверхностный слой предпочтительно состоит из поддающегося растягиванию материала, поскольку первое абсорбирующее тело содержит материал, способный расширяться.
Первое абсорбирующее тело 7 имеет некоторое количество отверстий 29 в виде скругленных отверстий. Эти отверстия проходят через первое абсорбирующее тело 7 в направлении 10 по толщине от той стороны абсорбирующего тела, которая обращена к пользователю в процессе использования изделия, к той стороне абсорбирующего тела, которая обращена от пользователя в процессе использования изделия. Форма отверстий не имеет решающего значения, но отверстия должны быть достаточно большими для обеспечения возможности приема испражнений. Отверстия 29 также могут быть выполнены в виде вырезов в абсорбирующем теле.
Отверстия 29 могут быть расположены по существу по всей протяженности первого абсорбирующего тела 7, как на фиг.1. Однако это не является обязательным для изобретения. Вместо этого отверстия могут быть расположены, например, в пределах одной или нескольких зон абсорбирующего тела, например, в пределах передней части, задней части, промежностной части или участков этих частей. Отверстия также не обязательно должны иметь одинаковый размер. Например, отверстия в передней части и в задней части могут иметь больший размер по сравнению с отверстиями в промежностной части или наоборот. Отверстия в задней части могут иметь больший размер по сравнению с отверстиями в передней части или наоборот. Отверстия в некоторой зоне также могут иметь разный размер. Количество отверстий предпочтительно составляет по меньшей мере три, предпочтительно больше, но в качестве возможных вариантов осуществления изобретения также рассматриваются варианты, в которых имеется только одно или два отверстия.
В соответствии с изобретением подгузник 1 содержит вторую абсорбирующую структуру 31, расположенную между первым абсорбирующим телом 7 и не проницаемым для жидкостей поверхностным слоем 5.
Пропускающий жидкости поверхностный слой 3 прикреплен ко второй абсорбирующей структуре 31 посредством, например, ультразвука в зонах, которые образованы сквозными отверстиями 29 в первом абсорбирующем теле 7. Термосварка или склеивание представляют собой примеры других возможных способов крепления пропускающего жидкости, поверхностного слоя ко второму абсорбирующему телу 31.
Отсутствует необходимость в том, чтобы первое абсорбирующее тело было прикреплено к второй абсорбирующей структуре каким-либо иным способом помимо соединения, образованного за счет крепления пропускающего жидкости, поверхностного слоя к второй абсорбирующей структуре в сквозных отверстиях в первом абсорбирующем теле, в результате чего первое абсорбирующее тело удерживается на месте между пропускающим жидкости поверхностным слоем и второй абсорбирующей структурой. В этом случае отверстия образуют “гибкую” зону для приема испражнений, поскольку данные отверстия обладают способностью расширяться в поперечном, продольном направлении и/или в направлении подгузника по толщине, поскольку первое абсорбирующее тело не прикреплено к соседним слоям в зонах между отверстиями, в результате чего их структура приобретает некоторую гибкость/подвижность.
Вторая абсорбирующая структура может содержать проницаемый для жидкостей слой и/или один или несколько слоев из одного и того же абсорбирующего материала или разных абсорбирующих материалов.
Вторая абсорбирующая структура предпочтительно может служить в качестве слоя, обеспечивающего распределение, и удерживающего слоя и соответственно содержит материал, имеющий высокую плотность и большую способность распределять жидкость и удерживать жидкость. Примером пригодного материала является вспушенная измельченная целлюлоза с массой на единицу площади, составляющей приблизительно 400 г/м2. Волокнистый слой сухого способа формования, упомянутый выше и описанный в документе WO 94/10956, также может быть использован в предпочтительном варианте. Слой, обеспечивающий распределение жидкостей, может быть образован с зонами уплотнения с тем, чтобы направлять перемещение жидкости вдоль зон уплотнения.
Вторая абсорбирующая структура 31 может содержать материал с открытой структурой, который имеет большие поры или капилляры с тем, чтобы создавать малое сопротивление потоку жидкости, проходящему через тело. Примерами материалов, которые могут быть использованы, являются слои целлюлозы с малой степенью сжатия или волокнистые маты и вата, изготовленные из натуральных или синтетических волокон других типов. Также существует возможность использования мягких перфорированных или открытопористых материалов. Также могут быть использованы складчатые материалы, материалы с волнистой поверхностью или материалы, которым придана открытая структура другим способом.
Вторая абсорбирующая структура предпочтительно также может содержать суперабсорбент в каком-либо виде. Соответствующее содержание суперабсорбента может составлять по меньшей мере 10 мас.%, предпочтительно 10-60 мас.%.
Вторая абсорбирующая структура может содержать проницаемый для жидкостей слой. Этот слой может состоять из любого известного материала, пригодного для данной цели. Примерами таких материалов являются нетканые материалы, перфорированные пластиковые пленки, сетка. Слой может быть образован из гидрофильного материала, например, такого как обработанный в коронном разряде нетканый материал или гидратцеллюлозное вискозное волокно.
Показанный на фиг.2а вариант осуществления поперечного сечения подгузника по фиг.1, выполненного вдоль линии II-II, содержит первое абсорбирующее тело 7, содержащее слой, который имеет большие поры или капилляры с тем, чтобы создавать малое сопротивление потоку жидкости, проходящему через тело. Этот слой соответственно состоит из мягкого материала, который создает приятное ощущение при размещении его у тела пользователя в процессе использования. Примерами материалов, которые могут быть использованы, являются слои целлюлозы с малой степенью сжатия, в частности, образованные из древесной массы, термомеханической целлюлозы или химико-термомеханической древесной массы, или волокнистые маты и вата, изготовленные из натуральных или синтетических волокон других типов. Также существует возможность использования мягких перфорированных или открытопористых вспененных материалов. Пропускающий жидкости поверхностный слой 3, который в процессе использования расположен с той стороны первого абсорбирующего тела 7, которая обращена к пользователю подгузника во время использования, прикреплен ко второй абсорбирующей структуре 31, расположенной с той стороны первого абсорбирующего тела 7, которая обращена от пользователя во время использования, посредством сквозных отверстий 29 в первом абсорбирующем теле. Эти отверстия 29 проходят через первое абсорбирующее тело 7 в направлении 10 по толщине от той стороны первого абсорбирующего тела 7, которая обращена к пользователю во время использования изделия, к той стороне абсорбирующего тела, которая обращена от пользователя во время использования изделия.
Вторая абсорбирующая структура 31 содержит, например, слой, обеспечивающий распределение/удерживающий слой, изготовленный из материала, имеющего высокую плотность и большую способность распределять жидкость и удерживать жидкость. Примером пригодного материала является вспушенная измельченная целлюлоза с массой на единицу площади, составляющей приблизительно 400 г/м2. Также предпочтительно может быть использован волокнистый слой сухого способа формования, упомянутый выше и описанный в документе WO 94/10956. Вторая абсорбирующая структура предпочтительно также содержит суперабсорбенты в количестве 10-60 мас.%.
Пропускающий жидкости поверхностный слой в показанном на фиг.2b варианте осуществления поперечного сечения подгузника по фиг.1, выполненного по линии II-II, имеет отверстия 32 у сквозных отверстий 29 в первом абсорбирующем теле 7. Отверстия 32 на фиг.2b расположены прямо над сквозными отверстиями в первом абсорбирующем теле. Эти отверстия могут быть образованы при выполнении операции соединения вместе пропускающего жидкости поверхностного слоя и второй абсорбирующей структуры, например, в процессе сварки, или может быть использован предварительно перфорированный пропускающий жидкости поверхностный слой. Сквозные отверстия в пропускающем жидкости поверхностном слое не обязательно должны быть расположены прямо над сквозными отверстиями в первом абсорбирующем теле, но отверстия в пропускающем жидкости, поверхностном слое должны быть расположены у отверстий в первом абсорбирующем теле таким образом, чтобы обеспечивалась возможность прохода мочи/или испражнений через отверстия в пропускающем жидкости, поверхностном слое после скапливания их в отверстиях в первом абсорбирующем теле. Отверстия могут быть расположены, например, так, что они будут направлены к первому абсорбирующему телу.
Отверстия 32 и отверстия 29 предпочтительно выполнены достаточно большими для обеспечения возможности прохода испражнений через них.
Вторая абсорбирующая структура 31, показанная на фиг.2b, соответственно содержит с той стороны структуры, которая обращена к первому абсорбирующему телу, слой материала, который имеет большие поры или капилляры с тем, чтобы создавать малое сопротивление потоку жидкости, проходящему через тело. Слой предпочтительно имеет открытую структуру, пригодную для приема испражнений. Примерами материалов, которые могут быть использованы, являются слои целлюлозы с малой степенью сжатия или волокнистые маты и вата, изготовленные из натуральных или синтетических волокон других типов. Также существует возможность использования мягких перфорированных или открытопористых материалов. Также могут быть использованы складчатые материалы, материалы с волнистой поверхностью или материалы, которым придана открытая структура другим способом.
Первое абсорбирующее тело 7 в показанном на фиг.2с варианте осуществления поперечного сечения подгузника по фиг.1, выполненного по линии II-II, содержит первый слой 7′ из материала, который имеет большие поры или капилляры с тем, чтобы создавать малое сопротивление потоку жидкости, проходящему через тело. Этот первый слой 7′ соответственно состоит из мягкого материала, который создает приятное ощущение при размещении его у тела пользователя в процессе использования. Этот первый слой 7′ расположен рядом с пропускающим жидкости поверхностным слоем 3. Первое абсорбирующее тело 7 также содержит второй абсорбирующий слой 7″, который является более открытым или пористым по сравнению с первым слоем 7′ и состоит из материала, который имеет большие поры или капилляры с тем, чтобы создавать малое сопротивление потоку жидкости, проходящему через слой. Примерами материалов, которые могут быть использованы, являются слои целлюлозы с малой степенью сжатия или волокнистые маты и вата, изготовленные из натуральных или синтетических волокон других типов. Также существует возможность использования мягких перфорированных или открытопористых материалов. Также могут быть использованы складчатые материалы, материалы с волнистой поверхностью или материалы, которым придана открытая структура другим способом.
Пропускающий жидкости поверхностный слой 3, который в процессе использования расположен с той стороны первого абсорбирующего тела 7, которая обращена к пользователю подгузника во время использования, прикреплен ко второй абсорбирующей структуре 31, расположенной с той стороны первого абсорбирующего тела 7, которая обращена от пользователя во время использования, посредством сквозных отверстий 29 в первом абсорбирующем теле. Эти отверстия 29 проходят через первое абсорбирующее тело 7 в направлении 10 по толщине от той стороны первого абсорбирующего тела 7, которая обращена к пользователю во время использования изделия, к той стороне абсорбирующего тела, которая обращена от пользователя во время использования изделия.
Вторая абсорбирующая структура 31, показанная на фиг.2с, состоит, например, из первого слоя 31′ из гидрофильного нетканого материала с хорошей способностью приема жидкостей, обращенного к первому абсорбирующему телу 7, и из второго слоя 31″ из материала, имеющего высокую плотность и большую способность распределять жидкость и удерживать жидкость и обращенного в сторону от первого абсорбирующего тела. Примером пригодного материала является вспушенная измельченная целлюлоза с массой на единицу площади, составляющей приблизительно 400 г/м2. Также предпочтительно может быть использован волокнистый слой сухого способа формования, упомянутый выше и описанный в документе WO 94/10956. Абсорбирующая структура может предпочтительно содержать суперабсорбенты в количестве 10-60 мас.%.
На фиг.2d показано, что пропускающий жидкости поверхностный слой 3 прикреплен ко второй абсорбирующей структуре 31, выполненной в виде проницаемого для жидкостей слоя, расположенного с той стороны первого абсорбирующего тела 7, которая обращена в сторону от пользователя в процессе использования, посредством сквозных отверстий 29 в абсорбирующем теле. Эти отверстия 29 проходят через первое абсорбирующее тело 7 в направлении 10 по толщине от той стороны первого абсорбирующего тела 7, которая обращена к пользователю во время использования изделия, к той стороне абсорбирующего тела, которая обращена от пользователя во время использования изделия. В зонах сквозных отверстий 32 в пропускающем жидкости поверхностном слое поверхностный слой прикреплен к проницаемому для жидкостей слою у сквозных отверстий 34 в слое, при этом указанные отверстия 32, 34 расположены у сквозных отверстий 29 в первом абсорбирующем теле, так что моча и/или испражнения могут проходить через отверстия 29 и отверстия 32, 34.
Третья абсорбирующая структура 35 расположена с той стороны второй абсорбирующей структуры, которая обращена в сторону от пользователя во время использования. Третья абсорбирующая структура 35, показанная на фиг.2d, содержит, например, слой материала, который имеет большие поры или капилляры с тем, чтобы создавать малое сопротивление потоку жидкости, проходящему через тело. Слой предпочтительно имеет открытую структуру, пригодную для приема испражнений. Примерами материалов, которые могут быть использованы, являются слои целлюлозы с малой степенью сжатия или волокнистые маты и вата, изготовленные из натуральных или синтетических волокон других типов. Также существует возможность использования мягких перфорированных или открытопористых материалов. Также могут быть использованы складчатые материалы, материалы с волнистой поверхностью или материалы, которым придана открытая структура другим способом.
Третья абсорбирующая структура 35 может содержать материал, имеющий высокую плотность и большую способность распределять жидкость и удерживать жидкость. Примером пригодного материала является вспушенная измельченная целлюлоза с массой на единицу площади, составляющей приблизительно 400 г/м2. Также предпочтительно может быть использован волокнистый слой сухого способа формования, упомянутый выше и описанный в документе WO 94/10956. Третья абсорбирующая структура также может содержать суперабсорбенты, предпочтительно в количестве 10-60 мас.%.
Вторая абсорбирующая структура 31, показанная на фиг.2d, не прикреплена к третьей абсорбирующей структуре 35, при этом между второй абсорбирующей структурой и третьей абсорбирующей структурой образуется пространство 37, предназначенное для приема испражнений после того, как испражнения пройдут через сквозные отверстия в слоях и в первом абсорбирующем теле.
Показанный на фиг.2е вариант осуществления поперечного сечения подгузника по фиг.1, выполненного вдоль линии II-II, содержит слой 40, обеспечивающий перемещение жидкостей и расположенный между пропускающим жидкости поверхностным слоем 3 и первым абсорбирующим телом 7. На фиг.2е видно, что оба слоя, а именно пропускающий жидкости поверхностный слой 3 и слой 40, обеспечивающий перемещение жидкости, прикреплены ко второй абсорбирующей структуре 31 посредством отверстий 29, которые проходят в направлении по толщине сквозь первое абсорбирующее тело 7. Пропускающий жидкости поверхностный слой 3 прикреплен непрямым образом ко второй абсорбирующей структуре посредством слоя 40, обеспечивающего перемещение жидкости и расположенного между пропускающим жидкости поверхностным слоем 3 и второй абсорбирующей структурой 31.
Слой 40, обеспечивающий перемещение жидкости, предпочтительно состоит из материала, который имеет большие поры или капилляры с тем, чтобы создавать малое сопротивление потоку жидкости, проходящему через тело. Слой, обеспечивающий перемещение жидкости, соответственно состоит из мягкого материала, который создает приятное ощущение при размещении его у тела пользователя в процессе использования. Примерами материалов, которые могут быть использованы, являются слои целлюлозы с малой степенью сжатия или волокнистые маты и вата, изготовленные из натуральных или синтетических волокон других типов. Также существует возможность использования мягких перфорированных или открытопористых материалов, например, вспененного материала.
На фиг.2f показано, что пропускающий жидкости поверхностный слой 3 прикреплен ко второй абсорбирующей структуре 31, выполненной в виде проницаемого для жидкостей слоя, расположенного с той стороны первого абсорбирующего тела 7, которая обращена от пользователя во время использования, посредством сквозных отверстий 29 в абсорбирующем теле. Эти отверстия 29 проходят через первое абсорбирующее тело 7 в направлении 10 по толщине от той стороны первого абсорбирующего тела 7, которая обращена к пользователю во время использования изделия, к той стороне абсорбирующего тела, которая обращена от пользователя во время использования изделия. В зонах сквозных отверстий 32 в пропускающем жидкости поверхностном слое поверхностный слой прикреплен к проницаемому для жидкостей слою у сквозных отверстий 34 в слое, при этом указанные отверстия 32, 34 расположены у сквозных отверстий 29 в первом абсорбирующем теле, так что моча и/или испражнения могут проходить через отверстия 29 и отверстия 32, 34.
Не проницаемый для жидкостей поверхностный слой 5 расположен с той стороны проницаемого для жидкостей слоя, которая обращена от пользователя в процессе использования. Вторая абсорбирующая структура 31, показанная на фиг.2f, не прикреплена к не проницаемому для жидкостей поверхностному слою 5, при этом между второй абсорбирующей структурой и не проницаемым для жидкостей поверхностным слоем 5 образуется пространство 37, предназначенное для приема испражнений и мочи после того, как они пройдут через сквозные отверстия в слоях и в первом абсорбирующем теле. В этом случае жидкость также может абсорбироваться в первом абсорбирующем теле с той его стороны, которая обращена к не проницаемому для жидкостей поверхностному слою, при этом жидкость проходит через проницаемый для жидкостей слой.
Изобретение не следует рассматривать как ограниченное вариантами осуществления, указанными выше, но большое число модификаций возможно в пределах объема притязаний нижеприведенной формулы изобретения.
Формула изобретения
1. Абсорбирующее изделие, такое как подгузник или прокладка, используемая при недержании, содержащее пропускающий жидкости поверхностный слой (3), не проницаемый для жидкостей поверхностный слой (5) и первое абсорбирующее тело (7), расположенное между поверхностными слоями и проходящее в продольном направлении (11) и в поперечном направлении (9) вдоль поверхностных слоев, а также в направлении (10) по толщине от пропускающего жидкости, поверхностного слоя (3) к не проницаемому для жидкостей поверхностному слою (5), при этом указанное первое абсорбирующее тело (7) имеет отверстия (29), которые проходят сквозь первое абсорбирующее тело (7) в направлении (10) по толщине, и проницаемый для жидкостей слой (31) расположен с той стороны первого абсорбирующего тела (7), которая обращена от пропускающего жидкости поверхностного слоя (3), отличающееся тем, что пропускающий жидкости поверхностный слой (3) прикреплен к проницаемому для жидкостей слою (31) в местах сквозных отверстий (29) в первом абсорбирующем теле (7).
2. Абсорбирующее изделие по п.1, отличающееся тем, что пропускающий жидкости поверхностный слой (3) выполнен без возможности прикрепления к первому абсорбирующему телу (7) при преднамеренном присоединении к данному телу.
3. Абсорбирующее изделие по п.1 или 2, отличающееся тем, что первое абсорбирующее тело (7) выполнено без возможности прикрепления к проницаемому для жидкостей слою (31) при преднамеренном присоединении к данному слою.
4. Абсорбирующее изделие по п.1, отличающееся тем, что отверстия (29) выполнены в виде скругленных отверстий.
5. Абсорбирующее изделие по п.1, отличающееся тем, что отверстия (29) выполнены в виде продольных каналов.
6. Абсорбирующее изделие по п.1, отличающееся тем, что пропускающий жидкости поверхностный слой (3) имеет отверстия (32), расположенные у сквозных отверстий (29) в первом абсорбирующем теле, с возможностью прохождения через отверстия (32) и отверстия (29) мочи и/или испражнений.
7. Абсорбирующее изделие по п.1, отличающееся тем, что пропускающий жидкости поверхностный слой (3) имеет гидрофобные зоны между сквозными отверстиями (29) в первом абсорбирующем теле (7).
8. Абсорбирующее изделие по п.1, отличающееся тем, что пропускающий жидкости поверхностный слой (3) имеет максимальную массу на единицу площади, составляющую 20 г/м2.
9. Абсорбирующее изделие по п.1, отличающееся тем, что слой (40), обеспечивающий перемещение жидкостей, расположен между пропускающим жидкости поверхностным слоем (3) и первым абсорбирующим телом (7), при этом слой (40), обеспечивающий перемещение жидкостей, также прикреплен к проницаемому для жидкостей слою (31) посредством отверстий (29).
10. Абсорбирующее изделие по п.1, отличающееся тем, что гибкая зона (37) образована между проницаемым для жидкостей слоем (31) и расположенным под ним поверхностным слоем (5).
РИСУНКИ
|
|