|
(21), (22) Заявка: 2004126694/14, 04.02.2003
(24) Дата начала отсчета срока действия патента:
04.02.2003
(30) Конвенционный приоритет:
04.02.2002 FR 02/01260
(43) Дата публикации заявки: 27.06.2005
(46) Опубликовано: 10.04.2007
(56) Список документов, цитированных в отчете о поиске:
ЕР 0262766 А, 06.04.1988. RU 2149614 С1, 27.05.2000. RU 2097009 С1, 27.11.1997. US 4844242 А, 04.07.1989. ЕР 0965315 А, 22.12.1999. Canals M., et al. Morphological study of cryopreserved human corneal endothelium. Cells Tissues Organs. 1999; 164(1):37-45. (Реферат в PubMed, PMID: 10940672).
(85) Дата перевода заявки PCT на национальную фазу:
06.09.2004
(86) Заявка PCT:
FR 03/00339 (04.02.2003)
(87) Публикация PCT:
WO 03/065937 (14.08.2003)
Адрес для переписки:
103735, Москва, ул. Ильинка, 5/2, ООО “Союзпатент”, пат.пов. Л.С.Кишкиной
|
(72) Автор(ы):
БРИДЭ Даниель (FR), БУШЕ Ги (FR)
(73) Патентообладатель(и):
ПРАКСЕЛЛ (FR)
|
(54) УСТРОЙСТВО ДЛЯ ОБЛЕГЧЕНИЯ МАНИПУЛЯЦИЙ С РОГОВИЦЕЙ ЖИВОТНЫХ, В ЧАСТНОСТИ РОГОВИЦЕЙ ЧЕЛОВЕКА
(57) Реферат:
Изобретение относится к устройству для облегчения манипуляций с роговицей животных, в частности роговицей человека. Устройство помещается в разнообразные колбы и среды, содержит подложку (1), на которую помещается роговица (11), и элемент (9) в виде ручки, который выполнен с возможностью удержания и извлечения подложки из колбы и среды. При этом подложка (1) удерживается на элементе (9) в виде ручки таким образом, чтобы роговица (11) располагалась выше дна колбы, на котором скапливаются вырожденные клетки. Использование данного изобретения позволит оптимизировать хранение клеток роговицы в различных колбах и средах перед осуществлением имплантации роговицы. 3 з.п. ф-лы, 5 ил.
Область техники, к которой относится изобретение
Данное изобретение касается устройства для облегчения манипуляций с роговицей животных, в частности роговицей человека, служащего для оптимизации хранения клеток роговицы до проведения имплантации. Устройство изобретения помещается в разнообразные колбы (флаконы), содержащие жидкие среды, используемые перед проведением имплантации.
Уровень техники
В случае человека при пересадке роговицы пациенту ее необходимо сначала извлечь у умершего человека. Извлеченная роговица затем помещается хирургом в первую колбу, содержащую среду “для отбора образцов”. Затем ее исследуют под микроскопом, после чего помещают во вторую колбу, содержащую среду для хранения. Наконец, за несколько часов перед проведением имплантации используется третья колба, содержащая “стягивающую” среду, то есть среду, уменьшающую набухание роговицы.
В настоящее время роговица в колбе для образцов содержится в свободном растворе. В колбах для хранения и “стягивания” методика заключается в том, чтобы держать роговицу в суспензии на конце нити, прикрепленной к периметру роговицы путем протыкания ее иголкой. Эта действующая методика обладает многими недостатками:
– неудобство в работе,
– роговицу нужно обрабатывать стерильными или одноразовыми инструментами,
– высокий риск загрязнения и/или заражения,
– многочисленные контакты со стенками колб могут испортить клетки роговицы,
– нахождение роговицы на дне колбы для образцов представляет риск того, что роговица прилипнет к стенке колбы, и означает контакт с вырожденными клетками, скапливающимися на дне колбы.
В ЕР 0262766 раскрыто устройство для поддержки роговицы, образуемое на пробке колбы. Это устройство требует применения специальных модифицированных колб, тогда как стандартные колбы непригодны для этой системы.
Задачей настоящего изобретения является получение устройства, которому не присущи недостатки предшествующей методики. Конкретной задачей настоящего изобретения является получение такого устройства, которое просто и недорого в изготовлении, сборке и применении и в то же время позволяет использовать стандартные немодифицированные колбы.
Настоящее изобретение, таким образом, предусматривает устройство для облегчения манипуляций с роговицей человека, служащее для оптимизации хранения клеток роговицы в различных колбах и средах перед осуществлением имплантации роговицы, причем это устройство отличается тем, что оно включает подложку, на которую помещается роговица, и подсобный элемент (с ручкой) для удержания этой подложки и извлечения ее из различных колб и сред.
Преимущество этого устройства в том, что оно совершенно не зависит от колб и/или от их пробок.
Не подвергаясь сжатию, роговица преимущественно остается заключенной в пространстве, которое сводится к минимуму.
Поверхность, соприкасающаяся с роговицей, преимущественно сводится к минимуму.
Подложка преимущественно удерживается на подсобном элементе таким образом, что роговица располагается выше дна колбы, на котором скапливаются вырожденные клетки, при помощи поддерживающих элементов типа вилки.
Подложка преимущественно располагает, по меньшей мере, одним отверстием, позволяющим прохождение света прямо на роговицу во время анализа под микроскопом.
Другие характеристики и преимущества настоящего изобретения станут более понятными из нижеследующего подробного описания одного из конкретных воплощений изобретения, изложенного с помощью неограничивающего примера и с привлечением прилагаемого чертежа.
Краткое описание фигур
Фиг.1а. Вид сверху подложки для роговицы, составляющей одно из воплощений настоящего изобретения.
Фиг.1b. Вид в разрезе по линии А-А на фиг.1а.
Фиг.1с. Вид в разрезе по линии S-S на фиг.1а.
Фиг.2а. Вид сверху соответствующего подсобного элемента.
Фиг.2b. Вид в разрезе по линии В-В на фиг.2а.
Фиг.2с. Вид в разрезе по линии Х-Х на фиг.1а.
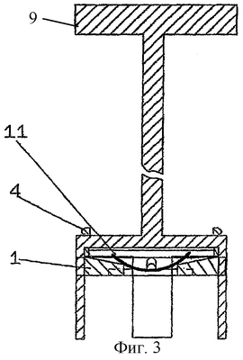
Фиг.3. Вид в разрезе собранного устройства.
Сущность изобретения
В предпочтительном воплощении настоящего изобретения устройство включает подложку 1, приблизительно имеющую форму колеса со спицами 2 и проколотую в центре.
Спицы 2 имеют наклон (скошены) вниз (в положении, показанном на фиг.1b и 3) с тем, чтобы удерживать роговицу 11 в центре, и они предпочтительно имеют закругленный профиль с тем, чтобы свести к минимуму площадь контакта.
Высота подложки 1 предпочтительно ограничивается высотой прозрачных стерильных коробочек, в которые ее вставляют, вместе с роговицей, во время анализа под микроскопом, чтобы избежать соприкосновения с роговицей. Центральное отверстие 3 в подложке 1 позволяет прохождение света от микроскопа и дает возможность непосредственно рассматривать роговицу.
Для манипуляций с подложкой предоставляется подсобный элемент (с ручкой). Подсобный элемент 9 прикрепляется съемным образом к подложке 1. Например, можно использовать два фиксирующих зажима для удержания подложки 1 на подсобном элементе 9. Могут быть предусмотрены и другие средства для фиксирования. Подсобный элемент преимущественно включает вилку 5, которая входит в пазы 6 подложки 1 с тем, чтобы не мешать работе с подложкой. Предпочтительно вилка имеет достаточную длину для удержания подложки 1 выше дна колбы, на котором скапливаются вырожденные клетки.
Преимуществом устройства согласно данному изобретению является то, что оно совершенно не зависит от колб и/или их пробок, что дает возможность использовать существующие стандартные колбы, которые обычно используются и без устройства данного изобретения. Это очень выгодно, так как не нужно использовать специальные модифицированные колбы.
Устройство предпочтительно состоит из полимерного материала (пластика), и его можно изготовить за одну операцию штамповки под давлением на прессе. Могут предусматриваться и металлические устройства или устройства из других материалов, таких как керамика.
Устройство предпочтительно подвергают стерилизации и используют одноразово.
Устройство согласно изобретению особенно удобно для работы с роговицей человека перед проведением имплантации.
Таким образом, устройство по изобретению облегчает манипуляции с роговицей, уменьшает площадь контакта с ней и устраняет соприкосновение с пальцами. В частности, оно дает возможность:
– удерживать подложку на определенной высоте,
– удерживать подложку в центре устройства,
– аккуратно вставлять и вынимать подложку из колбы без риска повреждения роговицы.
Хотя настоящее изобретение описано выше в отношении его конкретного воплощения, однако, естественно, оно не ограничивается этим воплощением. Так, форму колеса со спицами можно модифицировать. Специалистами в этой области могут быть предусмотрены и другие модификации, не выходящие за рамки настоящего изобретения, определенные в прилагаемой формуле изобретения.
Формула изобретения
1. Устройство для облегчения манипуляций с роговицей человека, помещенной в колбе со средой, отличающееся тем, что оно включает подложку (1), на которую помещается роговица (11), и элемент (9) в виде ручки, выполненный с возможностью удержания и извлечения подложки из колбы и среды, при этом подложка (1) удерживается на элементе (9) в виде ручки таким образом, чтобы роговица (11) располагалась выше дна колбы, на котором скапливаются вырожденные клетки.
2. Устройство по п.1, отличающееся тем, что устройство выполнено совершенно не зависимым от колбы и/или ее пробки.
3. Устройство по п.1 или 2, отличающееся тем, что роговица (11), не подвергается сжатию на подложке (1) и остается заключенной в пространстве данного устройства, которое сведено к минимуму.
4. Устройство по п.1, отличающееся тем, что подложка (1) выполнена так чтобы, уменьшить соприкосновение ее поверхностей с роговицей (11).
5. Устройство по п.1, отличающееся тем, что подложка (1) располагается выше дна колбы с помощью поддерживающих элементов, таких как вилка (5).
6. Устройство по п.1, отличающееся тем, что подложка (1) располагает, по меньшей мере, одно отверстие (3), выполненное с возможностью прохождения света прямо на роговицу (11) во время анализа под микроскопом.
РИСУНКИ
MM4A – Досрочное прекращение действия патента СССР или патента Российской Федерации на изобретение из-за неуплаты в установленный срок пошлины за поддержание патента в силе
Дата прекращения действия патента: 05.02.2008
Извещение опубликовано: 10.08.2010 БИ: 22/2010
|