|
|
(21), (22) Заявка: 2005119529/14, 15.06.2005
(24) Дата начала отсчета срока действия патента:
15.06.2005
(46) Опубликовано: 10.04.2007
(56) Список документов, цитированных в отчете о поиске:
RU 2045247 C1, 10.10.1995. RU 2089136 C1, 10.09.1997. RU 2066153 C1, 10.09.1996. SU 1630812 A1, 28.02.1991. WO 2004/028413 A1, 08.04.2004. FR 2827155 A1, 07.01.2003. US 6827342 B1, 11.09.2001.
Адрес для переписки:
420015, г.Казань, ул. Горького, 3, НИЦТ “ВТО”, патентный отдел
|
(72) Автор(ы):
Гафаров Хайдар Зайнуллович (RU), Гиммельфарб Аркадий Лейзерович (RU), Бизяева Людмила Николаевна (RU)
(73) Патентообладатель(и):
Научно-исследовательский центр Татарстана “Восстановительная травматология и ортопедия” (RU)
|
(54) НОЖКА ЭНДОПРОТЕЗА ТАЗОБЕДРЕННОГО СУСТАВА
(57) Реферат:
Изобретение относится к области травматологии-ортопедии, используется в качестве ножки эндопротеза тазобедренного сустава. Изобретение обеспечивает улучшение исходов лечения благодаря значительному повышению стабильности положения ножки эндопротеза в костномозговом канале бедра. Ножка выполнена в виде трубки с заглушенным нижним концом и щелевидными прорезями по боковой поверхности, стержнем, установленным в ней с возможностью осевых перемещений, и элементов крепления. Прорези в ножке расположены в поперечном направлении. Элементы крепления выполнены в виде дисков с центральными отверстиями, которыми они установлены на стержне между поярусно, равномерно и попарно расположенными на нем кольцевыми выступами. Ножки элементов крепления выполнены одинаковой длины в виде упругих пластин с односторонними верхними наружными скосами, расположены в плоскости дисков, смещены относительно друг друга на 120° и размещены с возможностью перемещений и фиксации в щелевидных прорезях. Нижний конец стержня установлен в направляющем канале глухого конца трубки. Верхняя часть стержня выполнена резьбовой для взаимодействия с резьбой прилива на внутренней поверхности трубки и оканчивается огранкой под ключ. Верхний отдел трубки оснащен наружной резьбой, на которую навернут колпачок, закрывающий трубку. 1 з.п. ф-лы, 3 ил.
Устройство относится к области травматологии-ортопедии, используется в качестве ножки эндопротеза тазобедренного сустава. Расшатывание ножки эндопротеза наблюдается у 50% больных, перенесших операцию эндопротезирования тазобедренного сустава. Обычно происходит это спустя 8-12 лет после проведения эндопротезирования и не зависит от того, была фиксация ножки цементной или бесцементной. Поэтому исследователи ведут изыскания в направлении создания надежного контакта в системе “металл-кость”, пытаясь добиться восполняемой компрессии в случаях, когда кость пролеживается под давлением металлических элементов.
Известны устройства, например эндопротез тазобедренного сустава [1], ножка которого оснащена предварительно напряженными, отклоненными от ее оси стержнями, внедренными в костную ткань диафиза бедра. Но и этого оказывается недостаточным для стабильной фиксации ножки в заданном положении. Длинные свободные концы стержней не могут в достаточной мере препятствовать возникновению нестабильности, в том числе и ротационной. Они также не могут предотвратить осевое смещение ножки кверху. Другим аналогом может служить ножка эндопротеза [2], представляющая собой стержень с головкой, установленный в отверстиях распорных секций, большие основания юбок которых выполнены зубчатыми. Однако данная конструкция не обеспечивает достаточной жесткости фиксации.
Наиболее близким заявляемому по своему техническому решению следует считать принятый нами за прототип эндопротез тазобедренного сустава [3], ножка которого имеет наибольшее количество существенных признаков, общих с заявляемым. Ножка прототипа, как и выполненный в ней осевой канал, имеют переменное сечение, что требует при установке ее в костномозговой канал бедра использования специальной развертки, повторяющей ступенчатую форму ножки протеза. Это же обстоятельство не дает возможности корригировать изменение степени погружения ножки в костномозговой канал бедра. Кроме того, лепестки, фиксирующие ножку в костномозговом канале, направлены своими концами в одну (дистальную) сторону бедра, что не обеспечивает надежного сохранения положения ножки на заданной глубине.
Сущность изобретения заключается в совокупности существенных признаков, обеспечивающих достижение искомого технического результата, а именно улучшение исходов лечения благодаря значительному повышению стабильности положения ножки эндопротеза в костномозговом канале бедра.
Эта сущность заключается в том, что ножка эндопротеза тазобедренного сустава выполнена в виде трубки с заглушенным нижним концом и щелевидными прорезями по боковой поверхности, стержнем, установленным в ней с возможностью осевых перемещений, и элементов крепления. Прорези в ножке расположены в поперечном направлении, элементы крепления выполнены в виде дисков с центральными отверстиями, которыми они установлены на стержне между поярусно, равномерно и попарно расположенными на нем кольцевыми выступами. Ножки элементов крепления одинаковой длины в виде упругих пластин с односторонними верхними наружными скосами, расположены в плоскости дисков, смещены относительно друг друга на 120° и размещены с возможностью перемещений и фиксации в щелевидных прорезях. Нижний конец стержня установлен в направляющем канале глухого конца трубки. Верхняя часть стержня выполнена резьбовой для взаимодействия с резьбой прилива на внутренней поверхности трубки и оканчивается огранкой под ключ, верхний отдел трубки оснащен наружной резьбой, на которую навернут колпачок, закрывающий трубку.
Верхние края щелевидных прорезей скошены с внутренней стороны, а нижние – выполнены прямыми.
Поперечное расположение щелевидных прорезей со скошенными с внутренней стороны верхними краями в трубчатой ножке эндопротеза обеспечивает в исходном положении устройства согнутое положение погруженных в трубку ножек элементов крепления. При таком положении срез их заостренных концов располагается заподлицо с поверхностью трубки и не препятствует свободной установке ножки эндопротеза в обработанный костномозговой канал бедра.
Поперечное расположение щелевидных прорезей с прямыми нижними краями в трубчатой ножке эндопротеза обеспечивает в рабочем положении устройства при внедрении ножек элементов крепления в ткань костномозгового канала перпендикулярное относительно продольной оси расположение выдвинутых из полости трубки ножек.
Расположение ножек элементов крепления под углом 120° относительно друг друга исключает вероятность отклонений оси ножки эндопротеза от оси бедра, обеспечивая достижение максимально возможного стабильного ее положения в костномозговом канале на каждом ярусе в трех точках, соответствующих вершинам жестких геометрических фигур – равносторонних треугольников.
Одновременное перемещение ножек всех элементов крепления из щелевидных прорезей с внедрением их в ткань костномозгового канала обеспечивает точную центрацию в нем ножки эндопротеза тазобедренного сустава.
Расположение плоскостей упругих ножек элементов крепления в поперечно расположенных щелевидных прорезях ножки эндопротеза обеспечивает демпфирование осевых нагрузок на эндопротез за счет суммарной рессорности упругих элементов. Каждый из упругих элементов работает как лист рессоры, в которой листы разнесены по вертикали и горизонтали, исключая вероятность ротационных смещений ножки в костномозговом канале за счет их поперечной жесткости.
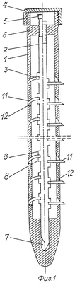
Устройство изображено на фиг.1-3. На фиг.1 показано его продольное сечение (слева от осевой линии – в исходном положении, справа – в рабочем положении). На фиг.2 изображен элемент крепления (аксонометрия). На фиг.3 представлено поперечное сечение ножки эндопротеза через элемент крепления и щелевидные прорези в рабочем положении устройства.
Ножка эндопротеза тазобедренного сустава выполнена в виде трубки 1, в которой размещены стержень 2 и элементы крепления 3. В верхнем отделе трубка 1 оснащена наружной резьбой и закрыта навинченным на нее колпачком 4. Верхний конец 5 стержня 2 имеет граненое сечение под ключ. Ниже граненого участка 5 часть стержня 3 оснащена резьбой, взаимодействующей с резьбой циркулярного прилива 6, охватывающего в полости трубки 1 верхний конец стержня 2.
Нижняя часть стержня 2 размещена с возможностью осевого перемещения в направляющем канале 7, выполненном в монолитном, заглушенном нижнем конце трубки 1. На стержне 2 между поярусно, равномерно и попарно размещенными на нем кольцевыми выступами 8 установлены элементы крепления 3, представляющие собой диски 9 с центральными отверстиями 10 под стержень 2 и упругими ножками одинаковой длины 11, расположенными в плоскости дисков 9, оси которых разнесены под углом 120° относительно друг друга. Концы ножек 11 имеют односторонние скосы по верхней плоскости.
В трубке 1 под ножки 11 выполнены поперечно расположенные щелевидные прорези 12, верхние края которых с внутренней стороны скошены. В исходном (нерабочем) положении ножки 11 отогнуты книзу и упираются в скошенные верхние края прорезей 12, при этом концевые части ножек 11 располагаются заподлицо с поверхностью трубки 1. В рабочем положении ножки 11 выпрямлены и располагаются на нижних прямых краях прорезей 12, выступая за пределы поверхности трубки 1 и перпендикулярно ее продольной оси.
Устройство используется следующим образом.
При операции эндопротезирования тазобедренного сустава на этапе установки его ножки в костномозговой канал бедра последний обрабатывают разверткой до размеров, допускающих свободное перемещение в нем ножки эндопротеза. Ножку в исходном положении ее деталей, со снятым колпачком погружают в костномозговой канал до необходимого уровня и устанавливают поворотом ее вокруг собственной оси заданную ротационную девиацию шейки. Затем, вращая ключом стержень, перемещают его по резьбе в дистальном направлении. Кольцевые выступы стержня увлекают крепежные элементы также в дистальном направлении, при котором их упругие ножки выдвигаются через щелевидные прорези из трубки наружу, опираясь на нижний край прорезей распрямляются и в таком положении внедряются в костную ткань костномозгового канала. Колпачком закрывают ножку эндопротеза, после чего производят остальные этапы операции эндопротезирования, завершая ее.
Источники информации
1. Патент РФ №2089136, A 61 F 2/32, БИ 1997, N25.
2. Патент РФ №2066153, A 61 F 2/32, БИ 1996, N25.
3. Патент РФ №2045247, A 61 F 2/36, БИ 1995, N28.
Формула изобретения
1. Ножка эндопротеза тазобедренного сустава в виде трубки с заглушенным нижним концом и щелевидными прорезями по боковой поверхности, стержнем, установленным в ней с возможностью осевых перемещений, и элементов крепления, отличающаяся тем, что прорези в ножке расположены в поперечном направлении, элементы крепления выполнены в виде дисков с центральными отверстиями, которыми они установлены на стержне между поярусно, равномерно и попарно расположенными на нем кольцевыми выступами, ножки элементов крепления одинаковой длины в виде упругих пластин с односторонними верхними наружными скосами расположены в плоскости дисков, смещены относительно друг друга на 120° и размещены с возможностью перемещений и фиксации в щелевидных прорезях, нижний конец стержня установлен в направляющем канале глухого конца трубки, верхняя часть стержня выполнена резьбовой для взаимодействия с резьбой прилива на внутренней поверхности трубки и оканчивается огранкой под ключ, верхний отдел трубки оснащен наружной резьбой, на которую навернут колпачок, закрывающий трубку.
2. Ножка эндопротеза тазобедренного сустава по п.1, отличающаяся тем, что верхние края щелевидных прорезей скошены с внутренней стороны, а нижние выполнены прямыми.
РИСУНКИ
MM4A – Досрочное прекращение действия патента СССР или патента Российской Федерации на изобретение из-за неуплаты в установленный срок пошлины за поддержание патента в силе
Дата прекращения действия патента: 16.06.2007
Извещение опубликовано: 27.01.2009 БИ: 03/2009
|
|