|
|
(21), (22) Заявка: 2004130778/14, 21.10.2004
(24) Дата начала отсчета срока действия патента:
21.10.2004
(43) Дата публикации заявки: 10.04.2006
(46) Опубликовано: 10.04.2007
(56) Список документов, цитированных в отчете о поиске:
RU 2023437 C1, 30.11.1994. RU 2161017 С2, 31.03.1998. US 5890902 А, 06.04.1999. DE 3043336 А, 11.06.1981.
Адрес для переписки:
344079, г.Ростов-на-Дону, ул. Освобождения, 23а, кв.2, Л.М. Забалуевой
|
(72) Автор(ы):
Абакаров Садулла Ибрагимович (RU), Забалуева Лилия Михайловна (RU), Забалуев Николай Михайлович (RU), Абакарова Дина Садуллаевна (RU)
(73) Патентообладатель(и):
Абакаров Садулла Ибрагимович (RU), Забалуева Лилия Михайловна (RU), Забалуев Николай Михайлович (RU), Абакарова Дина Садуллаевна (RU)
|
(54) РАЗБОРНЫЙ ЗУБНОЙ ИМПЛАНТАТ
(57) Реферат:
Изобретение относится к стоматологии, в частности к устройствам для протезирования зубов на имплантатах. Техническим результатом изобретения является устранение отторжения имплантата за счет обеспечения естественного распределения жевательного давления от имплантата на костную часть (альвеолу), которое достигается исключением жесткого крепления между внутрикостной и коронковой частью имплантата. Разборный зубной имплантат содержит внутрикостную часть, изготовленную из биоинертного пористого материала, и коронковую часть, состоящую из наружной с искусственным зубом и внутренней частей, при этом внутренняя часть снабжена амортизирующей прокладкой. Внутрикостная часть имеет форму полого цилиндра с дном, внутренняя боковая поверхность цилиндра выполнена в форме эллипсоида вращения, внутри цилиндра расположена коническая втулка с внутренней резьбой, имеющая сужение книзу, на поверхности выполнены на равном расстоянии одна от другой, по крайней мере, три продольные прорези, амортизирующая прокладка расположена между внутренней поверхностью цилиндра и внешней поверхностью втулки, внутри которой помещен винт, а амортизирующая шайба помещена в зазоре между искусственным зубом и верхней плоскостью внутрикостной части. 3 ил.
Изобретение относится к стоматологии, в частности к устройствам для протезирования зубов на имплантатах.
Известные конструкции разборных зубных имплантатов (RU №2209049 С, 7 А 61С 8/02, опубликована 2003.07.27 [1], RU №2255182 С, 7 А 61С 8/00, опубликована 2004.03.10 [2], RU №2218126 С, 7 А 61С 8/00, опубликована 2003.12.10 [3], WO 8803391, А 61С 8/00, опубликована 1988.05.19. [4]), включающие коронковую часть, состоящую из наружной с искусственным зубом и внутренней частей, входящую во внутреннюю часть, изготовленную из биоинертного материала.
Известные конструкции решают задачи, направленные на:
– восстановление анатомической формы и функции отдельных зубов;
– обеспечение допустимого биологического уплотнения между внутренней частью имплантата и его наружной стороной;
– обеспечение надежной фиксации имплантата в дистальных отделах верхней челюсти;
– обеспечение крепления имплантата в зубной ямке, являющегося аналогом корня зуба.
Перечисленные конструкции разборных зубных имплантатов при наличии множества достоинств не решают задачу создания физиологической подвижности зубов. Это обусловлено тем, что в известных конструкциях не предусмотрена амортизационная функция имплантатов, т.е. в известных конструкциях имеется «жесткий» тип сращения имплантата с костью челюсти, при этом имплантат не совершает микроэкскурсий и в дальнейшем вызывает резорбцию костной альвеолы, и следовательно, отторжение имплантата.
Наиболее близкой по совокупности существенных признаков и решаемой задаче – обеспечение амортизационной способности имплантата аналогичной физиологической подвижности зубов является конструкция разборного зубного имплантата (RU №2023437 С, 5 А 61С 8/00, опубликована 1994.11.30) [5], принимаемая за прототип.
Зубной имплантат-прототип включает внутрикостную часть, изготовленную из биоинертного пористого материала, и коронковую часть, состоящую из наружной и внутренней частей, при этом внутренняя часть расположена в углублении внутрикостной части и имеет амортизационную прокладку, расположенную на поверхности углубления, а внутренняя часть выполнена по форме эллиптического параболоида.
Наличие амортизирующей прокладки полусферической формы (аналога переодонта) позволяет добиться наиболее естественной передачи жевательного давления, сохранение микроэкскурсии зуба.
Однако на странице 3 описания патента [5] в примере выполнения указано, что внутрикостная часть 1 имплантата закрепляется с коронковой частью 2 при помощи микрогайки или другого вида крепления. Следовательно, обе части жестко закрепляются между собой, и при этом полностью исчезает амортизирующая функция прокладки 6 (амортизатора), что приведет в процессе жевания к резорбции костной альвеолы и отторжению имплантата.
Задачей заявляемого изобретения является создание разборного зубного имплантата, позволяющего при жевании устранить отторжение имплантата за счет обеспечения естественного распределения жевательного давления от имплантата на костную часть (альвеолу), что приводит в конечном итоге к многократному повышению срока службы имплантата.
Техническим результатом изобретения является устранение отторжения имплантата за счет обеспечения естественного распределения жевательного давления от имплантата на костную часть (альвеолу), которое достигается исключением жесткого крепления между внутрикостной и коронковой частью имплантата.
Указанный технический результат достигается тем, что разборный зубной имплантат содержит внутрикостную часть, изготовленную из биоинертного пористого материала, и коронковую часть, состоящую из наружной с искусственным зубом и внутренней частей, при этом внутренняя часть снабжена амортизирующей прокладкой, согласно изобретению, внутрикостная часть имеет форму полого цилиндра, с дном, внутренняя боковая поверхность цилиндра выполнена в форме эллипсоида вращения, внутри цилиндра расположена коническая втулка с внутренней резьбой, имеющая сужение книзу, на поверхности которой ниже верхней плоскости выполнены на равном расстоянии одна от другой, по крайней мере три продольные прорези, амортизирующая прокладка расположена между внутренней поверхностью цилиндра и внешней поверхностью втулки, внутри которой помещен винт, амортизирующая шайба помещена зазоре между искусственным зубом и верхней плоскостью внутрикостной части.
Такое выполнение разборного зубного импалнатата позволяет исключить жесткое крепление между внутрикостной и коронковой частями, т.к. амортизирующая прокладка, втулка с винтом, амортизирующая шайба и поверхность эллипсоида вращения внутрикостной части одновременно выполняют функцию амортизатора, приводящую к микроэкскурсиям внутрикостной части имплантата при жевании, и фиксатора внутрикостной и коронковой частей. Внутрикостная часть, изготовленная из пористого титана, вводится в лунку зуба и при врастании костной ткани в поры получает с ней жесткое соединение.
При этом достигается имплантатом имитация парадонта зуба. Представленная внутрикостная часть имплантата соответствует кости челюсти, амортизирующая прокладка и шайба соответствуют связочному аппарату парадонта, а втулка с винтом – корню зуба.
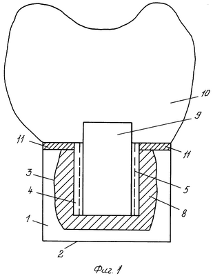
Конструкция разборного зубного имплантата поясняется схематическими чертежами, где на фиг.1 показано поперечное сечение, на фиг.2 – коническая втулка с внутренней резьбой и продольными прорезями, где а – вид сбоку, б – сечение, вид А, на фиг.3 показана коническая втулка в аксонометрии.
Разборный зубной имплантат содержит внутрикостную часть 1, изготовленную из пористого титана, помещаемую в альвеолу удаленного зуба. Внутрикостная часть 1 имеет форму полого цилиндра с дном 2, внутренняя поверхность 3 которого выполнена в форме эллипсоида вращения. Внутри цилиндра 1 расположена коническая втулка 4 с внутренней резьбой 5, имеющая сужение книзу (фиг.2а, б и фиг.3). На поверхности конической втулки 4 ниже верхней плоскости 6 (фиг.2а и фиг.3) выполнены на равном расстоянии одна от другой, по крайней мере, три продольные прорези 7 (фиг.2б, фиг.3). Между внутренней поверхностью конической втулки 4 расположена амортизирующая прокладка 8, изготовленная из силиконовой резины или другого биоинертного резиноподобного материала (фиг.1). Внутри конической втулки 4, которая выполнена из биоинертного материала, расположен винт 9, на который крепится коронка искусственного зуба 10. Часть винта 9 с коронкой искусственного зуба 10 составляет наружную коронковую часть имплантата, а нижняя часть винта 9 является внутренней коронковой частью. В зазоре между коронкой искусственного зуба 10 и внутрикостной частью 1 имплантата помещена амортизирующая шайба 11.
В подготовленную зубную альвеолу помещают внутрикостную часть 1 имплантата и оставляют до полного заживления. Затем во внутрикостную часть 1 вводят амортизирующую прокладку 8, внутри которой помещают коническую втулку 4, вставляют в нее винт 9 и закручивают его до полной фиксации.
На поверхности внутрикостной части 1 помещается амортизирующая шайба 11, изготовленная также, как и амортизирующая прокладка 8 из силиконовой резины или другого подобного материала. На верхнюю коронковую часть винта 9 закрепляется коронка искусственного зуба 10. При закручивании винта 9 коническая втулка 4 с прорезями 7 принимает форму цилиндра за счет раздвижения участков поверхности конической втулки 4 между прорезями 7. При этом раздвигающиеся участки поверхности конической втулки 4 сдавливают амортизирующую прокладку 8, которая, в свою очередь, плотного прилегает к внутренней поверхности 3 полого цилиндра 1, что приводит к надежной фиксации коронковой части во внутрикостной с одновременной амортизацией коронковой части.
Выполнение внутренней поверхности 3 внутрикостной части в форме эллипсоида вращения дополнительно увеличивает надежность фиксации коронковой части.
При жевании с использованием заявляемого имплантата происходят микроэкскурсии коронковой части, подобные микроэкскурсии зуба в парадонте в пределах физиологической подвижности, за счет подвижной надежной фиксации, что не достигалось в прототипе. Это позволяет вместе с возможностью смены внутрикоронковой части при ее износе, многократно, по сравнению с известности аналогами, увеличить срок службы зубного имплантата.
Источники информации
1. RU №2209049 С, 7 А 61С 8/02, опубликована 2003.07.27.
2. RU №2255182 С, 7 А 61С 8/00, опубликована 2004.03.10.
3. RU №2218126 С, 7 А 61 С 8/00, опубликована 2003.12.10.
4. WO 8803391 А 61С 8/00, опубликована 1988.05.19.
5. RU №2023437 С, 5 А 61С 8/00, опубликована 1994.11.30 – прототип.
Формула изобретения
Разборный зубной имплантат, содержащий внутрикостную часть, изготовленную из биоинертного пористого материала, и коронковую часть, состоящую из наружной с искусственным зубом и внутренней частей, при этом внутренняя часть снабжена амортизирующей прокладкой, отличающийся тем, что внутрикостная часть имеет форму полого цилиндра с дном, внутренняя боковая поверхность цилиндра выполнена в форме эллипсоида вращения, внутри цилиндра расположена коническая втулка с внутренней резьбой, имеющая сужение книзу, на поверхности выполнены на равном расстоянии одна от другой, по крайней мере, три продольные прорези, амортизирующая прокладка расположена между внутренней поверхностью цилиндра и внешней поверхностью втулки, внутри которой помещен винт, а амортизирующая шайба помещена в зазоре между искусственным зубом и верхней плоскостью внутрикостной части.
РИСУНКИ
|
|