|
(21), (22) Заявка: 2005129437/12, 21.09.2005
(24) Дата начала отсчета срока действия патента:
21.09.2005
(46) Опубликовано: 10.04.2007
(56) Список документов, цитированных в отчете о поиске:
US 5535478 А, 16.07.1996. US 3744735 A, 10.07.1973. RU 46163 U1, 27.06.2005. RU 2003130917 A, 27.04.2005.
Адрес для переписки:
432027, г.Ульяновск, Северный Венец, 32, ГОУ ВПО “Ульяновский государственный технический университет”, проректору по научной работе
|
(72) Автор(ы):
Розенберг Юрий Вениаминович (RU)
(73) Патентообладатель(и):
Государственное образовательное учреждение высшего профессионального образования “Ульяновский государственный технический университет” (RU)
|
(54) НАСАДКА К ПЫЛЕСОСУ
(57) Реферат:
Изобретение относится к конструктивным элементам пылесосных установок и может быть использовано в промышленных и бытовых системах вакуумной пылеуборки. Насадка к пылесосу содержит соединенные между собой удерживающий узел для подсоединения насадки к пылевоздухопроводу и перекрывающую отверстие канала пылевоздухопровода пылевоздухопроницаемую перегородку. Перегородка имеет диаметр, не превышающий наружного диаметра кромки отверстия пылевоздухопровода. Удерживающий узел выполнен с возможностью контакта с поверхностью канала пылевоздухопровода в виде двух оппозитно размещенных пружинящих элементов. При этом форма контактирующей с пылевоздухопроводом поверхности каждого из элементов совпадает с формой поверхности канала пылевоздухопровода. Технический результат состоит в обеспечении возможности использования перегородки с различными типами сменных насадок, расширении эксплуатационных возможностей известной насадки. 2 з.п. ф-лы, 3 ил.
Изобретение относится к конструктивным элементам пылесосных установок и может быть использовано в промышленных и бытовых системах вакуумной пылеуборки.
Известна насадка к пылесосу, предназначенная для подсоединения к пылевоздухопроводу, например удлинителю шланга пылесоса, содержащая соединенные между собой удерживающий узел для подсоединения насадки к пылевоздухопроводу и пылевоздухопроницаемую перегородку, имеющую диаметр, не превышающий наружного диаметра кромки отверстия перекрываемого ею канала воздухопровода, а удерживающий узел выполнен с возможностью контакта с поверхностью канала пылевоздухопровода (см. патент US 5535478, кл. A 47 L 9/02, 16.07.1996), принятая в качестве наиболее близкого аналога.
Недостаток насадки-прототипа заключается в том, что конструктивные особенности известной насадки не позволяют использовать ее в сочетании с другими разновидностями насадок.
Названный недостаток существенно сужает эксплуатационные возможности известной насадки.
Задачей изобретения является создание насадки к пылесосу, обеспечивающей получение технического результата, заключающегося в устранении названного недостатка, расширении эксплуатационных возможностей очищающего устройства.
Этот технический результат достигается тем, что в насадке к пылесосу, содержащей соединенные между собой узел для подсоединения насадки к имеющему цилиндрический канал пылевоздухопроводу и пылевоздухопроницаемую мелкоячеистую перегородку, перекрывающую отверстие канала пылевоздухопровода, причем диаметр перегородки не превышает наружного диаметра торца пылевоздухопровода, согласно изобретению удерживающий узел выполнен в виде контактирующих с поверхностью канала оппозитно размещенных пружинящих элементов, незакрепленная контактирующая часть которых имеет расширение, при этом форма контактирующей с пылевоздухопроводом поверхности каждого из элементов совпадает с формой поверхности канала пылевоздухопровода.
Кроме этого, пылевоздухопровод выполнен в виде удлинителя шланга пылесоса.
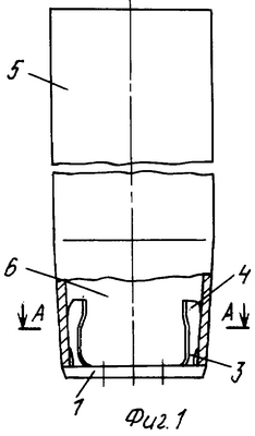
Сущность изобретения поясняется чертежами, где на фиг.1 изображен общий вид насадки к пылесосу, подсоединенной к пылевоздухопроводу; на фиг.2 – разрез по А-А на фиг.1; на фиг.3 – вид сбоку на фиг.1.
Насадка к пылесосу содержит пылевоздухопроницаемую перегородку 1 с выполненными в ней сквозными отверстиями 2 и сопряженные с перегородкой 1 пружинящие элементы 3, незакрепленная часть 4 которых выполнена более широкой по сравнению с местом сопряжения элементов 3 с перегородкой 1, причем все детали насадки выполнены из высокоупругого материала. Насадка установлена на удлинителе 5, выполняющем функцию отводящего пылевоздухопровода, через канал 6 которого транспортируется пылевоздушная смесь. Диаметр перегородки 1 выполнен большим диаметра всасывающего отверстия удлинителя 5, но не превышающим наружного диаметра кромки отверстия, а расстояние между оппозитно расположенными частями 4 элементов 3 в свободном состоянии превышает расстояние между оппозитными точками поверхности канала 6 в месте предполагаемого контакта наружной поверхности незакрепленных частей 4 с указанными точками поверхности канала 6.
Установку и пользование насадкой к пылесосу осуществляют следующим образом.
Перед проведением пылеуборки перегородку 1 с выполненными в ней сквозными отверстиями 2 устанавливают на удлинитель 5 со стороны его всасывающего отверстия таким образом, чтобы пружинящие элементы 3 вошли в отверстие канала 6, а наружная поверхность верхней части перегородки 1 вошла в соприкосновение с кромкой отверстия канала 6 удлинителя 5.
Поскольку в свободном состоянии расстояние между верхними участками незакрепленных частей 4 оппозитно расположенных пружинящих элементов 3 превышает диаметр отверстия канала 6, незакрепленные части 4 элементов 3 предварительно сжимают до положения, при котором указанные части элементов 3 смогли бы свободно войти в отверстие канала 6.
После введения в отверстие незакрепленные части 4 упругих элементов 3 будут стремиться занять исходное положение, вследствие чего наружная поверхность незакрепленных частей 4 элементов 3 войдет в соприкосновение со стенками канала 6. Благодаря наличию упругой силы, прижимающей незакрепленные части 4 элементов 3 к поверхности канала 6, обеспечивается достаточная величина трения между наружной поверхностью частей 4 и поверхностью канала 6 и тем самым надежное удержание перегородки 1 на удлинителе 5.
Наличие у имеющих увеличенную ширину верхних участков незакрепленных частей 4 скругления, повторяющего форму цилиндрической поверхности канала 6, позволяет увеличить площадь контакта пружинящих элементов 4 с внутренней цилиндрической поверхностью удлинителя 5 и одновременно препятствует смещению перегородки 1 в направлении, перпендикулярном оси удлинителя 5.
Далее включают побудитель тяги пылесоса, приближают нижний торец удлинителя 5 с размещенной на нем насадкой к очищаемой поверхности с размещенными на ней незакрепленными мелкими предметами и производят вакуумную пылеуборку.
В процессе вакуумной пылеуборки отсасываемый пылесосом воздух с частицами пыли поступает через отверстия 2 перегородки 1 в канал 6 удлинителя 5 и далее через соединительный шланг пылесоса поступает в пылесборник пылесоса. При этом потоком засасываемого в канал удлинителя воздуха вместе с частицами пыли, выбиваемыми струями воздуха из пылевого слоя, имеющегося на убираемой поверхности и поверхности очищаемых предметов, будут отрываться и притягиваться к поверхности перегородки 1 и наиболее легкие из очищаемых незакрепленных предметов. Поскольку перегородка подбирается обычно таким образом, чтобы размер выполненных в ней отверстий был меньше размера наиболее мелкого из очищаемых предметов, последние будут задерживаться перегородкой, в то время как частицы пыли, подхваченные засасываемым в канал удлинителя воздухом, будут свободно проходить через отверстия 2 перегородки 1.
В связи с тем, что диаметр перегородки выполнен меньшим или равным наружному диаметру кромки всасывающего отверстия удлинителя 5, перегородка позволяет подсоединять к удлинителю любую из стандартных насадок, в частности, при необходимости очистки поверхностей узких и труднодоступных зон на нижнюю конусную часть удлинителя 5 насаживают щелевую насадку, а при необходимости уборки сильнозапыленной поверхности с адгезионно-связанным пылевым слоем используют насадок с щетиносодержащими элементами.
В процессе пылеуборки с помощью названных сменных насадков засасываемый воздух с частицами пыли и подхваченными потоком воздуха незакрепленными мелкими предметами будет через всасывающее отверстие насадка поступать в полость насадка и далее воздух с пылевыми частицами будет проходить через отверстия перегородки, в то время как вышеназванные мелкие предметы будут задерживаться перегородкой.
Следует также отметить, что в зависимости от размера очищаемых незакрепленных мелких предметов перегородка в рассматриваемой насадке к пылесосу может иметь различный размер отверстий (ячеек). При этом относительная простота конструкции в сочетании с быстросменностью указанной насадки позволяет иметь набор насадок с различными по размеру отверстий перегородками и тем самым обеспечивать возможность быстрого подбора соответствующей насадки в зависимости от конкретных эксплуатационных требований.
Таким образом, как видно из описания данного изобретения, предложенная насадка к пылесосу, содержащая удерживающий насадку узел в виде пружинящих элементов, выполненных с возможностью установки в отверстии канала пылевоздухопровода и с возможностью взаимодействия с поверхностью канала, и соединенную с названными элементами перекрывающую отверстие канала пылевоздухопроницаемую перегородку, диаметр которой не превышает наружного диаметра кромки отверстия, позволяет одновременно с рассматриваемой насадкой подсоединять к пылевоздухопроводу различные сменные насадки, что значительно расширяет эксплуатационные возможности очищающего устройства.
Формула изобретения
1. Насадка к пылесосу, содержащая соединенные между собой удерживающий узел для подсоединения насадки к пылевоздухопроводу и перекрывающую отверстие канала пылевоздухопровода пылевоздухопроницаемую перегородку, имеющую диаметр, не превышающий наружного диаметра кромки отверстия пылевоздухопровода, при этом удерживающий узел выполнен с возможностью контакта с поверхностью канала пылевоздухопровода, отличающаяся тем, что удерживающий узел выполнен в виде двух оппозитно размещенных пружинящих элементов, причем форма контактирующей с пылевоздухопроводом поверхности каждого из элементов совпадает с формой поверхности канала пылевоздухопровода.
2. Насадка к пылесосу по п.1, отличающаяся тем, что незакрепленная контактирующая часть пружинящих элементов имеет расширение.
3. Насадка к пылесосу по п.1, отличающаяся тем, что пылевоздухопровод выполнен в виде удлинителя шланга пылесоса.
РИСУНКИ
MM4A – Досрочное прекращение действия патента СССР или патента Российской Федерации на изобретение из-за неуплаты в установленный срок пошлины за поддержание патента в силе
Дата прекращения действия патента: 22.09.2007
Извещение опубликовано: 20.02.2009 БИ: 05/2009
|