|
|
(21), (22) Заявка: 2004131563/12, 25.03.2003
(24) Дата начала отсчета срока действия патента:
25.03.2003
(30) Конвенционный приоритет:
26.03.2002 (пп.1, 2) AT A 470/2002
(43) Дата публикации заявки: 20.05.2005
(46) Опубликовано: 10.04.2007
(56) Список документов, цитированных в отчете о поиске:
DE 4303189 A1, 11.08.1994. DE 4138801 A1, 27.05.1993. US 5634284 А, 03.06.1997. WO 9318676 A1, 30.09.1993. FR 2806884 A3, 05.10.2001.
(85) Дата перевода заявки PCT на национальную фазу:
26.10.2004
(86) Заявка PCT:
AT 03/00083 (25.03.2003)
(87) Публикация PCT:
WO 03/079838 (02.10.2003)
Адрес для переписки:
103735, Москва, ул. Ильинка, 5/2, ООО “Союзпатент”, пат.пов. И.М.Захаровой
|
(72) Автор(ы):
ЛЯЙТНЕР Йоханн (AT)
(73) Патентообладатель(и):
АУЛЯЙ ЛЯЙТНЕР УНД АУЕР ОЕГ (AT)
|
(54) СПОРТИВНЫЙ БОТИНОК, В ЧАСТНОСТИ ЛЫЖНЫЙ БОТИНОК
(57) Реферат:
Спортивный ботинок, в частности лыжный ботинок, закрепляют на выполненной подвижно лыже. Лыжный ботинок состоит из оболочковой части и подошвенной пластины. Ось симметрии оболочковой части смещена по отношению к оси симметрии подошвенной пластины на угол . Средняя точка оси стопы лежит на продольной оси лыжи или располагается между продольной осью лыжи и ее внутренней кромкой. В результате этого середина пятки располагается между осью симметрии лыжи и ее внутренней кромкой. При использовании спортивного ботинка согласно данному изобретению вертикальная силовая линия F совмещается с кромкой лыжи. Благодаря этому компенсируются ощущаемые лыжником неприятные моменты в лодыжке, которые могут возникать в том случае, если вертикальная силовая линия при совпадении с кромкой лыжи не достаточно совмещается с ней. Технический результат, обеспечиваемый данным спортивным ботинком, заключается в повышении комфортности езды на лыжах, упрощении совершения движений на лыжах и управления лыжами, а также в ускорении совершения маха ногой. 1 з.п. ф-лы, 3 ил.
Изобретение относится к спортивному ботинку, в частности лыжному ботинку, согласно ограничительной части п.1 формулы изобретения.
Во многих современных видах спорта, таких, как, например, горнолыжный, бег на длинные дистанции, конькобежный и др., сегодня применяются спортивные ботинки из жесткого, износостойкого материала, снабженные на участках мыска и пятки соединительными элементами, размещенными, как правило, в подошве ботинка, в результате чего посредством механических элементов, как, например, лыжное крепление, достигается прочное и соответствующее виду спорта функциональное соединение со спортивным снарядом, например лыжей.
Такие ботинки состоят, как правило, из охватывающей ногу оболочковой части и подошвенной пластины. Эти оба элемента могут быть выполнены либо за одно целое, например, с помощью полимерного литья под давлением, либо, в случае раздельного изготовления, соединены между собой механическим способом, например винтами, заклепками, склеиванием и пр. Обычно в лыжных ботинках подошвенная пластина и оболочковая часть располагаются по отношению друг к другу симметрично своим продольным осям. Т.е. вместо естественного V-образного положения здоровых ног человека в удобной, расслабленной позиции ноги занимают параллельное лыжам положение, вследствие чего при переносе веса тела на внешнюю или внутреннюю сторону лыжи происходит поворот коленного сустава и, как следствие, направление нагрузки более не проходит точно прямолинейно по осям костей, бедру и большеберцовой кости, а является криволинейным, что может привести к повреждениям колена и вызвать усталостные явления, а бег на лыжах не будет оптимальным.
На фиг.2 изображен традиционный ботинок с симметричным выполнением оболочковой части 1, при этом ось симметрии подошвенной пластины и ось симметрии SX лыжи 3 совпадают между собой. Здесь отчетливо видно, что центр тяжести BS стопы располагается между осью симметрии SX лыжи 3 и ее наружной кромкой Ка.
При такой конструкции наружная кромка подвержена нежелательному давлению.
Для разрешения этой проблемы в ЕР 0634900 В1 предложена конструкция ботинка, в которой соединительная линия между серединой пятки и серединой дуги подошвы, охватывающей большой палец ноги, проходит параллельно направлению движения лыжи. В конструкциях лыжных ботинок этого типа центр тяжести стопы, определяемый средней точкой на оси стопы, также располагается между продольной осью лыжи и ее наружной кромкой, как это обычно имеет место и в лыжных ботинках с симметричной конструкцией. В результате отмечаются контрапродуктивные качества при движении на лыжах, поскольку из-за такого расположения центра тяжести стопы возрастает давление на наружную кромку лыжи, противодействующее необходимому направлению движения лыжи.
Из DE 4138801 А и DE 4303189 А известны лыжные ботинки, содержащие верх и подошву, причем верх располагается к подошве под углом. При этом пятка располагается между серединой лыжи и ее внутренней кромкой. При пользовании этими известными лыжными ботинками, особенно при горнолыжных спусках, проявились трудности при совершении маха лыж, в частности, в том случае, когда обращенная в сторону долины лыжа устанавливается на внутреннюю кромку, поскольку не было принято во внимание положение центра тяжести стопы. Поскольку в зоне стопы сходятся нервные тяжи, то центр тяжести стопы с биомеханической точки зрения имеет особое значение для совершения движений, в частности, для управления лыжами.
Данная проблема, присущая спортивным ботинкам упомянутого выше типа, решается согласно изобретению за счет признаков, приведенных в отличительной части пункта 1 формулы изобретения.
Технический результат, обеспечиваемый данным спортивным ботинком, заключается в повышении комфортности езды на лыжах, в упрощении совершения движений на лыжах и управлении лыжами, а также в ускорении совершения маха ногой.
В частности, выяснилось, что в том случае, когда центр тяжести стопы располагается между продольной осью лыжи и ее наружной кромкой, то приложенная сила действует точно в противоположном направлении от кромки лыжи, на которую она устанавливается при совершении маха, что приводит к запоздалой реакции и плохим ходовым качествам.
Благодаря признакам, приведенным в пункте 2 формулы изобретения, ускоряется совершение маха, благодаря чему обеспечивается особое преимущество для данного вида спорта.
Ниже изобретение поясняется подробнее с помощью чертежей. При этом изображено на:
фиг.1 – след здоровой ноги человека;
фиг.3 – вариант выполнения ботинка согласно изобретению, причем для лучшего понимания сущности изобретения на фиг.2 изображен известный ботинок, при этом показана ось S1 симметрии ботинка согласно изобретению.
На фиг.1 позицией Y обозначена ось стопы, ограниченная с внешней стороны стопы точкой ВА и с ее внутренней стороны точкой BI. BS означает центр тяжести стопы, разделяющий участок ВА-BI пополам.
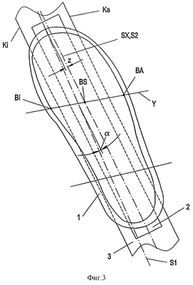
На фиг.3 SX означает ось симметрии лыжи 3, совпадающую с осью симметрии S2 подошвенной пластины ботинка, в результате чего обеспечивается безупречное функционирование лыжного крепления.
Ось симметрии S1 оболочковой части 1 смещена по отношению к оси симметрии 2 подошвенной пластины 2 на угол , вследствие чего середина пятки располагается между осью симметрии SX лыжи 3 и ее внутренней кромкой Ki.
Дополнительно ось S1 смещена внутрь в зоне пальцев ноги на величину z, в результате чего центр тяжести BS стопы приходится на ось симметрии SX лыжи 3.
Такая конструкция обеспечивает особо нейтральные ходовые качества.
Если значение z увеличить, то центр тяжести BS стопы сместится еще больше к внутренней кромке Ki лыжи 3. Этим достигается в большей мере непосредственное выполнение маха, которое особенно эффективно в данном виде спорта.
Формула изобретения
1. Спортивный ботинок, в частности лыжный ботинок, закрепляемый на выполненной подвижно лыже, состоящей из оболочковой части и подошвенной пластины, причем ось симметрии (S1) оболочковой части (1) смещена по отношению к оси симметрии (S2) подошвенной пластины на угол ( ), причем середина пятки находится между осью симметрии (SX) лыжи (3) и ее внутренней кромкой (Ki), отличающийся тем, что средняя точка оси стопы лежит на продольной оси лыжи или располагается между продольной осью лыжи и ее внутренней кромкой.
2. Ботинок по п.1, отличающийся тем, что ось симметрии (SX) лыжи (3) совмещена с осью симметрии (S2) подошвенной пластины ботинка, при этом ось симметрии (S1) оболочковой части (1) смещена внутрь в зоне пальцев ноги на величину z таким образом, что центр тяжести (BS) стопы приходится на ось симметрии (SX) лыжи (3).
РИСУНКИ
|
|