|
|
(21), (22) Заявка: 2005111994/11, 22.04.2005
(24) Дата начала отсчета срока действия патента:
22.04.2005
(43) Дата публикации заявки: 27.10.2006
(46) Опубликовано: 27.03.2007
(56) Список документов, цитированных в отчете о поиске:
RU 2033678 C1, 20.04.1995. SU 855888 A1, 15.08.1981. US 4240141 A, 16.12.1980. Труды третьей всесоюзной конференции по бесконтактным электрическим машинам, ч.3, Рига, 1966, стр.83-84, рис.1.
Адрес для переписки:
105484, Москва, ул. 15-я Парковая, 26, корп.4, кв.114, В.Я. Ульянову
|
(72) Автор(ы):
Ульянов Валерий Яковлевич (RU)
(73) Патентообладатель(и):
Ульянов Валерий Яковлевич (RU)
|
(54) ЭЛЕКТРОМАГНИТНЫЙ ДВИГАТЕЛЬ С АСИММЕТРИЧНЫМ РОТОРОМ
(57) Реферат:
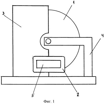
Изобретение относится к индукционным электромагнитным двигателям. Электромагнитный двигатель с асимметричным ротором содержит станину, ротор, статор с обмоткой, полюс которого оказывает индукционное действие на ротор, расположенный в зоне действия полюса статора. Ротор снабжен экраном из ферромагнитного материала в зоне индукционного действия полюса статора, который частично экранирует ротор от индукционного действия полюса статора. Технический результат направлен на улучшение рабочих характеристик. 4 ил.
Изобретение относится к области электротехники, точнее к индукционным электромагнитным двигателям.
Аналогом заявленного изобретения является импульсный, индукционный двигатель по А.С. №338972, содержащий алюминиевый ротор и статор в виде индукционного возбудителя, направленного к ротору по касательной. Нарушение симметрии индукционного действия статора на ротор приводит к вращению ротора. Недостаток – неизбежный зазор между статором и ротором из-за их расположения.
Прототипом заявленного изобретения является однофазный двигатель переменного тока, еще называемый вентиляторным. Двигатель содержит алюминиевый ротор, статор с обмоткой, полюса которого имеют разрез, делящий полюс надвое. Одна половина имеет одновитковую короткозамкнутую вторичную обмотку. Так происходит нарушение симметрии в действии магнитной индукции полюсов статора на ротор. Недостаток – работа статора в режиме короткого замыкания
Этих недостатков можно избежать в двигателе, содержащем ротор, статор с обмоткой, полюса которого индукционно действуют на ротор, снабдив ротор экраном из ферромагнитного материала, который частично экранирует ротор от действия статора в зоне действия полюсов. Из физики известно, что в ферромагнитных телах, находящихся в магнитном поле, происходит сгущение линий магнитной индукции. Если поместить в магнитное поле железное кольцо-экран, внутри кольца магнитного поля не будет. Экранируя, например, половину ротора в форме диска, мы тем самым нарушаем симметрию магнитной индукции в действии статора на ротор. Экран ротора может иметь замкнутую форму – фиг.2, полузамкнутую – фиг.3, прямоугольную – фиг.4.
На чертеже показан электромагнитный двигатель с асимметричным ротором, где ротор – 1, статор с обмоткой – 2, экран – 3, станина – 4, полюс статора – 5.
При подключении двигателя к источнику переменного тока двигатель приходит во вращение.
Формула изобретения
Электромагнитный двигатель с асимметричным ротором, содержащий станину, ротор, статор с обмоткой, полюс которого оказывает индукционное действие на ротор, расположенный в зоне действия полюса статора, отличающийся тем, что ротор снабжен экраном из ферромагнитного материала в зоне индукционного действия полюса статора, который частично экранирует ротор от индукционного действия полюса статора.
РИСУНКИ
|
|