|
(21), (22) Заявка: 2006111702/09, 11.04.2006
(24) Дата начала отсчета срока действия патента:
11.04.2006
(46) Опубликовано: 27.03.2007
(56) Список документов, цитированных в отчете о поиске:
US 3883872, 13.05.1975. RU 2165665 С1, 20.04.2001. RU 2109402 С1, 20.04.1998. RU 2206155 C1, 10.06.2003. US 5940031 А, 17.08.1999. US 5093667 А, 03.03.1992.
Адрес для переписки:
125009, Москва, а/я 184, ППФ “ЮС”, В.В. Курьянову (для “АИСТЕЛ”)
|
(72) Автор(ы):
Букатов Михаил Дмитриевич (RU), Гальченков Александр Александрович (RU), Назаров Михаил Спартакович (RU), Марченко Роман Викторович (RU), Ганинцев Алексей Юрьевич (RU), Родин Сергей Васильевич (RU)
(73) Патентообладатель(и):
Закрытое акционерное общество “Автоматизированные информационные системы и телекоммуникации” (RU)
|
(54) УСТРОЙСТВО ДЛЯ ФОРМИРОВАНИЯ ПОЛЯРИЗАЦИИ РАДИОСИГНАЛОВ ПРИЕМОПЕРЕДАТЧИКОВ
(57) Реферат:
Изобретение относится к радиотехнике и может быть использовано для формирования и управления поляризации сигналов. Достигаемым техническим результатом является уменьшение потерь приема-передачи сигналов, упрощение конструкции и возможность формирования произвольного типа поляризации не только на излучение, но и на прием. Устройство содержит Х-поляризованную антенну, два гибридных моста, два фазовращателя и вентиль, соединенные определенным образом. Устройство формирует различные типы поляризации нескольких приемопередатчиков, распределяемых на два входа/выхода базовой станции. 2 з.п. ф-лы, 3 ил.
Изобретение относится к радиотехнике и может быть использовано в антенных системах для формирования и управления поляризацией сигналов, излучаемых приемнопередающими антеннами с двумя ортогональными по поляризации излучающими элементами.
В сотовой связи различных стандартов для увеличения энергетики связи от абонента к базовой станции предусмотрен так называемый «разнесенный прием». То есть, флюктуирующий сигнал абонентской радиостанции принимается на две антенны с вертикальной поляризацией, установленные на расстоянии 6 м друг от друга, что обеспечивает некоррелированность флюктуации амплитуды сигнала абонента. Приемная система автоматически выбирает больший из сигналов, что обеспечивает в среднем выигрыш на 3-5 дБ в энергетике принимаемого сигнала.
Недостаток такой схемы разнесенного приема в необходимости устанавливать две отдельные антенны на значительном расстоянии друг от друга, что создает проблемы, особенно при монтаже антенн на высотных сооружениях (мачтах, башнях, трубах и т.д.).
В последние годы все операторы сотовой связи перешли от оборудования пространственного разнесения антенн к поляризационному разнесению, т.е. приему сигнала абонентского аппарата двумя антеннами с ортогональными поляризациями. Излучающие элементы этих антенн повернуты на плюс и минус 45 градусов относительно вертикали и их продолжения пересекаются под углом 90 градусов (X-поляризованные антенны). Излучающие элементы обоих антенн размещаются в едином корпусе. Таким образом, для обеспечения работы одного сектора базовой станции достаточно установки одной антенны, подключенной к базовой станции двумя кабелями, обеспечивающими работу приемопередающей аппаратуры базовой станции с использованием одного и другого плеча Х-поляризационной антенны.
К недостаткам таких антенн можно отнести то, что различные приемопередатчики подключены к разным «плечам» Х-поляризованной антенны. В результате энергетика связи от базовой станции к абоненту зависит от ориентации абонентского аппарата относительно антенных элементов и отличается для различных приемопередатчиков базовой станции. Более рационально было бы излучение сигналов с круговой поляризацией, обеспечивающей равные возможности для абонентских аппаратов с произвольной ориентацией в пространстве.
Кроме того, частоты для сетей сотовой связи в стандарте GSM 900 и 1800 предоставляются на вторичной основе, с учетом эксплуатации других радиоэлектронных средств (РЭС) гражданского и военного назначения. В итоге, на ряд базовых станций накладываются ограничения на мощность излучения горизонтальной составляющей вектора поляризации, наиболее часто используемой для РЭС другого назначения. Для Х-поляризованных антенн эти ограничения могут быть настолько обширны и значительны по величине, что делают нецелесообразным их использование в ряде районов, например вблизи аэропортов, объектов специального назначения и т.п.
Поэтому актуальна задача создания устройства для формирования вертикальной поляризации сигналов, излучаемых Х-поляризованными антеннами. Одновременно такое устройство должно обеспечивать прохождение без искажений сигналов, принимаемых Х-поляризованными антеннами.
Известно устройство для формирования поляризации радиосигналов (Патент US №3883872, Н 04 В 7/00).
Устройство предназначено для автоматического выбора одного из двух желаемых ортогонально поляризованных сигналов в круговом либо линейном базисе.
Сигналы принимаются двумя ортогонально поляризованными антеннами с левым и правым направлением вращения вектора поляризации либо с двумя линейными ортогональными поляризациями.
Принятые сигналы затем подаются на входы гибридного моста (сумматора), для того чтобы сформировать сумму и разность сигналов. Результирующие сигналы с выходов гибридного моста детектируются и сравниваются. По результатам сравнения формируются управляющие сигналы, передаваемые по цепям обратной связи к исполнительным устройствам, формирующим корректирующие поправки по фазе и коэффициенту передачи ВЧ-тракта между гибридным сумматором и ортогонально поляризованными антеннами, что обеспечивает согласование поляризационных характеристик антенно-фидерного тракта с поляризованными характеристиками принимаемых сигналов.
К недостаткам такого устройства относится сложность схемы управления, требующая дополнительных устройств приема и анализа сигналов, цепей обратной связи и исполнительных устройств для корректировки амплитудно-фазовых характеристик ВЧ-трактов.
Кроме того, известное устройство обеспечивает прием и передачу одного и того же типа поляризации и не может осуществить прием и передачу различных типов поляризации, например, линейную вертикальную для всех сигналов на передачу и две наклонные линейные на прием при работе с Х-поляризованной антенной.
Известно устройство для формирования поляризации радиосигналов приемопередатчиков, излучаемых и принимаемых Х-поляризованной антенной, два плеча которого подсоединены к входам/выходам приемопередающей аппаратуры базовой станции, а два других плеча соответственно подсоединены к двум входам/выходам X-поляризованной антенны.
Устройство содержит Х-поляризованную антенну, выполненную из двух антенных элементов, каждый из которых соответственно установлен наклонно под углом ±45° к вертикали, первый гибридный мост, первое и второе плечи которого соответственно подсоединены к первому и второму выходам приемопередающей аппаратуры базовой станции, а третье плечо, соответственно, подсоединено к X-поляризованной антенне.
Устройство выполнено по классической схеме, реализованной одним из ведущих производителей оборудования сотовой связи («Algon», Швеция) и поставляется в Россию с маркировкой EG 1009032. Устройство кроме гибридного моста (ГМ) содержит четыре дуплексных фильтра (ДФ), позволяющих обеспечить разделение режимов приема и передачи. ГМ объединяет сигналы передатчиков с первого и второго выходов приемопередающей аппаратуры (ППА). Устройство также содержит согласованную нагрузку, поглощающую половину мощности после суммирования ГМ, и делитель, подключенный через дуплексные фильтры (ДФ) к плечам Х-поляризованной антенны. Сигналы, принимаемые Х-поляризованной антенной, отделяются дуплексными фильтрами (ДФ) от излучаемых сигналов и передаются на первый и второй входы приемопередающей аппаратуры базовой станции.
Ограничением этого устройства являются сложность, большой вес – 8 кг и габариты 20×20×30 см, а также достаточно большие потери. Суммарные потери на прием в такой схеме составляют 1,2 дБ и 4,5 дБ – на передачу. Эти недостатки в основном определяются использованием в схеме четырех дуплексных фильтров (ДФ), т.е. дорогих, имеющих значительный вес и габариты функциональных узлов.
Следует отметить, что большие потери на передачу обусловлены при суммировании сигналов передатчиков использованием гибридного моста ГМ, имеющего потери более 3 дБ. Использование ГМ неизбежно в системах сотовой связи из-за режима быстрого переключения частот.
Решаемая изобретением задача – повышение технико-эксплуатационных и функциональных характеристик.
Технический результат, который может быть получен при выполнении устройства, – уменьшение потерь приема-передачи сигналов, упрощение конструкции, уменьшение веса и габаритов, возможность формирования произвольного типа поляризации не только на излучение, но и на прием.
Для решения поставленной задачи с достижением указанного технического результата в известном устройстве для формирования поляризации радиосигналов приемопередатчиков, содержащем Х-поляризованную антенну и первый гибридный мост, согласно изобретению введены второй гибридный мост, вентиль и два фазовращателя, первое и второе плечо первого гибридного моста соответственно подсоединены к первому и второму входам/выходам приемопередающей аппаратуры базовой станции, третье плечо первого гибридного моста соединено через первый фазовращатель с первым плечом второго гибридного моста, а четвертое плечо первого гибридного моста соединено через вентиль со вторым плечом второго гибридного моста, при этом вентиль установлен в обратном направлении, обеспечивающем передачу радиосигнала от второго гибридного моста к первому, третье плечо второго гибридного моста подсоединено к одному антенному элементу Х-поляризованной антенны через второй фазовращатель, а четвертое плечо второго гибридного моста подсоединено к другому антенному элементу Х-поляризованной антенны.
Возможны дополнительные варианты выполнения устройства, в которых целесообразно, чтобы:
– вентиль был выполнен в виде Y-циркулятора с согласованной нагрузкой;
– вентиль был выполнен в виде дуплексного фильтра с согласованной нагрузкой.
Указанные преимущества, а также особенности настоящего изобретения поясняются лучшим вариантом его выполнения со ссылками на прилагаемые фигуры.
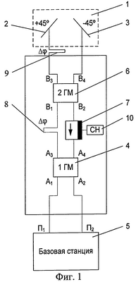
Фиг.1 изображает функциональную схему заявленного устройства, при выполнении вентиля в виде Y-циркулятора с согласованной нагрузкой;
Фиг.2 – то же, что фиг.1, при выполнения вентиля в виде дуплексного фильтра с согласованной нагрузкой;
Фиг.3 – функциональную схему ближайшего аналога.
Устройство для формирования поляризации радиосигналов приемопередатчиков (фиг.1) содержит Х-поляризованную антенну 1, выполненную из двух антенных элементов 2 и 3. Антенные элементы 2 и 3 соответственно установлены наклонно под углом ±45° к вертикали. Два плеча (A1), (А2) первого гибридного моста 4 (ГМ) соответственно подсоединены к входам (П1), (П2) приемопередающей аппаратуры 5 (ППА) базовой станции. Два других плеча (1ГМ) – третье и четвертое (А3), (А4) соответственно подсоединены к двум антенным элементам 2, 3 Х-поляризованной антенны 1 через дополнительно введенные элементы.
В устройство дополнительно введены: второй гибридный мост 6 (ГМ), вентиль 7 и два фазовращателя 8 и 9. Два упомянутых плеча – первое и второе (A1), (A2) первого ГМ 4 соответственно подсоединены и к выходам (П1), (П2) ППА 5 базовой станции. Третье плечо и четвертое (А3), (А4) первого ГМ 4 соответственно подсоединены к двум антенным элементам 2, 3 Х-поляризованной антенны 1 через вентиль 7, первый фазовращатель 8, второй гибридный мост 6 и второй фазовращатель 9. Третье плечо (А4) первого ГМ 4 соединено через первый фазовращатель 8 с первым плечом (B1) второго ГМ 6, а вентиль 7 установлен в цепи четвертого плеча (А4) первого ГМ 4. Именно установлен в цепи, соединяющей четвертое плечо (А4) первого ГМ 4 со вторым плечом (В2) второго ГМ 6. При этом вентиль 7 установлен с обеспечением поступления сигнала по цепи четвертого плеча (А4) первого ГМ 4 непосредственно в согласованную нагрузку (СН) вентиля 7, т.е. вентиль 7 выполнен обеспечивающим передачу радиосигнала от второго ГМ 6 к первому ГМ 4 и воспрещающим передачу радиосигнала от первого ГМ 4 ко второму ГМ 6. Два других плеча второго ГМ 6 – третье (В3) и четвертое (В4) соответственно подсоединены к антенным элементам 2, 3 X-поляризованной антенны 1. При этом четвертое плечо (В4) второго ГМ 6 подсоединено напрямую к антенному элементу 3 Х-поляризованной антенны, а второй фазовращатель 9 установлен в цепи третьего плеча (В3), диаметрально противоположного второму плечу (В2) второго ГМ 6.
Вентиль 7 (фиг.1) может быть выполнен в виде в виде Y-циркулятора с согласованной нагрузкой (СН) 10 или вентиль 7 (фиг.2) может быть выполнен в виде дуплексного фильтра (ДФ) 11 с СН 10.
Как видно из Фиг.1 и 2, функцию четырех дуплексных фильтров ДФ для разделения режимов приема и передачи в заявленном устройстве выполняет второй гибридный мост 6 и вентиль 7.
Работает устройство (фиг.1) следующим образом.
Устройство содержит два ГМ 4 и 6, соединенных последовательно, причем четвертое плечо (А4) первого ГМ 4 соединено со вторым плечом (В2) второго ГМ 6 через вентиль 7, подсоединенный таким образом, что в режиме передачи сигнал с четвертого плеча (А4) первого ГМ 4 поступает через Y-циркулятор на согласованную нагрузку (СН) 10.
Третье плечо (А3) первого ГМ 4 соединено через первый фазовращатель 8 с первым плечом (B1) второго ГМ 6. В режиме приема первый фазовращатель 8 обеспечивает выравнивание электрических длин цепей между плечами А3-B1 и А4-В2 первого ГМ 4 и второго ГМ 6. Равенство электрических длин обеспечивает передачу принятых сигналов с третьего плеча В2 и четвертого плеча В4 второго ГМ 6 на первое плечо A1 и второе плечо А2 первого ГМ 4, соответственно, то есть две линейные наклонные поляризации, принятые антенной, будут переданы без искажений на входы П1 и П2 базовой станции 5.
В режиме передачи некоррелированные сигналы передатчиков ППА 5 поступают на первое и второе плечи (A1) и (А2) первого ГМ 4, делятся пополам и поступают на плечи (А3) и (А4). Вентиль 7 включен таким образом, что сигналы, поступившие с четвертого плеча (А4) первого ГМ 4, поглощаются согласованной нагрузкой 10 (СН), подключенный к вентилю 7. Вентиль 7 (фиг.1) может быть выполнен на основе трехплечного ферритового Y-циркулятора. (Y-циркулятор установлен с обратным включением, т.е. с возможностью передачей сигнала против часовой стрелки, в правое плечо которого подсоединена СН 10). Вместо Y-циркулятора может быть использован дуплексный фильтр 11 (фиг.2), в котором согласованная нагрузка 10 (СН) подключена к его плечу с полосой частот Fпрд излучаемых радиосигналов, а плечо ДФ 11 с полосой частот Fпрм принимаемых радиосигналов подключено ко второму плечу (В2) второго ГМ 6.
Суммарный сигнал половинной мощности с третьего плеча (А3) первого ГМ 4 поступает в первое плечо (B1) второго ГМ 6 и, разделившись еще раз пополам, поступает на третье (В3) и четвертое (В4) плечи второго ГМ 6 со сдвигом фаз на 90°.
Эту разность фаз можно компенсировать за счет введения второго фазовращателя 9, например, посредством разности длин кабелей, присоединяющих второй ГМ 6 к ортогонально поляризованным антенным элементам 2, 3 Х-поляризованной антенны 1. Здесь и далее предполагается, что отношение разности частот сигналов передатчиков ППА 5 к их абсолютному значению не превышает несколько процентов.
На практике для операторов сотовой связи в стандарте GSM выделяется полоса частот 10-15 МГц в диапазоне 900 МГц и полоса 15-25 МГц в диапазоне 1800 МГц, т.е. относительная величина полосы частот не превышает 1,5%. Поэтому разности фаз для всех сигналов не будут нарушены более чем на 1-2 градуса из-за разности длин кабелей (не более 0,25 ), присоединяющих устройство к антенне и, одновременно, формирующих требуемую разность фаз  на антенных элементах 2, 3 X-поляризованной антенны 1 для всех излучаемых сигналов.
Разность фаз  на антенных элементах 2, 3 Х-поляризованной антенны 1, равная 0°, обеспечит излучение Х-поляризованной антенной 1 вертикальной поляризации.  =180° – горизонтальной,  =±90° – круговой поляризации с правым и левым направлением вращения вектора электрического поля электромагнитной волны. Другие значения разности фаз формируют поляризацию с отношением осей и ориентацией эллипса поляризации, определяемой конкретным значением разности фаз.
Рассмотрим прохождение принимаемых Х-поляризованной антенной 1 сигналов через устройство в обратном направлении от антенных элементов 2, 3 к входам (П1), (П2) ППА 5.
Сигнал, принятый антенным элементом 2, поступает на третье плечо (В3) второго ГМ 6, делится и поступает на его первое плечо (B1) и второе плечо (В2) со сдвигом по фазе 90° (или 180° в зависимости от типа ГМ). При равенстве электрических длин между плечами (В2)-(А4) и (B1)-(А3), соединяющих ГМ 6 и 4 между собой, разность фаз 90° (180°) сохранится на третьем плече (А3) и четвертом плече (А4) первого ГМ 4. В результате эти сигналы просуммируются в фазе на первом плече (A1) и в противофазе на втором плече (А2) первого ГМ 4, т.е. сигнал от Х-поляризованной антенны 1, поступивший от излучающего элемента 2 на третье плечо (В3) второго ГМ 6, появится на первом плече (A1) первого ГМ 4 и поступит на вход (П1) приемника ППА 5 без искажений.
Аналогичным образом сигнал, поступивший от излучающего элемента 3 с четвертого плеча (В4) второго ГМ 6, появится на втором плече (А2) первого ГМ 4 и поступит на вход (П2) приемника ППА 6 без искажений.
Выравнивание электрических длин выполняется первым фазовращателем 8. При равенстве электрических длин цепей (В2)-(А4) и (B1)-(А3) устройство формирует на прием поляризацию, идентичную поляризации антенной системы, в нашем случае – две линейные ортогональные.
При разности электрических длин равной 90° устройство трансформирует две линейные ортогональные поляризации в левую и правую круговые поляризации. При других разностях электрических длин будут сформированы другие типы поляризации принимаемых сигналов.
В режиме передачи устройство имеет потери не менее 3 дБ за счет поглощения половины излучаемой мощности сигнала согласованной нагрузкой вентиля 7, также как и в схеме ближайшего аналога (фиг.3). Однако за счет исключения из функциональной схемы четырех дуплексных фильтров эти потери будут все равно меньше, чем у ближайшего аналога. Суммарные потери на передачу сигнала в ближайшем аналоге составляют 4,5 дБ. Как показали испытания заявленного макета устройства, потери в режиме передачи сигнала составляют 3,6 дБ. При оценке потерь использовано отношение суммы мощностей радиосигналов на входах Х-поляризованной антенны к мощности передатчика, подаваемой на один из выходов П1 или П2 базовой станции.
Потери при приеме сигнала снижены в два раза, с 1,2 дБ в ближайшем аналоге до 0,6 дБ в заявленном устройстве. Кроме того, упрощена конструкция устройства, следовательно, обеспечивается надежность его работы и простота настройки. Значительно уменьшены вес до 1 кг и габариты до 4×7×20 см.
Наиболее успешно заявленное устройство для поляризации радиосигналов промышленно применимо в оборудовании сотовой связи.
Формула изобретения
1. Устройство для формирования поляризации радиосигналов приемопередатчиков, содержащее Х-поляризованную антенну и первый гибридный мост, отличающееся тем, что введены второй гибридный мост, вентиль и два фазовращателя, первое и второе плечи первого гибридного моста соответственно подсоединены к первому и второму входам/выходам приемопередающей аппаратуры базовой станции, третье плечо первого гибридного моста соединено через первый фазовращатель с первым плечом второго гибридного моста, а четвертое плечо первого гибридного моста соединено через вентиль со вторым плечом второго гибридного моста, при этом вентиль установлен в обратном направлении, обеспечивающем передачу радиосигнала от второго гибридного моста к первому, третье плечо второго гибридного моста подсоединено к одному антенному элементу Х-поляризованной антенны через второй фазовращатель, а четвертое плечо второго гибридного моста подсоединено к другому антенному элементу Х-поляризованной антенны.
2. Устройство по п.1, отличающееся тем, что вентиль выполнен в виде Y-циркулятора с согласованной нагрузкой.
3. Устройство по п.1, отличающееся тем, что вентиль выполнен в виде дуплексного фильтра с согласованной нагрузкой.
РИСУНКИ
PC4A – Регистрация договора об уступке патента СССР или патента Российской Федерации на изобретение
Прежний патентообладатель:
Закрытое акционерное общество “Автоматизированные информационные системы и телекоммуникации”
(73) Патентообладатель:
Общество с ограниченной ответственностью “ВЕРИТЕЛ”
Договор № РД0048487 зарегистрирован 27.03.2009
Извещение опубликовано: 10.05.2009 БИ: 13/2009
|