|
(21), (22) Заявка: 2005123068/06, 21.07.2005
(24) Дата начала отсчета срока действия патента:
21.07.2005
(46) Опубликовано: 27.03.2007
(56) Список документов, цитированных в отчете о поиске:
RU 2124237 C1, 27.12.1998. RU 2061263 C1, 27.05.1996. EP 0370427 A2, 30.05.1990. US 5030413 А, 09.07.1991. DE 1240596 А, 18.05.1967.
Адрес для переписки:
142103, Московская обл., г. Подольск, ул. Орджоникидзе, 21, ФГУП ОКБ “ГИДРОПРЕСС”, начальнику научно-технического отдела С.Р. Сорокину
|
(72) Автор(ы):
Геронтьев Александр Евгеньевич (RU), Костиков Михаил Евгеньевич (RU), Бочаров Юрий Леонидович (RU), Тихомиров Сергей Васильевич (RU)
(73) Патентообладатель(и):
ФГУП Опытное конструкторское бюро “ГИДРОПРЕСС” (RU)
|
(54) УСТРОЙСТВО ДЛЯ ЗАКРЕПЛЕНИЯ АКТИВНОЙ ЗОНЫ ЯДЕРНОГО РЕАКТОРА С ВОДОЙ ПОД ДАВЛЕНИЕМ
(57) Реферат:
Изобретение относится к устройствам для закрепления внутрикорпусного оборудования ядерного реактора и предназначено для закрепления активной зоны, устанавливаемой в реакторе с водой под давлением и омываемой охлаждающим теплоносителем. Устройство для закрепления активной зоны ядерного реактора с водой под давлением содержит опорный цилиндр, упругий элемент. Опорный цилиндр установлен на фланце в сосуде под давлением. Упругий элемент включает в себя ряд смежных кольцевых сегментов. Кольцевые сегменты размещены между фланцем опорного цилиндра и фланцем крышки сосуда под давлением и взаимодействуют с ними. Каждый из кольцевых сегментов упругого элемента содержит сегментную опорную пластину. На опорной пластине размещены и зафиксированы с помощью фиксирующих устройств прижимные устройства. Каждое из прижимных устройств содержит опорный стакан с помещенным в него и запертым с помощью запирающего устройства рабочим элементом из предварительно спрессованного терморасширенного графита и нажимную втулку. Нажимная втулка контактирует с рабочим элементом или запирающим устройством. Изобретение позволяет снизить вибрацию внутрикорпусных устройств и активной зоны ядерного реактора при переходе на топливную загрузку, включающую в себя тепловыделяющие сборки с циркониевым каркасом. 6 з.п. ф-лы, 10 ил.
Область техники
Изобретение относится к устройствам для закрепления внутрикорпусного оборудования ядерного реактора, а именно к устройствам для закрепления активной зоны, устанавливаемой в реакторе с водой под давлением и омываемой охлаждающим теплоносителем.
Уровень техники
Известно устройство /1/ (Чертеж 1135.01.04.000. Шахта с экраном. Ижорский завод. 1972 г.). для закрепления активной зоны, содержащее опорный цилиндр, устанавливаемый на фланце в сосуде под давлением ядерного реактора, упругий элемент, включающий в себя ряд смежных кольцевых сегментов, размещенных между фланцем опорного цилиндра и фланцем крышки сосуда под давлением. Кольцевые сегменты упругого элемента выполнены из труб. Сжатие упругого элемента осуществляется крышкой сосуда под давлением при уплотнении главного разъема сосуда под давлением. При этом создается прижимное усилие на фланец опорного цилиндра, которое наряду с усилием от пружинных блоков тепловыделяющих сборок, поджимаемых нажимным цилиндром, и усилием от веса опорного цилиндра с топливной загрузкой прижимает опорный цилиндр к фланцу сосуда под давлением и удерживает его от всплытия и вибрации при воздействии перепада давления теплоносителя, циркулирующего в реакторе.
Недостатком известного устройства является то, что при переходе на загрузку реактора тепловыделяющими сборками с каркасом из циркониевого сплава взамен тепловыделяющих сборок с каркасом из нержавеющей стали происходит значительное снижение усилия, создаваемого нажимным цилиндром при сжатии пружин в головках тепловыделяющих сборок, так как при выходе на эксплуатационную температуру теплоносителя циркониевый каркас тепловыделяющей сборки расширяется на 12-15 мм меньше, чем соответствующий канал, образованный внутрикорпусными устройствами, изготовленными из нержавеющей стали 08Х18Н10Т (величина удлинения взята для реактора ВВЭР-1000 с длиной топливной части 3,5 м).
При уменьшении прижимного усилия от пружинных блоков тепловыделяющих сборок уменьшаются усилие прижатия опорного цилиндра к фланцу сосуда под давлением и усилие прижатия нажимного цилиндра к крышке сосуда под давлением, поэтому возникает необходимость компенсации уменьшения усилия прижатия опорного цилиндра к фланцу сосуда под давлением за счет увеличения прижимного усилия от упругого элемента. В противном случае внутрикорпусные устройства будут отрываться от опор, что приведет к вибрации как их самих, так и тепловыделяющих сборок и органов регулирования, то есть существенно снизится надежность и безопасность реактора.
Ослабление прижатия внутрикорпусных устройств к опорам может происходить также вследствие релаксации напряжений в пружинах головок тепловыделяющих сборок и известного упругого элемента под действием высокой температуры и облучения.
В условиях ограниченного места, отводимого в ядерном реакторе под размещение упругого элемента, увеличение его прижимного усилия (несущей способности) может быть достигнуто, например, при увеличении толщины стенки трубы тороидального кольцевого сегмента. В этом случае одновременно с увеличением погонной нагрузки на трубу снижается ее упругая деформация (как относительная, так и абсолютная), а также снижается релаксационная стойкость таких труб.
Известно также устройство /2/ (Патент РФ №2061263) для закрепления активной зоны, содержащее опорный цилиндр, устанавливаемый на фланце в сосуде под давлением ядерного реактора, упругий элемент, включающий в себя ряд смежных кольцевых сегментов, размещенных между фланцами опорного и нажимного цилиндров и поджимаемых крышкой сосуда под давлением. Кольцевые сегменты упругого элемента выполнены в виде винтовой цилиндрической пружины, на которую с натягом насажены цилиндрические кольца. Сжатие упругого элемента осуществляется при уплотнении главного разъема сосуда под давлением. При этом создается прижимное усилие на фланец опорного цилиндра, которое наряду с усилием от пружинных блоков тепловыделяющих сборок, поджимаемых нажимным цилиндром, и усилием от веса опорного цилиндра с топливной загрузкой прижимает опорный цилиндр к фланцу сосуда под давлением и удерживает его от всплытия и вибрации при воздействии перепада давления теплоносителя, циркулирующего в реакторе. Также создается прижимное усилие на фланец нажимного цилиндра, которое наряду с усилием от пружинных блоков тепловыделяющих сборок и выталкивающим усилием нажимного цилиндра от перепада давления на нем при циркуляции теплоносителя в реакторе прижимает нажимной цилиндр к фланцу крышки сосуда под давлением.
Известное устройство /2/ по сравнению с известным устройством /1/ может обеспечивать более значительную погонную нагрузку и упругую деформацию, так как упругость устройства /2/ суммируется из упругости цилиндрических колец и упругости винтовой цилиндрической пружины, выполненной из более прочной по сравнению с /1/ коррозионностойкой стали. Однако в условиях перехода на загрузку реактора тепловыделяющими сборками с каркасом из циркониевого сплава взамен тепловыделяющих сборок с каркасом из нержавеющей стали, релаксации пружин тепловыделяющих сборок и компонентов упругого элемента, а также в условиях ограниченного места, отводимого в ядерном реакторе под размещение упругого элемента, этого увеличения прижимного усилия может быть недостаточно.
Аналогично с /1/ в устройстве /2/ при увеличении диаметра проволоки пружины одновременно с увеличением погонной нагрузки на пружину снижается ее упругая деформация (как относительная, так и абсолютная), а также снижается релаксационная стойкость пружины.
Оба известные устройства /1, 2/ при первоначальном поперечном сжатии (при уплотнении главного разъема реактора) деформируются пластически. При увеличении первоначального сжатия пластическая деформация данных устройств возрастает, а величины упругой деформации изменяются незначительно, что в совокупности с малыми значениями остаточной упругой деформации является недостатком этих известных устройств.
Следует отметить, что основным критерием работоспособности упругого элемента в известных устройствах /1/ и /2/ является достаточное усилие на нем (достаточная несущая способность), обеспечивающее гарантированное прижатие опорного цилиндра к фланцу сосуда под давлением. Измеряемым критерием работоспособности упругого элемента является минимально допустимая остаточная упругая деформация, соответствующая минимально допустимому остаточному усилию на нем, которая измеряется в холодном состоянии реактора. То есть необходимыми условиями работоспособности упругого элемента являются как достаточная остаточная погонная нагрузка на трубе /1/ или пружине /2/, так и достаточная остаточная упругая деформация, которую возможно было бы измерить с определенной точностью на реакторе после его расхолаживания и демонтажа крышки сосуда под давлением.
Известно также устройство /3/ (Патент РФ №2124237) для закрепления активной зоны, отличающееся от /1/ и /2/ тем, что каждый из кольцевых сегментов упругого элемента выполнен в виде многослойного пакета пластин, опираемого равномерно по периметру сегмента снизу и сверху, причем места нижнего и верхнего опирания смещены в плане относительно друг друга на половину шага. В данном устройстве предполагалось увеличение несущей способности упругого элемента путем увеличения массы металла его упругих компонентов, заполняющих сечение кольцевой канавки, и увеличение ресурса работы упругого элемента путем существенного снижения релаксации при нагружении его в области упругих деформаций. Проведенные исследования однопролетных моделей данного устройства при моделировании проектных погонных нагрузок и температур показали, что область упругих деформаций моделей данного устройства ограничена 2 мм, то есть при полных деформациях более 2 мм устройство подвержено пластическим деформациям. Для реактора полные деформации упругого элемента менее 2 мм недостаточны, так как с учетом допусков на осевые размеры элементов реактора ВВЭР-1000 максимальная разница полных деформаций упругого элемента составляет 1 мм. Относительная релаксация испытанных моделей данного устройства имеет практически одинаковые значения по сравнению с испытанными моделями устройства /1/. Анализ влияния схемы нагружения для однопролетной испытанной модели устройства и многопролетного устройства (как заявлено в /3/) показал, что жесткость многопролетного устройства в четыре раза выше жесткости однопролетной модели устройства, поэтому при одинаковой погонной нагрузке упругая деформация многопролетного устройства уменьшиться в четыре раза. То есть данное устройство может не обеспечить требуемую проектом минимально допустимую остаточную упругую деформацию.
В описании /3/ рассмотрены две схемы расположения упругого элемента в ядерном реакторе:
схема 1 – упругий элемент закреплен на фланце опорного цилиндра и взаимодействует с фланцем опорного цилиндра и фланцем нажимного цилиндра;
схема 2 – упругий элемент закреплен на фланце нажимного цилиндра и взаимодействует с фланцем нажимного цилиндра и фланцем крышки сосуда под давлением.
Первая схема закрепления упругого элемента также рассматривалась в /2/ и ее преимуществом является возможность измерения остаточной упругой деформации упругого элемента в холодном состоянии без выгрузки тепловыделяющих сборок из опорного цилиндра.
Особенностью второй схемы закрепления упругого элемента является то, что усилие от пружинных блоков тепловыделяющих сборок, поджимаемых нажимным цилиндром, прижимает нажимной цилиндр к крышке сосуда под давлением и не оказывает влияния на прижатие опорного цилиндра к фланцу сосуда под давлением.
Преимуществом второй схемы является более удобный доступ к упругому элементу при его монтаже и демонтаже. Однако при этом значительно затруднено измерение остаточной упругой деформации упругого элемента без выгрузки тепловыделяющих сборок, так как остаточное усилие на их пружинных блоках может приподнять нажимной цилиндр вместе с упругим элементом относительно фланца главного разъема сосуда под давлением.
Кроме того, в обеих данных схемах /3/ температурная деформация упругого элемента в 1,5 раза больше, чем в схеме закрепления упругого элемента /1/, то есть после температурной догрузки упругого элемента остаточная погонная нагрузка и остаточная упругая деформация уменьшаться в данных схемах в большей степени, так как жесткость упругого элемента при упругом разгружении существенно выше, чем при упруго-пластическом нагружении.
В /1/ упругий элемент закреплен на фланце опорного цилиндра и взаимодействует с фланцем опорного цилиндра и фланцем крышки сосуда под давлением. В данном варианте закрепления упругий элемент не прижимает нажимной цилиндр к фланцу крышки сосуда под давлением (прижатие нажимного цилиндра к фланцу крышки сосуда под давлением осуществляется только за счет усилия от пружинных блоков тепловыделяющих сборок), что является недостатком данной схемы закрепления.
Наиболее близким техническим решением из известных является /3/.
Раскрытие изобретения
Целью изобретения является повышение надежности и безопасности ядерного реактора.
Задача изобретения – увеличение несущей способности, области упругих деформаций и демпфирующих свойств упругого элемента.
Технический результат – снижение вибрации внутрикорпусных устройств и активной зоны ядерного реактора при переходе на топливную загрузку, включающую в себя тепловыделяющие сборки с циркониевым каркасом.
Предлагаемое устройство для закрепления активной зоны ядерного реактора с водой под давлением содержит опорный цилиндр, установленный на фланце в сосуде под давлением, упругий элемент, включающий в себя ряд смежных кольцевых сегментов, размещенных между фланцем опорного цилиндра и фланцем крышки сосуда под давлением и взаимодействующих с ними.
Новым является то, что каждый из кольцевых сегментов упругого элемента содержит сегментную опорную пластину, на которой размещены и зафиксированы с помощью фиксирующих устройств прижимные устройства, каждое из которых содержит опорный стакан с помещенным в него и запертым с помощью запирающего устройства рабочим элементом из предварительно спрессованного терморасширенного графита, и нажимную втулку, контактирующую с рабочим элементом или запирающим устройством.
Запирающее устройство, предназначенное для предотвращения проникновения терморасширенного графита в цилиндрический зазор между наружной поверхностью нажимной втулки и внутренней поверхностью опорного стакана, может быть выполнено в следующих вариантах:
вариант 1 – Запирающее устройство выполнено в виде кольца, имеющего по периметру тонкостенный цилиндрический бурт, контактирующий по наружному диаметру с внутренней цилиндрической поверхностью опорного стакана и по внутреннему диаметру с рабочим элементом из терморасширенного графита, при этом запирающее устройство расположено между нажимной втулкой и рабочим элементом из терморасширенного графита;
вариант 2 – Запирающее устройство содержит два одинаковых запирающих разрезных кольца, контактирующих между собой по торцевым поверхностям и контактирующих по наружным диаметрам с внутренней цилиндрической поверхностью опорного стакана, при этом верхнее запирающее кольцо контактирует с нажимной втулкой, а разрезы колец находятся в разных вертикальных плоскостях;
вариант 3 – Запирающее устройство содержит три запирающих кольца: два кольца по варианту 2 и третье разрезное кольцо меньшего диаметра, которое по наружному диаметру контактирует с двумя кольцами по варианту 2 и по верхнему торцу – с нажимной втулкой, при этом высота третьего кольца больше высоты колец по варианту 2, а разрезы всех трех колец находятся в разных вертикальных плоскостях.
Фиксирующие устройства предназначены для закрепления и фиксации прижимных устройств на сегментной пластине. Каждое фиксирующее устройство содержит два фиксатора, закрепленных на сегментной пластине, имеющих цилиндрические выступы, заходящие в ответные ступенчатые байонетные пазы, выполненные на наружной боковой поверхности стакана прижимного устройства.
Данные фиксирующие устройства позволяют сократить время монтажа-демонтажа прижимных устройств на сегментные пластины и, как следствие, уменьшить дозы облучения персонала при проведении данных операций.
С целью предотвращения проскальзывания стакана прижимного устройства относительно сегментной пластины на нижнем торце опорного стакана выполнен цилиндрический выступ, который заходит в ответное соосное отверстие, выполненное в сегментной пластине. При этом предотвращается поломка (формоизменение) фиксаторов. Проскальзывание стакана прижимного устройства относительно сегментной пластины при реализации первой схемы закрепления упругого элемента было бы возможно за счет различных коэффициентов линейного расширения материалов опорного цилиндра, на котором закреплены сегментные пластины, и крышки сосуда под давлением, и при реализации второй схемы закрепления упругого элемента – за счет различных коэффициентов линейного расширения материалов нажимного цилиндра, на фланце которого закреплены сегментные пластины, и крышки сосуда под давлением.
С целью предотвращения возможного выхода нажимной втулки из опорного стакана прижимного устройства при монтаже-демонтаже данного устройства на сегментную пластину или при подъеме крышки сосуда под давлением, на нажимной втулке прижимного устройства выполнено не менее одной лыски, а на верхнем торце опорного стакана закреплено не менее одной ответной запорной планки.
Краткое описание чертежей.
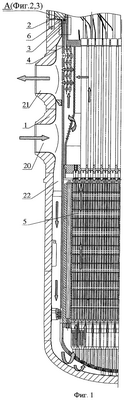
На фиг.1 показана схема ядерного реактора, продольный разрез.
На фиг.2 показан узел А фиг.1 – схема закрепления упругого элемента на фланце нажимного цилиндра, в которой упругий элемент контактирует с фланцем нажимного цилиндра и фланцем сосуда под давлением.
На фиг.3 показан узел А фиг.1 – схема закрепления упругого элемента на фланце опорного цилиндра, в которой упругий элемент контактирует с фланцами опорного и нажимного цилиндров.
На фиг.4 показан разрез Б-Б на фиг.2.
На фиг.5 показан узел В на фиг.2 в увеличенном масштабе.
На фиг.6 показан вид Г на фиг.5.
На фиг.7 показано сечение Д-Д на фиг.5.
На фиг.8 показан вид Е на фиг.5.
На фиг.9 показан узел Ж на фиг.5 – варианты 1-3 запирающего устройства.
На фиг.10 показана в аксонометрии схема закрепления прижимного устройства.
Реактор с устройством для закрепления опорного цилиндра с активной зоной представляет собой сосуд 1 под давлением, уплотняемой крышкой 2. В сосуде 1 на фланце 3 установлен опорный цилиндр 4 с активной зоной, содержащей тепловыделяющие сборки 5. Согласно фиг.2 (схема 2) между торцом крышки 2 и фланцем 6 нажимного цилиндра, взаимодействующего с фланцем 3 опорного цилиндра, установлен упругий элемент, содержащий ряд сегментов 7 (фиг 4), закрепленных на фланце 6. Согласно фиг.3 (схема 1) между фланцем 3 опорного цилиндра и фланцем 6 нажимного цилиндра, взаимодействующего с торцом крышки 2, установлен упругий элемент, содержащий ряд сегментов 7, закрепленных на фланце 3 опорного цилиндра. Каждый из сегментов 7 содержит опорную сегментную пластину 8, на которой размещены и зафиксированы прижимные устройства, каждое из которых (фиг.5) содержит опорный стакан 9, в который помещен и заперт с помощью запирающего устройства 10 рабочий элемент 11 из предварительно спрессованного терморасширенного графита, и нажимную втулку 12, соприкасающуюся с рабочим элементом или запирающим устройством. Фиксирующее устройство, предназначенное для закрепления и фиксации прижимного устройства на сегментной пластине, содержит два фиксатора 13 (фиг.7), закрепленных на сегментной пластине 8, имеющих цилиндрические выступы 14, заходящие в ответные ступенчатые байонетные пазы 15, выполненные на наружной боковой поверхности опорного стакана 9 прижимного устройства (фиг.6, 7). На нижнем торце опорного стакана выполнен цилиндрический выступ 16 (фиг. 5, 7), который заходит в ответное соосное отверстие 17, выполненное в сегментной пластине. На нажимной втулке 12 прижимного устройства (фиг.7, 8) выполнено не менее одной лыски 18, а на верхнем торце опорного стакана закреплено не менее одной ответной запорной планки 19.
Сосуд 1 (фиг. 1) снабжен входным патрубком 20 и выходным патрубком 21 и образует со стенкой опорного цилиндра 4 опускной канал 22 контура циркуляции теплоносителя в реакторе.
Осуществление изобретения
Устройство работает следующим образом.
Холодный теплоноситель входит в патрубок 20, пройдя опускной канал 22 через отверстия в днище опорного цилиндра 4 попадает в активную зону, отбирает тепло у тепловыделяющих сборок 5 и нагретый уходит через патрубок 21 из реактора. При протекании теплоносителя через реактор его давление снижается, а разность давлений на входе и выходе является той силой, которая выталкивает опорный цилиндр 4 вверх, если вес опорного цилиндра с активной зоной меньше выталкивающей силы. Прижатие опорного цилиндра к опоре является необходимым условием удержания опорного цилиндра и тепловыделяющих сборок от вибрационных перемещений (вызывающих износ и разрушение), которые могут возникать под воздействием протекающего теплоносителя. При уплотнении главного разъема крышка 2 сжимает рабочие элементы 11 прижимных устройств упругого элемента 7, что создает необходимое усилие прижатия фланца опорного цилиндра к опоре. Поскольку рабочие элементы прижимных устройств выполнены из предварительно спрессованного и запертого терморасширенного графита, обладающего высокими упругими свойствами и несущей способностью, то несколько прижимных устройств способны выдержать требуемую проектом нагрузку, при этом остаточная упругая деформация будет в 5-10 раз выше, чем в рассмотренных прототипах /1-3/. Проведенные исследования моделей прижимных устройств показали, что при достаточной остаточной упругой деформации прижимных устройств (не менее 2 мм) требуемая несущая способность упругого элемента достигается их количеством (для реактора ВВЭР-1000 не более 24 штук). То есть для предлагаемого устройства упругого элемента критерии работоспособности (несущая способность упругого элемента и его остаточная упругая деформация) не противоречат друг другу (с увеличением несущей способности упругого элемента его остаточная упругая деформация не уменьшается, как в /1-3/). Кроме того, предлагаемая конструкция прижимных устройств имеет хорошие демпфирующие свойства за счет внутреннего трения в терморасширенном графите и трения запирающих элементов по внутренней цилиндрической поверхности опорного стакана в области упругих деформаций прижимного устройства.
Таким образом, предлагаемая конструкция упругого элемента дает возможность увеличить усилие прижатия опорного цилиндра до необходимой величины, не увеличивая его габариты, увеличить упругие и демпфирующие свойства, при этом увеличивается его ресурс работы в условиях длительного термоциклического нагружения.
Источники информации
1. Чертеж 1135.01.04.000. Шахта с экраном. Ижорский завод, 1972.
2. Патент Российской Федерации №2061263.
3. Патент Российской Федерации №2124237.
Формула изобретения
1. Устройство для закрепления активной зоны ядерного реактора с водой под давлением, содержащее опорный цилиндр, установленный на фланце в сосуде под давлением, упругий элемент, включающий в себя ряд смежных кольцевых сегментов, размещенных между фланцем опорного цилиндра и фланцем крышки сосуда под давлением и взаимодействующих с ними, отличающееся тем, что каждый из кольцевых сегментов упругого элемента содержит сегментную опорную пластину, на которой размещены и зафиксированы с помощью фиксирующих устройств прижимные устройства, каждое из которых содержит опорный стакан с помещенным в него и запертым с помощью запирающего устройства рабочим элементом из предварительно спрессованного терморасширенного графита и нажимную втулку, контактирующую с рабочим элементом или запирающим устройством.
2. Устройство для закрепления активной зоны по п.1, отличающееся тем, что запирающее устройство выполнено в виде кольца, имеющего по периметру тонкостенный цилиндрический бурт, контактирующий по наружному диаметру с внутренней цилиндрической поверхностью опорного стакана и по внутреннему диаметру с рабочим элементом из терморасширенного графита, при этом запирающее устройство расположено между нажимной втулкой и рабочим элементом из терморасширенного графита.
3. Устройство для закрепления активной зоны по п.1, отличающееся тем, что запирающее устройство содержит два одинаковых запирающих разрезных кольца, контактирующих между собой по торцевым поверхностям и контактирующих по наружным диаметрам с внутренней цилиндрической поверхностью опорного стакана, при этом верхнее запирающее кольцо контактирует с нажимной втулкой, а разрезы колец находятся в разных вертикальных плоскостях.
4. Устройство для закрепления активной зоны по п.1, отличающееся тем, что каждое фиксирующее устройство содержит два фиксатора, закрепленных на сегментной пластине, имеющих цилиндрические выступы, заходящие в ответные ступенчатые байонетные пазы, выполненные на наружной боковой поверхности опорного стакана прижимного устройства.
5. Устройство для закрепления активной зоны по п.1, отличающееся тем, что на нижнем торце опорного стакана выполнен цилиндрический выступ, который заходит в ответное соосное отверстие, выполненное в сегментной пластине.
6. Устройство для закрепления активной зоны по п.1, отличающееся тем, что на нажимной втулке прижимного устройства выполнено не менее одной лыски, а на верхнем торце опорного стакана закреплено не менее одной ответной запорной планки.
7. Устройство для закрепления активной зоны по п.3, отличающееся тем, что запирающее устройство содержит третье разрезное кольцо меньшего диаметра, которое по наружному диаметру контактирует с двумя указанными в п.3 кольцами и по верхнему торцу – с нажимной втулкой, при этом высота третьего кольца больше высоты колец по п.3, а разрезы всех трех колец находятся в разных вертикальных плоскостях.
РИСУНКИ
Другие изменения, связанные с зарегистрированными изобретениями
Изменения:
Зарегистрирован переход исключительного права без заключения договора Дата и номер государственной регистрации перехода исключительного права: 11.03.2010/РП0000600 Патентообладатель: Открытое акционерное общество “Ордена Трудового Красного Знамени и ордена труда ЧССР опытное конструкторское бюро “ГИДРОПРЕСС” Прежний патентообладатель: Федеральное государственное унитарное предприятие “Ордена Трудового Красного Знамени и ордена труда ЧССР опытное конструкторское бюро “ГИДРОПРЕСС”
Номер и год публикации бюллетеня: 9-2007
Извещение опубликовано: 27.04.2010 БИ: 12/2010
|