|
(21), (22) Заявка: 2005120966/11, 04.07.2005
(24) Дата начала отсчета срока действия патента:
04.07.2005
(46) Опубликовано: 27.03.2007
(56) Список документов, цитированных в отчете о поиске:
RU 2154899 C1, 20.08.2000. JP 2004173005 A, 17.06.2004. JP 10013249 A, 16.01.1998. JP 9294263 A, 11.11.1997.
Адрес для переписки:
432022, г.Ульяновск, ул. Солнечная, 20, ФНПЦ ОАО “НПО “Марс”, Генеральному директору В.И. Кидалову
|
(72) Автор(ы):
Кидалов Валентин Иванович (RU), Павлыгин Эдуард Дмитриевич (RU), Сбоев Валерий Минеевич (RU), Чудов Александр Витальевич (RU)
(73) Патентообладатель(и):
Федеральный научно-производственный центр Открытое акционерное общество “Научно-производственное объединение “Марс” (ФНПЦ ОАО “НПО “Марс”) (RU), Общество с ограниченной ответственностью “РУНИК” (RU)
|
(54) СПОСОБ ЦИФРОВОГО СЖАТИЯ ПЕРВИЧНОЙ РАДИОЛОКАЦИОННОЙ ИНФОРМАЦИИ ДЛЯ ПЕРЕДАЧИ ПО КАНАЛУ ОБМЕНА
(57) Реферат:
Изобретение относится к оборудованию средств безопасности судовождения, обеспечивающему подготовку радиолокационной информации с использованием обработки информации в цифровом формате с помощью электронных устройств для ее передачи для отображения на экранах автоматизированных рабочих мест (АРМ). Данные для передачи готовят в цифровом формате в псевдологарифмическом масштабе. При этом для выбираемой серии масштабов отображения по дальности на экранах АРМ: определяют максимальную частоту дискретизации видеосигнала для минимального масштаба отображения по дальности; каждый последующий масштаб отображения на АРМ устанавливают как удвоенное значение предыдущего; период частоты дискретизации видеосигнала для каждого последующего масштаба отображения на АРМ устанавливают как удвоенное значение предыдущего; видеоинформацию для минимального масштаба отображения на АРМ составляют из информации, полученной из дискретизации видеосигнала на частоте дискретизации минимального масштаба отображения; видеоинформацию для каждого последующего масштаба отображения на АРМ составляют из двух частей. Младшую половину “развертки” по дальности составляют из суммарной информации предыдущих масштабов отображения, где каждый дискрет квантования по дальности собирают из дискретов квантования всех меньших по значению масштабов отображения дальности с учетом правила, определенного для накопителя информации в дискрете квантования. Старшую половину составляют из видеоинформации, обработанной на частоте дискретизации рассматриваемого масштаба отображения. Изобретение обеспечивает возможность отображения радиолокационной информации от нескольких РЛС разного типа на нескольких АРМ, работающих одновременно на разных масштабах дальности с качественным сохранением разрешающей способности экрана АРМ и использующих стандартные мониторы с протоколом SVGA и типовые интерфейсы. 1 ил.
Изобретение относится к оборудованию средств безопасности судовождения, обеспечивающему подготовку радиолокационной информации с использованием обработки информации в цифровом формате с помощью электронных устройств для ее передачи для отображения на экранах автоматизированных рабочих мест (АРМ), и может использоваться при проектировании новых и модернизации существующих систем и устройств обработки данных, специально полученных для обеспечения специфических функций.
Известен уплотненный канал обмена радиолокационной информацией (УКОПИ) от радиолокатора до выносных пультов, обеспечивающих отображение первичной радиолокационной информации, в котором для передачи радиолокационной информации по однопроводной линии связи используется способ временного уплотнения аналоговой и цифровой информации (см. ОСТ В 5.8819-89 Каналы ввода-вывода однопроводные обмена первичной радиолокационной информацией).
К причинам, препятствующим использование УКОПИ при создании новых средств коммутации и размножения первичной радиолокационной информации на группу АРМ, относится то, что при реализации оборудования коммутации и обмена первичной радиолокационной информацией в устройстве сопряжения с каждой радиолокационной станцией (РЛС) необходимо создавать отдельные специализированные каналы, обеспечивающие объединение аналоговой и цифровой информации для каждой РЛС, специализированные аналого-цифровые коммутаторы каналов для каждого АРМ, а также создание для каждого АРМ специализированного устройства обработки первичной радиолокационной информации для обеспечения функции отображения первичной радиолокационной информации от любого типа РЛС на стандартных мониторах с протоколом SVGA. При этом количество специализированных аналого-цифровых коммутаторов каналов должно соответствовать количеству АРМ в составе системы.
Для достижения возможности коммутации и размножения первичной радиолокационной информации на группу АРМ предлагается способ цифрового сжатия первичной радиолокационной информации, заключающийся в том, что при подготовке данных о первичной радиолокационной информации для передачи по типовому цифровому каналу типа Ethernet от устройства сопряжения и обработки до нескольких АРМ, обеспечивающих одновременное отображение первичной радиолокационной информации на разных масштабах дальности, данные для передачи готовятся в цифровом формате в псевдологарифмическом масштабе, суть которого заключается в том, что для выбираемой серии масштабов отображения по дальности на экранах АРМ определяются:
– для минимального масштаба отображения по дальности определяется максимальная частота дискретизации видеосигнала;
– каждый последующий масштаб отображения на АРМ является удвоенным значением предыдущего;
– период частоты дискретизации видеосигнала для каждого последующего масштаба отображения на АРМ является удвоенным значением предыдущего;
– видеоинформация для минимального масштаба отображения на АРМ состоит из информации, полученной из дискретизации видеосигнала на частоте дискретизации минимального масштаба отображения;
– видеоинформация для каждого последующего масштаба отображения на АРМ состоит из двух частей: младшая половина “развертки” по дальности состоит из суммарной информации предыдущих масштабов отображения, где каждый дискрет квантования по дальности должен собираться из дискретов квантования всех меньших по значению масштабов отображения дальности с учетом правила, определенного для накопителя информации в дискрете квантования, а старшая половина состоит из видеоинформации, обработанной на частоте дискретизации рассматриваемого масштаба отображения.
Основными ограничениями к выбору максимально допустимой частоты дискретизации являются:
– длительность зондирующего импульса;
– длительность радиуса развертки на минимальном масштабе отображения;
– аппаратное максимально разрешенное количество дискретов отображения на радиус экрана.
При этом для масштабов отображения дальности, на котором дискрет квантования масштаба дальности равен или превышает длительность зондирующего импульса, с целью исключения потери полезной информации вводится накопитель информации в дискрете квантования, обеспечивающий по выбору оператора АРМ накопление усредненного значения амплитуды выделенного сигнала или максимального значения амплитуды выделенного сигнала, зафиксированного в пределах дискрета квантования масштаба дальности.
Технический результат – возможность отображения радиолокационной информации от нескольких РЛС разного типа на нескольких АРМ, работающих одновременно на разных масштабах дальности с качественным сохранением разрешающей способности экрана АРМ и использующих стандартные мониторы с протоколом SVGA и типовые интерфейсы. Количество РЛС и АРМ определяется техническими требованиями к системе.
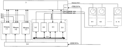
Структурная электрическая схема системы обработки радиолокационной информации от радиолокатора для передачи до АРМ, реализованная по предложенному способу цифрового сжатия первичной радиолокационной информации (фиг.1), состоит из:
1. Устройства радар-процессоров (1), которое состоит из нескольких радар-процессоров отображения (1-1, 1-2, 1-3), обеспечивающих сопряжения с РЛС и обработку радиолокационной информации в соответствии с заложенным алгоритмом преобразования радиолокационного сигнала по дальности, длительности, параметрам обнаружения полезных сигналов.
2. Устройства вычислительной машины (2), которое состоит из:
– центрального процессора (ЦП) с архитектурой “Intel” (2-1);
– двух адаптеров (2-2) Ethernet (основной и резервный), обеспечивающих связь ЦП внутри системы и с внесистемными абонентами;
– адаптера (2-3) Ethernet, обеспечивающего связь ЦП с коммутатором сети передачи первичной радиолокационной информации; объединенных внутренней шиной (2-5).
3. Коммутатора Ethernet (3), обеспечивающего две местных сети Ethernet с целью разделения информационных потоков внутри местных сетей.
4. Устройства электропитания устройства радар-процессоров, устройства вычислительной машины (2-4) и коммутатора Ethernet (3-1).
5. Нескольких унифицированных АРМ (4-1, 4-2, … 4-N).
Система передачи радиолокационной информации от радиолокатора до АРМ работает следующим образом.
В составе системы каждый радар-процессор отображения обеспечивает:
1. Сопряжение с собственной РЛС в соответствии с протоколом сопряжения.
2. Аналого-цифровое преобразование видеосигнала.
3. Селекцию сигналов по длительности с помощью цифрового селектора сигналов по длительности.
4. Свертку сигнала в пределах дискрета дальности с учетом масштабов отображения и его масштабирование в соответствии с правилами псевдологарифмического преобразования по масштабам дальности.
5. Накопление информации, прошедшей селекцию и свертку.
6. Предварительную обработку и выдачу в концентратор Ethernet для последующей обработки с помощью УВМ для передачи по сети Ethernet потребителям на АРМ.
Далее каждый АРМ обеспечивает прием по сети первичной радиолокационной информации в цифровом формате и ее обработку по алгоритмам обратного преобразования для отображения на экране монитора.
Формула изобретения
Способ цифрового сжатия первичной радиолокационной информации для передачи по каналу обмена типа Ethernet от устройства сопряжения и обработки до нескольких автоматизированных рабочих мест (АРМ), обеспечивающих одновременное отображение первичной радиолокационной информации на разных масштабах дальности, отличающийся тем, что данные для передачи готовят в цифровом формате в псевдологарифмическом масштабе, при этом для выбираемой серии масштабов отображения по дальности на экранах АРМ
определяют максимальную частоту дискретизации видеосигнала для минимального масштаба отображения по дальности;
каждый последующий масштаб отображения на АРМ устанавливают как удвоенное значение предыдущего;
период частоты дискретизации видеосигнала для каждого последующего масштаба отображения на АРМ устанавливают как удвоенное значение предыдущего;
видеоинформацию для минимального масштаба отображения на АРМ составляют из информации, полученной из дискретизации видеосигнала на частоте дискретизации минимального масштаба отображения;
видеоинформацию для каждого последующего масштаба отображения на АРМ составляют из двух частей: младшую половину “развертки” по дальности составляют из суммарной информации предыдущих масштабов отображения, где каждый дискрет квантования по дальности собирают из дискретов квантования всех меньших по значению масштабов отображения дальности с учетом правила, определенного для накопителя информации в дискрете квантования, а старшую половину составляют из видеоинформации, обработанной на частоте дискретизации рассматриваемого масштаба отображения.
РИСУНКИ
|