|
|
(21), (22) Заявка: 2005126691/28, 23.08.2005
(24) Дата начала отсчета срока действия патента:
23.08.2005
(46) Опубликовано: 27.03.2007
(56) Список документов, цитированных в отчете о поиске:
RU 2201576 C1, 27.03.2003. RU 2224977 С2, 27.02.2004. SU 1834488 A1, 27.04.1996. US 1356214 19.10.1920.
Адрес для переписки:
601900, Владимирская обл., г. Ковров, ул. Труда, 4, ОАО “Завод им. В.А. Дегтярева”, ОПЛИР
|
(72) Автор(ы):
Митин Анатолий Семенович (RU), Назарова Марина Викторовна (RU)
(73) Патентообладатель(и):
Открытое акционерное общество “Завод им. В.А. Дегтярева” (RU)
|
(54) СПОСОБ ИЗМЕРЕНИЯ ТОЛЩИНЫ НЕЖЕСТКИХ ТОНКОСТЕННЫХ КОЛЕЦ И УСТРОЙСТВО ДЛЯ ЕГО РЕАЛИЗАЦИИ
(57) Реферат:
Изобретение относится к измерительной технике. Сущность: цилиндрическую деталь устанавливают на базирующих элементах и фиксируют на части его длины, придавая ему в сечении форму окружности, как на зафиксированной части кольца, так и на выступающей части. Замер толщины производят на выступающей части тонкостенного кольца по окружности при вращении базирующих элементов вокруг продольной оси кольца и по длине при перемещении измерительного устройства вдоль оси кольца. Устройство для измерения толщины цилиндрической детали содержит основание, на котором размещены кронштейн, снабженный установленной на оси параллельной основанию измерительной головкой с закрепленными на ней базовым упором и индикатором, и базирующий узел в виде неподвижного корпуса, снабженный пазами. В цилиндрическом отверстии корпуса установлен шток с возможностью осевого перемещения относительно корпуса и с возможностью вращения вместе с корпусом. В пазах корпуса равномерно по окружности размещены кулачковые элементы в форме секторов для фиксации нежесткого тонкостенного кольца, на штоке выполнена коническая поверхность, а на подпружиненных к штоку секторах выполнена ответная клиновая поверхность. Технический результат: повышение производительности с обеспечением объективности измерений. 2 н.п. ф-лы, 2 ил.
Изобретение относится к измерительной технике, а именно к способам и устройствам для измерения линейных размеров.
Известен способ измерения толщины стенки пустотелой цилиндрической детали (см. патент RU 2201576, G 01 В 5/06, 5/02, 27.03.2003 г.), взятый за прототип. Способ включает установку измеряемой детали на роликовую опору (4 ролика) базирующего узла с точечным контактом на каждом ролике, затем измеряемую деталь прижимают точечным контактом к роликовой опоре базирующего узда с некоторым постоянным усилием. Далее базирующий узел с измеряемой деталью перемещают в зону измерения, вращают измеряемую деталь вокруг оси и производят замер толщины детали.
Известно устройство для измерения толщины стенки пустотелой цилиндрической детали (см. патент RU 2201576, G 01 В 5/06, 5/02, 27.03.2003 г.), взятый за прототип. Устройство содержит основание, на котором размещен кронштейн, снабженный установленной на оси параллельной основанию измерительной головкой с закрепленными на ней базовым упором и индикатором. На основании также расположен базирующий узел с роликовой опорой, имеющий с кронштейном возможность взаимоперемещения. Устройство снабжено установленным с возможностью вращения валом с прижимным роликом.
Недостатки известных способа и устройства заключаются в следующем:
– вышеописанные технические решения предназначены для точных измерений толщины стенки жестких деталей, а толщину нежестких цилиндрических деталей в форме тонкостенного кольца измерить практически невозможно. Даже незначительные усилия придают кольцу очертания, отличные от окружности в сечении, перпендикулярном к оси кольца, что исключает его способность к вращению вокруг своей оси. В известном устройстве фиксация кольца невозможна из-за его тонкой стенки и из-за очень малой жесткости. Усилие трения, возникающего в паре наконечник индикатора – базовый упор, еще более изменяет форму кольца – в результате, замер толщины невозможен.
Задача предлагаемых технических решений заключается в следующем: расширение диапазона измеряемых колец путем создания устройства и условий контроля нежестких тонкостенных колец для определения их толщины и разнотолшинности.
Технический результат, получаемый от использования изобретения заключается в обеспечении измерений и по окружности, и по длине тонкостенного кольца малой жесткости, повышение производительности контрольно-измерительных работ с обеспечением объективности измерений.
Указанный технический результат достигается тем, что в способе измерения толщины цилиндрической детали путем установки ее на базирующих элементах в измерительную позицию с последующим снятием показаний толщины с помощью измерительного устройства при взаимоперемещении последнего и базирующих элементов, новым является то, что цилиндрическую деталь в форме нежесткого тонкостенного кольца фиксируют на базирующих элементах на части его длины, придавая ему в сечении форму окружности как на зафиксированной части кольца, так и на выступающей части, на которой производят замер толщины по окружности при вращении базирующих элементов вокруг продольной оси кольца и по длине при перемещении измерительного устройства вдоль оси кольца.
Указанный технический результат достигается тем, что в устройстве для измерения толщины цилиндрической детали, содержащем основание, на котором размещены кронштейн, снабженный установленной на оси, параллельной основанию, измерительной головкой с закрепленными на ней базовым упором и индикатором, и базирующий узел, имеющий с кронштейном возможность взаимоперемещения, новым является то, что базирующий узел в виде неподвижного корпуса снабжен пазами, а в его цилиндрическом отверстии установлен шток с возможностью осевого перемещения относительно корпуса и с возможностью вращения вместе с корпусом, в пазах корпуса равномерно по окружности размещены кулачковые элементы в форме секторов для фиксации нежесткого тонкостенного кольца, на штоке выполнена коническая поверхность, а на подпружиненных к штоку секторах выполнена ответная клиновая поверхность.
Предлагаемые изобретения при контрольно-измерительных работах исключают влияние различных усилий, стремящихся изменить форму измеряемого тонкостенного кольца на отличную от окружности в сечении, перпендикулярном к оси кольца. В предлагаемых изобретениях измерение толщины осуществляют путем фиксации измеряемого кольца на части его длины, придавая ему в сечении форму окружности как на зафиксированной части кольца, так и на выступающей части, с обеспечением его поворота (вращения) вокруг продольной оси в таком состоянии. В результате, обеспечивается объективное точное измерение толщины стенки как по окружности, так и по длине кольца.
Таким образом, сравнение заявленных способа и устройства с прототипами позволило установить соответствие его критерию “новизна”.
При анализе уровня техники в данной области было выявлено, что заявленная совокупность существенных признаков обеспечивает данному изобретению соответствие критерию “изобретательский уровень”.
Предлагаемый способ осуществляется с помощью устройства для измерения толщины нежестких тонкостенных колец.
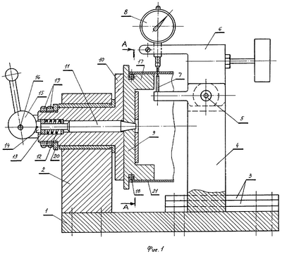
Сущность изобретения поясняется чертежами, где на фиг.1 изображен общий вид устройства для измерения толщины нежестких тонкостенных колец, а на фиг.2 – сечение А-А на фиг.1.
Устройство содержит основание 1 со стойкой 2 и направляющими 3 для кронштейна 4, в кронштейне 4 посредством оси 5 установлена измерительная головка 6 с закрепленным на ней базовым упором 7 и индикатором 8. В отверстии стойки 2 размещен базирующий узел 9, состоящий из пустотелого корпуса 10, в центральном отверстии которого размещены цилиндроконический шток 11 с возможностью осевого перемещения и вращения вместе с корпусом, возвратная пружина 12, шайба 13 и винт 14. Через торец винта 14 шток 11 взаимодействует с эксцентриком 15, закрепленным посредством оси 16 на стойке 2, конической поверхностью шток взаимодействует с кулачковыми элементами 17. Кулачковые элементы 17 представляют собой подпружиненные к штоку и размещенные равномерно в направляющих пазах корпуса 10 по окружности секторы, установленные с возможностью радиального перемещения и подпружиненные к штоку возвратной пружиной 18. Секторы выполнены с клиновыми поверхностями, которые являются ответными конической поверхности штока 11. Базирующий узел 9 закреплен на стойке 2 посредством гаек 19 и шайбы 20 с возможностью вращения вокруг продольной оси.
Предлагаемый способ измерения толщины нежестких тонкостенных колец реализуется следующим образом.
Поворотом эксцентрика 15 освобождают торец штока 11, который под воздействием возвратной пружины 12 перемещается влево, при этом секторы 17 под воздействием возвратной пружины 18 перемещаются к оси корпуса 10. На секторы 17 устанавливают измеряемое кольцо 21 частью его длины.
Поворотом эксцентрика 15 в обратную сторону перемещают шток 11 вправо, при этом секторы 17 закрепляют кольцо, придавая ему в сечении, перпендикулярном к оси кольца, форму окружности как на зафиксированной части, так и на выступающей части кольца.
Кронштейн 4 с измерительной головкой 6 перемещают по направляющим 3 вдоль оси измеряемого кольца 21, при этом базовый упор 7 контактирует с внутренним диаметром, а наконечник индикатора 8 с наружным диаметром кольца, базирующий узел 9 вращают вокруг продольной оси на один оборот, при этом измеряют толщину кольца в одном сечении, после чего смещают измерительную головку 6 вдоль кольца, измеряют толщину в другом сечении и так далее. На основании всех показаний определяют разнотолщинность.
Для измерения противоположной стороны измеряемого кольца, кольцо снимают, переворачивают и производят фиксацию обратной стороной.
Формула изобретения
1. Способ измерения толщины цилиндрической детали путем установки ее на базирующих элементах в измерительную позицию с последующим снятием показаний толщины с помощью измерительного устройства при взаимоперемещении последнего и базирующих элементов, отличающийся тем, что цилиндрическую деталь в форме нежесткого тонкостенного кольца фиксируют на базирующих элементах на части его длины, придавая ему в сечении форму окружности как на зафиксированной части кольца, так и на выступающей части, на которой производят замер толщины по окружности при вращении базирующих элементов вокруг продольной оси кольца и по длине при перемещении измерительного устройства вдоль оси кольца.
2. Устройство для измерения толщины цилиндрической детали, содержащее основание, на котором размещены кронштейн, снабженный установленной на оси параллельной основанию измерительной головкой с закрепленными на ней базовым упором и индикатором, и базирующий узел, имеющий с кронштейном возможность взаимоперемещения, отличающееся тем, что базирующий узел в виде неподвижного корпуса снабжен пазами, а в его цилиндрическом отверстии установлен шток с возможностью осевого перемещения относительно корпуса и с возможностью вращения вместе с корпусом, в пазах корпуса равномерно по окружности размещены кулачковые элементы в форме секторов для фиксации нежесткого тонкостенного кольца, на штоке выполнена коническая поверхность, а на подпружиненных к штоку секторах выполнена ответная клиновая поверхность.
РИСУНКИ
|
|