|
(21), (22) Заявка: 2005101631/03, 25.06.2002
(24) Дата начала отсчета срока действия патента:
25.06.2002
(43) Дата публикации заявки: 20.08.2005
(46) Опубликовано: 27.03.2007
(56) Список документов, цитированных в отчете о поиске:
GB 2041178 А, 30.01.1980. SU 1077430 C1, 15.09.1994. SU 1595165 С1, 15.10.1994. RU 2045746 С1, 10.10.1995. RU 2206062 С1, 10.06.2003. DE 9203603 U, 16.07.1992. WO 98/44309, 02.04.1998.
(85) Дата перевода заявки PCT на национальную фазу:
25.01.2005
(86) Заявка PCT:
FR 02/02199 (25.06.2002)
(87) Публикация PCT:
WO 2004/001329 (31.12.2003)
Адрес для переписки:
129010, Москва, ул. Б. Спасская, 25, стр.3, ООО “Юридическая фирма Городисский и Партнеры”, пат.пов. Ю.Д.Кузнецову, рег.№ 595
|
(72) Автор(ы):
ЛОБИ Шарль (FR)
(73) Патентообладатель(и):
СЕМА (FR)
|
(54) ЗАЩИТНОЕ УСТРОЙСТВО ДЛЯ ИЗОЛИРОВАНИЯ ВЗРЫВООПАСНЫХ ИЛИ ПОДОЗРИТЕЛЬНЫХ ПРЕДМЕТОВ
(57) Реферат:
Изобретение относится к защитным устройствам для изолирования взрывоопасных или подозрительных предметов. Защитное устройство для изолирования взрывоопасных или подозрительных предметов содержит цилиндрический кожух, открытый с осевых концов, и, по меньшей мере, одно защитное кольцо, содержащее несколько слоев ткани противоосколочного типа. Цилиндрический кожух выполнен с возможностью установки на поверхность одним из концов и удержания практически вертикально для изолирования подозрительного предмета, лежащего на земле. Устройство содержит второй цилиндрический кожух, охватывающий первый цилиндрический кожух и содержащий, по меньшей мере, одно защитное кольцо, содержащее несколько слоев ткани противоосколочного типа. При этом второй цилиндрический кожух выполнен с возможностью перемещения скольжением относительно первого цилиндрического кожуха. Защитное кольцо выполнено путем намотки ленты из ткани противоосколочного типа и содержит, по меньшей мере, один осевой крепежно-усилительный шов. Цилиндрический кожух содержит усилительное кольцо, содержащее, по меньшей мере, один слой из материала, обладающего жесткостью, достаточной для удержания цилиндрического кожуха в вертикальном положении при его установке на один из концов. Цилиндрический кожух содержит, по меньшей мере, один усилительный хомут, охватывающий цилиндрический кожух. Содержит внутренний защитный слой огнеупорного типа. Второй кожух, по меньшей мере, длиннее первого кожуха. Первый цилиндрический кожух и второй цилиндрический кожух соединены между собой гибкой связью. Длина гибкой связи рассчитана так, что при ее натяжении перекрывание первого цилиндрического кожуха вторым цилиндрическим кожухом сохраняется. Гибкая связь выполнена в виде кольцевой юбки или в виде множества клиньев. Изобретение обеспечивает эффективную защиту при возможном взрыве и препятствует распространению ударной волны и осколков. 8 з.п. ф-лы, 8 ил.
Область техники
Настоящее изобретение касается защитного устройства для изолирования взрывоопасных или подозрительных предметов.
Предшествующий уровень техники
В случае, когда обнаруживается подозрительный предмет, в частности, оставленный в общественном месте, то из предосторожности его не следует трогать или перемещать, при этом необходимо эвакуировать всех находящихся поблизости людей. Учитывая опасность возможного взрыва подозрительного предмета, его стараются изолировать, чтобы уменьшить последствия возможного взрыва.
Для этого подозрительный предмет можно накрыть защитным противоосколочным чехлом или закрыть его защитной противоосколочной ширмой.
Во время взрыва взрывного устройства во всех направлениях распространяется ударная волна, создающая значительные усилия, действующие на находящиеся на ее пути препятствия. Осколки тоже разлетаются во все стороны.
В случае использования защитного противоосколочного экрана (в виде накидки) этот экран может быть приподнят взрывом и таким образом препятствует выбросу осколков вверх, но не обеспечивает эффективной защиты в зоне, окружающей устройство в горизонтальном направлении, и не может воспрепятствовать распространению ударной волны. Кроме того, закрытое экраном взрывное устройство не доступно для визуального наблюдения, поэтому прибывшие для осмотра саперы испытывают страх в момент, когда в целях осмотра им приходится раскрывать предмет, что еще больше усугубляет для них стрессовую ситуацию.
В случае использования защитной ширмы она обеспечивает защиту только с одной стороны взрывоопасного предмета. Кроме того, во время взрыва существует опасность, что под действием ударной волны ширма может опрокинуться и перестать выполнять свои защитные функции.
Краткое изложение существа изобретения
Задачей настоящего изобретения является создание защитного устройства для изолирования взрывоопасных или похожих на них подозрительных предметов, обеспечивающего эффективную защиту при возможном взрыве предмета и препятствующего распространению ударной волны и осколков.
Защитное устройство согласно настоящему изобретению может быть использовано без вхождения саперов в контакт с подозрительным предметом и в то же время обеспечивает их более надежную защиту.
Защитное устройство для изолирования взрывоопасных или подозрительных предметов содержит открытый с двух осевых концов цилиндрический кожух, содержащий по меньшей мере один слой ткани типа противоосколочной ткани и выполненный с возможностью установки на поверхность одним из концов практически вертикально, охватывая подозрительный предмет, лежащий на поверхности.
Когда находящийся на поверхности предмет взрывается, ударная волна и осколки распространяются во всех направлениях, в частности, в основном в горизонтальном и вертикальном направлениях. Осколки и ударная волна распространяются вверх. Осколки и ударная волна, распространяющиеся вниз, отражаются от поверхности земли. Защита людей, которые могут находиться вблизи взрывоопасного предмета, в основном должна быть обеспечена таким образом, чтобы перекрыть распространение осколков и ударной волны в горизонтальном направлении.
Цилиндрический кожух выполнен с возможностью вертикальной установки охватывать предмет и без контакта с последним. Цилиндрический кожух с открытыми концами образует простую и очень прочную конструкцию по отношению к радиальным усилиям, направленным наружу и действующим на его внутреннюю стенку, удерживая осколки и ударную волну, распространяющиеся в радиальном направлении, то есть практически горизонтально. Таким образом, окружающее взрывоопасный предмет пространство оказывается защищенным.
Кроме того, установленный на место цилиндрический кожух содержит направленное вверх отверстие, которое не мешает распространению осколков и ударной волны вверх, обеспечивая отвод энергии взрыва в направлении, которое не представляет опасности для людей, находящихся в зоне вокруг взрывоопасного предмета.
Энергия распространяющихся вниз осколков и ударной волны по меньшей мере частично поглощается во время их отражения от земли.
Открытый с концов цилиндрический кожух оставляет саперам возможность визуального наблюдения и доступа к предмету с верхнего конца, в то же время защищая от горизонтального распространения ударной волны и осколков.
В предпочтительном варианте выполнения цилиндрический кожух содержит по меньшей мере одно противоосколочное кольцо, содержащее несколько слоев ткани противоосколочного типа. Цилиндрический кожух может содержать несколько концентричных противоосколочных колец для повышения защитной функции.
В другом варианте выполнения противоосколочный кожух образован обмоткой из ткани противоосколочного типа и содержит по меньшей мере один осевой крепежно-усилительный шов. Крепежно-усилительный шов позволяет удерживать намотанное противоосколочное кольцо. Кроме того, крепежно-усилительный шов локально повышает жесткость ткани противоосколочного типа, используемой для повышения жесткости противоосколочного кольца, обеспечивая лучшее удержание цилиндрического кожуха в вертикальном положении. Противоосколочное кольцо может содержать несколько осевых швов для повышения прочности и устойчивости кольца.
В другом варианте выполнения цилиндрический кожух содержит усилительное кольцо, содержащее по меньшей мере один слой материала, обладающего жесткостью, достаточной для удержания в вертикальном положении установленного цилиндрического кожуха. Например, можно использовать пластик, преимуществом которого является небольшой вес, что облегчает манипулирование цилиндрическим кожухом.
В варианте выполнения цилиндрический кожух содержит по меньшей мере один усилительный хомут, охватывающий цилиндрический кожух. Усилительный хомут повышает сопротивление цилиндрического кожуха внутренним напряжениям, создаваемым ударной волной взрыва и направленным радиально наружу.
Во время взрыва, чтобы перемещение вверх цилиндрического кожуха не привело к образованию промежуточного пространства между землей и нижним концом цилиндрического кожуха, устройство содержит первый цилиндрический кожух и второй цилиндрический кожух, охватывающий первый цилиндрический кожух, при этом второй цилиндрический кожух может скользить относительно первого цилиндрического кожуха.
Предпочтительно первый цилиндрический кожух и второй цилиндрический кожух соединены при помощи гибкой связи.
Чтобы избежать повреждения защитных колец огнем при взрыве зажигательного взрывного устройства, можно выполнить защитное устройство, содержащее один внутренний защитный слой огнеупорного типа. Огнеупорное покрытие может содержать алюминий. Например, можно предусмотреть огнеупорное покрытие в виде огнестойкой ткани, образующей внутреннюю стенку наружной оболочки цилиндрического кожуха.
Краткое описание чертежей
Настоящее изобретение и его преимущества будут более очевидны из нижеследующего подробного описания со ссылками на прилагаемые чертежи, на которых:
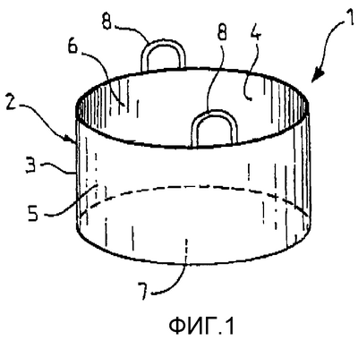
Фиг.1 изображает общий вид защитного устройства согласно изобретению;
Фиг.2 – разрез углового участка защитного устройства согласно изобретению;
Фиг.3 – общий вид обмотки, образующей защитное кольцо, согласно изобретению;
Фиг.4 – силы, действующие на участок защитного устройства во время взрыва взрывного устройства согласно изобретению;
Фиг.5 – общий вид второго варианта выполнения защитного устройства согласно изобретению;
Фиг.6 – осевой разрез второго варианта выполнения защитного устройства согласно изобретению;
Фиг.7 – силы, действующие на защитное устройство во время взрыва согласно изобретению;
Фиг.8 – разрез части устройства, показанного на фиг.7, согласно изобретению.
Описание предпочтительных вариантов воплощения изобретения
Защитное устройство 1 (фиг.1) для изолирования взрывоопасных или подозрительных предметов выполнено в виде многослойного цилиндрического кожуха 2, содержащего наружную оболочку 3 с внутренней стенкой 4 и наружной стенкой 5. На своих осевых концах цилиндрический кожух 2 содержит отверстия 6, 7. На верхнем конце цилиндрического кожуха 2 закреплены две ручки 8.
Многослойный цилиндрический кожух 2 содержит концентричные слои или кольца, входящие в состав оболочки 3. Цилиндрический кожух 2 содержит также противоосколочные кольца, препятствующие распространению осколков и ударной волны, а также усилительные кольца.
На фиг.2 показан разрез углового участка цилиндрического кожуха 2, позволяющий лучше понять многослойный состав цилиндрического кожуха 2.
Концентричные слои размещены последовательно от внутренней стороны цилиндрического кожуха 2 к его наружной стороне. Первый слой является внутренней стенкой 4 оболочки 3, которую предпочтительно выполняют из огнестойкой ткани или который содержит огнеупорное покрытие типа алюминия. Затем цилиндрический кожух 2 содержит три защитных кольца 9, выполненных концентрично внутри оболочки 3 из противоосколочных материалов, например типа материалов, используемых в пуленепробиваемых жилетах. Затем цилиндрический кожух 2 содержит усилительное кольцо 10 из полужесткого пластика и еще одно защитное кольцо 9, а также наружный слой 11, образующий оболочку 3 с внутренней стенкой 4 и содержащий наружную поверхность 5. Наружный слой 11 может быть выполнен из любого материала или ткани.
Защитное кольцо 9 (фиг.3) выполнено путем намотки ленты 12 из противоосколочной ткани и представляет собой многослойное защитное кольцо, в данном случае содержащее два слоя. Лента 12 из противоосколочной ткани удерживается в намотанном состоянии при помощи осевого крепежно-усилительного шва 13, проходящего через разные слои противоосколочной ткани, скрепляя между собой концы ленты 12, расположенные радиально друг против друга. Второй крепежно-усилительный шов 14, диаметрально противоположный первому шву 12, предназначен для дополнительного крепления и усиления защитного кольца 9.
Защитное кольцо 9 может содержать любое количество слоев в зависимости от требуемой степени защиты и от количества различных используемых колец. Можно предусмотреть только одно толстое защитное кольцо.
Если цилиндрический кожух 2 обладает достаточной устойчивостью, когда его устанавливают вертикально на один из осевых концов, то усилительное кольцо 10 не обязательно.
Когда на какой-либо поверхности обнаруживают взрывоопасный или подозрительный предмет, то для обеспечения безопасности необходимо очистить близлежащую зону или как можно скорее изолировать предмет при помощи цилиндрического кожуха 2, стараясь по мере возможности не прикасаться к этому предмету.
На фиг.4 показан цилиндрический кожух 2, установленный на земле и охватывающий взрывоопасный предмет, условно показанный кружком 15.
Во время взрыва предмета 15 во всех направлениях распространяется ударная волна, которая действует значительными усилиями на встречающиеся на ее пути препятствия. Во всех направлениях также разлетаются осколки.
Для простоты изложения ударная волна обозначена стрелками, символизирующими создаваемые усилия. Для простоты пояснения будем считать, что силы действуют в вертикальном и горизонтальном направлениях.
На фиг.4 силы, направленные вертикально вверх, обозначены стрелкой Fvh, силы, направленные вертикально вниз, обозначены стрелкой Fvb, а силы, направленные горизонтально, обозначены стрелками FH.
Когда одна из сил встречает на своем пути препятствие, она стремится его оттолкнуть до тех пор, пока сопротивление, оказываемое препятствием, не превышает значение этой силы, при этом возникает реактивная сила противоположного направления. Каждое отражение ударной волны частично поглощает энергию взрыва. Отраженные силы обозначены пунктирными стрелками.
В случае, когда предмет 15 находится на земле, направленные вниз силы Fvb отражаются от земли, причем земля оказывает большое сопротивление. Направленные вверх силы Fvh свободно выходят через верхнее отверстие 6 цилиндрического кожуха 2.
Возникающие при взрыве горизонтальные силы FH распространяются радиально практически симметрично и встречают на своем пути внутреннюю стенку 4 цилиндрического кожуха 2. Кожух 2, содержащий ткани и, возможно, полужесткое усилительное кольцо, может иметь практически овальную, эллипсоидную или цилиндрическую форму, обеспечивающую эффективное сопротивление радиальным силам. При необходимости полужесткий кожух может деформироваться под действием ударной волны, оказывая еще большее сопротивление внутренним напряжениям, создаваемым горизонтальными силами FH.
Чтобы обеспечить сопротивление большим напряжениям, выполняют защитные кольца. Цилиндрический кожух 2 удерживает внутри ударную волну и осколки. Вследствие этого горизонтальные силы FH отражаются вовнутрь и частично поглощаются. Последовательные отражения горизонтальных сил FH внутрь цилиндрического кожуха 2 позволяют поглощать и рассеивать энергию горизонтального распространения, создаваемую взрывом.
Направленные вверх вертикальные силы Fvh, а также направленные вниз и отраженные землей вертикальные силы Fvb могут свободно выходить через верхнее отверстие 6 цилиндрического кожуха 2.
Защитное устройство для изолирования взрывоопасного или похожего на него подозрительного предмета может быть использовано как внутри здания, так и снаружи, при этом для рассеивания части энергии, создаваемой взрывом, служит сопротивление земли или пола.
Цилиндрический кожух 2 (фиг.5) содержит хомуты 19, охватывающие цилиндрический кожух 2. Хомуты 19 обеспечивают более высокую механическую прочность кожуха для сдерживания взрывной ударной волны.
В варианте, представленном на фиг.6, защитное устройство 1 содержит первый цилиндрический кожух 2 и второй цилиндрический кожух 20, имеющий меньшую длину по сравнению с первым кожухом 2 и охватывающий нижний конец первого цилиндрического кожуха 2. Второй цилиндрический кожух 20 может перемещаться скольжением относительно первого цилиндрического кожуха 2.
Второй цилиндрический кожух 20 имеет конструкцию, аналогичную первому цилиндрическому кожуху 2, и содержит, в частности, защитные кольца (на фиг.6 не показаны).
Во время взрыва может произойти некоторое перемещение вверх цилиндрического кожуха 2 (фиг.7) в результате действия вертикальных сил на внутреннюю стенку 4 первого цилиндрического кожуха 2 или действия реактивной силы, возникшей в результате отражения вертикальных сил, направленных вниз. В этом случае возникает опасность распространения ударной волны между нижним краем первого цилиндрического кожуха 2 и землей, а также распространения через это пространство осколков в горизонтальном направлении.
В этом случае второй цилиндрический кожух 20, выполненный с возможностью скольжения вдоль первого цилиндрического кожуха 2 и не подвергнувшийся прямому воздействию взрыва, остается неподвижным на земле. Второй цилиндрический кожух 20 препятствует таким образом горизонтальному распространению ударной волны и разлетающихся осколков.
Гибкая связь 21 (фиг.8) соединяет нижний край первого цилиндрического кожуха 2 и верхний край второго цилиндрического кожуха 20. Гибкая связь 21 в виде кольцевой юбки или в виде множества клиньев содержит край, пришитый к наружной поверхности 5 первого цилиндрического кожуха 2, и противоположный край, пришитый к внутренней стенке 22 второго цилиндрического кожуха 20.
Предпочтительно длину гибкой связи 21 рассчитывают таким образом, чтобы, когда первый цилиндрический кожух перемещается относительно второго цилиндрического кожуха вплоть до натяжения гибкой связи 21, сохранялось перекрывание первого цилиндрического кожуха 2 вторым цилиндрическим кожухом 20 для избежания образования зазора.
Цилиндрический кожух 2 может иметь разные размеры в зависимости от размера изолируемого взрывоопасного предмета. В целях более эффективного обеспечения безопасности можно изолировать взрывоопасный предмет при помощи цилиндрических кожухов разных размеров, последовательно устанавливая их концентрично и образуя таким образом несколько защитных барьеров, чтобы избежать горизонтального распространения ударной волны и осколков, если в момент взрыва центральный цилиндрический кожух слегка приподнимается.
Цилиндрический кожух 2, охватывающий взрывоопасный предмет, во время взрыва препятствует горизонтальному распространению осколков, но не мешает им вылетать вверх или ударяться об землю. Направленные вертикально силы, создаваемые ударной волной, и осколки встречают на своем пути либо землю, либо потолок, которые представляют собой достаточно прочные структуры, легко останавливающие ударную волну и осколки. Кроме того, цилиндрический кожух сдерживает и рассеивает ударную волну в горизонтальном направлении, а также разлетающиеся в горизонтальном направлении осколки. Цилиндрический кожух обеспечивает повышенную защиту в горизонтальном направлении для обеспечения безопасности людей и целостности оборудования, расположенного вокруг взрывного устройства.
Формула изобретения
1. Защитное устройство для изолирования взрывоопасных или подозрительных предметов, содержащее цилиндрический кожух (2), открытый с осевых концов, и по меньшей мере одно защитное кольцо (9), содержащее несколько слоев ткани противоосколочного типа, причем цилиндрический кожух (2) выполнен с возможностью установки на поверхность одним из концов и удержания практически вертикально для изолирования подозрительного предмета, лежащего на земле, отличающееся тем, что содержит второй цилиндрический кожух (20), охватывающий первый цилиндрический кожух (2) и содержащий по меньшей мере одно защитное кольцо, содержащее несколько слоев ткани противоосколочного типа, при этом второй цилиндрический кожух (20) выполнен с возможностью перемещения скольжением относительно первого цилиндрического кожуха (2).
2. Устройство по п.1, отличающееся тем, что защитное кольцо (9) выполнено путем намотки ленты (12) из ткани противоосколочного типа и содержит по меньшей мере один осевой крепежно-усилительный шов (13, 14).
3. Устройство п.1, отличающееся тем, что цилиндрический кожух (2) содержит усилительное кольцо (10), содержащее по меньшей мере один слой из материала, обладающего жесткостью, достаточной для удержания цилиндрического кожуха (2) в вертикальном положении при его установке на один из концов.
4. Устройство по п.1, отличающееся тем, что цилиндрический кожух (2) содержит, по меньшей мере, один усилительный хомут, охватывающий цилиндрический кожух (2).
5. Устройство по п.1, отличающееся тем, что содержит внутренний защитный слой огнеупорного типа.
6. Устройство по п.1, отличающееся тем, что второй кожух по меньшей мере длиннее первого кожуха.
7. Устройство по любому из пп.1-6, отличающееся тем, что первый цилиндрический кожух (2) и второй цилиндрический кожух (20) соединены между собой гибкой связью (21).
8. Устройство по п.7, отличающееся тем, что длина гибкой связи рассчитана так, что при ее натяжении перекрывание первого цилиндрического кожуха вторым цилиндрическим кожухом сохраняется.
9. Устройство по п.7, отличающееся тем, что гибкая связь выполнена в виде кольцевой юбки или в виде множества клиньев.
Приоритет: 25.06.2002 по пп.1-9.
РИСУНКИ
|