|
|
(21), (22) Заявка: 2006105053/02, 20.02.2006
(24) Дата начала отсчета срока действия патента:
20.02.2006
(46) Опубликовано: 27.03.2007
(56) Список документов, цитированных в отчете о поиске:
RU 2113290 C1, 20.06.1998. RU 2195630 C1, 27.12.2002. RU 2056035 C1, 10.03.1996. DE 4010757 C1, 01.08.1991. GB 1010705 A, 24.11.1965.
Адрес для переписки:
105005, Москва, Лефортовская наб., 1, ГНУ “НИИЭМ МГТУ им.Н.Э.Баумана”
|
(72) Автор(ы):
Крылов Владимир Иванович (RU), Томак Виктор Иванович (RU), Ягодников Дмитрий Алексеевич (RU), Мелешко Владимир Юрьевич (RU), Горбачев Валентин Александрович (RU), Карелин Валерий Александрович (RU), Кирий Геннадий Владимирович (RU)
(73) Патентообладатель(и):
Государственное научное учреждение “Научно-исследовательский институт энергетического машиностроения Московского государственного технического университета им. Н.Э. Баумана Минобразования РФ” (RU)
|
(54) УСТРОЙСТВО ДЛЯ ОЧИСТКИ ВНУТРЕННИХ ПОВЕРХНОСТЕЙ ТРУБОПРОВОДОВ И ЕМКОСТЕЙ СЛОЖНОЙ КОНФИГУРАЦИИ, ПРЕИМУЩЕСТВЕННО БОЕПРИПАСОВ
(57) Реферат:
Изобретение относится к различным областям промышленности, а именно к инструментам, используемым для разрушения различных типов материалов высокоскоростными жидкостными кавитирующими струями, и может быть применено для удаления этих материалов из внутренних объемов емкостей сложной конфигурации, преимущественно для расснаряжения боеприпасов (боеголовок, снарядов, ракет) или очистки трубопроводов от нежелательных отложений. Устройство содержит средство подачи жидкости высокого давления с системой управления, подключенное с помощью трубопровода к внутренней полости многосоплового блока генераторов кавитирующих струй жидкости, при этом оси генераторов многосоплового блока расположены по касательным к винтовым линиям, диаметр которых равен dв=dб-[dг+1-4 мм], где dв – диаметр винтовой линии, dб – диаметр многосоплового блока, dг – диаметр генератора кавитирующих струй жидкости. Предлагаемое изобретение позволяет компактно, на минимально возможном габаритном размере блока, разместить большое количество наиболее эффективно работающих генераторов кавитирующих струй жидкости с возможностью их периодической замены. 2 з.п. ф-лы, 4 ил.
Изобретение относится к различным областям промышленности, а именно к инструментам, используемым для разрушения различных типов материалов высокоскоростными жидкостными кавитирующими струями, и может быть применено для удаления этих материалов из внутренних объемов емкостей сложной конфигурации, преимущественно для расснаряжения боеприпасов (боеголовок, снарядов, ракет) или очистки трубопроводов от нежелательных отложений.
Ближайшим аналогом к предложенному изобретению является устройство для очистки внутренних поверхностей с использованием эффекта кавитации жидкости, описанное в патенте RU 2113290, опубл. 1998 г. Это устройство состоит из системы подачи жидкости высокого давления с аппаратурой управления и многосоплового генератора кавитации жидкости, который имеет несколько боковых отверстий, выполненных в виде пороговых элементов, состоящих из входной части, оканчивающейся уступом, расширяющимся к выходу.
Недостатком указанного технического решения является то, что, как показали наши исследования, эффективность работы генератора, имеющего такие отверстия, очень низкая. Более эффективными для разрушения материалов являются генераторы кавитирующих струй, в которых эффект кавитации из-за высокой степени разрежения в полости между цилиндрической, выравнивающей поле скоростей жидкости, частью генератора и входным отверстием диффузора проявляется наиболее интенсивно. Но конструктивно с высокой степенью точности изготовить такие генераторы из одной детали очень сложно, особенно сложно в составе многосоплового генератора.
Технической задачей предлагаемого изобретения является повышение эффективности очистки внутренних объемов при уменьшении габаритов многосоплового блока, особенно для расснаряжения гексогеносодержащих боеприпасов различного калибра.
Поставленная задача решается тем, что устройство для очистки внутренних поверхностей трубопроводов и емкостей сложной конфигурации, преимущественно боеприпасов, путем гидрокавитационного удаления материалов из внутренних объемов содержит средство подачи жидкости высокого давления с системой управления, подключенное с помощью трубопровода к внутренней полости многосоплового блока генераторов кавитирующих струй жидкости, при этом оси генераторов многосоплового блока расположены по касательным к винтовым линиям, диаметр которых равен dв=dб-[dг+1-4 мм], где dв – диаметр винтовой линии, dб – диаметр многосоплового блока, dг – диаметр генератора кавитирующих струй жидкости.
Оси генераторов могут быть расположены по касательным к винтовым линиям различных диаметров и с одинаковыми или различными шагами.
Наиболее технологично такие генераторы изготавливать из двух или нескольких деталей и устанавливать их в многосопловой блок. Генераторы в блоке могут устанавливаться путем запрессовки, на резьбовом соединении, с помощью пайки или каким-либо другим способом. Тем более внутренние поверхности генераторов после длительной работы могут иметь эрозионный износ, что потребует их периодической замены, и их конструкция должна позволять осуществить этот процесс.
Предлагаемое изобретение позволяет компактно, на минимально возможном габаритном размере блока, разместить большое количество наиболее эффективно работающих генераторов кавитирующих струй жидкости с возможностью их периодической замены.
Сущность заявленного изобретения поясняется с помощью графических материалов.
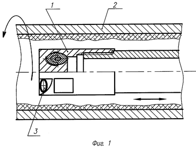
На фиг.1 блок 1 генераторов кавитации 3, расположенный внутри трубы 2, на фиг.2 приведена винтовая линия с диаметром d и шагом h, по касательным к которой ориентированы оси а-а генераторов кавитации 3, на фиг.3 (а) приведен блок генераторов кавитации, оси которых расположены по касательным к винтовым линиям различных диаметров и шагов (вид спереди), на фиг.3 (б) – вид сбоку блока генратора кавитации на фиг.3 (а), на фиг.3 (в) – разрез А-А на фиг.3 (а), а на фиг.3 (г) – разрез Б-Б на фиг.3(а), на фиг.4 (а) – разрез В-В и фиг.4 (б) (вид спереди) приведен блок генераторов кавитации с диаметром d, оси которых расположены по касательным к винтовой линии с диаметром d.
Устройство работает следующим образом.
Рабочая жидкость, например вода, насосом высокого давления (15÷25 МПа) по трубопроводу подается во внутреннюю полость блока генераторов кавитации 1.
С помощью системы управления блок вводится в полость очищаемой емкости или внутрь трубопровода 2 и двигается поступательно. Очищаемая емкость или трубопровод приводится во вращение. Таким образом, генераторы кавитации 3 в процессе работы двигаются по отношению к обрабатываемой поверхности по винтовым линиям.
В связи с тем, что рабочая жидкость вместе с разрушаемым материалом удаляется из зоны воздействия на материал через щель между корпусом блока генераторов и внутренней стенкой обрабатываемой трубы или емкости, при наличии крупных кусков материала щель может забиваться, что приведет к аварийному останову установки. Уменьшение величины фрагментов разрушаемого материала можно добиться путем увеличения количества генераторов в составе блока и более равномерного разрушения материала.
Наиболее компактно, на минимально возможном габаритном размере многосоплового блока генераторов кавитирующих струй, можно разместить большое количество генераторов и направить кавитирующие струи жидкости в конкретное место на обрабатываемой поверхности, если оси генераторов расположить по касательной к винтовым линиям, имеющим диаметр dв меньше внешнего диаметра соплового блока dб на величину внешнего диаметра генератора кавитации жидкости dг плюс 1÷4 мм из условий прочности конструкции (dб-[dг+1-4 мм]). Шаг винтовой линии h, по касательной к которой расположена ось генератора, выбирается таким образом, чтобы расстояние от выходного отверстия генератора до обрабатываемой поверхности было оптимальным с точки зрения наиболее эффективной работы генератора. В зависимости от задач, решаемых с помощью такого соплового блока (трубопровод или емкость заполнена полностью удаляемым материалом или только их внутренние стенки), каждый генератор на одном сопловом блоке может быть расположен по разному, т.е. их оси могут быть расположены по касательным к винтовым линиям одного шага или к винтовым линиям различных диаметров и шагов. За счет этого можно добиться равномерного удаления материала в труднодоступных участках очищаемых трубопроводах или емкостях, особенно при расснаряжении гексогеносодержащих боеприпасов различного калибра.
Формула изобретения
1. Устройство для очистки внутренних поверхностей трубопроводов и емкостей посредством гидрокавитационного удаления материалов из внутренних объемов, содержащее средство подачи жидкости высокого давления с системой управления, подключенное с помощью трубопровода к внутренней полости многосоплового блока генераторов кавитирующих струй жидкости, отличающееся тем, что оси генераторов многосоплового блока расположены по касательным к винтовым линиям, диаметр которых равен dв=dб-[dг+1…4 мм], где dв – диаметр винтовой линии, dб – диаметр многосоплового блока, dг – диаметр генератора кавитирующих струй жидкости.
2. Устройство по п.1, отличающееся тем, что оси генераторов расположены по касательным к винтовым линиям различных диаметров с одинаковыми или различными шагами.
3. Устройство по п.1, отличающееся тем, что оно используется для очистки боеприпасов.
РИСУНКИ
MM4A – Досрочное прекращение действия патента СССР или патента Российской Федерации на изобретение из-за неуплаты в установленный срок пошлины за поддержание патента в силе
Дата прекращения действия патента: 21.02.2008
Извещение опубликовано: 10.12.2009 БИ: 34/2009
NF4A – Восстановление действия патента СССР или патента Российской Федерации на изобретение
Дата, с которой действие патента восстановлено: 20.09.2010
Извещение опубликовано: 20.09.2010 БИ: 26/2010
|
|