|
|
(21), (22) Заявка: 2005119215/02, 22.06.2005
(24) Дата начала отсчета срока действия патента:
22.06.2005
(46) Опубликовано: 27.03.2007
(56) Список документов, цитированных в отчете о поиске:
ГУТЕНКО П.Д., МАТИН Г.А. “Минное оружие”, М., ДОСААФ СССР, 1988, с.47. RU 2178135 C1, 10.01.2002. US 4979444 A, 25.12.1990. US 3921528 A, 25.11.1975. DE 4038745 A1, 11.06.1992.
Адрес для переписки:
105005, Москва, Госпитальный пер., НИИ СМ МГТУ им. Н.Э. Баумана
|
(72) Автор(ы):
Одинцов Владимир Алексеевич (RU), Бубнов Михаил Александрович (RU), Метасов Владимир Федорович (RU)
(73) Патентообладатель(и):
Научно-исследовательский институт специального машиностроения Московского государственного технического университета им. Н.Э. Баумана (RU)
|
(54) ИНЖЕНЕРНАЯ ОСКОЛОЧНАЯ МИНА “МОКОШЬ”
(57) Реферат:
Изобретение относится к боеприпасам, в частности к «прыгающим» минам. Сущность изобретения заключается в том, что инженерная осколочная мина содержит вышибной стакан со вставленным в него осколочным зарядом и устройство выброса заряда из стакана. Осколочный заряд выполнен в виде двух шарнирно соединенных полуцилиндров, каждый из которых представляет собой самостоятельный осколочный заряд. Мина является адаптивной и в зависимости от установки может использоваться для реализации как круговых, так и направленных осколочных полей. Реализация изобретения позволяет расширить тактические возможности применения мины. 6 з.п. ф-лы, 4 ил.
Изобретение относится к боеприпасам, а более конкретно – к инженерным минам с подбрасываемым осколочным зарядом.
Осколочная выпрыгивающая противопехотная мина ОЗМ-72 с круговым осколочным полем (см. П.Д.Гутенко, Г.А.Матин. Минное оружие. М.: ДОСААФ СССР, 1988) включает в себя цилиндрический корпус, являющийся одновременно вышибным стаканом, вставленный в него осколочный заряд, состоящий из корпуса, слоя готовых поражающих элементов и заряда ВВ, а также взрывателя, соединенного тросиком с дном вышибного стакана. Осколочный заряд выбрасывается вышибным пороховым зарядом, приводимым в действие капсюлем-воспламенителем, срабатывающим от натяжения проволоки.
Недостатки мин с круговым полем поражения общеизвестны:
– низкая плотность осколочного поля, что не позволяет обеспечить надежное перекрытие наиболее угрожаемых направлений;
– определенная опасность для своих войск при расположении минных полей в районах непосредственного соприкосновения с противником.
Именно эти обстоятельства заставляют иметь на вооружении, по крайней мере, два типа противопехотных мин – мины с круговым полем поражения типа ОЗМ-4, ОЗМ-72 и мины с направленным полем поражения типа МОН-100, МОН-50, МОН-90, что усложняет производство и снабжение войск. Настоящее изобретение направлено на устранение указанного недостатка.
Техническое решение состоит в том, что выбрасываемый осколочный заряд выполняется в виде двух шарнирно соединенных полуцилиндров, при этом плоскость разъема полуцилиндров располагается по линии натяжения проволоки, а шарнир обращен в сторону натяжной проволоки, снабжен механическим или пиротехническим устройством раскрытия полуцилиндров и переключателем вида осколочного поля.
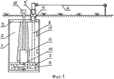
Фиг.1 – продольное сечение мины, установленной в грунте; фиг.2 – поперечное сечение осколочного заряда в сложенном виде; фиг.3 – поперечное сечение осколочного заряда в раскрытом виде; фиг.4 – схема действия мины при установке на направленное осколочное действие.
Мина (фиг.1) включает в себя вышибной стакан 1 и вставленный в него раскрываемый осколочный заряд 2. На крышке 3 стакана размещен капсюль-воспламенитель 4 с ударным механизмом 5, приводимым в действие натяжной проволокой 6. В пространстве между дном заряда 2 и дном вышибного стакана 1 размещен вышибной заряд пороха 7, соединенный трубкой 8 с капсюлем-воспламенителем 4, и тросик 9, соединенный нижним концом с дном стакана, а верхним – с вилочной чекой 10. Исполнительный механизм 11 раскрытия мины и подрыва, включающий ударный механизм, капсюль-воспламенитель пиротехнического заряда, замедлитель и детонатор, установлен в одном из полуцилиндров заряда и соединен с штоком переключателя установки 12, выведенным на крышку мины.
На фиг.2 показано поперечное сечение осколочного заряда. Корпус цилиндра имеет две тонкостенных оболочки 13, пространство между которыми заполнено готовыми поражающими элементами 14, и плоскую стенку 15. Внутренняя полость полуцилиндра заполнена зарядом ВВ 16. Полуцилиндры соединены шарнирами 17. Заряд снабжен стопорами, фиксирующими полуцилиндры в раскрытом состоянии (фиг.3).
Мина устанавливается в грунт таким образом, что плоскость разъема располагается по линии натяжной проволоки, а шарнир обращен в сторону проволоки. При установке переключатель 12 устанавливается в одно из двух положений:
– подрыв с формированием кругового осколочного поля;
– подрыв с формированием направленного осколочного поля.
При задевании натяжной проволоки воспламеняется вышибной пороховой заряд 7, продуктами сгорания которого осколочный заряд 2 выбрасывается из стакана 1 вверх. После разматывания тросика 9 на полную длину в случае установки «круговое поле» происходит непосредственная передача воспламенения на капсюль-детонатор и подрыв с формированием кругового поля.
В случае установки переключателя в режим «направленное поле» после разматывания тросика 9 вилочная чека 10 расцепляет полуцилиндры с одновременным воспламенением пиротехнического заряда, раскрывающего осколочный заряд путем поворота полуцилиндров вокруг шарниров. После раскрытия через замедлитель осуществляется подрыв капсюля-детонатора с формированием направленного поля (фиг.4). Передача детонации на второй полуцилиндр осуществляется через контактную поверхность 18.
Таким образом, мина является адаптивной, т.е. в зависимости от установки может использоваться для реализации как круговых, так и направленных осколочных полей, что значительно расширяет тактические возможности ее применения. По габаритам и значительной части узлов она унифицирована со штатной миной ОЗМ-72.
Формула изобретения
1. Инженерная осколочная мина, содержащая вышибной стакан со вставленным в него осколочным зарядом, содержащим слой готовых поражающих элементов, заряд взрывчатого вещества и взрыватель, соединенный тросиком с дном вышибного стакана, вышибной пороховой заряд и капсюль-воспламенитель, срабатывающий от натяжения натяжной проволоки, отличающаяся тем, что осколочный заряд выполнен в виде двух шарнирно соединенных полуцилиндров, каждый из которых представляет собой самостоятельный осколочный заряд, при этом плоскость разъема полуцилиндров расположена по линии натяжной проволоки, шарнир обращен в сторону натяжной проволоки, а мина снабжена исполнительным механизмом раскрытия полуцилиндров и подрыва и переключателем вида осколочного поля.
2. Мина по п.1, отличающаяся тем, что осколочный заряд снабжен механическим или пиротехническим стопором, фиксирующим полуцилиндры в раскрытом состоянии.
3. Мина по п.1, отличающаяся тем, что исполнительный механизм раскрытия полуцилиндров и подрыва размещен в одном из полуцилиндров, включает в себя ударный механизм, освобождаемый чекой, капсюль-воспламенитель, пиротехнический заряд, замедлитель, детонатор и соединен с переключателем вида осколочного поля.
4. Мина по п.1, отличающаяся тем, что конец тросика, направленный к полуцилиндрам, снабжен вилкой, один зуб которой входит в исполнительный механизм и выполняет функцию чеки, а другой зуб входит в другой полуцилиндр.
5. Мина по п.1, отличающаяся тем, что части полуцилиндров, прилегающие к шарнирам, выполнены с возможностью передачи детонации между полуцилиндрами.
6. Мина по п.1, отличающаяся тем, что время горения замедлителя примерно равно времени раскрытия полуцилиндров.
7. Мина по п.1, отличающаяся тем, что она выполнена с возможностью исключения вращения осколочного заряда при его движении в стакане, например, за счет снабжения их парой «продольный паз – ведущий выступ».
РИСУНКИ
MM4A – Досрочное прекращение действия патента СССР или патента Российской Федерации на изобретение из-за неуплаты в установленный срок пошлины за поддержание патента в силе
Дата прекращения действия патента: 23.06.2007
Извещение опубликовано: 20.02.2009 БИ: 05/2009
|
|