|
|
(21), (22) Заявка: 2005126690/06, 23.08.2005
(24) Дата начала отсчета срока действия патента:
23.08.2005
(46) Опубликовано: 27.03.2007
(56) Список документов, цитированных в отчете о поиске:
RU 2094711 С1, 27.10.1997. RU 2197688 C1, 27.01.2003. RU 23098 U1, 20.05.2002. US 5188090 А, 23.02.1993. US 4590918 A, 27.05.1986.
Адрес для переписки:
601900, Владимирская обл., г. Ковров, ул. Труда, 4, ОАО “Завод им. В.А. Дегтярева”, ОПЛИР
|
(72) Автор(ы):
Мосалёв Сергей Михайлович (RU), Наумов Виктор Иванович (RU), Сыса Виктор Павлович (RU)
(73) Патентообладатель(и):
Открытое акционерное общество “Завод им. В.А. Дегтярева” (RU)
|
(54) УСТРОЙСТВО ДЛЯ НАГРЕВА ЖИДКОСТИ
(57) Реферат:
Изобретение относится к теплотехнике, а именно к теплогенераторам, и может быть использовано для отопления помещений любого назначения, для горячего водоснабжения, подогрева технологических жидкостей. Технический результат: повышение эффективности нагрева жидкости, повышение механической надежности устройства при одновременном упрощении конструкции. Устройство для нагрева жидкости содержит неподвижный корпус, состоящий из цилиндрического корпуса и двух симметричных относительно корпуса крышек, цилиндрическую полость. В корпусе жестко установлена гильза со сквозными отверстиями, расположенными параллельными диаметральными рядами, ограниченными корпусом. Внутри цилиндрической полости гильзы и крышек установлен с возможностью вращения ротор, выполненный в виде полого цилиндра, закрепленного на валу, который посредством муфты связан с электродвигателем. Совместно с крышками выполнены втулки, предназначенные для установки подшипников и торцевых уплотнений, размещенных в камере. По центру цилиндрической поверхности корпуса и гильзы под углом по направлению вращения ротора выполнен выпускной канал, а впускные каналы размещены симметрично относительно корпуса на втулках крышек и связаны гидравлически с камерой для установки торцевых уплотнений, которая в свою очередь соединена с цилиндрической полостью. На торцах ротора и противолежащих им поверхностях крышек выполнены глухие отверстия, имеющие форму цилиндрической поверхности без фасок и скруглений и размещенные по окружности в виде радиальных рядов. На цилиндрической поверхности ротора размещены аналогичные отверстия параллельными диаметральными рядами. 2 ил.
Изобретение относится к теплотехнике, а именно к теплогенераторам, и может быть использовано для основного и резервного отопления помещений любого назначения, для горячего водоснабжения, подогрева технологических жидкостей.
Известен нагреватель жидкого теплоносителя (см. патент RU №2094711, МПК F 24 J 3/00, от 27.10.97 г.), содержащий камеру, снабженную патрубками подвода и отвода жидкости, установленный в камере ротор в виде закрепленных на вале перфорированных дисков. В камере дополнительно закреплены пары неподвижных перфорированных дисков, в каждом из которых между последними с образованием зазоров для прохождения жидкости установлен соответствующий диск ротора.
Недостатком данного устройства является сложность конструкции из-за большого количества дисков.
Известно устройство для нагревания текучей среды (см. патент US №5188090, F 24 С 9/00, от 23.02.93 г.), принятое за прототип. Устройство состоит из цилиндрического ротора, у которого цилиндрическая поверхность имеет определенное число отверстий. Ротор вращается внутри корпуса, чья внутренняя поверхность примыкает к цилиндрической и торцевой поверхности ротора. Корпус имеет по одному или несколько впускных и выпускных каналов, расположенных произвольно.
Недостатком устройства является низкая эффективность нагрева жидкости при сложности устройства.
Предлагаемым изобретением решается задача: снижение энергозатрат, повышение срока эксплуатации устройства.
Технический результат, получаемый при осуществлении изобретения, заключается в повышении эффективности нагрева жидкости, повышении механической надежности устройства при одновременном упрощении конструкции.
Указанный технический результат достигается тем, что в устройстве для нагрева жидкости, содержащем неподвижный корпус, имеющий впускные каналы, выпускной канал, установленный в корпусе с возможностью вращения, цилиндрический ротор с глухими отверстиями на его цилиндрической поверхности, новым является то, что корпус выполнен в виде собственно корпуса и двух симметричных относительно корпуса крышек, в корпусе жестко установлена гильза со сквозными отверстиями, расположенными параллельными диаметральными рядами, ротор выполнен в форме полого цилиндра, выпускной капал размещен по центру корпуса под углом по направлению вращения ротора, на торцевых поверхностях ротора и противолежащих им внутренних поверхностях крышек выполнены глухие отверстия в виде радиальных рядов, причем глубина этих отверстий не больше половины их диаметра.
Размещение выпускного канала по центру корпуса под углом по направлению вращения ротора позволяет:
во-первых, уравнять расстояния, которые преодолевают потоки жидкости, движущиеся от впускных каналов к выпускному. Давление при этом во встречных потоках одинаково, что положительным образом сказывается на динамике работы устройства в целом;
во-вторых, размещение выпускного канала под углом по направлению вращения ротора позволяет снизить гидравлическое сопротивление при истекании жидкости из выпускного канала, тем самым уменьшив энергозатраты на ее прокачивание через устройство.
Расположение глухих отверстий на торцевых поверхностях ротора и противолежащих им поверхностях крышки необходимо для более эффективного использования вихревых и кавитационных процессов, возникающих в зонах глухих отверстий и сопровождающихся выделением тепловой энергии, по всей площади ротора и прилегающих к ним поверхностей корпуса и крышек.
Выполнение ротора в форме полого цилиндра с выполненными на его наружных поверхностях глухими отверстиями обусловлено:
во-первых, возможностью максимального увеличения пути прохождения жидкости под давлением и действием центробежных сил от впускных каналов до выпускного канала, что приводит к увеличению площади трения жидкости между неподвижными и вращающимися поверхностями, а это способствует полной загрузке электродвигателя по потребляемой мощности и высокой эффективности теплообразования. Таким образом, имеется возможность при меньшем диаметре ротора обеспечить необходимую мощность устройства и количество выделяемой тепловой энергии;
во-вторых, при такой форме ротора, когда давление внутри устройства под действием центробежных сил возрастает от минимального до максимального от центра вала к цилиндрической поверхности гильзы, имеется возможность максимально использовать наиболее эффективный участок прохождения теплоносителя между гильзой и ротором. Большие площади соприкосновения между гильзой и ротором с наиболее эффективным для теплообразования зазором, равным 0,5…4 мм, наибольшее давление внутри устройства, создающееся в этой области, способствуют высокоинтенсивному процессу кавитации, формирующемуся в зоне глухих отверстий ротора и сквозных отверстий гильзы, ограниченных корпусом. Таким образом, создав эффективные процессы трения и кавитации, а следовательно, повысив температуру жидкости, между боковыми поверхностями ротора и крышками с глухими отверстиями, теплоноситель перед попаданием в выпускной канал преодолевает наиболее продолжительный участок с наивысшей теплопроизводительностью;
в-третьих, при данной гидравлической схеме в области выпускного канала происходит соединение двух встречно направленных потоков жидкости, что вызывает дополнительный разрыв сплошной жидкостной среды и приводит к местному повышению давления и интенсификации кавитационных процессов, а это приводит к дополнительному выделению тепловой энергии;
в-четвертых, выполнение ротора в форме полого цилиндра обеспечивает снижение масс вращающихся деталей, что способствует улучшению механических характеристик и увеличению срока эксплуатации устройства.
Выполнение глухих отверстий на роторе и крышках с глубиной не более половины их диаметра обусловлено тем, что при дальнейшем углублении отверстий внутри него образуется застойная зона, не влияющая на процессы теплообразования, при одновременном ослаблении стенок ротора, что недопустимо при имеющих место условиях эксплуатации.
Размещение внутри корпуса жестко установленной сменной гильзы со сквозными отверстиями, расположенными параллельными диаметральными рядами, обусловлено:
во-первых, необходимостью обеспечения выполнения глухих отверстий на внутренней цилиндрической поверхности ротора;
во-вторых, исходя из ремонтопригодности данного устройства, так как при долговременной эксплуатации из-за действующих на все поверхности, имеющие контакт с жидкостью, сил трения и процессов кавитации неизбежно произойдет притупление острых кромок отверстий, расположенных на наружных поверхностях ротора и внутренних поверхностях гильзы, что приведет к снижению теплопроизводительности. В этом случае наряду с ротором и крышками возможна замена гильзы.
Технические решения с признаками, отличающими заявляемое решение от прототипа, не известны и явным образом из уровня техники не следуют. Это позволяет считать, что заявляемое решение является новым и обладает изобретательским уровнем.
Сущность изобретения поясняется чертежами, где на
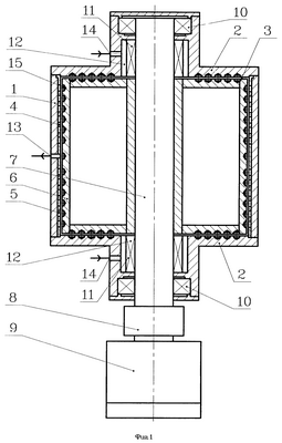
Фиг.1 – схема устройства для нагрева жидкости,
фиг.2 – схема расположения отверстий на съемной гильзе.
Устройство для нагрева жидкости содержит неподвижный корпус, состоящий из собственно цилиндрического корпуса 1 и двух симметричных относительно корпуса крышек 2, цилиндрическую полость 3. В корпусе жестко установлена гильза 4 со сквозными отверстиями 5, расположенными параллельными диаметральными рядами, ограниченными корпусом. Внутри цилиндрической полости гильзы и крышек установлен с возможностью вращения ротор 6, выполненный в виде полого цилиндра, закрепленного на вале 7, который посредством муфты 8 связан с электродвигателем 9. Совместно с крышками выполнены втулки, предназначенные для установки подшипников 10 и торцевых уплотнений 11, размещенных в камере 12. По центру цилиндричекой поверхности корпуса и гильзы под углом по направлению вращения ротора выполнен выпускной канал 13, а впускные каналы 14 размещены симметрично относительно корпуса на втулках крышек и связаны гидравлически с камерой для установки торцевых уплотнений, которая в свою очередь соединена с цилиндрической полостью. На торцах ротора и противолежащих им поверхностях крышек выполнены глухие отверстия 15, имеющие форму цилиндрической поверхности без фасок и округлений и размещенные по окружности в виде радиальных рядов. На цилиндрической поверхности ротора размещены аналогичные отверстия параллельными диаметральными рядами.
Устройство работает следующим образом.
Через впускные каналы 14, максимально приближенные к валу 7, под давлением с обеих сторон корпуса 1 подается жидкость.
После заполнения устройства жидкостью включается электродвигатель 9. Частота вращения составляет 3000 об/мин. Ротор 6, закрепленный на вале, вращается с той же скоростью. Жидкость под давлением, под действием центробежных сил от впускных каналов 14 перемещается к выпускному каналу 13. Здесь происходит сталкивание двух встречно направленных потоков жидкости, увеличение давления с выделением дополнительной тепловой энергии. При движении жидкости в зонах глухих отверстий 15 и сквозных отверстий 5, ограниченных корпусом 1, происходят многочисленные разрывы сплошного потока жидкости, приводящие к усилению процессов кавитации и трения. Эти процессы активизируются в области наибольшего давления, то есть в сознательно увеличенном по длине зазоре 0,5-4 мм между цилиндрическими поверхностями ротора и гильзы. Зона выпускного канала при данной гидравлической схеме устройства является пограничной, с наибольшими давлением и кавитационной активностью, следовательно, это зона наивысшей теплопроизводительности.
Формула изобретения
Устройство для нагрева жидкости, содержащее неподвижный корпус, имеющий впускные каналы, выпускной канал, установленный в корпусе с возможностью вращения цилиндрический ротор с глухими отверстиями на его цилиндрической поверхности, отличающееся тем, что в корпусе жестко установлена гильза со сквозными отверстиями, расположенными параллельными диаметральными рядами, корпус выполнен в виде собственно корпуса и двух симметричных относительно корпуса крышек, ротор выполнен в форме полого цилиндра, выпускной канал размещен по центру корпуса под углом по направлению вращения ротора, на торцевых поверхностях ротора и противолежащих им внутренних поверхностях крышки выполнены по окружности глухие отверстия в виде радиальных рядов, причем глубина отверстий равна не более половины их диаметра.
РИСУНКИ
|
|