|
|
(21), (22) Заявка: 2005121717/06, 11.07.2005
(24) Дата начала отсчета срока действия патента:
11.07.2005
(46) Опубликовано: 27.03.2007
(56) Список документов, цитированных в отчете о поиске:
RU 2003126979 А, 20.02.2005. RU 2214700 С2, 20.10.2003. SU 1298960 A1, 23.03.1987. RU 37342 U1, 20.04.2004. RU 2241836 С2, 10.12.2004. US 6698500 A2, 02.03.2004.
Адрес для переписки:
620034, г.Екатеринбург, ул. Колмогорова, 66, УрГУПС, ОНТИ, Л.Б. Никулиной
|
(72) Автор(ы):
Килин Павел Иванович (RU), Килин Константин Павлович (RU), Волков Денис Сергеевич (RU), Лапковский Дмитрий Сергеевич (RU)
(73) Патентообладатель(и):
Государственное образовательное учреждение высшего профессионального образования “Уральский государственный университет путей сообщения” (УрГУПС) (RU)
|
(54) УСТРОЙСТВО ДЛЯ УДАЛЕНИЯ ТЕПЛА
(57) Реферат:
Изобретение предназначено для теплообмена и может быть использовано для удаления тепла от нагретых компьютеров, в частности микропроцессоров. Устройство для удаления тепла включает электродвигатель, осевой вентилятор и дополнительный осевой вентилятор, расположенный на удлиненной оси электродвигателя, радиатор с ребрами. Участок в центральной части радиатора, который является наиболее нагревающимся участком, выполняют из материала повышенной теплопроводности, высота ребер в центральной части радиатора меньше, чем в периферийной его части, при этом суммарная площадь горизонтальных и наклонных поверхностей ребер меньшей высоты больше или равна суммарной площади ребер периферийной части радиатора. Изобретение обеспечивает эффективное удаление тепла при минимальных материальных и энергетических затратах. 2 з.п. ф-лы, 1 ил.
Изобретение относится к вентиляции с принудительной циркуляцией воздуха, например, к удалению тепла от нагретых компьютеров, в частности микропроцессоров, путем теплообмена посредством радиатора и воздушного потока как в режиме наддува, так и отсоса.
Известно устройство (US 1298960, МПК Н 05 К 7/20. Устройство для охлаждения радиоэлектронных приборов / Бычков В.Е. – Опубл. 23.03.1987, Бюл. №9), включающее корпус, электродвигатель, лопатки, радиатор.
Недостатком данного устройства является «провал» скорости воздуха в центральной зоне (по оси), находящейся напротив источника тепла.
Известно устройство (заявка 2003126979/06. МПК 7 F 24 H 3/06, Н 05 К 7/20. Кулер. Килин П.И., Килин К.П. – Опубл. 20.02.2005, Бюл. №5) – прототип, включающее корпус, электродвигатель с основным и дополнительным осевым вентилятором на удлиненной оси электродвигателя и радиатор с ребрами.
Недостатком данного устройства является недостаточное охлаждение радиатора в центральной зоне.
Целью изобретения является повышение отвода тепла в центральной зоне радиатора.
Указанная цель достигается тем, что часть радиатора выполнена из материала с повышенной теплопроводностью, а у его ребер увеличена поверхность для отвода тепла.
Сущность изобретения заключается в том, что участок в центральной части радиатора, который является наиболее нагревающимся участком, выполняют из материала повышенной теплопроводности, высота ребер в центральной части радиатора меньше, чем в периферийной его части, при этом суммарная площадь горизонтальных и наклонных поверхностей ребер меньшей высоты больше или равна суммарной площади ребер периферийной части радиатора, при этом участок в центральной части радиатора выполняют из меди, а все ребра выполнены с углом наклона 6-9 градусов, равным углу сужения ядра струи от осевого вентилятора.
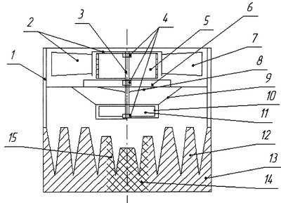
На чертеже представлена схема устройства для удаления тепла, включающего корпус 1, в котором помещен осевой вентилятор 2, установленный на оси 3 электродвигателя (не показан), которая вращается на подшипниках 4 внутри статора 5, установленного на плате схемы управления 6, лопасти 7 осевого вентилятора 2 вращаются вокруг статора 5. Снизу платы схемы управления 6 установлены обтекатель 8 с элементами крепления 9, корпус 10 дополнительного осевого вентилятора с лопастями 11, расположенного на удлиненной оси электродвигателя (не показан). Корпус 1 основного осевого вентилятора 2 совмещен с радиатором 13, имеющим ребра 12. Участок 14 в центральной части радиатора 13 с ребрами 15 различной высоты выполнен из материала повышенной теплопроводности.
Предлагаемое устройство работает следующим образом.
Если устройство для удаления тепла работает в режиме наддува, то часть воздуха после основного осевого вентилятора 2 в виде кольцевой струи поступает на периферийную часть ребер 12 радиатора 13, а другая часть воздуха отклоняется за счет бокового расширения потока воздуха и обтекателя 8 и поступает на лопасти 11 дополнительного осевого вентилятора 10, а после – в центральную часть 14 радиатора 13, осуществляя теплосъем с последней.
Если же устройство для удаления тепла работает в режиме отсоса, то тепло от радиатора 13 с ребер 12 в виде конвективного потока поступает на лопасти 11 дополнительного осевого вентилятора 10 и посредством обтекателя 8 попадает на лопасти 7 основного осевого вентилятора 2. С периферийной части радиатора 13 и ребер 12 воздух поступает на лопасти как дополнительного 10, так и основного 2 осевого вентиляторов. Так как дополнительный осевой вентилятор 10 расположен ближе к ребрам 15 радиатора 13, то максимальное удаление тепла происходит от центральной части радиатора.
Так как центральная часть 14 радиатора 13 является самой нагревающейся его частью, то выполнение этой части из материала с повышенной теплопроводностью, например из меди, значительно увеличивает теплоотвод в центральной части радиатора.
Известно (В.П.Исаченко, В.А.Осипова, А.С.Сукомел. Теплопередача. – М. -Л.: Энергия, 1965. – С.28), что отвод тепла зависит не только от теплопроводности материала, но и от его толщины и определяется отношением:

где
– теплопроводность материала, Вт/ м·град.;
– толщина материала (в данном случае – высота ребра радиатора).
Поэтому снижение высоты ребер в центральной части радиатора увеличивает отвод тепла.
Увеличение площади горизонтальной поверхности ребер радиатора в центральной части увеличивает общую суммарную площадь ребер радиатора, что также способствует улучшению отвода тепла.
Все ребра радиатора выполнены с углом наклона 6-9 градусов, равным углу сужения ядра струи от осевого вентилятора, что увеличивает площадь соприкосновения струи с ребрами и дополнительно увеличивает отвод тепла.
Таким образом, предлагаемое устройство обеспечивает эффективное удаление тепла при минимальных материальных и энергетических затратах.
Формула изобретения
1. Устройство для удаления тепла, включающее электродвигатель, осевой вентилятор и дополнительный осевой вентилятор, расположенный на удлиненной оси электродвигателя, радиатор с ребрами, отличающееся тем, что участок в центральной части радиатора, который является наиболее нагревающимся участком, выполняют из материала повышенной теплопроводности, высота ребер в центральной части радиатора меньше, чем в периферийной его части, при этом суммарная площадь горизонтальных и наклонных поверхностей ребер меньшей высоты больше или равна суммарной площади ребер периферийной части радиатора.
2. Устройство для удаления тепла по п.1, отличающееся тем, что участок в центральной части радиатора выполнен из меди.
3. Устройство для удаления тепла по п.1, отличающееся тем, что все ребра радиатора выполнены с углом наклона 6-9 градусов, равным углу сужения ядра струи от осевого вентилятора.
РИСУНКИ
|
|