|
(21), (22) Заявка: 2004104927/06, 17.02.2004
(24) Дата начала отсчета срока действия патента:
17.02.2004
(30) Конвенционный приоритет:
26.08.2003 UA 2003087992
(43) Дата публикации заявки: 27.07.2005
(46) Опубликовано: 27.03.2007
(56) Список документов, цитированных в отчете о поиске:
RU 2138696 C1, 27.09.1999. КИЧИГИН А.Ф., ЕГЕРЬ Д.А. Канонические ансамбли в процессах интенсификации добычи нефти. Киев: Техника, 2002, с. 151-155, фиг.9, 14. RU 2134340 C1, 10.08.1999. US 4744730 A, 17.05.1988. US 5000264 A, 19.03.1991.
Адрес для переписки:
02222, г. Киев, ул. Бальзака, 52/22, кв.177, Ю.В. Верба
|
(72) Автор(ы):
Здольник Геннадий Петрович (UA), Верба Юрий Валентинович (UA), Зазуляк Олег Михайлович (UA)
(73) Патентообладатель(и):
Здольник Геннадий Петрович (UA), Верба Юрий Валентинович (UA), Зазуляк Олег Михайлович (UA)
|
(54) СПОСОБ РАБОТЫ НАСОСНО-ЭЖЕКТОРНОЙ СКВАЖИННОЙ ИМПУЛЬСНОЙ УСТАНОВКИ
(57) Реферат:
Способ предназначен для гидроимпульсной обработки прибойной зоны пласта. В качестве гидроимпульсного устройства используют основной и соединенный с ним предвключеный кавитаторы, причем основной кавитатор формирует скоростную пульсирующую напорную струю, а предвключеный создает зону вторичной кавитации. В соответствии со способом рабочую жидкость предварительно фильтруют через фильтр грубой очистки, пропускают через аэратор, который через обратный клапан связанный с компрессором или емкостью со сжатым газом (азот, СО2) и направляют через вертлюг в насосно-компрессорные трубы, где перед подачей в гидроимпульсное устройство очищают в фильтре тонкой очистки. Слив рабочей жидкости со скважины осуществляют через предохранительный клапан, который расположен на линии слива. Насосами высокого давления создают избыточное давление, закрывают линию нагнетания и слива задвижками, выключают насосы высокого давления и на протяжении, например, одного часа наблюдают за изменением давления и фиксируют в контуре, интерпретируя полученные данные об изменении давления. Определяют величину скин-эффекта, при этом обработку ведут до получения величины скин-эффекта, равного или меньше нуля. Технический результат – увеличение дебита скважины. 2 з.п. ф-лы, 4 ил.
Изобретение относится к нефтедобывающей промышленности и может быть использовано при эксплуатации нефтяных и газовых скважин, для очистки призабойной зоны пласта и увеличения дебита скважины.
Известен способ ликвидации гидратных и парафиновых отложений и пробок в нефтяных и газовых скважинах по патенту России №2134340. Способ включает операции: монтаж трубопроводной арматуры, общей под продукты плавления и нефть, введение в рабочую зону трубы (НКТ), нагревательного прибора, закрепленного на кабеле, установку в трубе торцового уплотнителя, соединение кабеля с источником питания, проход трубы нагревательным прибором и его выводом из рабочей зоны трубы.
Общим недостатком приведенного способа является то, что он не обеспечивает защиту нагревательного прибора в случае резкого увеличения давления в трубе. Повышение давления в трубе возникает в случае частичного разрушения пробки в трубе, через которую начинает фонтанировать нефть, а в момент ее полной ликвидации нефть, которая вытекает из трубы, вызывает в ней резкое повышение давления, в результате чего гидроударом из трубы выбрасывается нагревательный прибор, и создается аварийная ситуация.
Известен способ работы комбинированного комплекса “Импульс-78” (см. Кичигин А.Ф., Егерь Д.А. “Канонические ансамбли в процессах интенсификации добычи нефти” – К.: Техника, 2002, с.151-155, фиг.9.14), что включает нагнетание в НКТ рабочей жидкости через линию нагнетания, влияние на пласт энергией волнового импульса, соединение затрубного пространства НКТ (насосно-компрессорных труб) с линией слива.
Данный комплекс содержит емкость с рабочей жидкостью, насос высокого давления для нагнетания в НКТ рабочей жидкости, задвижку – линию нагнетания.
Линия слива выполнена таким образом, что жидкость собирается в сборную емкость.
Генерацию гидроударов на призабойную зону осуществляют гидромолотами, которые установлены на устье скважины и генерируют гидроудары, которые через переходный патрубок передаются на резонатор.
К недостаткам приведенного изобретения можно отнести то, что использование такой обвязки оборудования и устья скважины, и генераторов гидроимпульсов не дает возможность повысить качество очистки призабойной зоны, производительность, например, нефтяных скважин за счет более качественной очистки призабойной зоны скважины и уменьшения энергозатрат.
Наиболее близким техническим решением, избранным в качестве прототипа, является способ работы насосно-эжекторной скважинной импульсной установки (RU 2138696), согласно которому осуществляют подачу активной жидкой среды насосным агрегатом по колонне насосно-компрессорных труб в сопло струйного- аппарата. Перед указанной операцией с помощью блокирующей вставки, которая устанавливается в колонне НКТ, переводят струйный аппарат в пропускной режим для прохождения активной жидкости через струйный аппарат, приводят пакер в транспортное положение и с помощью гидроимпульсного устройства обрабатывают активной средой призабойную подпакерную зону, с отводом через пакер части среды из скважины на поверхность. После окончания данной обработки приводят пакер в рабочее положение и заменяют блокирующую вставку на депрессивную вставку для приведения струйного аппарата в рабочий режим.
Откачку пассивной среды делают через систему периферийных обратных клапанов, установленных на колонне насосно-компрессорных труб ниже пакера.
Как гидроимпульсное устройство используют установленный ниже перфорации призабойной зоны мультипликатор давления. Мультипликатор давления при обработке ступенчато или плавно поднимают вдоль скважины и делают обработку с частотой создаваемых импульсов от 40 до 70 в минуту и с величиной давления от 1,5 до 1,7 величины статического давления в скважине на уровне пласта, при этом в качестве активной жидкой среды используют неагрессивные жидкости или растворы с кинематической вязкостью не более 25 мм2/с (25 сСт, сантистокс) и температурой не выше 120°С.
К недостаткам приведенного изобретения можно отнести:
– энергоемкость при использовании гидроимпульсного устройства (мультипликатора давления) и его незначительную производительность, так как конструкция мультипликатора не разрешает максимально использовать энергию потока и не обеспечивает его равномерного перераспределения по всему объему в обсадной трубе и в зоне устройства;
– не использование явления вторичной кавитации (при изменении скоростного напора в газожидкостной среде происходит заклепывание кавитационных пустот, что сопровождается образованием направленных струек жидкости, которые имеют огромную кинетическую энергию);
– избирательность при выборе активной жидкой среды, использование неагрессивных жидкостей или растворов с кинематической вязкостью не более 25 мм2/с (25 сСт, сантистокс) и температурой не выше 120°С;
Важным фактором производительности работы установки является ее пригодность к ремонту быстроизнашиваемых деталей и их монтаж, что касается мультипликатора давления, то он имеет низкую ремонтоспособность.
В основу изобретения поставлена задача усовершенствовать способ работы насосно-эжекторной скважинной импульсной установки таким образом, чтобы повысилось качество очистки призабойной зоны и увеличилась производительность нефтяных скважин, при этом уменьшились энергозатраты.
Сопутствующие задачи, которые ставятся перед изобретением, это улучшить ремонтоспособность гидроимпульсного устройства и избежать избирательности при выборе активной жидкой среды.
Поставленная задача решается тем, что совершенствуют известный способ работы насосно-эжекторной скважинной импульсной установки, согласно которому осуществляют подачу активной жидкой среды по колонне насосно-компрессорных труб в сопло струйного аппарата. Перед указанной операцией с помощью блокирующей вставки, которая устанавливается в колонне НКТ, переводят струйный аппарат в пропускной режим для прохождения активной жидкости через струйный аппарат, приводят пакер в транспортное положение и с помощью гидроимпульсного устройства обрабатывают активной средой призабойную подпакерную зону, с отводом через пакер части среды со скважины на поверхность. После окончания данной обработки приводят пакер в рабочее положение и заменяют блокирующую вставку на депрессивную вставку для приведения струйного аппарата в рабочий режим.
Откачку пассивной среды осуществляют через систему периферийных обратных клапанов, установленных на колонне насосно-компрессорных труб ниже пакера.
Согласно заявленному изобретению как гидроимпульсное устройство используют установленные ниже перфорации призабойной зоны основной и предвключеный кавитаторы, причем основной кавитатор формирует скоростную напорную пульсирующую струю, а предвключеный создает зону с вторичной кавитацией.
Задача решается также благодаря следующему порядку проведения работы:
– рабочую жидкость предварительно фильтруют через фильтр грубой очистки и аэрируют газом, например воздухом, азотом, CO2;
– фильтруют через фильтр тонкой очистки и прокачивают в гидроимпульсное устройство;
– генерируют в призабойной зоне скважины скоростную напорную пульсирующую струю, по меньшей мере одну, и создают зону с вторичной кавитацией;
– слив рабочей жидкости с затрубного пространства по линии слива через предохранительный клапан;
– создают избыточное давление насосами высокого давления, например 10 МПа;
– закрывают линию слива и нагнетания задвижками;
– выключают насосы высокого давления и на протяжении, например, одного часа наблюдают за изменением давления в затрубном пространстве и фиксируют изменения в контуре управления – обработки, который выполнен в виде последовательно соединенных датчика давления, преобразователя, исполнительного механизма (например, АЦП, ЭВМ, преобразователя, например, ЦАП), при этом исполнительный механизм соединен с насосным агрегатом;
– интерпретируют полученные данные изменения давления по методике оперативного определения дополнительных фильтрационных сопротивлений в призабойной зоне с помощью ЭВМ, определяют величину скин-эффекта, при этом обработку ведут до получения величины скин-эффекта, равного или меньше нуля (контур содержит последовательно соединенные датчик давления, аналого-цифровой преобразователь (АЦП), ЭВМ, цифро-аналоговый преобразователь (ЦАП), исполнительный механизм (гидроцилиндр), соединенный с насосами высокого давления).
Отметим, что для предотвращения обратного потока в линии нагнетания установлены обратные клапаны, а именно после компрессора и фильтра грубой очистки (установленного после насосов высокого давления).
Заявленная совокупность существенных признаков, как видно из ранее приведенных доводов и из уровня техники, имеет новизну, изобретательский уровень и является промышленно применимой, при исключении хотя бы одного признака изобретение не обеспечит заявленный технический результат. Перечень чертежей, которые объясняют способ:
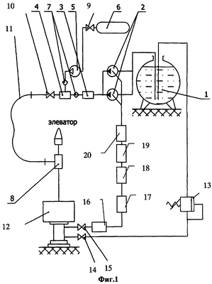
На фиг.1 – схема обвязки оборудования и устья скважины;
фиг.2 – схема подземного оборудования;
фиг.3 – представленный продольный разрез устройства для очистки призабойной зоны в момент истечения плоской высокоскоростной пульсирующей кольцевой турбулентной струи;
фиг.4 – кривая падения давления методом касательной.
Насосно-эжекторная скважинная импульсная установка (фиг.1), предназначенная для реализации описываемого способа работы, содержит емкость 1 с рабочей жидкостью, насосный агрегат (насосы высокого давления) 2, фильтр грубой очистки 3, аэратор 4, компрессор 5 или емкость 6 со сжатым газом (азот, CO2). Аэратор 4 с компрессором 5 и фильтром грубой очистки 3, соединенный через обратные клапаны 7, и образуют линию нагнетания. Нагнетание в НКТ рабочей жидкости (воды, нефти, кислот и т.д.) проводится через вертлюг 8, для того чтобы иметь возможность ступенчато или плавно продвигать работающую импульсную установку вдоль интервала перфорации при беспрерывной подаче в НКТ рабочей жидкости. Линия нагнетания дополнительно снабжена задвижками 9, 10, причем вертлюг 8 связан через буровой рукав 11.
Уплотнение подвижного соединения НКТ обеспечивается привентером 12. Затрубное пространство, связанное с линией слива и емкостью 1 для рабочей жидкости через предохранительный клапан 13. Кроме того, линия слива дополнительно оборудована датчиком давления 16, соединенным с затрубным пространством насосно-компрессорных труб (далее НКТ) и связанным с насосами высокого давления 2 через преобразователь, например, АЦП 17, ЭВМ 18, преобразователь, например, ЦАП 19 и исполнительный механизм в виде гидроцилиндра 20.
Насосно-эжекторная скважинная импульсная установка (фиг.2), кроме того, содержит колону 21 НКТ и установленный на колонне 21 струйный аппарат 22, пакер 23, блок обратных клапанов 24, фильтр тонкой очистки 25, гидроимпульсное устройство 26 и глубинный скважинный манометр 27.
Для наглядности приведем короткое описание гидроимпульсного устройства 26, что состоит из предвключеного и основного кавитаторов.
Основной кавитатор имеет корпус 28, направляющую 29, втулку 30 с конусным отверстием и кольцевую заглушку 31, которая подпружиненная тарельчатыми пружинами 32.
Предвключеный кавитатор, выполненный в виде цилиндрической втулки 33, которая для соединения с НКТ имеет переходник 34. Втулка 30 с подпружиненной кольцевой заглушкой 31 на внешних боковых и смежных торцевых поверхностях образуют кольцевые конусные каналы. Направляющая 29 с корпусом 28 образуют проходные каналы и закреплена в корпусе 28 цилиндрической втулкой 33 и втулкой 30 с конусным отверстием.
Подпружиненная кольцевая заглушка 31 с направляющей 29 выполнена с возможностью перемещения. Направляющая 29, снабженная хвостовиком 35, с трубной нарезкой, которая разрешает подвесить трубу с заглушкой, внутри которой размещается глубинный скважинный манометр-термометр (не показан) для замеров давления и температуры в процессе работы установки.
Цилиндрическая втулка 33 предвключенного кавитатора установленна по ходу потока перед основным кавитатором и имеет на внешней боковой поверхности кольцевые выточки 36, которые образуют кольцевые трубки Вентури с внутренней поверхностью обсадных труб.
Опишем физические процессы, которые будут происходить при работе установки и работу самой установки:
Импульсно-волновое влияние на призабойные зоны скважин основываются на явлении кавитации в жидкости, которая создается затопленными скоростными пульсирующими плоскими турбулентными кольцевыми струями и закипающими адиабатными потоками при истечении жидкости из специальных устройств – импульсно-волновых генераторов.
При прокачке рабочей жидкости через гидроимпульсное устройство 26 в призабойной зоне скважины генерируются ударные импульсы и вибрации давления, которые формируют ударные гидродинамические волны давления, которые распространяются по твердому скелету пласта и в его пористой структуре.
Механизм возникновения интенсивных ударных импульсов и вибрации давления, которые инициируют волновые процессы, состоит из ряда факторов:
– Одним из факторов процесса влияния на пластовую систему служит скоростной напор плоской пульсирующей кольцевой струей при истечении жидкости в скважину (из гидроимпульсного устройства 26 (фиг.3)).
– Другим фактором является возникновение паровых пустот и пузырьков газовой фазы (кавитационные пустоты) – зона первичной кавитации при помощи скоростной струи и вторичной кавитации при прохождении жидкости через предвключенный кавитатор 33 разного размера вследствие разрывов сплошности потока жидкости, а именно кольцевыми выточками 36 (фиг.3) предвключенного кавитатора. При изменении скоростного напора в газожидкостной среде происходит захлопывание кавитационных пустот, которое сопровождается образованием направленных струек жидкости, которые имеют огромную кинетическую энергию. При этом возникают многочисленные гидравлические удары, частота и амплитуда которых определяется строением паровых пустот и концентрацией газовой фазы в жидкости.
– Третий фактор возникновения гидравлических ударов имеет место при использовании в качестве рабочей жидкости аэрированной жидкости аэратором 4, который содержит растворенный газ. При этом газ может выделяться из раствора в зоне действия высокоскоростной затопленной турбулентной струи. За счет выделения газа получается газожидкостная смесь, которая имеет повышенную сжимаемость, аналогичную пустотам в процессах имплозии и вызывает мощные гидравлические удары при заполнении газовых пузырьков жидкостью под влиянием гидростатического столба жидкости в скважине.
Процесс выделения растворенного газа усиливается за счет использования предохранительного клапана 11 на линии слива.
Так же образуется гидроударное воздействие на пластовую систему потоком жидкости от насосного агрегата за счет его периодического перекрытия.
Способ работы насосно-эжекторной скважинной импульсной установки реализуется следующим образом:
Рабочую жидкость с емкости 1 насосным агрегатом (в нашем случае используются несколько насосов высокого давления (см. фиг.1)) 2 подают под давления в фильтр грубой очистки 3, где ее предварительно очищают от частиц грязи. После очистки рабочую жидкость аэрируют аэратором 4 (создают активную жидкую среду).
Заметим, что вместо аэратора 4 может использоваться и эжектор, в рабочую камеру которого компрессором 5 под давлением подается воздух или сжатый газ (азот, СО2) из емкости 6. А для предотвращения обратного эффекта на выходе компрессора 5 и фильтра грубой очистки 3 установлены обратные клапаны 7.
Блокирующей вставкой, установленной на НКТ, переводят струйный аппарат 22 в пропускной режим для прохождения активной жидкой среды через струйный аппарат 22, далее приводят пакер в транспортное положение, открывают задвижку 10 и аэрированную аэратором 4 или эжектором рабочую жидкость под давлением по колонне НКТ 21 подают в насосно-эжекторную установку, где под рабочим давлением активная жидкая среда по колонне НКТ 21 подается через струйный аппарат 22, пакер 23, блок обратных клапанов 24 и фильтр тонкой очистки 25 (применяемый для очистки от случайно попавших грязевых частиц) поступает под давлением, например, 16 МПа в гидроимпульсное устройство 26, установленное ниже перфорации прискважинной зоны. Активная жидкая среда проходит через внутреннюю пустоту переходника 34, цилиндрическую втулку 33, проходные каналы, которые образованы корпусом 28 и направляющей 29, и поступает в пустоту, образованную конусным отверстием втулки 30 и кольцевой заглушкой 31, подпружиненной тарельчатыми пружинами 32. Через усилие, которое создают пружины 32, в этой пустоте повышается давление, и кольцевая заглушка 31 начинает перемещаться, в результате образуется гидравлическая связь между кольцевыми конусными каналами. Таким образом, формируется высокоскоростная пульсирующая турбулентная кольцевая струя, направленная перпендикулярно на внутреннюю поверхность обсадной трубы, которая создает ударные импульсы в призабойной зоне пласта. В результате истечения свободно затопленной струи и ее взаимодействия с поверхностью, происходит возникновение паровых пустот и пузырьков газовой фазы (кавитационные пустоты) разного размера вследствие разрывов сплошности потока жидкости.
При изменении скоростного напора в газожидкостной среде происходит захлопывание кавитационных пустот, которое сопровождается образованием направленных струек жидкости, которые обладают значительной кинетической энергией. При этом возникают многочисленные гидравлические удары, происходит местное повышение давления в затрубном пространстве, в результате кольцевая заглушка 31 возвращается в начальное положение, дальше цикл работы устройства повторяется.
При дальнейшем движении активной жидкой среды в затрубном пространстве жидкая среда поступает на кольцевые выточки 36 цилиндрической втулки 33 предвключеного кавитатора, т.е. кольцевые трубки Вентури, в результате происходит образование дополнительных паровых пустот и пузырьков газовой фазы по всей его длине, что оказывает дополнительное влияние на призабойную зону пласта.
Пласт находится под репрессией.
При достижении определенного давления в затрубном пространстве предохранительный клапан 13 срабатывает, что приводит к резкому стравливанию давления на забое скважины, тем самым оказывает содействие срыву кольматирующих частиц в призабойной зоне пласта.
В затрубном пространстве создается волна пониженного давления с величиной давления, которое определяется начальным перепадом давления на предохранительном клапане 13. При достижении волны пониженного давления забоя давление жидкости на забое становится ниже давления парообразования рабочей жидкости, в этом месте начинается парообразование. Из жидкости выделяются пузырьки пара, вслед за которыми происходит нарушение сплошности потока жидкости.
Возникающие импульсы давлений раскрывают естественные коллекторы и содействуют возникновению новых трещин, которые имеют повышенную гидропроводность, что позволяет воздействовать ударными нагрузками на более отдаленные от забоя участки пласта.
Накладываясь друг на друга, ударные волны разной природы формируют в пористой среде призабойной зоны скважины неравномерное поле давления, под влиянием которого происходит очищение пор от осадка, расширение и закрепление трещин.
Одновременно с этим под действием давления активной жидкой среды закрыт ее проход через блок обратных клапанов 24, так как давление в НКТ больше, чем давление в затрубье. При этом пакер 23, приведенный в транспортное положение, не препятствует перетеканию среды между подпакерной и надпакерной зонами.
В процессе обработки без подъема оборудования с помощью насосов высокого давления 2 создают в скважине избыточное давление, в преобладающем варианте выполнения 10 МПа. Закрывают задвижки 14, 10 и выключают насосы высокого давления 2.
На протяжении 1 часа через датчик давления 16, преобразователь 17, ЭВМ 18 фиксируют изменение давления во времени, интерпретируя полученные данные с помощью методики оперативного определения дополнительных фильтрационных сопротивлений в призабойной зоне пласта, рассчитывают величину скин-эффекта. При получении величины скин-эффекта больше нуля, сигнал поступает на преобразователь 19, и на исполнительный механизм 20, что осуществляет включение насосов высокого давления 2.
Обработку ведут до получения величины скин-эффекта, равного или меньше нуля.
При окончании обработки обратной промывкой поднимают блокирующую вставку.
Приводят пакер 23 в рабочее положение, а в струйном аппарате 22 устанавливают депрессивную вставку. Монтируют фонтанную арматуру. Потом путем прокачки активной среды через струйный аппарат 22 в прискваженной подпакерной зоне создают депрессию, вызывая приплыв пластового флюида из пласта и вымывая, таким образом, из призабойной зоны кольматант.
Проводят откачку пассивной среды через обратные клапаны 24 и производят повторные замеры для определения величины скин-эффекта.
Обработку ведут до получения величины скин-эффекта, равного или меньше нуля.
Пример расчета скин-эффекта:
Измерения проводились устьевым манометром МГН-2-160. Сбор, сохранение и переработка результатов осуществляется ЭВМ. Величина скин-эффекта к началу обработки составляла S=4, проницаемость призабойной зоны меньше проницаемости пласта. Время обработки семь часов.
Интерпретация полученных результатов измерений выполнена по методу касательной без учета притока (фиг.4):
1. На основании данных измерений строится кривая падения давления в координатах:
P(t)-logt;
2. На прямолинейном участке кривой проводится касательная и определяется ее угол наклона:
i=22.7 ат
3. Определяется отрезок на оси ординат от нуля до точки пересечения этой оси с продолжением прямолинейного участка В=-47.1 ат;
4. Определяем комплексный параметр:
X/r2=10B/i/2,25=3.7·103c-1;
5. Определяем величину скин-эффекта:
S=1.15·{ Pt=3600/i-logX/r2-3.908}=1.15·{33.21/22.7-lg(3.7·10-3)-3.908}=-0.015.
В результате обработки проницаемость призабойной зоны стала больше проницаемости пласта.
Формула изобретения
1. Способ работы насосно-эжекторной скважинной импульсной установки включает подачу активной жидкой среды с помощью насосов высокого давления по колонне насосно-компрессорных труб в сопло струйного аппарата и откачку струйным аппаратом из пластовой зоны по колонне насосно-компрессорных труб пассивной среды, при этом перед указанными операциями с помощью блокирующей вставки, установленной в колонне насосно-компрессорных труб (НКТ), перекрывают каналы подведения обеих сред к струйному аппарату, приводят пакер в транспортное положение и с помощью гидроимпульсного устройства обрабатывают активной средой призабойную подпакерную зону с отводом через пакер части среды из скважины на поверхность, а после окончания данной обработки приводят пакер в рабочее положение и заменяют блокирующую вставку на депрессивную вставку, изолируя один от другого каналы подведения активной и пассивной сред к струйному аппарату, причем откачку пассивной среды делают через систему периферийных обратных клапанов, установленных на колонне насосно-компрессорных труб ниже пакера, отличающийся тем, что рабочую жидкость предварительно фильтруют через фильтр грубой очистки, пропускают через аэратор, который через обратный клапан, связанный с компрессором или емкостью со сжатым газом (азот, CO2), направляют через вертлюг в НКТ, при этом для предотвращения обратного потока в линии нагнетания установлены обратные клапаны, а именно после компрессора и фильтра грубой очистки, причем перед подачей в гидроимпульсное устройство среду пропускают через фильтр тонкой очистки, а как гидроимпульсное устройство используют установленный ниже перфорации прискважинной зоны основной и соединенный с ним предвключенный кавитатор, причем основной кавитатор формирует скоростную пульсирующую напорную струю, а предвключеный создает зону вторичной кавитации, в процессе обработки без подъема оборудования, с помощью насосов высокого давления создают в скважине избыточное давление, например 10 МПа, закрывают линию слива и нагнетания задвижками, выключают насосы высокого давления и на протяжении, например, одного часа наблюдают за изменением давления в затрубном пространстве и фиксируют в контуре, который соединяет затрубное пространство с насосами высокого давления, интерпретируют полученные данные об изменении давления по методике оперативного определения дополнительных фильтрационных сопротивлений в призабойной зоне с помощью ЭВМ, определяют величину скин-эффекта, при этом обработку ведут до получения величины скин-эффекта, равного или меньше нуля, слив рабочей жидкости со скважины осуществляют через предохранительный клапан, который расположен на линии слива.
2. Способ по п.1, отличающийся тем, что контур содержит последовательно соединенные датчик давления, преобразователь, например аналого-цифровой преобразователь, ЭВМ, преобразователь, например цифроаналоговый преобразователь, исполнительный механизм в виде гидроцилиндра, соединенный с насосами высокого давления.
3. Способ по п.1, отличающийся тем, что после откачки струйным аппаратом пассивной среды проводят повторные замеры для определения величины скин-эффекта.
РИСУНКИ
|