|
|
(21), (22) Заявка: 2005108350/06, 21.08.2003
(24) Дата начала отсчета срока действия патента:
21.08.2003
(30) Конвенционный приоритет:
23.08.2002 (пп.3-9, 17, 18) DE 10238837.7 03.07.2003 (пп.1, 2, 10-16, 19) DE 10330084.8
(43) Дата публикации заявки: 20.01.2006
(46) Опубликовано: 27.03.2007
(56) Список документов, цитированных в отчете о поиске:
FR 2608678 А1, 29.06.1988. FR 2746141 A1, 19.09.1997. US 6019574 А, 01.02.2000. ЕР 1010862 А2, 21.06.2000. SU 1375863 A1, 23.02.1988. SU 1746078 А1, 07.07.1992.
(85) Дата перевода заявки PCT на национальную фазу:
23.03.2005
(86) Заявка PCT:
EP 2003/09265 (21.08.2003)
(87) Публикация PCT:
WO 2004/018844 (04.03.2004)
Адрес для переписки:
101000, Москва, М.Златоустинский пер., 10, кв.15, ЕВРОМАРКПАТ, пат.пов. И.А.Веселицкой, рег. № 11
|
(72) Автор(ы):
ЗАЙТЦ Петер А. (DE)
(73) Патентообладатель(и):
МТУ АЭРО ЭНДЖИНЗ ГМБХ (DE)
|
(54) РЕЦИРКУЛЯРНОЕ УСТРОЙСТВО ДЛЯ ТУРБОКОМПРЕССОРОВ
(57) Реферат:
В изобретении описано рециркуляционное устройство для турбокомпрессоров, имеющее кольцевую камеру, которая расположена в зоне свободных концов лопаток лопаточного венца и радиально граничит с основным проточным каналом, и множество расположенных в этой кольцевой камере и распределенных по ее окружности направляющих элементов, при этом в кольцевой камере в ее передней и/или задней частях предусмотрена возможность прохождения потока в ее окружном направлении, а направляющие элементы соединены, по меньшей мере, с одной стенкой кольцевой камеры, а в остальном консольно или свободно выступают в нее. Обращенные к основному проточному каналу вершины направляющих элементов лежат на и/или вблизи ограничивающей его контур линии и в осевом направлении перекрываются со свободными концами лопаток или в осевом направлении граничат с зоной, в которой расположены свободные концы лопаток. Это позволяет повысить порог помпажа и расширить область устойчивой работы турбокомпрессора без заметного снижения его кпд. 18 з.п. ф-лы, 7 ил.
Настоящее изобретение относится к рециркуляционному устройству для турбокомпрессоров, в частности, газовых турбин авиационных газотурбинных двигателей и стационарных газовых турбин.
Рециркуляционные устройства для турбокомпрессоров известны уже достаточно давно и среди специалистов обычно называются устройствами типа “casing treatment” (встроенными в корпус рециркуляционными устройствами или противосрывными устройствами). Основное назначение таких устройств состоит в расширении области аэродинамически устойчивой работы компрессора за счет смещения так называемой границы помпажа в сторону более высоких значений создаваемого компрессором давления, т.е. в сторону более высоких значений нагрузки компрессора. Возмущения, ответственные за возникновение локального срыва потока и в конечном итоге за возникновение помпажа компрессора, со стороны корпуса возникают на концах лопаток рабочего колеса одной, соответственно нескольких ступеней компрессора, а со стороны ступицы – на радиально внутренних концах лопаток рабочего колеса, поскольку в этих зонах аэродинамическая нагрузка достигает максимальной величины. Возврат находящихся между вершинами лопаток и вращающихся с частотой их вращения, обладающих пониженной энергией “воздушных масс” обратно в основной поток с увеличением их энергии позволяет вновь стабилизировать поток в зоне концов лопаток. Поскольку возмущения в потоке обычно возникают неравномерно в окружном направлении ступени компрессора, в дополнение к преимущественно осевой рециркуляции с аэродинамической точки зрения следует обеспечить компенсацию таких возмущений и в окружном направлении ступени компрессора. Основной недостаток известных встроенных в корпус рециркуляционных устройств, т.е. устройств типа “casing treatment”, заключается в том, что они несмотря на обеспечиваемую ими возможность повышения порога помпажа одновременно с этим снижают кпд компрессора.
В патенте DE 3322295 С3 описан осевой вентилятор со встроенным в корпус рециркуляционным устройством. Такое устройство имеет кольцевую камеру (поз.8) с неподвижно установленными в ней направляющими элементами (поз.9). На заднем по ходу потока участке над концами рабочих лопаток расположена открытая по всей окружности зона, до которой направляющие элементы не доходят. Характерной особенностью подобного встроенного в корпус рециркуляционного устройства является наличие у него замкнутого кольца (поз.7), контур которого лежит примерно на одной линии с контуром основного проточного канала и которое отделяет заднюю входную часть рециркуляционного устройства от его передней выходной части и образует гладкий сплошной участок поверхности.
Во многом схожее с описанным выше встроенное в корпус рециркуляционное устройство известно из DE 3539604 С1, причем в этом случае в передней и задней частях кольцевой камеры (поз.7) имеется открытая по всей ее окружности зона. У описанного в указанной публикации устройства также предусмотрено радиально внутреннее кольцо (поз.6).
Более современное встроенное в корпус рециркуляционное устройство известно из патента US 5282718. У описанного в этом патенте устройства аэродинамически усовершенствованы его кольцевая камера (поз.18, 28) и направляющие элементы (поз.24). Однако и в этом случае входной и выходной рециркуляционные потоки отделены друг от друга массивным, гладким со стороны лопаток замкнутым кольцом. Обычно такие кольца на случай касания с ними вершин лопаток необходимо снабжать на расположенном напротив лопаток участке специальным покрытием, защищающим их от повреждения при соприкосновении с ними вершин лопаток, соответственно способствующим их прирабатыванию.
Встроенное в корпус рециркуляционное устройство с кольцом, расположенным в зоне лопаток и имеющим на его обращенной к лопаткам поверхности способствующее прирабатыванию покрытие, известно из заявки ЕР 0719907 А. В этой заявке такое кольцо обозначено как “third arcuate member” (“третий дугообразный элемент”) (поз.46), а способствующее прирабатыванию покрытие обозначено как “layer of abradable material” (“слой истираемого материала”) (поз.72). Направляющие элементы, обозначенные в указанной заявке как “vane walls” (“направляющие перегородки”) (поз.64), расположены радиально снаружи на кольце (поз.46) на его передней и задней кромках (поз.78 и 80).
Существуют и иные встроенные в корпус рециркуляционные устройства с проходящими параллельно оси, соответственно под углом к ней канавками, как это описано, например, в патенте US 5137419. Однако такие устройства в настоящем описании не рассматриваются, поскольку они из-за наличия у них не соединяющихся между собой канавок не позволяют обеспечить выравнивание потока в окружном направлении.
В патенте US 4511308 описаны вентиляторы (воздуходувки) со встроенными в их корпус рециркуляционными устройствами различной конструкции. В простейшем варианте, показанном на фиг.6 указанного патента, рециркуляционное устройство образовано одной лишь кольцевой камерой без направляющих элементов в ней. В других вариантах, показанных на фиг.1 и 3 указанного патента, в кольцевой камере закреплены направляющие элементы, а расположенная по ходу потока перед ними стенка (поз.22) корпуса удлинена по типу цилиндрического, соответственно конического патрубка, заходящего за радиально внутренние кромки направляющих элементов (поз.21), и поэтому со стороны обращенного навстречу потоку переднего конца кольцевой камеры исключает возможность выхода из нее рециркуляционного потока в основной поток. На фиг.5 указанного патента показаны направляющие элементы (поз.21), которые крепятся к передней торцовой стенке кольцевой камеры и к ее дну, а в остальном консольно или свободно выступают в нее. В этом случае не предусмотрен трубчатый или кольцевой элемент, соединяющий, соответственно закрывающий направляющие элементы в окружном направлении. Свободные, радиально внутренние кромки направляющих элементов (поз.21) имеют скошенную в направлении спереди назад форму, плавно изменяющуюся от диаметра входной части (поз.15) корпуса до наибольшего диаметра кольцевой камеры (поз.16). Хотя в этом случае направляющие элементы на их расположенном ближе к выходной стороне участке и перекрываются в осевом направлении со свободными концами (поз.14) лопаток на их расположенном ближе к входной стороне участке, тем не менее наличие большого радиального расстояния между направляющим элементами (поз.21) и концами (поз.14) лопаток исключает возможность эффективного направления рециркуляционного потока в определенную сторону. Еще один недостаток этого известного устройства состоит в наличии у кольцевой камеры (поз.16) большого объема по сравнению с размерами рабочих лопаток. Устройство подобного исполнения ни с аэродинамической, ни с конструктивной точек зрения не пригодно для использования в турбокомпрессорах.
С учетом присущих известным из уровня техники решениям недостатков в основу настоящего изобретения была положена задача разработать рециркуляционное устройство для турбокомпрессоров, которое позволяло бы значительно повысить порог помпажа и за счет этого существенно расширить область устойчивой работы турбокомпрессора без заметного снижения его кпд.
Эта задача решается с помощью рециркуляционного устройства для турбокомпрессоров, прежде всего для газовых турбин, имеющего расположенную концентрично оси турбокомпрессора в зоне свободных концов лопаток лопаточного венца кольцевую камеру, осевая середина которой расположена по ходу потока перед осевой серединой свободных концов лопаток и которая в радиальном направлении граничит с контуром основного проточного канала, так называемого кольцевого пространства, и множество расположенных внутри кольцевой камеры и распределенных по ее окружности направляющих элементов, при этом в кольцевой камере в ее передней и/или задней частях предусмотрена возможность прохождения потока в ее окружном направлении, а направляющие элементы соединены по меньшей мере с одной стенкой кольцевой камеры, а в остальном консольно или свободно выступают в нее. В соответствии с изобретением обращенные к кольцевой полости вершины направляющих элементов лежат на и/или вблизи ограничивающей контур основного проточного канала линии и в осевом направлении перекрываются со свободными концами лопаток или в осевом направлении граничат с зоной, в которой расположены свободные концы лопаток, при этом отношение осевой длины кольцевой камеры, измеренной вдоль ограничивающей контур основного проточного канала линии, к осевой длине концов лопаток составляет от 0,2 до 1,5.
Основная особенность предлагаемого в изобретении решения состоит в том, что обращенные к кольцевой полости вершины направляющих элементов лежат на, соответственно вблизи ограничивающей контур основного проточного канала линии и в осевом направлении перекрываются со свободными концами лопаток или в осевом направлении граничат с зоной, в которой расположены свободные концы лопаток. При этом отпадает необходимость в применении кольцевых элементов, снабженных покрытиями, защищающими их от повреждения при соприкосновении с вершинами лопаток, и иных элементов. Из приведенных выше патентных публикаций следует, что в данной области техники до настоящего времени основные усилия при любых условиях были направлены на выполнение рециркуляционных устройств с их обращенной к основному проточному каналу, т.е. к так называемому кольцевому пространству, стороны гладкими, имеющими минимальное количество щелей и сплошными на участке максимально возможной осевой протяженности с целью наиболее рационального с точки зрения аэродинамики и связанного лишь с минимальными потерями удлинения контура основного проточного канала. В отличие от этого предлагаемое в изобретении решение приводит к появлению в основном проточном канале щелей, рельефных поверхностей и т.д. и поэтому на первый взгляд кажется неудачным и нецелесообразным. Однако по результатам проведенных опытов было установлено, что предлагаемое в изобретении рециркуляционное устройство превосходит известные технические решения как с точки зрения повышения порога помпажа, так и с точки зрения кпд турбокомпрессора. С точки зрения аэродинамики подобный эффект можно объяснить тем, что свободное, естественное формирование рециркуляционного потока в открытой кольцевой камере со свободно выступающими в нее направляющими элементами и проточными соединениями в ее окружном направлении имеет гораздо более важное значение, чем удлинение контура основного проточного канала при минимально возможном количестве щелей. Дополнительное преимущество, связанное с отсутствием в предлагаемом в изобретении рециркуляционном устройстве сплошного кольца, состоит в отсутствии необходимости снабжать направляющие элементы специальным покрытием, защищающим их от повреждения при соприкосновении с ними лопаток, соответственно способствующим их прирабатыванию, а также в уменьшении радиальных размеров турбокомпрессора и в снижении его массы, что связано с определенными конструктивно-механическими преимуществами. Однако направление рециркуляционного потока в определенную, строго заданную сторону при отсутствии кольцевых элементов обеспечивается лишь в том случае, когда свободные кромки направляющих элементов располагаются сравнительно близко к кромкам лопаток и в осевом направлении частично перекрываются с кромками лопаток либо по меньшей мере граничат с зоной, в которой расположены кромки лопаток. Только при соблюдении этого условия в конечном итоге возможно получить компактное, пригодное для его применения в турбокомпрессорах встроенное в их корпус рециркуляционное устройство. При этом, как было указано выше, отношение осевой длины кольцевой камеры к осевой длине концов лопаток должно составлять от 0,2 до 1,5. В турбокомпрессорах с широкими лопатками с большой осевой протяженностью их вершин это отношение приближается к 0,2, а в турбокомпрессорах с узкими лопатками с малой осевой протяженностью их вершин это отношение приближается к 1,5.
В предпочтительном варианте отношение радиальной глубины кольцевой камеры к ее осевой длине должно составлять от 0,1 до 1,0. При разработке авиационных двигателей, к которым предъявляются исключительно жесткие требования касательно их габаритных размеров, контура и иных параметров, величину указанного отношения следует выбирать минимально возможной, т.е. выполнять кольцевую камеру малой радиальной глубины. В случае же стационарных турбокомпрессоров, для размещения которых обычно имеется достаточно большое пространство, указанное соотношение можно выбирать ближе к его верхнему пределу. В случае коротких в осевом направлении кольцевых камер указанное отношение также следует смещать ближе к его верхнему пределу.
В следующем предпочтительном варианте передняя в осевом направлении стенка и задняя в осевом направлении стенка кольцевой камеры наклонены, начиная от их круговых кромок, лежащих на ограничивающей контур основного проточного канала линии, на одинаковый или различный угол навстречу потоку (т.е. наклонены вперед), составляющий от 30 до 60°.
Направляющие элементы предпочтительно выполнять в виде пространственно искривленных лопаток с переменной толщиной и с определенным профилем сечения.
Направляющие элементы, если смотреть в осевом направлении, могут быть наклонены под определенным углом в окружном направлении или искривлены в окружном направлении, при этом указанный угол может изменяться по длине направляющих элементов и подобран с таким расчетом, чтобы облегчить с аэродинамической точки зрения, т.е. обеспечить аэродинамически рациональное, поступление рециркуляционного потока в кольцевую камеру
Обращенные к кольцевой полости вершины направляющих элементов по меньшей мере на участке, расположенном радиально напротив свободных концов лопаток, предпочтительно радиально удалять от них на такое расстояние, при котором при нормальной работе турбокомпрессора исключается соприкосновение концов лопаток с направляющими элементами. В этом случае учитывается возможность повреждения вершин рабочих лопаток в случае их касания прежде всего твердых, не обладающих податливостью вершин направляющих элементов. Радиальное удаление вершин направляющих элементов от вершин рабочих лопаток не противоречит требованию, согласно которому вершины направляющих элементов должны лежать на, соответственно вблизи ограничивающей контур основного проточного канала линии, поскольку наличие радиального зазора небольшой ширины между вершинами направляющих элементов и вершинами рабочих лопаток, позволяющего избежать их соприкосновения между собой, с аэродинамической точки зрения практически не имеет существенного значения, т.е. не оказывает отрицательного влияния на рециркуляцию потока.
Направляющие элементы предпочтительно выполнены из металла, такого как сталь или сплав на основе Ni либо Со, из легкого металла, такого как Al, или из синтетического материала, такого как термопласт, реактопласт или эластомер. При этом обращенные к кольцевой полости вершины направляющих элементов, если они выполнены из легкого металла или синтетического материала, расположены столь близко к свободным концам лопаток, что допускается возможность соприкосновения с ними.
Возможность прохождения потока в окружном направлении кольцевой камеры может обеспечиваться за счет наличия отверстий в передней и/или задней частях направляющих элементов.
Кольцевая камера и направляющие элементы могут быть выполнены за одно целое с деталью, в которой они расположены. В одном из частных вариантов кольцевая камера вместе с расположенными в ней направляющими элементами выполнена цельной или в виде по меньшей мере двух примыкающих друг к другу в окружном направлении сегментов и съемно закреплена на детали, в которой она расположена. При этом рециркуляционное устройство может быть выполнено литьем, прежде всего прецизионным литьем, обработкой резанием или электрохимической обработкой.
В другом частном варианте осуществления изобретения направляющие элементы выполнены по отдельности в виде индивидуальных деталей или объединенных в индивидуальные группы деталей, прежде всего в виде объединенных в сегменты направляющих элементов, и съемно закреплены в кольцевой камере. В этом случае направляющие элементы могут быть изготовлены ковкой или литьем либо электрохимической обработкой и/или обработкой резанием, а кольцевая камера выполнена обработкой резанием и/или литьем либо ковкой.
В одном из вариантов использования рециркуляционное устройство может быть в количестве одной или нескольких штук расположено неподвижно относительно корпуса турбокомпрессора, т.е. выполнено статическим, в зоне одного или нескольких рабочих колес и/или в количестве одной или нескольких штук расположено неподвижно относительно ступицы рабочего колеса турбокомпрессора, т.е. выполнено вращающимся, в зоне одного или нескольких направляющих аппаратов.
Возможность прохождения потока в окружном направлении кольцевой камеры может обеспечиваться за счет наличия выемок, в частности за счет наличия в ее передней или передней и задней частях выемок и/или отверстий, предусмотренных в направляющих элементах.
Ниже изобретение более подробно рассмотрено со ссылкой на прилагаемые упрощенные и выполненные без соблюдения масштаба чертежи, на которых показано:
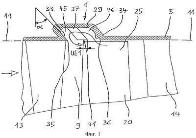
на фиг.1 – фрагмент изображенного в продольном разрезе компрессора осевого типа на участке, на котором расположено встроенное в его корпус рециркуляционное устройство,
на фиг.2 – аналогичный показанному на предыдущем чертеже фрагмент изображенного в продольном разрезе компрессора на участке, на котором расположено встроенное в ступицу рециркуляционное устройство,
на фиг.3 – фрагмент изображенного в поперечном разрезе рециркуляционного устройства, показанного на фиг.1,
на фиг.4 – фрагмент показанного на фиг.1 и 3 рециркуляционного устройства в виде радиально изнутри,
на фиг.5 – фрагмент изображенного в продольном разрезе компрессора на участке, на котором расположено встроенное в его корпус рециркуляционное устройство, несколько модифицированное по сравнению с показанным на фиг.1 рециркуляционным устройством,
на фиг.6 – фрагмент изображенного в продольном разрезе компрессора на участке, на котором расположено встроенное в его корпус рециркуляционное устройство, модифицированное по сравнению с показанными на фиг.1 и 5 рециркуляционными устройствами, и
на фиг.7 – фрагмент изображенного в продольном разрезе компрессора на участке, на котором расположено встроенное в его корпус рециркуляционное устройство, дополнительно модифицированное по сравнению с показанными на предыдущих чертежах вариантами его выполнения.
Показанное на фиг.1 рециркуляционное устройство 1 встроено в корпус 5 турбокомпрессора и поэтому может быть названо устройством типа “casing treatment” (англ. “casing” – корпус). Направление потока в основном проточном канале 9, в котором расположена система лопаток, обозначено показанной на чертеже слева стрелкой, т.е. поток движется через этот канал слева направо. На показанном на чертеже участке поток сначала набегает на направляющий аппарат 13 (входной), затем на рабочее колесо 20 и затем еще на один направляющий аппарат 14 (выходной). Радиально внешний контур 11 основного проточного канала 9 соответствует внутреннему контуру корпуса 5 и для наглядности условно обозначен на чертеже продолжающими его слева и справа от основного изображения штрихпунктирными линиями. Статическое рециркуляционное устройство 1 взаимодействует с рабочим колесом 20 и в осевом направлении большей частью расположено перед ним, т.е. впереди по ходу потока. С радиально внешней стороны к основному проточному каналу 9 примыкает открытая с его стороны кольцевая камера 29, которая совместно с направляющими элементами 37 и образует рециркуляционное устройство 1. Вершины 41 направляющих элементов 37 лежат на одной линии с линией, ограничивающей контур 11 основного проточного канала 9, или вблизи нее, т.е. по меньшей мере приблизительно лежат на линии, ограничивающей внутренний контур корпуса. Эти направляющие элементы 37 могут быть выполнены из металла, например никелевого сплава, из легкого металла, например алюминия, либо из синтетического материала, такого как термопласты, реактопласты или эластомеры. Передняя 33 и задняя 34 стенки кольцевой камеры 29 для уменьшения их аэродинамического сопротивления обозначенному маленькой стрелкой рециркуляционному потоку выполнены наклоненными вперед, начиная от их радиально внутренних краев 35, 26.
Угол наклона передней стенки обозначен через и может равняться углу наклона задней стенки 34 либо отличаться от него. Между передней стенкой 33, направляющими элементами 37 и задней стенкой 34 предусмотрены выемки 45, 46, которые в дополнение к происходящей преимущественно в осевом направлении рециркуляции потоков допускают их движение в кольцевой камере в ее окружном направлении. Позицией 25 обозначены свободные концы лопаток рабочего колеса 20, в зоне которых наиболее вероятно возникновение возмущений в потоке. Участок взаимного осевого перекрытия направляющих элементов 37 и концов 25 лопаток обозначен на фиг.1 через UE1.
В отличие от показанного на фиг.1 варианта на фиг.2 показано интегрированное во вращающуюся ступицу 8 рециркуляционное устройство 2. В показанном на этом чертеже варианте в основном проточном канале 10 расположены, если смотреть слева направо, рабочее колесо 21, направляющий аппарат 15, свободные концы 26 лопаток которого обращены радиально внутрь, и рабочее колесо 22. В соответствии с этим подобное рециркуляционное устройство при таком его новом расположении следовало бы обозначить как устройство типа “hub treatment” (устройство, англ. “hub” – ступица), т.е. встроенное в ступицу рециркуляционное устройство. Это состоящее из кольцевой камеры 30 и направляющих элементов 38 рециркуляционное устройство 2 с передними и задними выемками 47, 48, имеющимися между передней и задней стенками кольцевой камеры 30, и отстоящими от них направляющими элементами 38 взаимодействует с направляющим аппаратом 15, который большей частью расположен по ходу потока за ней. Поскольку в этом случае встроенное в ступицу рециркуляционное устройство вращается, а направляющий аппарат 15 остается неподвижным, частота вращения ротора полностью соответствует относительной частоте вращения. По своему принципу действия встроенное в ступицу рециркуляционное устройство по существу ничем не отличается от встроенного в корпус рециркуляционного устройства. Рециркуляционные устройства обоих типов, т.е. встроенное в корпус и встроенное в ступицу рециркуляционные устройства, можно также совместно использовать в одном и том же турбокомпрессоре, в том числе и в нескольких его ступенях. В рассматриваемом случае радиально внутренний контур 12 основного проточного канала соответствует наружному контуру ступицы 8. Участок взаимного осевого перекрытия направляющих элементов 38 с концами 26 лопаток направляющего аппарата 15 обозначен на этом чертеже через UE2. В местах перехода к стенкам кольцевой камеры 30 направляющие элементы 38 для повышения их прочности выполнены в их основании расширяющимися по радиусу, т.е. с галтелями.
На фиг.3 более детально в разрезе показан фрагмент изображенной на фиг.1 конструкции. Направляющие элементы 37 наклонены под таким углом к радиусу, при котором концы 25 лопаток вращающегося (в обозначенном стрелкой направлении) рабочего колеса 20 без существенных потерь направляют рециркуляционный поток в кольцевую камеру 29. При соответствующей кривизне направляющих элементов угол их наклона может уменьшаться в радиальном направлении изнутри наружу до нулевого значения.
В принципе существует возможность строго радиального расположения направляющих элементов, т.е. с углом их наклона , равным 0°, однако такое их расположение менее целесообразно с точки зрения создаваемого ими аэродинамического сопротивления.
Более наглядное представление об аэродинамическом профиле и кривизне направляющих элементов 37 позволяет получить показанная на фиг.4 проекция, где в дополнение к фиг.3 показан профиль лопаток рабочего колеса 20 вместе с направлением его вращения (обозначенным стрелкой). Для специалиста представляется очевидным, что на выходе из кольцевой камеры 29 в зоне ее передней по ходу потока кромки 35 рециркуляционный поток в этом случае должен закручиваться против вращения рабочего колеса 20. Позицией 36 обозначена задняя по ходу потока кромка кольцевой камеры.
Показанное на фиг.5 рециркуляционное устройство 3 представляет собой встроенное в корпус рециркуляционное устройство с интегрированной в корпус 6 турбокомпрессора кольцевой камерой 31. В этом случае направляющие элементы 39 доходят до передней стенки кольцевой камеры 31, в задней части которой непосредственно вблизи концов 27 лопаток рабочего колеса 23 имеются выемки 49. Через UE3 на чертеже обозначен участок осевого взаимного перекрытия направляющих элементов 39 с концами 27 лопаток. Через LR на чертеже обозначена осевая длина кольцевой камеры 31, а через HR обозначена ее радиальная глубина. Через LS на чертеже обозначена осевая длина концов 27 лопаток. Отношение величины LR к величине LS должно составлять от 0,2 до 1,5, а отношение величины HR к величине LR – от 0,1 до 1,0. В рассматриваемом варианте направляющие элементы 39 во избежание их соприкосновения с концами 27 лопаток выполнены несколько укороченными радиально наружу со ступенчатыми вершинами 43, которые тем самым несколько не доходят в радиальном направлении до окружности, описываемой концами лопаток при их вращении. Позициями 16 и 17 обозначены направляющие аппараты.
Показанное на фиг.6 рециркуляционное устройство 4 с кольцевой камерой 32 и направляющими элементами 40 также представляет собой рециркуляционное устройство, встроенное в корпус 7 турбокомпрессора и взаимодействующее с рабочим колесом 24. В отличие от показанного на фиг.5 варианта направляющие элементы 40 в данном случае доходят до задней стенки кольцевой камеры 32. Выемки же 50, образованные за счет выполнения направляющих элементов 40 с отступом от передней стенки кольцевой камеры 32, расположены в рассматриваемом варианте в ее передней части. В этом варианте вершины 44 направляющих элементов 40 перекрываются с зоной, в которой вращаются концы 28 лопаток.
Показанное на фиг.7 рециркуляционное устройство 51 отличается от рассмотренных выше вариантов его выполнения тем, что в передней и задней частях направляющих элементов 56 предусмотрены полностью замкнутые по своему периметру отверстия 58, 59, обеспечивающие возможность движения потоков в кольцевой камере 53 в ее окружном направлении. Тем самым в этом варианте остаются повышающие прочность направляющих элементов 56 перемычки 60, 61, прочно соединяющие их с передней и задней стенками 54, 55 кольцевой камеры 53, выполненной в корпусе 52 турбокомпрессора. В другом варианте вместо одного из отверстий 58, соответственно 59 можно предусмотреть описанную выше выемку, образованную за счет выполнения направляющих элементов с отступом от соответствующей стенки кольцевой камеры 53. Очевидно, однако, что в направляющих элементах можно предусмотреть и лишь по одному отверстию 58, соответственно 59 в их передней или задней части.
Во всех вариантах выполнения рециркуляционного устройства вершины 41-44 и 57 направляющих элементов 37-40 и 56 при условии их изготовления из мягкого легкого металла или из синтетического материала (пластика) необязательно должны иметь укороченное радиально наружу исполнение, поскольку в этом случае вполне можно допустить их соприкосновение с концами 25-28 лопаток без опасности их повреждения.
Формула изобретения
1. Рециркуляционное устройство для турбокомпрессоров, прежде всего для газовых турбин, имеющее расположенную концентрично оси турбокомпрессора в зоне свободных концов лопаток лопаточного венца кольцевую камеру, осевая середина которой расположена по ходу потока перед осевой серединой свободных концов лопаток и которая в радиальном направлении граничит с контуром основного проточного канала, так называемого кольцевого пространства, и множество расположенных внутри кольцевой камеры и распределенных по ее окружности направляющих элементов, при этом в кольцевой камере в ее передней и/или задней частях предусмотрена возможность прохождения потока в ее окружном направлении, а направляющие элементы соединены, по меньшей мере, с одной стенкой кольцевой камеры, а в остальном консольно или свободно выступают в нее, отличающееся тем, что обращенные к кольцевой полости вершины (41-44, 57) направляющих элементов (37-40, 56) лежат на и/или вблизи ограничивающей контур (11, 12) основного проточного канала (9, 10) линии и в осевом направлении перекрываются (UE 1 – UE 4) со свободными концами (25-28) лопаток или в осевом направлении граничат с зоной, в которой расположены свободные концы (25-28) лопаток, при этом отношение осевой длины (LR) кольцевой камеры (29-32, 53), измеренной вдоль ограничивающей контур (11, 12) основного проточного канала (9, 10) линии, к осевой длине (LS) концов (25-28) лопаток составляет от 0,2 до 1,5.
2. Рециркуляционное устройство по п.1, отличающееся тем, что отношение радиальной глубины (HR) кольцевой камеры (29-32, 53) к ее осевой длине (LR) составляет от 0,1 до 1,0.
3. Рециркуляционное устройство по п.1 или 2, отличающееся тем, что передняя в осевом направлении стенка (33, 54) и задняя в осевом направлении стенка (34, 55) кольцевой камеры (29-32, 53) наклонены, начиная от их круговых кромок (35, 36), лежащих на ограничивающей контур (11) основного проточного канала (9) линии, на одинаковый или различный угол ( ) навстречу потоку, т.е. наклонены вперед.
4. Рециркуляционное устройство по п.3 отличающееся тем, что угол ( ) наклона передней и задней в осевом направлении стенок кольцевой камеры, отсчитываемый от радиального направления, составляет от 30 до 60°.
5. Рециркуляционное устройство по п.1, или 2, или 4, отличающееся тем, что направляющие элементы (37-40, 56) выполнены в виде пространственно искривленных лопаток с переменной толщиной и с определенным профилем сечения.
6. Рециркуляционное устройство по п.1, или 2, или 4, отличающееся тем, что направляющие элементы (37-40, 56), если смотреть в осевом направлении, наклонены под определенным углом ( ) в окружном направлении или искривлены в окружном направлении, при этом указанный угол ( ) может изменяться по длине направляющих элементов (37-40, 56) и подобран с таким расчетом, чтобы облегчить с аэродинамической точки зрения, т.е. обеспечить аэродинамически рациональное поступление рециркуляционного потока в кольцевую камеру (29-32, 53).
7. Рециркуляционное устройство по п.1, или 2, или 4, отличающееся тем, что обращенные к кольцевой полости вершины (43) направляющих элементов (39), по меньшей мере, на участке, расположенном радиально напротив свободных концов (27) лопаток, радиально удалены от них на такое расстояние, при котором при нормальной работе турбокомпрессора исключается соприкосновение концов (27) лопаток с направляющими элементами (39).
8. Рециркуляционное устройство по п.1, или 2, или 4, отличающееся тем, что направляющие элементы (37-40) выполнены из металла, такого как сталь или сплав на основе Ni либо Со, из легкого металла, такого как Al, или из синтетического материала, такого как термопласт, реактопласт или эластомер.
9. Рециркуляционное устройство по п.8, отличающееся тем, что обращенные к кольцевой полости вершины (41-44) направляющих элементов (37-40), если они выполнены из легкого металла или синтетического материала, расположены столь близко к свободным концам (25-28) лопаток, что допускается возможность соприкосновения с ними.
10. Рециркуляционное устройство по п.1, или 2, или 4, или 9, отличающееся тем, что возможность прохождения потока в окружном направлении кольцевой камеры обеспечивается за счет наличия отверстий (58, 59) в передней и/или задней частях направляющих элементов (37-40, 56).
11. Рециркуляционное устройство по п.1, или 2, или 4, или 9, отличающееся тем, что кольцевая камера (29-32, 53) и направляющие элементы (37-40, 56) выполнены за одно целое с деталью (5-7, 8, 52), в которой они расположены.
12. Рециркуляционное устройство по п.1, или 2, или 4, или 9, отличающееся тем, что кольцевая камера (29-32, 53) вместе с расположенными в ней направляющими элементами (37-40, 56) выполнена цельной или в виде, по меньшей мере, двух примыкающих друг к другу в окружном направлении сегментов и съемно закреплена на детали (5-7, 8, 52), в которой она расположена.
13. Рециркуляционное устройство по п.12, отличающееся тем, что оно выполнено литьем, прежде всего прецизионным литьем, обработкой резанием или электрохимической обработкой.
14. Рециркуляционное устройство по п.1, или 2, или 4, или 9, отличающееся тем, что направляющие элементы (37-40) выполнены по отдельности в виде индивидуальных деталей или объединенных в индивидуальные группы деталей, прежде всего в виде объединенных в сегменты направляющих элементов, и съемно закреплены в кольцевой камере (29-32).
15. Рециркуляционное устройство по п.14, отличающееся тем, что направляющие элементы (37-40) изготовлены ковкой или литьем либо электрохимической обработкой и/или обработкой резанием.
16. Рециркуляционное устройство по п.15, отличающееся тем, что кольцевая камера (29-32) выполнена обработкой резанием и/или литьем либо ковкой.
17. Рециркуляционное устройство по п.1, или 2, или 4, или 9, или 13, или 15, или 16, отличающееся тем, что она в количестве одной или нескольких штук расположена неподвижно относительно корпуса турбокомпрессора, т.е. выполнена статической, в зоне одного или нескольких рабочих колес (20, 23, 24) и/или в количестве одной или нескольких штук расположена неподвижно относительно ступицы рабочего колеса турбокомпрессора, т.е. выполнена вращающейся, в зоне одного или нескольких направляющих аппаратов (15).
18. Рециркуляционное устройство по п.1, или 2, или 4, или 9, или 13, или 15, или 16, отличающееся тем, что возможность прохождения потока в окружном направлении кольцевой камеры обеспечивается за счет наличия выемок (45-50).
19. Рециркуляционное устройство по п.1, или 2, или 4, или 9, или 13, или 15, или 16, отличающееся тем, что возможность прохождения потока в окружном направлении кольцевой камеры (29-32, 53) обеспечивается за счет наличия в ее передней или передней и задней частях выемок (45-50) и/или отверстий (58, 59), предусмотренных в направляющих элементах (37-40, 56).
Приоритет по пунктам
23.08.2002 – пп.3-9, 17 и 18;
03.07.2003 – пп.1, 2, 10-16 и 19.
РИСУНКИ
|
|