|
|
(21), (22) Заявка: 2005125495/06, 10.08.2005
(24) Дата начала отсчета срока действия патента:
10.08.2005
(46) Опубликовано: 27.03.2007
(56) Список документов, цитированных в отчете о поиске:
RU 2241843 C1, 10.12.2004. RU 14444 U1, 27.07.2000. RU 45146 U1, 27.04.2005. US 6123170 A, 26.09.2000. GB 2328720 A, 03.03.1999. US 4002023 A, 11.01.1995.
Адрес для переписки:
614038, г.Пермь, ул. Акад. Веденеева, 28, ОАО НПО “Искра”
|
(72) Автор(ы):
Горбунова Любовь Васильевна (RU), Ерышкин Юрий Павлович (RU), Митин Евгений Михайлович (RU), Рыженков Владимир Иванович (RU), Упоров Геннадий Юрьевич (RU)
(73) Патентообладатель(и):
Открытое акционерное общество Научно-производственное объединение “Искра” (RU)
|
(54) ЗВУКОПОГЛОЩАЮЩИЙ КОЖУХ ГАЗОТУРБИННОЙ УСТАНОВКИ
(57) Реферат:
Изобретение относится к турбоблокам газоперекачивающих агрегатов и газотурбинных электростанций. Звукопоглощающий кожух газотурбинной установки содержит силовой каркас, наружный корпус и внутренние панели, между которыми размещен звукопоглощающий материал. Верхнее перекрытие корпуса выполнено съемным, для чего его края образуют фланец с отверстиями, на котором под углом установлены продольные элементы, образующие грани усеченной пирамиды, а внутренняя панель закреплена на меньшем основании пирамиды. На ответной части каркаса выполнены направляющие с поверхностями, эквидистантными граням усеченной пирамиды. Между фланцем и каркасом размещена эластичная прокладка, а фланец закреплен на каркасе, например, с помощью винтов. Изобретение позволяет улучшить эксплуатационные характеристики кожуха за счет обеспечения возможности выемки двигателя из кожуха сверху. 3 ил.
Изобретение относится к турботехнике, в частности к турбоблокам газоперекачивающих агрегатов (ГПА) и газотурбинных электростанций (ГТЭС), и может быть использовано при изготовлении звукопоглощающих кожухов газотурбинных установок (ГТУ).
Как правило, в состав турбоблоков газотурбинных установок входит звукопоглощающий кожух (далее по тексту кожух), (см. патент №2241843, МПК F 02 C 7/24 от 10.12.04 г.), предназначенный для снижения уровня шума от работающей ГТУ и создания ограниченного пространства вокруг ГТУ для ее обдува с целью охлаждения.
При известных конструкцях кожуха выкатка двигателя ГТУ для его замены или ремонта производится через камеру всаса, пристыкованную к торцу кожуха, как это показано, например, на рис.1 стр.31 журнала «Газотурбинные технологии» №6, 2003 г.(процесс выкатки, показанный на фото 3, стр.4 журнала «Газотурбинные технологии» №3, 2002 г). В этом случае требуются специальное приспособление для обеспечения процесса выкатки двигателя ГТУ, рельсовые пути в камере всаса и оборудование специальной площадки перед камерой всаса. Кроме того, при выкатке двигателя через камеру всаса в ней могут остаться посторонние предметы, грязи и т.п. После закатки двигателя на место возможно попадание посторонних предметов из камеры всаса в проточную часть ГТУ при ее работе, приводящее к выходу ее из строя. Для исключения этого явления требуется ряд организационно-технических мероприятий для сохранности чистоты камеры всаса после проведения регламентных работ. Человеческий фактор не исключает нарушения установленного регламента работ, что в ряде случаев приводит к повреждению ГТУ.
Выходом из положения может быть вариант выкатки двигателя ГТУ вбок, как это описано в журнале «Газотурбинные технологии» №6, 2004 г., на стр.2-6 и рис.4, стр.5. Но в этом случае также требуются специальное приспособление для выкатки двигателя, рельсовые пути и выкатная площадка, а также обеспечение жесткости и прочности каркаса кожуха в месте съемной или открывающейся боковой панели. Это усложняет конструкцию силового блока и технологию выкатки двигателя.
Технической задачей предполагаемого изобретения является улучшение эксплуатационных характеристик кожуха за счет обеспечения возможности выемки двигателя из кожуха сверху.
Технический результат достигается тем, что в известном звукопоглощающем кожухе ГТУ (патент №2241843, МПК F 02 С 7/24 от 10.12.04 г.), выполненном в виде силового каркаса из коробчатого профиля, наружного корпуса и внутренних панелей, между которыми размещен звукопоглощающий материал, верхнее перекрытие корпуса выполнено съемным. Его края образуют фланец с отверстиями. На фланце под углом установлены продольные элементы, образующие грани усеченной пирамиды, а внутренняя панель закреплена на меньшем основании пирамиды. На ответной части каркаса выполнены направляющие с поверхностями эквидистантными граням усеченной пирамиды. Между фланцем и каркасом размещена эластичная прокладка, а фланец закреплен на каркасе с помощью, например, винтов.
Съемное перекрытие позволяет производить выемку двигателя из-под кожуха вверх с помощью крана без применения дополнительных приспособлений.
При выемке двигателя через верх кожуха исключается дополнительное вскрытие камеры всаса ГПА, что автоматически исключает попадание туда посторонних предметов и грязи.
Наличие продольных элементов в виде усеченной пирамиды и эквидистантные ей направляющие на каркасе кожуха обеспечивают самоцентровку перекрытия при его установке краном на каркас, а эластичная прокладка обеспечивает герметичность кожуха, исключая проникновение шума через место соединения перекрытия и подсос воздуха системы охлаждения ГТУ из-под кожуха.
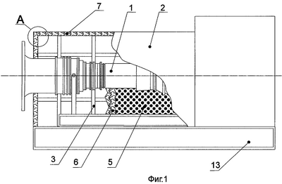
На фиг.1 показан кожух ГТУ, вид сбоку.
На фиг.2 показано одно из сечений места соединения верхнего перекрытия и кожуха.
На фиг.3 в аксонометрии показано верхнее перекрытие в перевернутом виде.
Двигатель ГТУ 1 находится под звукопоглощающим кожухом 2, который содержит силовой каркас 3, установленный на раме 13, наружный корпус 4 и внутренние панели 5, между которыми помещен звукопоглощающий материал 6. Кожух 2 имеет верхнее перекрытие 7, которое закреплено на каркасе по фланцу 8 через отверстия 15 винтами 9 (Возможно соединение с помощью струбцин, замков и т.п.). Между фланцем и посадочным местом каркаса установлена эластичная прокладка 10.
На фланце 8 установлены продольные элементы 11, образующие грани усеченной пирамиды, на меньшем основании которой закреплена (например, сваркой) внутренняя панель 14, закрывающая звукопоглощающий материал 6. На верхней части каркаса 3 выполнена выемка 12 с поверхностью, эквидистантной поверхности элементов 11.
При необходимости выемки двигателя ГТУ 1 верхнее перекрытие 7 отстыковывается и снимается с помощью крана. Двигатель вынимается этим же краном после предварительной отстыковки от компенсаторов, входящих в состав ГТУ (не показаны).
Установка двигателя производится в обратном порядке, при этом при опускании перекрытия оно самоцентрируется по граням элементов 11 и выемке 12.
Таким образом, процесс выемки и установки двигателя сводится к простой операции подъема-опускания с помощью крана. При этом исключается необходимость вскрытия камеры всаса и ее последующее загрязнение.
Формула изобретения
Звукопоглощающий кожух газотурбинной установки, содержащий силовой каркас, наружный корпус и внутренние панели, между которыми размещен звукопоглощающий материал, отличающийся тем, что в нем верхнее перекрытие корпуса выполнено съемным, для чего его края образуют фланец с отверстиями, на котором под углом установлены продольные элементы, образующие грани усеченной пирамиды, а внутренняя панель закреплена на меньшем основании пирамиды, на ответной части каркаса выполнены направляющие с поверхностями, эквидистантными граням усеченной пирамиды, при этом между фланцем и каркасом размещена эластичная прокладка, а фланец закреплен на каркасе, например, с помощью винтов.
РИСУНКИ
|
|