|
|
(21), (22) Заявка: 2005119181/06, 21.06.2005
(24) Дата начала отсчета срока действия патента:
21.06.2005
(46) Опубликовано: 27.03.2007
(56) Список документов, цитированных в отчете о поиске:
GB 2258271 А, 03.02.1993. DE 3927535 A1, 14.03.1991. FR 636243 А, 04.04.1928. FR 631151 А, 15.12.1927. SU 1370272 A1, 30.01.1988. RU 2159858 C2, 27.11.2000.
Адрес для переписки:
394006, г.Воронеж, ул. 9 Января, 36, оф.516, Инновационный патентно-правовой центр Воронежской области (ИППЦ), пат.пов. А.М. Инцертову, рег. № 200
|
(72) Автор(ы):
Уколов Владимир Николаевич (RU)
(73) Патентообладатель(и):
Уколов Владимир Николаевич (RU)
|
(54) КРИВОШИПНО-ШАТУННЫЙ МЕХАНИЗМ УКОЛОВА
(57) Реферат:
Изобретение относится к машиностроению, например к двигателям внутреннего сгорания поршневого типа, в частности к двигателям с переменной степенью сжатия. Технический результат заключается в снижении габаритов и упрощении конструкции подвижной части кривошипно-шатунного механизма и возможности изменения его геометрии в широких пределах для обеспечения изменения степени сжатия двигателя. Согласно изобретению кривошипно-шатунный механизм включает в себя шатун, выполненный с возможностью перемещения относительно оси шатунной шейки коленчатого вала посредством промежуточного элемента. Промежуточный элемент представляет собой эксцентрик, установленный в нижней головке шатуна и охватывающий шатунную шейку коленчатого вала. Эксцентрик снабжен колесом с наружными зубьями, которое взаимосвязано с центральным зубчатым колесом с наружными зубьями, установленным концентрично оси коленчатого вала с возможностью поворота относительно последнего посредством привода. При этом коленчатый вал дополнительно снабжен подвижными противовесами, связанными с центральными зубчатыми колесами. 5 з.п. ф-лы, 6 ил.
Изобретение относится к машиностроению, например к двигателям внутреннего сгорания поршневого типа, в частности к двигателям с переменной степенью сжатия.
Степень сжатия поршневого двигателя определяют как отношение суммарного рабочего объема цилиндра при нахождении поршня в нижней мертвой точке к суммарному рабочему объему цилиндра при нахождении поршня в верхней мертвой точке.
Степень сжатия топливовоздушной смеси, используемой в двигателе внутреннего сгорания, играет решающую роль в ее горении и в значительной мере определяет кпд двигателя. Чем выше степень сжатия, тем, в общем случае, больше кпд горения. Максимальная степень сжатия топливовоздушной смеси ограничивается детонационной стойкостью, т.е. при чрезмерном сжатии топливовоздушная смесь самопроизвольно воспламеняется, что приводит к неуправляемому горению с воспламенением в нерасчетный момент времени. В этом случае двигатель переходит в детонационный режим работы, что приводит к его повышенному износу.
Мощность двигателя и его кпд могут быть повышены также за счет турбонаддува. Однако при увеличении давления наддува и соответствующем повышении мощности двигателя во избежание детонации степень сжатия необходимо уменьшать.
При таких условиях обычный двигатель с постоянной степенью сжатия, обусловленной его конструкцией с фиксированными параметрами деталей и узлов, не может работать с оптимальной эффективностью. Горение топливовоздушной смеси в таком двигателе может быть до некоторой степени оптимизировано, максимум – для одной фиксированной точки рабочей характеристики, соответствующей максимальному кпд.
Для обеспечения частичной оптимизации работы двигателя на современных автомобилях устанавливают электронные блоки управления, которые позволяют изменять установку момента зажигания и параметры топливовоздушной смеси в зависимости от режимов работы двигателя и условий его эксплуатации, в том числе погодных.
В то же время, основная характеристика двигателя, которая могла бы обеспечить почти полную оптимизацию режима работы двигателя и его максимальную эффективность, а именно степень сжатия, остается неизменной.
Известны кривошипно-шатунные механизмы, позволяющие изменять степень сжатия двигателя за счет введения в их состав эксцентриковых элементов.
Таковым является, например, двигатель Mayflower е3 австрийского инженера Джо Эрлиха. В данной конструкции шатун прикреплен к шейке коленчатого вала через эксцентрик, выполненный заодно со штоком, который смонтирован в подвижной направляющей. Направляющей придана возможность перемещения относительно штока, а также совместно с ним. При этом, в отличие от традиционной окружности, траектория движения нижней головки шатуна приобретает форму эллипса, которая может меняться, приводя к изменению характера движения поршня и смещению его мертвых точек. В зависимости от требуемых условий, например скорости и нагрузки, «геометрия» двигателя, а именно его степень сжатия и рабочий объем, могут быть изменены и выбраны оптимальными. В случае максимально вытянутой эллиптической траектории при такте сжатия поршень останавливается в верхней мертвой точке практически мгновенно, сразу после воспламенения смеси. Это ведет к улучшению полноты сгорания топливной смеси, увеличению мощности двигателя и снижению вредных выбросов. При эллиптической траектории шатуна такты впуска и расширения удлиняются, а наполнение цилиндра и эффективность работы двигателя возрастают. В данной конструкции двигателя, когда поршень находится в верхней мертвой точке, шатун расположен не вертикально, а с наклоном. Некоторые фирмы, например Honda, с этой же целью смещают коленчатый вал от оси цилиндров. При этом увеличивается сила давления газов и, следовательно, крутящий момент двигателя.
Известна также разработка французской фирмы МСЕ-5 Development, автор Вианни Раби. В данной конструкции шатун соединен с двуплечим коромыслом, одно из плеч которого взаимодействует с кронштейном, которому придана возможность перемещения вверх-вниз посредством гидроцилиндра. Этим достигается изменение зоны рабочего хода поршней и, как результат, изменение степени сжатия. При этом сам поршень движется строго вверх-вниз, зажатый с одной стороны опорной зубчатой рейкой, а с другой – зубчатым сектором коромысла, посредством которого движение поршня передается коленчатому валу.
Наиболее близким к предлагаемому техническому решению является изобретение «Двигатель внутреннего сгорания поршневого типа с переменной степенью сжатия» [Патент РФ №2159858, заявка №97115877/06 от 28.02.1996 г., МПК(7) – F 02 В 75/04, публ. 27.11.2000 г.].
Двигатель включает нижнюю головку шатуна, связанную с шатунной шейкой коленчатого вала через эксцентрик, снабженный колесом с наружными зубьями. Эксцентрик является промежуточным элементом между нижней головкой шатуна и шатунной шейкой коленчатого вала, и во время вращения коленчатого вала может быть повернут внутри нижней головки шатуна посредством управляющего механизма, взаимодействующего с колесом с наружными зубьями, выполненного заодно с промежуточным элементом. Управляющий механизм выполнен в виде колеса большего диаметра с внутренними зубьями, установленного на коленчатом валу концентрически его оси с возможностью поворота относительно коленчатого вала.
Подвижная часть кривошипно-шатунного механизма известного двигателя обладает рядом недостатков, в числе которых разбалансированность коленчатого вала, сложность выполнения управляющего механизма в виде колеса с внутренними зубьями и его привода, повышенные требования к соотношению размеров зубчатых колес, наличие дополнительного вала с зубчатым сектором и высокая скорость взаимодействия элементов управляющего механизма. Кроме того, изменение степени сжатия за счет поворота эксцентрика вокруг шейки коленчатого вала одновременно ведет к изменению, в том числе к уменьшению эффективного радиуса вращения кривошипа и, соответственно, к неизбежному уменьшению рабочего объема двигателя, что снижает его максимальную мощность. Для обеспечения изменения степени сжатия в широком диапазоне, например, от 23:1 до 7:1 необходим эксцентрик со значительным эксцентриситетом, что ведет к существенному увеличению массы и размеров кривошипно-шатунного механизма и двигателя в целом. Во всех режимах работы двигателя происходит смещение центра приведенной массы кривошипа, что ведет к дополнительному повышению вибронагруженности и шумности двигателя.
Целью изобретения является снижение габаритов и упрощение конструкции подвижной части кривошипно-шатунного механизма без повышения уровня шумности двигателя, обеспечение возможности изменения его геометрии в широких пределах, а также изменение степени сжатия при одновременном выборе рабочего объема двигателя от нуля до максимального, установленного его техническими характеристиками.
Поставленная цель достигается тем, что в заявляемом кривошипно-шатунном механизме, включающем шатун, выполненный с возможностью перемещения относительно оси шатунной шейки коленчатого вала посредством промежуточного элемента, например эксцентрика, установленного в нижней головке шатуна и охватывающего шатунную шейку коленчатого вала, при этом эксцентрик снабжен, по меньшей мере, одним колесом с наружными зубьями, которое взаимосвязано с управляющим механизмом, управляющий механизм выполнен в виде, по меньшей мере, одного центрального зубчатого колеса с наружными зубьями, установленного концентрически оси коленчатого вала с возможностью поворота относительно последнего посредством привода.
Центральное зубчатое колесо связано с приводом, по меньшей мере, одним промежуточным валом, проходящим внутри коленчатого вала.
Для компенсации разбалансировки кривошипно-шатунного механизма при изменении его параметров коленчатый вал снабжен дополнительными подвижными противовесами, связанными с центральным зубчатым колесом.
В зависимости от количества цилиндров двигателя управляющий механизм включает N промежуточных валов и эксцентриков и по 2N центральных зубчатых колес, колес с наружными зубьями эксцентриков и подвижных противовесов, где N – число шатунов, соответствующее количеству цилиндров.
Эксцентрики, совместно с колесами с наружными зубьями, могут быть выполнены составными, по меньшей мере, из двух сегментов.
Привод управляющего механизма может быть выполнен, например, в виде шагового электродвигателя, включающего корпус, статор, ротор, шестерню статора и шестерню ротора, при этом шестерня статора связана с ведущей шестерней газораспределительного механизма, установленной на коленчатом вале, а шестерня ротора связана с шестерней промежуточного вала посредством, например, ременных передач.
Управление приводом осуществляется посредством электронного блока управления.
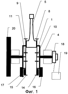
На фиг.1 приведена общая схема предлагаемого кривошипно-шатунного механизма на примере одноцилиндрового двигателя.
На фиг.2 приведен общий вид сечения Б-Б кривошипа для одного цилиндра.
На фиг.3 приведен общий вид сечения А-А кривошипа для одного цилиндра.
На фиг.4 приведен общий вид эксцентрика с колесами с наружными зубьями, установленного в нижней головке шатуна в положении, когда длина шатуна максимальна.
На фиг.5 приведен общий вид привода механизма управления степенью сжатия.
На фиг.6 приведен общий вид траекторий движения осей шатунной шейки и нижней головки шатуна.
Кривошипно-шатунный механизм включает коленчатый вал 1 с неподвижными противовесами 22, 23, опорные шейки 2, шатунную шейку 3 и опоры 4 коленчатого вала 1, шатун 5, выполненный с возможностью перемещения относительно оси 17 шатунной шейки 3 посредством промежуточного элемента, например эксцентрика 7, установленного в нижней головке 21 шатуна 5 и охватывающего шатунную шейку 3. Эксцентрик 7 снабжен колесами с наружными зубьями 8, 9, которые взаимосвязаны с управляющим механизмом. Управляющий механизм выполнен в виде центральных зубчатых колес 10, 11 с наружными зубьями, установленных концентрически оси коленчатого вала 1 с возможностью поворота относительно последнего посредством привода 18. Ось 16 нижней головки 21 шатуна 5 совпадает с осью наружного диаметра эксцентрика 7, а ось 17 шатунной шейки 3 коленчатого вала 1 совпадает с осью вращения эксцентрика 7 и колес с наружными зубьями 8, 9 эксцентрика 7.
Центральное зубчатое колесо 10 связано с приводом 18 промежуточным валом 12, проходящим внутри коленчатого вала 1.
Для постоянной компенсации разбалансировки кривошипно-шатунного механизма при изменении его параметров коленчатый вал 1 дополнительно снабжен подвижными противовесами 14, 15, которые связаны с центральными зубчатыми колесами 10, 11 соответственно.
В зависимости от количества цилиндров двигателя управляющий механизм включает N промежуточных валов 12 и эксцентриков 7 и по 2N центральных зубчатых колес 10, 11, колес с наружными зубьями 8, 9 и подвижных противовесов 14, 15, где N – число шатунов 5, соответствующее количеству цилиндров.
Эксцентрики 7 совместно с колесами с наружными зубьями 8, 9 могут быть выполнены составными из двух сегментов 6, охватывающих шатунную шейку 3.
Привод 18 управляющего механизма может быть выполнен, например, в виде шагового электродвигателя, включающего корпус 28, статор 29, ротор 30, шестерню статора 31 и шестерню ротора 32, при этом шестерня статора 31 связана с ведущей шестерней газораспределительного механизма 24, установленной на коленчатом вале 1, а шестерня ротора 32 связана с шестерней 25 промежуточного вала 12 посредством, например, ременных передач 26 и 27 соответственно.
Управление приводом 18 осуществляется посредством электронного блока управления 19.
В задней части коленчатого вала 1 установлен маховик 20.
В зависимости от режимов работы двигателя и сочетания факторов, влияющих на процесс горения рабочей смеси, величина степени сжатия может иметь минимальное, максимальное либо промежуточное значения.
При холостом ходе или при торможении двигателем степень сжатия максимальна. В данном случае при изменении положения элементов кривошипа две плоскости П1 и П2, первая из которых включает ось 17 шатунной шейки 3 и ось 16 нижней головки 21 шатуна 5, а другая, соответственно, ось вращения коленчатого вала 1 и ось цилиндра преимущественно параллельны вне зависимости от угла поворота коленчатого вала 1. При этом ось 16 нижней головки 21 шатуна 5 в процессе работы остается ближе к верхней мертвой точке, чем ось 17 шатунной шейки 3, то есть эффективная длина шатуна 5 максимальна. Такое положение шатуна 5 обеспечивается за счет определенной скорости взаимодействия центрального зубчатого колеса 10 с зубчатым колесом 8 эксцентрика 7, причем скорость вращения центрального колеса 10 находится в зависимости от скорости вращения коленчатого вала 1. Кроме того, в любой момент времени происходит балансировка коленчатого вала 1 за счет взаимодействия центральных зубчатых колес 10 11 с подвижными противовесами 14, 15, которые установлены на неподвижных противовесах 22, 23 соответственно. Так как подвижные противовесы 14, 15 и эксцентрик 7 вращаются в разные стороны с одинаковой угловой скоростью, происходит уравновешивание коленчатого вала 1 относительно его оси вращения.
Переход в режим работы двигателя со средней величиной степени сжатия осуществляется следующим образом. По сигналу от электронного блока управления 19, поступающего на привод 18, через шестерню 25 промежуточный вал 12 управляющего механизма происходит кратковременное увеличение угловой скорости вращения центрального зубчатого колеса 10. Эксцентрик 7 производит поворот вокруг оси 17 шатунной шейки 3 в сторону, противоположную направлению вращения коленчатого вала, на угол, близкий к 90°, в результате чего происходит уменьшение эффективной длины шатуна 5 до средних значений. Положение плоскостей П1 и П2 при данной настройке кривошипно-шатунного механизма является преимущественно перпендикулярным.
Перевод двигателя в режим работы с минимальной степенью сжатия аналогичен процессу, рассмотренному выше, путем дополнительного поворота эксцентрика 7 вокруг оси 17 шатунной шейки 3 на угол, близкий к 90°, в результате чего происходит уменьшение эффективной длины шатуна 5 до минимальных значений, а ось 16 нижней головки 21 шатуна 5 в процессе работы сохраняет более удаленное положение от верхней мертвой точки, чем ось 17 шатунной шейки 3. Плоскости П1 и П2, как и в первом случае, остаются преимущественно параллельными.
Увеличение степени сжатия производят путем соответствующего кратковременного уменьшения угловой скорости вращения центрального зубчатого колеса 10. Процессы изменения взаимного положения элементов кривошипно-шатунного механизма в данном случае являются обратными по отношению к рассмотренным выше.
Предлагаемое техническое решение позволяет достичь существенного упрощения конструкции подвижной части кривошипно-шатунного механизма, снижения его габаритов, уровня шумности, а также обеспечивает изменения степени сжатия двигателя в широких приделах при одновременном выборе его рабочего объема от нуля до максимального, установленного его техническими характеристиками.
Формула изобретения
1. Кривошипно-шатунный механизм, включающий шатун, выполненный с возможностью перемещения относительно оси шатунной шейки коленчатого вала посредством промежуточного элемента, например, эксцентрика, установленного в нижней головке шатуна и охватывающего шатунную шейку коленчатого вала, при этом эксцентрик снабжен, по меньшей мере, одним колесом с наружными зубьями, которое взаимосвязано с управляющим механизмом, выполненным в виде, по меньшей мере, одного центрального зубчатого колеса с наружными зубьями, установленного концентрически оси коленчатого вала с возможностью поворота относительно последнего посредством привода, отличающийся тем, что коленчатый вал дополнительно снабжен подвижными противовесами, связанными с центральными зубчатыми колесами.
2. Кривошипно-шатунный механизм по п.1, отличающийся тем, что привод связан с центральным зубчатым колесом, по меньшей мере, одним промежуточным валом, проходящим внутри коленчатого вала.
3. Кривошипно-шатунный механизм по п.1, отличающийся тем, что управляющий механизм включает N эксцентриков и промежуточных валов, а также по 2N центральных зубчатых колес, колес с наружными зубьями эксцентриков и подвижных противовесов, где N – число шатунов, соответствующее количеству цилиндров двигателя.
4. Кривошипно-шатунный механизм по п.1 или 2, отличающийся тем, что привод выполнен, например, в виде шагового электродвигателя, включающего корпус, статор, ротор, шестерню статора и шестерню ротора, при этом шестерня статора связана с ведущей шестерней газораспределительного механизма, установленной на коленчатом валу, а шестерня ротора связана с шестерней промежуточного вала посредством, например, ременных передач.
5. Кривошипно-шатунный механизм по п.4, отличающийся тем, что привод соединен с блоком управления.
6. Кривошипно-шатунный механизм по п.1, отличающийся тем, что эксцентрики совместно с колесами с наружными зубьями выполнены составными, по меньшей мере, из двух сегментов.
РИСУНКИ
MM4A – Досрочное прекращение действия патента СССР или патента Российской Федерации на изобретение из-за неуплаты в установленный срок пошлины за поддержание патента в силе
Дата прекращения действия патента: 22.06.2008
Извещение опубликовано: 20.06.2010 БИ: 17/2010
|
|