|
|
(21), (22) Заявка: 2005123611/03, 25.07.2005
(24) Дата начала отсчета срока действия патента:
25.07.2005
(46) Опубликовано: 27.03.2007
(56) Список документов, цитированных в отчете о поиске:
RU 2145380 C1, 10.02.2000. RU 2136851 C1, 10.09.1999. RU 2138620 C1, 27.09.1999. RU 2150577 C1, 10.06.2000. RU 2114989 C1, 10.07.1998. RU 2213847 C2, 10.10.2003. US 6854518 B1, 15.02.2005. US 4721156 A1, 26.01.1988.
Адрес для переписки:
199004, Санкт-Петербург, до востребования, А.В. Шипулину
|
(72) Автор(ы):
Валеев Мудаир Хайевич (RU), Шипулин Александр Владимирович (RU), Хуррямов Альфис Мансурович (RU), Гаврилов Вячеслав Владимирович (RU)
(73) Патентообладатель(и):
Открытое акционерное общество “Татнефть” им. В.Д. Шашина (RU)
|
(54) УСТРОЙСТВО ДЛЯ ДОБЫЧИ НЕФТИ И ОБРАБОТКИ ПРИЗАБОЙНОЙ ЗОНЫ СКВАЖИНЫ
(57) Реферат:
Изобретение относится к горному делу и может быть использовано для освоения и восстановления дебита эксплуатационных скважин, в частности для интенсификации притоков пластовых флюидов. Обеспечивает осуществление ударно-волновой обработки призабойной зоны скважины одновременно с добычей нефти. Сущность изобретения: устройство содержит установленную в скважине колонну штанг с цилиндром, к которому прикреплена опора на забой скважины, размещенный в цилиндре плунжер с обратным клапаном и станок-качалку, связанную колонной штанг с плунжером так, что в верхней точке хода плунжера обеспечено сообщение скважины с полостью цилиндра. Согласно изобретению устройство содержит насос с плунжером для добычи нефти, расположенный в скважине выше цилиндра. Плунжер насоса связан штангой с плунжером цилиндра, который использован для обработки призабойной зоны скважины. Опора имеет длину, равную расстоянию от перфорации скважины до ее забоя, и прикреплена ко дну цилиндра. 1 ил.
Изобретение относится к горному делу и может быть использовано для освоения и восстановления дебита эксплуатационных скважин, в частности для интенсификации притоков пластовых флюидов.
Известны способ и устройство для волнового воздействия на залежь (Ватин В.П., патент № 2196888, Кл. Е 21 В 43/25), при использовании которого в процессе работы станка-качалки при ходе плунжера вверх происходит сжатие жидкости. Жидкость сбрасывается в колонну, в результате чего образуется ударная волна, которая проникает в продуктивный пласт и формирует в нем волны давления. Трещины гидравлического разрыва образуют путем сжатия жидкости в лифте до соответствующего давления.
Однако способ используют в скважине волнового фонда, находящейся на значительном расстоянии от эксплуатационной добывающей скважины.
Известен способ эксплуатации скважины (Ащепков Ю.С., Березин Г.В., Ащепков М.Ю., патент № 2136851, Кл. Е 21 В 43/00), обеспечивающий увеличение нефтеотдачи за счет дилатационно-волнового воздействия на пласт. В зумпф скважины спускают колонну труб с хвостовиком переменного сечения по глубине. Периодически при снижении дебита перекрывают выкидную линию, качания плунжера насоса-качалки передаются хвостовику, который периодически уплотняет и разуплотняет породу.
Однако для передачи качаний плунжера насоса необходимо перекрытие выкидной линии и остановка добычи, кроме того, значительная часть энергии насоса расходуется на деформацию скелета продуктивного пласта.
Известен способ обработки призабойной зоны скважины и устройство для его осуществления (Вафин Р.В., Иванов А.И., Сивухин А.А.. Валеев М.Х., Шагалов Г.Ш., пат. № 2189440, кл. Е 21 В 43/18), который включает отбор нефти и проведение многократных обработок призабойной зоны с созданием депрессии в конце каждого цикла отбора нефти. Депрессию создают насосом с корпусом, выполненным в виде соединенных двух цилиндров, верхнего, большего диаметра, и нижнего, меньшего диаметра, с клапаном внизу и отверстиями в верхних частях цилиндров. Плунжер выполнен также в виде двух соединенных цилиндров, нижнего, меньшего диаметра, с заглушенным нижним торцом и верхнего, большего диаметра, с клапанами, с временем срабатывания каждого цилиндра, определяющим интерференцию волн воздействия. Соединение цилиндров корпуса насоса и/или плунжера выполнено с возможностью взаимного перемещения цилиндров с фиксацией их положения.
Однако обработка скважины производится при ремонте скважины, невозможно проведение обработки в процессе добычи нефти.
Известно устройство для добычи нефти и обработки призабойной зоны скважины, (Долженков А.В., Крючков Б.Н., Сидоренко В.Г., Баранов А.Ю., патент № 1794312, кл. Е 21 В 43/25), которое позволяет при движении плунжера вверх создавать зону пониженного давления в полости цилиндра насоса, куда устремляется жидкость при совмещении окон цилиндра и плунжера. Устройство позволяет осуществлять добычу нефти с одновременной обработкой призабойной зоны.
Однако плунжер насоса находится значительно выше призабойной зоны, что способствует затуханию ударной волны по достижению зоны перфорации. Кроме того, изменение конструкции плунжера и цилиндра насоса может отрицательно отразиться на его производительности и надежности.
Известна установка для импульсного воздействия на залежь (Журавлев B.C. Морозов В.Ю. Чернышев А.В. Заров А.А. Чукчеев О.А. Иванов В.И. Андрианов В.В., патент № 2140533, кл. Е 21 В 43/25), которая содержит спущенную в скважину колонну насосно-компрессорных труб с цилиндром. В нем размещен связанный штангой со станком-качалкой поршень с обратным клапаном и окнами. Нижний торец цилиндра перекрыт подвижной заглушкой. При ходе плунжера вверх в полости цилиндра образуется зона пониженного давления, в которую через окна после их выхода из цилиндра устремляется жидкость, ударяющая в дно заглушки. Импульс от удара передается через жидкость в скважине в продуктивный пласт.
Однако установка применяется только во время ремонта скважины при отсутствии насоса, исключена возможность добычи нефти при одновременной ударно-импульсной обработке призабойной зоны.
Известен способ добычи нефти и обработки призабойной зоны скважины и устройство для его осуществления (Залятов М.Ш., Закиров А.Ф., Фадеев В.Г., Латфуллин P.P., Курмашов А.А., патент № 2145380, кл. Е 21 В 43/00), взятых за прототип, с помощью которых создают на забое скважины депрессионное воздействие и одновременную добычу нефти при каждом качании станка качалки. Для осуществления способа используют устройство, которое устанавливают с упором на забой, оно включает насос с отверстием в верхней части корпуса насоса и с приемным клапаном и плунжер с клапаном, который помещают в корпусе насоса с возможностью возвратно-поступательного перемещения.
Однако применение способа возможно только во время капитального ремонта скважины с проведением спускоподъемных работ для замены оборудования, невозможно осуществление депрессионного воздействия во время работы штатного плунжера насоса-качалки.
Задачей изобретения является осуществление ударно-волновой обработки призабойной зоны скважины одновременно с добычей нефти.
Задача решается тем, что в устройстве для добычи нефти и обработки призабойной зоны скважины, содержащее установленную в скважине колонну штанг с цилиндром, к которому прикреплена опора на забой скважины, размещенный в цилиндре плунжер с обратным клапаном и станок-качалку, связанную колонной штанг с плунжером так, что в верхней точке хода плунжера обеспечено сообщение скважины с полостью цилиндра, содержится насос с плунжером для добычи нефти, расположенный в скважине выше цилиндра, при этом плунжер насоса связан штангой с плунжером цилиндра, который использован для обработки призабойной зоны скважины, а опора имеет длину, равную расстоянию от перфорации скважины до ее забоя и прикреплена ко дну цилиндра.
Такое устройство позволяет откачивать скважинную жидкость с помощью насоса-качалки и одновременно использовать цилиндр с плунжером, находящийся в зоне перфорации скважины, для обработки призабойной зоны имплозионным способом с частотой качания насосной штанги.
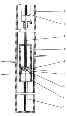
Сущность предлагаемого изобретения поясняется нижеследующим описанием и прилагаемым к нему чертежом, на котором: 1 – скважина; 2 – цилиндр; 3 – опора; 4 – плунжер; 5 – штанга; 6 – плунжер насоса-качалки; 7 – окна плунжера; 8 – окна цилиндра; 9 – обратный клапан.
Цилиндр 2 служит для создания в нем зоны разрежения, опора 3, длина которой равна расстоянию от зоны перфорации до забоя скважины, необходима для установки цилиндра в призабойной зоне, в качестве опоры может быть применена труба диаметром 30-50 мм. Плунжер 4 предназначен для перемещения в цилиндре 2 и имеет необходимую обработку скользящей поверхности.
Штанга 5 соединяет плунжер 4 с плунжером насоса-качалки 6 и предназначена для синхронности их движения. Окна плунжера 7 и цилиндра 8 служат для заполнения цилиндра скважинной жидкостью при их совмещении. Обратный клапан 9 необходим для выпуска скважинной жидкости из цилиндра.
В скважине, оборудованной насосом-качалкой, напротив зоны перфорации помещают цилиндр 2, опирающийся на забой через опору 3. Плунжер 4, помещенный в цилиндр 2, соединен с плунжером 6 насоса-качалки посредством штанги 5. В верхнем положении плунжера его окна 7 совпадают с окнами цилиндра 8.
Устройство согласно предлагаемому изобретению работает следующим образом.
При работе насоса-качалки штанга 5 совершает вертикальные возвратно-поступательные движения, перемещая плунжер 4 в цилиндре 2. При движении плунжера 4 вверх в цилиндре 2 создается разрежение. В момент совмещения окон плунжера 7 и цилиндра 8 скважинная жидкость устремляется в цилиндр, создавая эффект имплозии. При движении штанги вверх плунжер вытесняет жидкость из цилиндра через обратный клапан 9.
Эффект имплозии повторяется с частотой возвратно-поступательного движения штанги. Масса цилиндра и опоры определяется возможностью их подъема на штанге и достаточной устойчивости при создании в цилиндре разрежения.
Обработка призабойной зоны производится в процессе добычи нефти без остановки на капитальный ремонт. Применение способа не требует использования сложного оборудования.
Формула изобретения
Устройство для добычи нефти и обработки призабойной зоны скважины, содержащее установленную в скважине колонну штанг с цилиндром, к которому прикреплена опора на забой скважины, размещенный в цилиндре плунжер с обратным клапаном и станок-качалку, связанную колонной штанг с плунжером так, что в верхней точке хода плунжера обеспечено сообщение скважины с полостью цилиндра, отличающееся тем, что устройство содержит насос с плунжером для добычи нефти, расположенный в скважине выше цилиндра, при этом плунжер насоса связан штангой с плунжером цилиндра, который использован для обработки призабойной зоны скважины, а опора имеет длину, равную расстоянию от перфорации скважины до ее забоя, и прикреплена ко дну цилиндра.
РИСУНКИ
MM4A – Досрочное прекращение действия патента СССР или патента Российской Федерации на изобретение из-за неуплаты в установленный срок пошлины за поддержание патента в силе
Дата прекращения действия патента: 26.07.2007
Извещение опубликовано: 20.04.2008 БИ: 11/2008
NF4A – Восстановление действия патента СССР или патента Российской Федерации на изобретение
Дата, с которой действие патента восстановлено: 20.04.2008
Извещение опубликовано: 20.04.2008 БИ: 11/2008
|
|