|
|
(21), (22) Заявка: 2005128405/03, 13.09.2005
(24) Дата начала отсчета срока действия патента:
13.09.2005
(46) Опубликовано: 27.03.2007
(56) Список документов, цитированных в отчете о поиске:
SU 1361226 A1, 23.12.1987. SU 1323630 A1, 15.07.1987. SU 992645 A, 30.01.1983. SU 988951 A, 15.01.1983. КИРИЛЛОВ B.C. Строительство мостов и труб. – М.: Транспорт, 1975, с.361-383.
Адрес для переписки:
125080, Москва, Ленинградское ш., 3, кв.141, М.А. Сумину
|
(72) Автор(ы):
Сумин Михаил Александрович (RU), Сумин Александр Михайлович (RU)
(73) Патентообладатель(и):
Сумин Михаил Александрович (RU), Сумин Александр Михайлович (RU)
|
(54) КОНСТРУКЦИЯ СОПРЯЖЕНИЯ ТЕМПЕРАТУРНО-НЕРАЗРЕЗНЫХ ПРОЛЕТНЫХ СТРОЕНИЙ МОСТОВ В НАДОПОРНЫХ УЧАСТКАХ
(57) Реферат:
Изобретение относится к области строительства мостов и путепроводов, в частности к пролетным строениям. Конструкция сопряжения температурно-неразрезных пролетных строений мостов в надопорных участках включает сборные плитно-ребристые балки с поперечными монолитными железобетонными стыками и соединительную плиту, выполненную с зазором относительно ребер балок в надопорных участках. Соединительная плита оперта по своим концам посредством опорных частей на ребра балок, по длине пролетного строения отделена от плиты балок посредством вертикальных зазоров, в которых расположены вертикальные прокладки, преимущественно резинометаллические, в продольном направлении соединительная плита соединена с плитой балок посредством горизонтальных стержней, расположенных в теле соединительной плиты и плиты балок или в поперечных монолитных железобетонных стыках сборных плитно-ребристых балок и выполненных за одно целое по их длине, при этом горизонтальные стержни имеют защитную упругую оболочку в вертикальных зазорах, а длина соединительной плиты должна быть меньше расстояния между осями опирания смежных балок. В случаях, когда длина соединительной плиты недостаточна для обеспечения заделки в ней горизонтальных стержней, смежные в плане горизонтальные стержни соединяют между собой. Для тех периодов, когда происходит повышение температуры окружающей среды, вертикальные прокладки располагают в нижней части вертикальных зазоров. Для тех периодов, когда происходит понижение температуры окружающей среды или если длина соединительной плиты недостаточна для заделки в ней горизонтальных стержней, защитные упругие оболочки располагают по всей длине соединительной плиты. Технический результат – снижение стоимости строительства и повышение надежности конструкции сопряжения температурно-неразрезных пролетных строений мостов в надопорных участках. 3 з.п. ф-лы, 5 ил.
Изобретение относится к области строительства мостов и путепроводов, в частности к пролетным строениям.
Известна конструкция сопряжения температурно-неразрезных пролетных строений мостов в надопорных участках, включающая сборные плитно-ребристые балки с поперечными монолитными железобетонными стыками и продольные металлические тяги, прикрепленные к внешним сторонам ребер смежных по длине балок (см. а.с. №1323630).
Недостаток известного устройства заключается в том, что в надопорных участках пролетных строений необходимо устройство деформационных швов, поскольку при расположении временной нагрузки в середине одного из смежных пролетов происходит подъем конца консольной части загруженного пролета, величина которого может составлять несколько миллиметров. Средняя интенсивность движения автотранспорта может достигать 10000-12000 автомашин в сутки или 3,6-4,3 млн. автомашин в год и соответственно столько же подъемов и опусканий конца консольной части загруженного пролета, что может привести к снижению надежности деформационного шва, а следовательно, к снижению надежности конструкции сопряжения температурно-неразрезных пролетных строений мостов в надопорных участках.
Другой недостаток устройства заключается в ограниченном его использовании, поскольку может применяться только в тех случаях, когда в плане ребра балок смежных пролетов расположены в створе друг относительно друга и не может быть использовано, например, в случае сопряжения сталежелезобетонных и железобетонных пролетных строений, а также при расположении мостов и путепроводов в плане на криволинейных участках.
Наиболее близким устройством является конструкция сопряжения температурно-неразрезных пролетных строений мостов в надопорных участках, включающая сборные плитно-ребристые балки с поперечными монолитными железобетонными стыками и соединительную плиту, выполненную с зазором относительно ребер балок в надопорных участках (см. а.с. №1361226).
Недостаток известного устройства заключается в том, что длина соединительной плиты значительно (в 1,5-2 раза) превышает расстояние между осями опирания смежных пролетных строений и на участке между началом соединительной плиты и осью опирания балок в сечение последних не входит плита и поперечную силу должны воспринимать только сечения ребер балок, и, следовательно, необходимо выполнить дополнительное армирование ребер балок на восприятие опорной реакции, что приводит к увеличению стоимости строительства. Без дополнительного армирования ребер балок на участке между началом соединительной плиты и осью опирания балок от опорной реакции в ребре балки возникают значительные касательные и главные растягивающие напряжения, которые приводят к снижению надежности работы ребер, а следовательно, к снижению надежности конструкции сопряжения температурно-неразрезных пролетных строений мостов в надопорных участках.
Для предварительно-напряженных железобетонных конструкций отсутствие в сечении балок плиты в надопорных участках приводит к появлению дополнительных местных напряжений от сил предварительного напряжения и, следовательно, к дополнительному армированию ребер балок и в результате – к увеличению стоимости строительства. Без дополнительного армирования ребер балок появление дополнительных местных напряжений от сил предварительного напряжения также приводит к снижению надежности работы ребер и, следовательно к снижению надежности конструкции сопряжения температурно-неразрезных пролетных строений мостов в надопорных участках.
Кроме того, при расположении временной нагрузки в одном из пролетов в соединительной плите возникают дополнительные моментные усилия от углового перемещения (поворота) опорного сечения загруженного пролета, и, следовательно, необходимо выполнить дополнительное армирование соединительной плиты, что также приводит к увеличению стоимости строительства. Без дополнительного армирования соединительной плиты моментные усилия от углового перемещения (поворота) опорного сечения загруженного пролета приводят к появлению растягивающих и сжимающих напряжений фибровых напряжений в сечении соединительной плиты и, следовательно, к снижению надежности работы соединительной плиты и в конечном итоге – к снижению надежности конструкции сопряжения температурно-неразрезных пролетных строений мостов в надопорных участках.
Цель настоящего изобретения – снижение стоимости строительства и повышение надежности конструкции сопряжения температурно-неразрезных пролетных строений мостов в надопорных участках.
Для достижения указанной цели в конструкции сопряжения температурно-неразрезных пролетных строений мостов в надопорных участках, включающей сборные плитно-ребристые балки с поперечными монолитными железобетонными стыками и соединительную плиту, выполненную с зазором относительно ребер балок в надопорных участках, соединительная плита оперта по своим концам посредством опорных частей на ребра балок, по длине пролетного строения отделена от плиты балок посредством вертикальных зазоров, в которых расположены вертикальные прокладки, преимущественно резинометаллические, в продольном направлении соединительная плита соединена с плитой балок посредством горизонтальных стержней, расположенных в теле соединительной плиты и плиты балок или в поперечных монолитных железобетонных стыках сборных плитно-ребристых балок и выполненных за одно целое по их длине, при этом горизонтальные стержни имеют защитную упругую оболочку в вертикальных зазорах, а длина соединительной плиты должна быть меньше расстояния между осями опирания смежных балок.
В случаях, когда длина соединительной плиты недостаточна для обеспечения заделки в ней горизонтальных стержней, целесообразно смежные в плане горизонтальные стержни соединить между собой.
Для тех периодов, когда происходит повышение температуры окружающей среды, целесообразно расположить вертикальные прокладки в нижней части вертикальных зазоров.
Для тех периодов, когда происходит понижение температуры окружающей среды или если длина соединительной плиты недостаточна для заделки в ней горизонтальных стержней, целесообразно защитные упругие оболочки расположить по всей длине соединительной плиты.
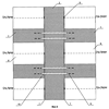
Сущность изобретения поясняется чертежом, где на фиг.1 – изображен план сопряжения; на фиг.2 – разрез по А-А на фиг.1; на фиг.3 – план сопряжения (вариант); на фиг.4 – план сопряжения (вариант); на фиг.5 – план сопряжения (вариант).
Конструкция сопряжения температурно-неразрезных пролетных строений мостов в надопорных участках включает сборные плитно-ребристые балки с поперечными монолитными железобетонными стыками 1 и соединительную плиту 2, выполненную с зазором 3 относительно ребер 4 балок в надопорных участках. Соединительная плита 2 оперта по своим концам посредством опорных частей 5 на ребра 4 балок, по длине пролетного строения отделена от плиты 6 балок посредством вертикальных зазоров 7, в которых расположены вертикальные прокладки 8, преимущественно резинометаллические. В продольном направлении соединительная плита 2 соединена с плитой 6 балок посредством горизонтальных стержней 9, расположенных в теле соединительной плиты 2 и плиты 6 балок или в поперечных монолитных железобетонных стыках 2 сборных плитно-ребристых балок и выполненных за одно целое по их длине (см. фиг.4). Горизонтальные стержни 9 имеют защитную упругую оболочку 10 в вертикальных зазорах 7, а длина соединительной плиты 2 должна быть меньше расстояния между осями опирания смежных балок.
В случаях, когда длина соединительной плиты 2 недостаточна для обеспечения заделки в ней горизонтальных стержней 9, смежные в плане горизонтальные стержни 9 соединены между собой (см. фиг.3).
Для тех периодов, когда происходит повышение температуры окружающей среды, целесообразно расположить вертикальные прокладки 8 в нижней части вертикальных зазоров 7.
Для тех периодов, когда происходит понижение температуры окружающей среды или если длина соединительной плиты 2 недостаточна для заделки в ней горизонтальных стержней 9, целесообразно защитные упругие оболочки 10 расположить по всей длине соединительной плиты 2 балок (см. фиг.5).
Конструкцию собирают, например, следующим образом.
Производят установку плитно-ребристых балок смежных пролетных строений на промежуточную опору, при этом в консольных частях надопорных участках балки имеют только ребра 4, а в плитах 1 расположены горизонтальные стержни 9, выполненные, например, из арматурной стали с защитной упругой оболочкой 10, изготовленной, например, из резины. На ребра 4 устанавливают опорные части 5, например резинометаллические, укладывают арматурные сетки соединительной плиты 2 и производят бетонирование последней с образованием горизонтальных зазоров 3 относительно ребер 4 балок и вертикальных зазоров 7 между соединительной плитой 2 и плитой 6 балок, например, установкой горизонтальных и вертикальных разделительных прокладок из досок или фанеры до бетонирования и их извлечения после набора бетоном соединительной плиты 2 расчетной прочности. В вертикальные зазоры 7 устанавливают вертикальные прокладки 8, например резинометаллические. В случаях, когда в плане ребра 5 балок 1 смежных пролетов расположены в створе друг относительно друга, горизонтальные стержни 9 целесообразно выполнить за одно целое по их длине и расположить в поперечных монолитных железобетонных стыках 2 сборных плитно-ребристых балок.
В случаях, когда длина соединительной плиты 2 недостаточна для обеспечения заделки в ней горизонтальных стержней 9, смежные в плане горизонтальные стержни 9 соединяют между собой, например, сваркой.
Для тех периодов, когда происходит повышение температуры окружающей среды, целесообразно расположить вертикальные прокладки 8 в нижней части вертикальных зазоров 7.
Для тех периодов, когда происходит понижение температуры окружающей среды или если длина соединительной плиты 2 недостаточна для заделки в ней горизонтальных стержней 9, целесообразно защитные упругие оболочки 10 расположить по всей длине соединительной плиты 2.
Предлагаемая конструкция работает следующим образом.
За счет устройства вертикальных зазоров 7 между плитой 6 балок и соединительной плитой 2 и свободного опирания соединительной плиты 2 на ребра 4 балок внутри осей опирания последних соединительная плита 2 и балки пролетного строения работают раздельно и независимо друг от друга на воздействие вертикальных нагрузок. Поэтому при расположении временной нагрузки в одном из пролетов в соединительной плите 2 не возникают моментные усилия от углового перемещения (поворота) опорного сечения загруженного пролета, а при расположении временной нагрузки на соединительной плите 2 в балках пролетных строений также не возникают моментные усилия.
Поскольку длина соединительной плиты меньше расстояния между осями опирания смежных балок, то в отличие от прототипа при расположении временной нагрузки в одном из пролетов поперечную силу воспринимает полное сечение балки, а не ребро. При этом в полном сечении балки не возникают значительные касательные и главные растягивающие напряжения, которые не приводят к снижению надежности работы ребер и, следовательно, приводят к повышению надежности конструкции сопряжения температурно-неразрезных пролетных строений мостов в надопорных участках.
Для предварительно-напряженных железобетонных конструкций совместная работа плиты и ребра в сечении балок в надопорных участках не приводит к появлению дополнительных местных напряжений от сил предварительного напряжения, повышает надежность работы ребра и, следовательно, повышает надежность конструкции сопряжения температурно-неразрезных пролетных строений мостов в надопорных участках.
Кроме того, поскольку длина соединительной плиты меньше расстояния между осями опирания смежных балок (практически на величину двух вертикальных зазоров), то от расположения временной нагрузки в середине ее пролета в соединительной плите 2 возникают значительно меньшие, по сравнению с известным решением, моментные усилия, т.е. к появлению меньших по величине растягивающих и сжимающих фибровых напряжений в сечении соединительной плиты и, следовательно, к повышению надежности работы соединительной плиты, а в конечном итоге – к повышению надежности конструкции сопряжения температурно-неразрезных пролетных строений мостов в надопорных участках.
Горизонтальные стержни 9, заделанные в плитах 6 смежных балок и в соединительной плите 2, передают горизонтальное продольное растягивающее усилие, возникающее в температурно-неразрезном пролетном строении при понижении температуры, с одного пролетного строения на другое смежное пролетное строение.
Упругая оболочка 10 горизонтальных стержней 9 в вертикальных зазорах 7 необходима для их защиты от негативных внешних атмосферных воздействий и восприятия угла поворота балки при расположении временной нагрузки в середине ее пролета.
Вертикальные прокладки 8, расположенные в вертикальных зазорах 7 между торцами плит 4 балок и соединительной плиты 2, передают горизонтальное продольное сжимающее усилие, возникающее в температурно-неразрезном пролетном строении при повышении температуры, с одного пролетного строения на другое смежное пролетное строение.
Расположение вертикальных прокладок 8 в нижней части вертикальных зазоров 7 позволяет создать внецентренное обжатие соединительной плиты 2, что приводит к разгрузке последней от действия постоянной и временной вертикальных нагрузок на нее и, следовательно, повысить надежность ее работы при воздействии положительных температур.
Расположение упругих оболочек 10 по всей длине соединительной плиты 2 позволяет исключить передачу горизонтального продольного растягивающего усилия, возникающего в температурно-неразрезном пролетном строении при понижении температуры, на соединительную плиту 2, т.е. исключить ее растяжение и, следовательно, повысить надежность ее работы при воздействии отрицательных температур.
Предложенная конструкция может быть использована при объединении температурно-неразрезных железобетонных и сталежелезобетонных пролетных строений мостов и путепроводов, расположенных в плане на прямых и криволинейных участках.
Формула изобретения
1. Конструкция сопряжения температурно-неразрезных пролетных строений мостов в надопорных участках, включающая сборные плитно-ребристые балки с поперечными монолитными железобетонными стыками и соединительную плиту, выполненную с зазором относительно ребер балок в надопорных участках, отличающаяся тем, что соединительная плита оперта по своим концам посредством опорных частей на ребра балок, по длине пролетного строения отделена от плиты балок посредством вертикальных зазоров, в которых расположены вертикальные прокладки, преимущественно резинометаллические, в продольном направлении соединительная плита соединена с плитой балок посредством горизонтальных стержней, расположенных в теле соединительной плиты и плиты балок или в поперечных монолитных железобетонных стыках сборных плитно-ребристых балок и выполненных за одно целое по их длине, при этом горизонтальные стержни имеют защитную упругую оболочку в вертикальных зазорах, а длина соединительной плиты должна быть меньше расстояния между осями опирания смежных балок.
2. Конструкция сопряжения температурно-неразрезных пролетных строений мостов в надопорных участках по п.1, отличающаяся тем, что смежные в плане горизонтальные стержни соединены между собой.
3. Конструкция сопряжения температурно-неразрезных пролетных строений мостов в надопорных участках по п.1, отличающаяся тем, что вертикальные прокладки расположены в нижней части вертикальных зазоров.
4. Конструкция сопряжения температурно-неразрезных пролетных строений мостов в надопорных участках по п.1, отличающаяся тем, что защитные упругие оболочки расположены по всей длине соединительной плиты.
РИСУНКИ
|
|