|
|
(21), (22) Заявка: 2003112602/03, 30.04.2003
(24) Дата начала отсчета срока действия патента:
30.04.2003
(43) Дата публикации заявки: 20.11.2004
(46) Опубликовано: 27.03.2007
(56) Список документов, цитированных в отчете о поиске:
RU 2135675 С1, 27.08.1999. RU 2195525 С2, 27.12.2002. RU 2192514 C1, 10.11.2002. RU 2178034 C1, 10.01.2002. RU 2000376 C1, 07.09.1993. US 5807020 A, 15.09.1998. БАБКОВ В.Ф. и др. Проектирование автомобильных дорог. – М.: Транспорт, 1970.
Адрес для переписки:
125222, Москва, ул. Дубравная, 43, кв.388, В.Н. Степанову
|
(72) Автор(ы):
Биркая Георгий Григорьевич (RU), Арутюнова Нина Сергеевна (RU), Степанов Владимир Николаевич (RU)
(73) Патентообладатель(и):
Биркая Георгий Григорьевич (RU), Арутюнова Нина Сергеевна (RU), Степанов Владимир Николаевич (RU)
|
(54) ТРАНСПОРТНАЯ РАЗВЯЗКА
(57) Реферат:
Изобретение относится к дорожному строительству и может быть использовано при строительстве или реконструкции узлов пересечений в разных уровнях автомагистралей, преимущественно в городских условиях. Технический результат изобретения заключается в возможности уменьшения площади под транспортную развязку, а также в улучшении перераспределения транспортных потоков, исключении заторов на автодорогах, повышении пропускной способности при одновременном обеспечении безопасности движения. Технический результат достигается тем, что транспортная развязка, содержащая пересечение в разных уровнях двух автодорог, два правоповоротных съезда, левоповоротный съезд, левоповоротный петлевой съезд, зоны отмыкания-примыкания автодороги, содержит также петлевой проезд, выполненный в верхнем уровне, имеющий общий участок с левоповоротным петлевым съездом, два левоповоротных петлевых въезда, два правоповоротных въезда и четыре разворота, а вылет петли выражен соотношением L H×2ctg +l, где L – вылет петли, Н – расстояние между поверхностями пересекающихся дорог, м, l – горизонтальный участок дороги между съездом и въездом, l=1,0÷450 м, а – угол съезда или въезда в градусах, при этом над дорогой нижнего уровня, ограниченной петлевым проездом, могут быть расположены здания для объектов торговли, бытового обслуживания и объектов производственно-хозяйственного назначения. Во втором варианте решения транспортная развязка содержит дополнительный левоповоротный петлевой съезд и петлевой проезд, выполненный в нижнем уровне, имеющий общий участок, один левоповоротный въезд, а вылет петли выражен соотношением L Hxctg +l, где l=1,0÷500 м. При этом под дорогой верхнего уровня, ограниченной петлевым проездом, расположены помещения для объектов торговли, бытового обслуживания и объектов производственно-хозяйственного назначения. 1 з.п. ф-лы, 5 ил.
Изобретение относится к дорожному строительству и может быть использовано при строительстве или реконструкции узлов пересечений в разных уровнях автомагистралей, преимущественно в городских условиях.
Известна транспортная развязка, содержащая пересечение в разных уровнях двух автодорог, содержащих два правоповоротных съезда, левоповоротный съезд, левоповоротный петлевой съезд, зоны отмыкания-примыкания автодороги (1). Развязка не отличается компактностью, не позволяет использовать территорию над развязкой для размещения объектов производственно-хозяйственного назначения и т.п.
Технический результат изобретения заключается в возможности уменьшения площади под транспортную развязку, а также в улучшении перераспределения транспортных потоков, исключении заторов на автодорогах, повышении пропускной способности при одновременном обеспечении безопасности движения.
Технический результат достигается тем, что транспортная развязка, содержащая пересечение в разных уровнях двух автодорог, два правоповоротных съезда, один левоповоротный съезд, два левоповоротных петлевых съезда, зоны отмыкания-примыкания автодороги, содержит также петлевой проезд, выполненный в верхнем уровне, и левоповоротный петлевой съезд, имеющие общий участок, два левоповоротных петлевых въезда, четыре разворота, а вылет петли выражен соотношением L Н·2ctg +l, где L – вылет петли, Н – расстояние между поверхностями пересекающихся дорог, м, l – горизонтальный участок дороги между съездом и въездом, l=1÷450 м, а – угол наклона съезда или въезда в градусах, при этом над дорогой нижнего уровня, ограниченной петлевым проездом, расположены здания объектов торговли, бытового обслуживания и объектов производственно-хозяйственного назначения.
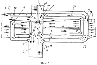
На фиг.1 представлена транспортная развязка с петлевым проездом в верхнем уровне, содержащая пересечение в разных уровнях двух автодорог: дороги нижнего уровня – 1 и дороги верхнего уровня – 2.
На фиг.2 – петлевой проезд, съезд и въезд, вид сбоку.
Транспортная развязка с петлевым проездом в верхнем уровне содержит пересечение в разных уровнях двух автодорог: дороги нижнего уровня 1 со сквозным прямым проездом в обоих направлениях и дороги верхнего уровня 2 с участком сквозного прямого проезда в одном направлении. Транспортная развязка содержит зоны отмыкания-примыкания.
С дороги нижнего уровня 1 осуществим правоповоротный въезд на дорогу 2 по стрелке 3 и левоповоротный петлевой въезд на дорогу 2 по стрелкам 4 и 5, а также разворот по стрелкам 6 и 7.
С дороги нижнего уровня 1 осуществим правоповоротный въезд на дорогу 2 по стрелке 8 и левоповоротный петлевой въезд на дорогу 2 по стрелкам 9 и 10, а также разворот по стрелкам 11 и 12.
С дороги верхнего уровня 2 осуществим петлевой проезд в верхнем уровне по стрелкам 13, 14, 15 и 16 и правоповоротный съезд на дорогу 1 по стрелкам 17 и 18, а также левоповоротный петлевой съезд по стрелкам 13, 14, 19, 20 и 21.
С дороги верхнего уровня 2 осуществим правоповоротный съезд на дорогу 1 по стрелкам 22 и 12, левоповоротный съезд на дорогу 1 по стрелкам 23 и 18, а также развороты 24 и 25.
Транспортная развязка содержит пересечение в разных уровнях двух автодорог: дороги нижнего уровня 1 со сквозным прямым проездом в обоих направлениях и дороги верхнего уровня 2 с одним сквозным прямым проездом. Транспортная развязка содержит петлю, вылет которой выражен соотношением L Н·2ctg +l.
Движение транспортных потоков на фиг.1 осуществляется по схемам, приведенным ниже.
При движении по дороге 1 справа налево:
правоповоротный въезд: 1-3-2, левосторонний петлевой въезд: 1-4-5-2, разворот: 1-6-7-1;
При движении по дороге 1 слева направо:
правоповоротный въезд: 1-8-2, левоповоротный въезд: 1-9-10-2, разворот: 1-11-12-1.
При движении по дороге 2 снизу вверх:
петлевой проезд: 2-13-14-15-16-2, правоповоротный съезд: 2-17-18-1, левоповоротный петлевой съезд: 2-13-14-19-20-21-1.
При движении по дороге 2 сверху вниз:
правоповоротный съезд: 2-22-12-1, левоповоротный съезд: 2-23-18-1, развороты на дороге 2: 2-24-2 и 2-25-2.
Транспортная развязка содержит пересечение в разных уровнях двух автодорог, при этом возможны следующие варианты исполнения: дорога нижнего уровня 1 расположена на нулевом уровне или под ним в туннеле, а дорога верхнего уровня 2 расположена на эстакаде или нулевом уровне.
Дорога нижнего уровня может быть перекрыта и на ней, ограниченной петлевым проездом, могут быть размещены помещения для объектов торговли, бытового обслуживания и объектов производственно-хозяйственного назначения.
По п.2 технический результат достигается тем, что транспортная развязка, содержащая пересечение в разных уровнях двух автодорог, имеющая два правоповоротных съезда, левоповоротный съезд, левоповоротный петлевой съезд, зоны отмыкания-примыкания автодороги, содержит также петлевой проезд, выполненный в нижнем уровне, с участком, общим с левоповоротным петлевым съездом, один левоповоротный съезд и петлевой правоповоротный съезд, имеющий общие с левоповоротными съездами участки, а вылет петлевого проезда выражен соотношением L Н·ctg +l, где L – вылет петлевого проезда, Н – расстояние между поверхностями пересекающихся дорог, м, l – горизонтальный участок дороги, примыкающий к съезду, 1=1,0÷500 м, а – угол наклона съезда или въезда, град, при этом под дорогой верхнего уровня, ограниченной петлевым проездом, могут быть расположены помещения объектов торговли, бытового обслуживания и объектов производственно-хозяйственного назначения, при этом, как и по п.1, с увеличением значения 1 увеличивается и полезно используемая площадь.
На фиг.3 представлена транспортная развязка с петлевым проездом в нижнем уровне, содержащая пересечение в разных уровнях двух автодорог: дороги верхнего уровня – 1 и дороги нижнего уровня – 2. (Вариант 1).
На фиг 4 представлена транспортная развязка с петлевым проездом в нижнем уровне, содержащая пересечение в разных уровнях двух автодорог: дороги верхнего уровня – 1 и дороги нижнего уровня – 2. (Вариант 2).
На фиг.5 – петлевой проезд, съезд и въезд, вид сбоку.
С дороги верхнего уровня 1 ( см. фиг.3 ) отходит съезд направо, отмеченный стрелкой 3 для поворота направо по стрелке 4 на дорогу 2, и налево – по стрелкам 5, 6 и 7 на дорогу 2. По стрелкам 6 и 8 выполняют разворот на дорогу 1. С дороги верхнего уровня 1 осуществим также левоповоротный петлевой съезд на дорогу 2 по стрелкам 9, 10 и 11. С дороги верхнего уровня (см. фиг.4) осуществим также левоповоротный петлевой съезд на дорогу 2 по стрелкам 9 и 10.
С дороги верхнего уровня 1 отходит правоповоротный съезд по стрелке 12 на дорогу 2, а также левоповоротный петлевой съезд по стрелкам 13, 14, 15 и 16 на дорогу 2. На дороге верхнего уровня 1 осуществим разворот по стрелкам 13, 14, 17 и 18.
Дорога нижнего уровня 2 имеет петлевой проезд под дорогой 1 по стрелкам 19, 20, 15 и 16. Дорога нижнего уровня 2 имеет правоповоротный въезд на дорогу 1 по стрелкам 21 и 8. Дорога нижнего уровня 2 имеет правоповоротный въезд на дорогу 1 по стрелкам 22 и 23, а также развороты по стрелкам 24 и 25.
Транспортная развязка содержит пересечение в разных уровнях двух автодорог: дороги верхнего уровня 1 со сквозным прямым проездом в обоих направлениях и дороги нижнего уровня 2 с одним сквозным прямым проездом. Транспортная развязка содержит петлю, вылет которой выражен соотношением L Н·ctg +l, где l=1,0÷500 м.
Движение транспортных потоков на фиг.3 и 4 осуществляется по схемам, приведенным ниже.
При движении по дороге 1 справа налево:
правоповоротный съезд осуществляется по схеме: 1-3-4-1, левоповоротный съезд: 1-3-5-7-2, разворот: 1-3-5-6-8-1, левоповоротный петлевой съезд: 1-9-10-11-2 ( см. фиг.3) или 1 – 9 – 10-2 ( см. фиг.4).
При движении по дороге 1 слева направо:
правоповоротный съезд осуществляется по схеме: 1-12-2, левоповоротный петлевой съезд: 1-13-14-15-16-2, разворот: 1-13-14-17-18-1.
При движении по дороге 2 снизу вверх:
петлевой проезд осуществляется по схеме: 2-19-20-15-16-2, правоповоротный въезд: 2-21-8-1, левоповоротный въезд: 2-19-20-17-18-1;
При движении по дороге 2 сверху вниз:
правоповоротный въезд осуществляется по схеме: 2-22-23-1, левоповоротный въезд: 2-11-6-8-1, развороты на дороге 2: 2-24-2 и 2-25-2.
Транспортная развязка содержит пересечение в разных уровнях двух автодорог, при этом возможны следующие варианты исполнения: дорога верхнего уровня 1 расположена на нулевом уровне или эстакаде, а дорога нижнего уровня 2 расположена под нулевым уровнем в туннеле или на нулевом уровне.
Под дорогой верхнего уровня, ограниченной петлевым проездом, могут быть размещены помещения для объектов торговли, бытового обслуживания и объектов производственно-хозяйственного назначения.
Осуществление предложенного технического решения обеспечивает уменьшение площади под транспортную развязку, а также улучшает перераспределение транспортных потоков, исключает заторы на автодорогах, повышает пропускную способность при одновременном обеспечении безопасности движения.
Источники
1. Патент RU 2135675, 27.08.1999.
Формула изобретения
1. Транспортная развязка, содержащая пересечение в разных уровнях двух автодорог, два правоповоротных съезда, один левоповоротный съезд, левоповоротный петлевой съезд, зоны отмыкания-примыкания автодороги, отличающаяся тем, что транспортная развязка содержит петлевой проезд, выполненный в верхнем уровне, имеющий общий участок с левоповоротным петлевым съездом, два левоповоротных петлевых въезда, два правоповоротных въезда и четыре разворота, а вылет петли выражен соотношением L H·2ctg +l, где L – вылет петли, Н – расстояние между поверхностями пересекающихся дорог, м; l – горизонтальный участок дороги между съездом и въездом, l=1,0÷450 м; – угол наклона съезда или въезда, градусы, при этом над дорогой нижнего уровня, ограниченной петлевым проездом, расположены здания объектов торговли, бытового обслуживания и объектов производственно-хозяйственного назначения.
2. Транспортная развязка по п.1, отличающаяся тем, что содержит дополнительный левоповоротный петлевой съезд и петлевой проезд, выполненный в нижнем уровне, имеющие общий участок, один левоповоротный въезд, а вылет петли выражен соотношением L H·ctg + l, где l=1,0÷500 м, при этом под дорогой верхнего уровня, ограниченной петлевым проездом, могут быть расположены помещения объектов торговли, бытового обслуживания и объектов производственно-хозяйственного назначения.
РИСУНКИ
MM4A – Досрочное прекращение действия патента СССР или патента Российской Федерации на изобретение из-за неуплаты в установленный срок пошлины за поддержание патента в силе
Дата прекращения действия патента: 01.05.2007
Извещение опубликовано: 27.07.2008 БИ: 21/2008
|
|