|
(21), (22) Заявка: 2004114855/02, 14.10.2002
(24) Дата начала отсчета срока действия патента:
14.10.2002
(30) Конвенционный приоритет:
15.10.2001 FR 01/13264
(43) Дата публикации заявки: 20.09.2005
(46) Опубликовано: 27.03.2007
(56) Список документов, цитированных в отчете о поиске:
RU 99112553 A, 10.04.2001. RU 2023058 C1, 15.11.1994. RU 2113552 C1, 20.06.1998. SU 1724713 A1, 07.04.1992. US 6126809 A, 03.10.2000. US 6033550 A, 07.03.2000. FR 2487386 A, 29.01.1982.
(85) Дата перевода заявки PCT на национальную фазу:
17.05.2004
(86) Заявка PCT:
FR 02/03514 (14.10.2002)
(87) Публикация PCT:
WO 03/033769 (24.04.2003)
Адрес для переписки:
129010, Москва, ул. Б. Спасская, 25, стр.3, ООО “Юридическая фирма Городисский и Партнеры”, пат.пов. Ю.Д.Кузнецову, рег.№ 595
|
(72) Автор(ы):
ДЕЛЬКЛО Кристиан (FR), БОННАРДЕЛЬ Оливье (NL)
(73) Патентообладатель(и):
АЛЮМИНИЮМ ПЕШИНЭ (FR)
|
(54) СПОСОБ РЕГУЛИРОВАНИЯ ЭЛЕКТРОЛИЗЕРА ДЛЯ ПОЛУЧЕНИЯ АЛЮМИНИЯ
(57) Реферат:
Изобретение относится к способу регулирования электролизера, предназначенного для получения алюминия электролизом в расплаве. Способ регулирования по изобретению включает: а) контролируемое введение определенного количества Q0 глинозема в электролит; b) определение значения показателя А количества Q введенного глинозема, который быстро растворился в электролите; с) определение количества Q введенного глинозема, который быстро не растворился в электролите; d) регулирование с помощью по меньшей мере одного средства регулирования и/или по меньшей мере одной операции регулирования, и/или по меньшей мере одного вмешательства в электролизер в зависимости от полученного значения количества Q таким образом, чтобы поддерживать его или довести его до более низкого значения, чем опорное значение S. В предпочтительном варианте показатель А определяют путем анализа по меньшей мере одного осуществляемого в электролизере электрического измерения. Изобретение обеспечивает достоверный и точный контроль во времени и, возможно, в пространстве, количества глинозема, растворенного в электролите. 23 з.п. ф-лы, 4 ил.
Область техники
Изобретение относится к способу регулирования электролизера для получения алюминия электролизом раствора глинозема в электролите на основе расплавленного криолита, в частности способом Холла-Эру.
Уровень техники
В промышленности алюминий получают электролизом расплавов, а именно электролизом глинозема (т.е. оксида алюминия), находящегося в расплаве на основе криолита, называемом электролитом, в частности хорошо известным способом Холла-Эру. Электролит находится в ваннах, называемых “электролизными ваннами” и имеющих стальной корпус, покрытый изнутри огнеупорными и/или изоляционными материалами, и катодное устройство, расположенное в подине электролизной ванны. Аноды частично погружены в расплав электролита (называемый также электролитической ванной). Обычно аноды выполнены из углеродистого материала, однако они могут также полностью или частично состоять из материала, называемого “инертным”, такого как металл или композиционный металлокерамический материал (или, иначе говоря, “кермет”). Термин “электролизер” обычно обозначает устройство, содержащее электролизную ванну и один или несколько анодов.
Ток электролиза, который протекает в слое электролита и слое жидкого алюминия между анодами и катодными элементами, вызывает реакции восстановления глинозема, а также обеспечивает поддержание температуры электролита на уровне порядка 950°С за счет эффекта выделения джоулева тепла. В электролизер регулярно подают глинозем, компенсируя его расход в результате электролитических реакций.
На производительность и выход по току электролизера влияет ряд факторов, например сила и распределение тока электролиза, температура электролита, количество растворенного глинозема, кислотность электролита и т.д., которые являются зависимыми друг от друга. Например, температура плавления электролита на основе криолита понижается при избытке трифторида алюминия (AlF3) по отношению к номинальному составу (3NaF·AlF3). Температура плавления также зависит от присутствия таких соединений, как CaF2, MgF2 или LiF. На современном производстве устанавливают такие рабочие параметры, чтобы получать выход по току более 90%.
Следовательно, работа электролизера требует точного контроля за рабочими параметрами, такими как температура, количество глинозема, кислотность и т.д., в целях поддержания их определенно заданных величин. Для решения этой задачи было разработано множество способов регулирования. Обычно эти способы относятся или к регулированию содержания глинозема в электролите, или к регулированию его температуры, или к регулированию его кислотности, т.е. избытка AlF3.
Одним из основных факторов, обеспечивающих регулирование работы электролизера для получения алюминия путем электролиза глинозема, растворенного в расплавленном электролите на основе криолита, является поддержание соответствующего количества глинозема, растворенного в указанном электролите, и, следовательно, адаптация количества глинозема, введенного в электролит, к потреблению глинозема в электролизной ванне.
Избыток глинозема создает опасность загрязнения подины электролизной ванны в результате осаждения нерастворенного глинозема, который может образовывать твердые осадки (отложения), способные электрически изолировать часть катода. Это явление способствует образованию в металле, находящемся в электролизной ванне, очень сильных горизонтальных электрических токов, которые вследствие взаимодействия с магнитными полями перемешивают слой металла и вызывают нестабильность границы электролит-металл.
И наоборот, недостаток глинозема может вызывать так называемый «анодный эффект», т.е. поляризацию анода с резким повышением напряжения на выводах электролизера и выделением значительных количеств фтора и фторуглеродных продуктов (CFx), высокая способность к поглощению инфракрасного излучения которых вызывает парниковый эффект.
Необходимость поддержания количества растворенного в электролите глинозема в определенных, довольно ограниченных пределах и, следовательно, адаптации подачи глинозема к потребностям электролизера побудила специалистов к разработке автоматических способов подачи и регулирования количества глинозема в электролизных ваннах. Такая необходимость стала особенно очевидной с использованием так называемых «кислых» электролитов (с повышенным содержанием AlF3), позволяющих понизить рабочую температуру ванны на 10-15°С (примерно 950°С вместо обычных 965°С и даже ниже 950°С) путем введения таких соединений, как CaF2, MgF2 или LiF, и таким образом получить выход по току по меньшей мере 94%. Таким образом, необходимо иметь возможность регулировать содержание глинозема в очень точных и очень ограниченных пределах (обычно от 1 до 3,5%, а предпочтительно – от 1,5 до 2,5%, в электролизерах, содержащих аноды из углеродистого материала) с учетом понижения степени растворимости глинозема, вызванного новым составом электролита и понижением температура электролита.
Известно применение в промышленных способах непрямой оценки количеств глинозема в зависимости от электрического параметра, связанного с концентрацией глинозема в таком электролите. Этот параметр обычно представляет собой изменение сопротивления R на выводах электролизера, находящегося под напряжением U, включая противоэлектродвижущую силу Е, оцениваемую, например, в 1,65 вольта, при прохождении тока I, так что R=(U-E)/I. Обычно способы регулирования содержания глинозема заключаются в изменении подачи глинозема в зависимости от значения R и его изменения во времени. До самого недавнего времени этот основополагающий принцип являлся объектом ряда патентов (см., например, французскую заявку FR 2749858, соответствующую американскому патенту US 6033550). Эти способы регулирования непосредственно не учитывают скорость растворения введенного глинозема в электролите.
Этот режим регулирования позволяет поддерживать содержание глинозема в электролите в узких пределах и таким образом получать выход по току порядка 95% с использованием кислых электролитов, одновременно значительно понижая количество (или частоту) анодных эффектов в ваннах, которые исчисляют по числу анодных эффектов на одну ванну в день (АЭ/ванна/день) и называют «показателем анодных эффектов».
Современное развитие технологии получения алюминия электролизом расплава обусловило, однако, дополнительные требования к точному контролю количества глинозема, растворенного в электролите. С одной стороны, увеличение номинальной силы тока в электролизерах с использованием анодов из углеродистого материала путем модификации существующих ванн или разработки ванн нового поколения, в которых можно достигать или превышать токи в 500 кА, сопровождалось относительно значительным уменьшением объема электролита и относительно значительным увеличением числа доз глинозема, подаваемых в электролит. Эти изменения усилили явления, способствующие быстрому изменению количества глинозема, растворенного в электролите. С другой стороны, электролизеры, снабженные так называемыми инертными анодами, в которых температура электролита может быть ниже 950°С и/или концентрация растворенного глинозема может быть выше 3% и даже более, также подвержены осаждению глинозема. В таком случае методы регулирования, основанные на простом измерении сопротивления, едва ли применимы, т.к. сопротивление мало изменяется с концентрацией глинозема.
Все указанные разработки увеличили значение точного и надежного контроля количества глинозема, растворенного в электролите. Исходя из этого заявитель предлагает экономичные и применимые в промышленных масштабах способы решения указанных проблем.
Раскрытие изобретения
Объектом изобретения является способ регулирования электролизера, предназначенного для получения алюминия путем электролиза в расплаве, т.е. при прохождении тока через электролит на основе расплавленного криолита, содержащего растворенный глинозем, в частности способом Холла-Эру.
Способ регулирования согласно изобретению включает в себя введение глинозема в находящийся в электролизной ванне электролит и отличается тем, что содержит:
a) контролируемое введение определенного количества Q0 глинозема в электролит;
b) определение значения показателя А количества Q глинозема, который быстро растворился в электролите;
c) определение количества Q глинозема, который быстро не растворился в электролите;
d) регулирование с помощью по меньшей мере одного средства регулирования, и/или по меньшей мере одной операции регулирования, и/или по меньшей мере одного вмешательства в электролизер в зависимости от полученного значения количества Q таким образом, чтобы поддерживать его или довести его до более низкого значения, чем опорное значение S.
Обычно глинозем вводят в виде доз, содержащих известное количество Q0 и подаваемых с периодом Р автоматическим устройством или дозатором.
Показатель А преимущественно определяют путем осуществляемого в электролизере электрического измерения, которое способно выявить изменения электрических параметров электролита, вызванные долей введенного глинозема, перешедшего в электролите в раствор.
Заявителем было неожиданно обнаружено, что введение глинозема вызывает изменение напряжения во временном интервале порядка нескольких секунд, что можно связать с кинетикой растворения. Заявитель также пришел к выводу, что важно учитывать режимы растворения глинозема и, в частности, режим быстрого или медленного растворения.
Режиму быстрого растворения обычно соответствуют гранулы (зерна) глинозема, которые расщепляются при вводе в электролит (под действием высокой температуры и испарения воды, химически связанной с глиноземом), диспергируя мелкие частицы глинозема, которые сразу образуют суспензию в электролите и поэтому быстро растворяются в нем, обычно в течение нескольких секунд, т.е. в течение более короткого периода, чем период Р, означающий подачу следующей дозы.
Режиму медленного растворения обычно соответствуют гранулы (зерна) глинозема, которые при попадании в электролит слипаются, переводя окружающий их электролит в твердое состояние и образуя твердую массу, более плотную, чем электролит и алюминий, которая осаждается и собирается на дне ванны. Захваченный таким образом глинозем впоследствии может растворяться в электролите лишь очень медленно и постепенно в течение длительного времени, обычно от нескольких часов до нескольких дней.
Показатель А можно, при необходимости, полностью или частично определить путем отбора проб или с помощью датчиков, обычно химических датчиков, физических датчиков или физико-химических датчиков, таких как оптические датчики (рамановские или др.).
Количество Q глинозема, который быстро растворился в электролите, может быть определено путем калибровки (градуирования) этого показателя А, обычно с помощью моделирования и/или статистических измерений, осуществляемых в электролизерах одного типа, работающих в сопоставимых условиях.
Определение количества Q глинозема, который быстро не растворился в электролите, обычно осуществляют путем вычитания количества Q из Q0, т.е. Q=Q0-Q. Такой способ вычисления можно применять в том случае, если глинозем вводят дозами Q0, размер которых известен. Количество Q можно в некоторых случаях определять более разработанными методами, такими как интегральное численное исчисление, в которых учитываются, например, тепловые эффекты, связанные с вводом глинозема, расположение точек измерения или взятия проб или другие факторы, влияющие на эту величину.
Указанные модификации по меньшей мере одного средства регулирования электролизера и/или по меньшей мере одной операции регулирования можно преимущественным образом комбинировать.
Краткое описание чертежей
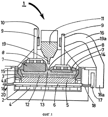
На фигуре 1 изображен поперечный разрез традиционного электролизера с использованием предварительно обожженных анодов из углеродистого материала.
Фигура 2 иллюстрирует метод измерения напряжения в электролизной ванне.
Фигура 3 иллюстрирует метод определения приведенного электрического сопротивления электролизера.
На фигуре 4 показаны сигналы напряжения, измеренные на одном из электролизеров.
Подробное описание изобретения
Как показано на фигуре 1, электролизер 1 для получения алюминия электролизом по способу Холла-Эру обычно содержит электролизную ванну 20, аноды 7, прикрепленные с помощью несущих и фиксирующих средств 8, 9 к анодной раме 10, и средства 11 подачи глинозема. Несущие и фиксирующие средства обычно содержат по меньшей мере один стержневой анододержатель 9. Ванна 20 включает в себя стальной кожух 2, элементы 4, 4а внутренней футеровки и катодные элементы 5, 6. Элементы 4, 4а внутренней футеровки обычно представляют собой блоки из огнеупорных материалов, которые могут быть теплоизолирующими. Катодные элементы 5, 6 включают в себя токоотводящие катодные стержни 6, к которым прикреплены электрические проводники, служащие для передачи электрического тока.
Элементы 4, 4а футеровки и катодные элементы 5, 6 образуют внутри ванны шахту, способную при функционировании электролизера содержать электролит 13 и слой жидкого металла 12, причем аноды 7 частично погружены в электролит 13. Электролит содержит растворенный глинозем, при этом обычно электролитическая ванна покрыта наружным слоем (или коркой) 14 глинозема. В некоторых режимах работы внутренние боковые стенки 3 могут быть покрыты слоем 15 затвердевшего электролита.
Электрический ток проходит через электролит 13 от анодной рамы 10 к несущим и фиксирующим средствам 8, 9, к анодам 7 и далее к катодным элементам 5, 6. Катодные элементы обычно содержат по меньшей мере один металлический катодный стержень 6 (обычно стальной в случае использования традиционных электролизных ванн).
Подача глинозема в электролизер направлена на то, чтобы компенсировать его по существу непрерывное потребление электролизером, которое связано главным образом с восстановлением глинозема до металлического алюминия. Регулирование подачи глинозема, осуществляемой путем введения глинозема в жидкий электролит 13, обычно осуществляют независимо. Средства 11 подачи обычно включают в себя пробойники-дозаторы 19, способные пробивать корку 14 глинозема и вводить дозу глинозема в отверстие 19а, образовавшееся в корке глинозема при таком пробивании.
Металлический алюминий, полученный в ходе электролиза, обычно собирается на дне ванны, при этом устанавливается довольно четкая граница между жидким металлом 12 и электролитом 13 на основе расплавленного криолита. Положение этой границы электролит-металл со временем изменяется: она поднимается по мере аккумулирования жидкого металла на дне ванны и опускается, когда жидкий металл выводят из ванны.
Несколько электролизеров обычно располагают в линию (серию) в помещениях, обычно называемых электролизными цехами, и с помощью электрических проводников (шин) создают между ними последовательное соединение. Более конкретно, катодные стержни 6 одной ванны, называемой «предыдущей по току», соединяют с анодами 7 ванны, называемой «следующей по току», обычно с помощью соединительных проводников 16, 17, 18 и несущих и фиксирующих средств 8, 9, 10 для поддержания анодов 7. Традиционно электролизеры расположены так, чтобы образовать одну или несколько параллельных линий. Ток электролиза проходит, таким образом, последовательно от одного электролизера к другому.
Большая часть указанных элементов, по меньшей мере в том, что касается их функции, могут применяться в электролизных ваннах, в которых используют нерасходуемые аноды, называемые также «инертными». В процессе производства на них выделяется кислород вместо углекислого газа, который обычно выделяют аноды из углеродистого материала.
Согласно изобретению предложен способ регулирования электролизера 1 для получения алюминия электролитическим восстановлением глинозема, растворенного в электролите 13 на основе криолита, причем этот электролизер 1 включает в себя электролизную ванну 20, по меньшей мере один анод 7, по меньшей мере один катодный элемент 5, 6, при этом указанная ванна 20 имеет внутренние боковые стенки 3 и способна содержать жидкий электролит 13, а указанный электролизер 1 содержит по меньшей мере одно средство регулирования указанного электролизера (обычно подвижную анодную раму 10, к которой прикреплен указанный по меньшей мере один анод 7) и выполнен с возможностью пропускания через электролит тока электролиза, имеющего силу I, а алюминий, полученный таким восстановлением, возможно образует слой, называемый слоем жидкого металла 12, на одном или нескольких катодных элементах 5, 6, включающий в себя введение глинозема в указанный электролит и отличающийся тем, что содержит:
a) контролируемое введение определенного количества Q0 глинозема в электролит 13;
b) определение значения показателя А количества Q введенного глинозема, который быстро растворился в электролите 13;
c) определение количества Q введенного глинозема, который быстро не растворился в электролите 13;
d) регулирование с помощью по меньшей мере одного средства регулирования и/или по меньшей мере одной операции регулирования и/или по меньшей мере одного вмешательства в электролизер в зависимости от полученного значения количества Q таким образом, чтобы поддерживать его или довести его до более низкого значения, чем опорное значение S.
Количество Q глинозема, который быстро растворился в электролите (режим быстрого растворения), соответствует доле глинозема, растворяющегося в течение периода с обычной продолжительностью порядка от нескольких секунд до нескольких десятков секунд. Количество Q глинозема, который быстро не растворился в электролите (режим медленного растворения), соответствует доле глинозема, растворяющегося в течение периода с типичной продолжительностью порядка от нескольких часов до нескольких дней. Для упрощения способа регулирования согласно изобретению можно установить единый временной порог Т между быстрым и медленным режимами. В соответствии с таким упрощенным способом количество Q соответствует доле глинозема, который растворился в течение периода, меньшего или равного определенному временному порогу Т, а количество Q соответствует доле глинозема, который растворился в течение большего периода, чем порог Т. Временной порог Т обычно составляет от 100 до 1000 секунд.
Количество Q можно использовать как показатель эффективности растворения введенного глинозема. Это количество может быть выражено относительной величиной, например:
Q/Q0 или (Q0-Q)/Q0 = Q/Q0.
Количество Q0 соответствует расходу, который может быть непрерывным или периодическим. Это количество обычно может быть выражено в виде доз в единицу времени, причем обычные дозы составляют порядка 1 кг.
В соответствии с преимущественным вариантом осуществления изобретения указанный показатель А определяют исходя из по меньшей мере одного осуществляемого в электролизере 1 электрического измерения, которое способно выявить изменения электрических параметров электролита 13, вызываемые долей введенного глинозема, перешедшего в электролите в раствор. В частности, показатель А может быть определен исходя из анализа напряжения U и/или тока I, измеренного(-ых) в электролизере 1, возможно выраженных в виде сопротивления R.
Напряжение U предпочтительно измеряют между коллектором 17 и стояком 16, преимущественно в нижней части 16а этого стояка (как показано на фигуре 2), что позволяет, в частности, ограничить длину провода 22 и облегчить доступ к точкам 24, 25 измерения напряжения.
Анализ напряжения U и/или тока I или, возможно, сопротивления R можно провести путем обработки сигнала. Можно использовать известные методы обработки сигнала, например, спектральный анализ или временной анализ (например, разложением на волны или пакеты волн, временно-частотным анализом или синхронным анализом нескольких сигналов (возможно, измеренных в нескольких местах электролизера). Сигнал можно обработать в соответствии с данными, полученными из других источников, такими как команды на ввод глинозема, с тем, чтобы установить корреляцию и, возможно, определить переходные функции. Эти данные можно также обрабатывать статистическим методом. Например, сигналы напряжения при его резком росте, вызванном введением доз глинозема, можно анализировать по их форме путем обработки сигнала и по их числу путем статистической обработки.
Показатель А можно также определить исходя из активного электрического измерения, такого как измерение сопротивления электролита 13, которое – при определенных условиях – можно провести путем перемещения анодов 7 по отношению к катодным элементам 5, 6. Например, показатель А может быть получен исходя из приведенного изменения сопротивления RS, которое можно определить с помощью способа измерения, включающего в себя:
– определение по меньшей мере одного первого значения I1 указанного тока I и по меньшей мере одного первого значения U1 падения напряжения U на выводах указанного электролизера 1;
– вычисление первого сопротивления R1 исходя из по меньшей мере указанных значений I1 и U1;
– перемещение анодной рамы 10 на определенное расстояние Н из первоначального положения либо вверх ( Н в этом случае является положительным), либо вниз ( Н в этом случае является отрицательным);
– определение по меньшей мере одного второго значения I2 указанного тока I и по меньшей мере одного второго значения U2 падения напряжения U на выводах указанного электролизера 1;
– вычисление второго сопротивления R2 исходя из по меньшей мере указанных значений I2 и U2;
– вычисление изменения напряжения R по формуле R=R2-R1;
– вычисление указанного приведенного изменения сопротивления RS по формуле RS= R/ Н.
Предпочтительно, данный способ измерения дополнительно включает в себя (по меньшей мере после определения значений I1, I2, U1 или U2) перемещение анодной рамы 10 с тем, чтобы привести ее в первоначальное положение и вернуться к исходному регулированию электролизера.
Указанные первое и второе сопротивления R1 и R2 можно вычислять по формуле R=(U-U0)/I, где U0 представляет собой постоянную величину, обычно составляющую от 1,6 до 2,0 вольт. Например, R1 и R2 можно вычислить по формулам R1=(U-U0)/I1 и R2=(U-U0)/I2. В одном из вариантов изобретения R1 и R2 можно получить путем вычисления среднего значения исходя из определенного числа значений напряжения U и тока I.
На практике оказалось проще давать команду к перемещению анодной рамы 10 в течение определенного времени и измерять полученный в результате сдвиг Н рамы.
Как показано на фигуре 3, сопротивление R обычно измеряют с помощью средств 23 измерения силы проходящего в электролизере тока I и средств 21, 22 измерения связанного с ним падения напряжения U на выводах электролизера (обычно связанного с ним падения напряжения между анодной рамой и катодными элементами электролизера). Указанное сопротивление R обычно вычисляют по формуле R=(U-U0)/I, где U0 представляет собой постоянную величину.
Такие измерения приведенного сопротивления RS можно осуществлять с регулярными интервалами (например, через каждые 20 мин) и обрабатывать статистически.
Обычно средством 21 является вольтметр, средством 22 является проводник тока, например, электрический кабель или провод, а средством 23 является амперметр.
Определение указанного показателя А путем электрического измерения обеспечивает преимущество, заключающееся в экономичности и возможности его автоматизации.
Заявитель также пришел к выводу, что локальный характер растворения глинозема можно определять путем раздельного измерения электрических параметров электролизера, т.е. путем осуществления электрических измерений в по меньшей мере двух разных местах электролизера. Обычно измерения напряжения можно проводить между различными стояками 16 и различными катодными стержнями 6, преимущественно около точек 19а подачи глинозема (например, около пробойников-дозаторов, если используют такой способ подачи глинозема).
Указанные регулирование, операция регулирования и вмешательство в электролизер могут быть краткосрочными, среднесрочными или долгосрочными действиями.
Указанное регулирование с помощью по меньшей мере одного средства регулирования электролизера обычно включает в себя по меньшей мере одно изменение количества Q0, т.е. расхода при подаче глинозема в электролизер. Например, количество Q0 можно регулировать путем изменения скорости подачи (т.е. изменения числа доз глинозема, вводимых в единицу времени) и/или путем изменения введенной дозы (т.е. количества глинозема, содержащегося в каждой дозе). Такие виды регулирования обычно имеют краткосрочный эффект.
Указанное регулирование может также включать в себя по меньшей мере одно изменение положения анодов 7, например, путем перемещения подвижной анодной рамы 10 либо вверх, либо вниз так, чтобы изменить расстояние между анодами 7 и катодными элементами 5, 6 или, говоря более точно, междуполюсное расстояние (МПР) анод/металл, когда жидкий металл образует слой 12 под анодами. Такое регулирование имеет термическую природу и среднесрочный эффект.
Указанная по меньшей мере одна операция регулирования включает в себя, например, введение определенного количества AlF3 в указанный электролит 13. Эта операция обычно имеет долговременный эффект.
Указанное по меньшей мере одно вмешательство может включать в себя быстрое перемещение анодов 7 в целях изменения условий на границе между анодами и электролитом и/или устранения пузырьков газа, возможно присутствующих под поверхностью анодов.
Опорное значение S обычно является очень малым, так что Q стремится к нулю.
Один или несколько анодов 7 могут быть анодами из углеродистого материала или нерасходуемыми анодами. Нерасходуемые аноды могут содержать металлический материал, материал с покрытием или кермет (т.е. металлокерамический композит).
Испытание
Испытание проводили в электролизной ванне-прототипе, снабженной анодами из углеродистого материала, с силой тока порядка 480 кА. Эта ванна была снабжена пробойниками-дозаторами, способными пробивать корку глинозема и вводить определенную дозу, равную 1 кг, глинозема в образовавшееся в результате такого пробивания отверстие.
В ванне зафиксировали точки 24, 25 измерения напряжения между несколькими анодами и несколькими катодными стержнями, как схематически показано на фиг.2.
Напряжение регистрировали в процессе электролиза в течение примерно 1 месяца. Временные колебания этого напряжения имели порядок от 10 до 20 мВ. Анализ этого сигнала путем численной обработки показал сдвиги напряжения от нескольких мВ до нескольких десятков мВ, которые связаны с введением доз глинозема с помощью пробойников-дозаторов (см. фиг.4, на которой приведен пример напряжения U, измеренного в зависимости от времени t). Эти сдвиги имели амплитуду и форму, которые связаны, по меньшей мере частично, с кинетикой перехода глинозема в раствор. Заявитель использовал указанные сдвиги в качестве показателей количества глинозема, который растворился в электролите.Перечень позиций
1 – электролизер
2 – кожух
3 – внутренняя боковая стенка
4, 4а – элементы внутренней футеровки
5 – катодный элемент
6 – токоотводящий или катодный стержень
7 – анод
8 – несущие анод средства
9 – несущие и фиксирующие анод средства, называемые стержневым анододержателем
10 – анодная рама
11 – средства подачи глинозема
12 – слой жидкого металла
13 – электролит
14 – наружный слой (или корка) глинозема
15 – слой затвердевшего электролита
16 – соединительный элемент (стояк)
16а – нижняя часть стояка
17 – соединительный элемент (коллектор)
18 – соединительный элемент
19 – пробойник-дозатор
19а – точка подачи глинозема
20 – электролизная ванна
21, 22 – средства измерения напряжения
23 – средство измерения силы тока
24, 25 – точки измерения электрического напряжения
Формула изобретения
1. Способ регулирования электролизера (1) для получения алюминия электролитическим восстановлением глинозема, растворенного в электролите (13) на основе криолита, причем указанный электролизер (1) содержит электролизную ванну (20), по меньшей мере один анод (7), по меньшей мере один катодный элемент (5, 6), при этом указанная ванна (20) имеет внутренние боковые стенки (3) и способна содержать жидкий электролит (13), а электролизер также содержит по меньшей мере одно средство регулирования электролизера и выполнен с возможностью пропускания через электролит тока электролиза, имеющего силу I, включающий в себя введение глинозема в указанный электролит и отличающийся тем, что содержит a) контролируемое введение определенного количества Q0 глинозема в электролит; b) определение значения показателя А количества Q глинозема, которое соответствует доле введенного глинозема, растворяющегося в электролите в течение периода, меньшего или равного определенному временному порогу Т;
c) определение количества Q глинозема, которое соответствует доле введенного глинозема, растворяющегося в электролите в течение периода, превышающего временной порог Т;
d) регулирование с помощью по меньшей мере одного средства регулирования, и/или по меньшей мере одной операции регулирования, и/или по меньшей мере одного вмешательства в электролизер в зависимости от полученного значения количества Q таким образом, чтобы поддерживать его или довести его до более низкого значения, чем опорное значение S.
2. Способ по п.1, отличающийся тем, что указанный временной порог Т составляет от 100 до 1000 с.
3. Способ по любому из пп.1 и 2, отличающийся тем, что показатель А определяют, исходя из по меньшей мере одного осуществляемого в электролизере (1) электрического измерения, которое способно выявить изменения электрических параметров электролита (13), вызываемые долей введенного глинозема, перешедшего в электролите в раствор.
4. Способ по п.3, отличающийся тем, что показатель А определяют, исходя из анализа напряжения U и/или тока I, измеренных в электролизере (1), возможно выраженных в виде сопротивления R.
5. Способ по п.4, отличающийся тем, что анализ осуществляют путем обработки сигнала.
6. Способ по п.3, отличающийся тем, что показатель А определяют, исходя из измерения сопротивления электролита (13), обычно путем перемещения анодов по отношению к указанному по меньшей мере одному катодному элементу (5, 6).
7. Способ по п.3, отличающийся тем, что для определения локального характера растворения глинозема одно или несколько электрических измерений осуществляют, по меньшей мере, в двух разных местах электролизера (1).
8. Способ по п.1, отличающийся тем, что показатель А определяют, полностью или частично, путем отбора проб или с помощью датчиков, таких как оптические датчики.
9. Способ по п.1, отличающийся тем, что количество Q определяют путем калибровки показателя А.
10. Способ по п.9, отличающийся тем, что указанную калибровку обычно проводят с помощью моделирования и/или статистических измерений, осуществляемых в электролизерах одного типа, работающих в сопоставимых условиях.
11. Способ по п.1, отличающийся тем, что количество Q глинозема, который не растворился в электролите, определяют путем вычитания количества Q из Q0, т.е. Q=Q0-Q.
12. Способ по п.1, отличающийся тем, что указанное регулирование включает в себя по меньшей мере одно изменение количества Q0 глинозема, введенного в единицу времени.
13. Способ по п.1, отличающийся тем, что указанное регулирование включает в себя по меньшей мере одно изменение положения указанного одного или нескольких анодов (7) для изменения расстояния между указанным одним или несколькими анодами (7) и указанным одним или несколькими катодными элементами (5, 6).
14. Способ по п.1, отличающийся тем, что указанная по меньшей мере одна операция регулирования включает введение определенного количества AlF3 в электролит (13).
15. Способ по п.1, отличающийся тем, что указанное по меньшей мере одно вмешательство может включать быстрое перемещение указанного одного или нескольких анодов (7), способное изменить условия на границе между анодами и электролитом и/или устранить пузырьки газа, возможно присутствующие под поверхностью анодов.
16. Способ по п.1, отличающийся тем, что указанный по меньшей мере один анод (7) выбирают среди анодов из углеродистого материала и нерасходуемых анодов.
17. Способ по п.16, отличающийся тем, что указанные нерасходуемые аноды выбирают среди металлических анодов, анодов с покрытием и анодов из металлокерамического композита.
18. Способ по п.3, отличающийся тем, что количество Q глинозема, который не растворился в электролите, определяют путем вычитания количества Q из Q0, т.е. Q=Q0-Q.
19. Способ по п.3, отличающийся тем, что указанное регулирование включает в себя по меньшей мере одно изменение количества Q0 глинозема, вводимого в единицу времени.
20. Способ по п.3, отличающийся тем, что указанное регулирование включает в себя по меньшей мере одно изменение положения указанного одного или нескольких анодов (7) для изменения расстояния между указанным одним или несколькими анодами (7) и указанным одним или несколькими катодными элементами (5, 6).
21. Способ по п.3, отличающийся тем, что указанная по меньшей мере одна операция регулирования включает в себя введение определенного количества AlF3 в указанный электролит (13).
22. Способ по п.3, отличающийся тем, что указанное по меньшей мере одно вмешательство может включать в себя быстрое перемещение указанного одного или нескольких анодов (7), способное изменить условия на границе между анодами и электролитом и/или устранить пузырьки газа, возможно присутствующие под поверхностью анодов.
23. Способ по п.3, отличающийся тем, что указанный по меньшей мере один анод (7) выбирают среди анодов из углеродистого материала и нерасходуемых анодов.
24. Способ по п.23, отличающийся тем, что указанные нерасходуемые аноды выбирают среди металлических анодов, анодов с покрытием и анодов из металлокерамического композита.
РИСУНКИ
MM4A – Досрочное прекращение действия патента СССР или патента Российской Федерации на изобретение из-за неуплаты в установленный срок пошлины за поддержание патента в силе
Дата прекращения действия патента: 15.10.2007
Извещение опубликовано: 27.07.2010 БИ: 21/2010
|