|
|
(21), (22) Заявка: 2005131150/09, 07.10.2005
(24) Дата начала отсчета срока действия патента:
07.10.2005
(46) Опубликовано: 20.03.2007
(56) Список документов, цитированных в отчете о поиске:
SU 1046826 A1, 07.10.1983. SU 637685 A, 18.12.1978. SU 1807770 A1, 20.08.1996. US 4633707 A, 06.01.1987.
Адрес для переписки:
350044, г.Краснодар, Калинина, 13, КГАУ, Патентно-информационный отдел
|
(72) Автор(ы):
Богдан Александр Владимирович (RU), Стрижков Игорь Григорьевич (RU), Потапенко Иосиф Андреевич (RU), Соболь Александр Николаевич (RU)
(73) Патентообладатель(и):
Федеральное государственное образовательное учреждение высшего профессионального образования Кубанский государственный аграрный университет (RU)
|
(54) УСТРОЙСТВО ЗАЩИТЫ МАШИН ПЕРЕМЕННОГО ТОКА
(57) Реферат:
Использование: для защиты электрических машин и, в частности, трехфазных синхронных генераторов от витковых коротких замыканий обмотки статора и от неисправности подшипников. Технический результат заключается в повышении надежности и чувствительности защитного устройства при упрощении его конструкции. Устройство защиты имеет вибродатчик, установленный на корпусе электрической машины, подключенный на вход защитного устройства, состоящего из последовательно соединенных блока сравнения амплитуды вибрации с эталонным значением, усилителя и исполнительного механизма, при этом исполнительный механизм защитного устройства включен в цепь питания электромагнитного привода защитного отключения выключателя и возбудителя. 2 ил.
Изобретение относится к области защиты электрических машин, в частности генераторов переменного тока от витковых коротких замыканий обмотки статора, а также от неисправности подшипников.
Известно изобретение по патенту России №1129701 кл. Н 02 К 11/00 Асинхронный электродвигатель с блоком защиты, содержащее измерительный элемент в виде дополнительной обмотки, уложенной на статоре в одних пазах с основной обмоткой, причем дополнительная обмотка выполнена из N концентрических обмоток, содержащих W витков с изменяющимся шагом пазовых делений. В устройстве реализован способ защиты электрической машины, основанный на измерении физической величины, сравнении ее с эталоном и при превышении физической величины эталонного значения формируется защитный сигнал. В качестве физической величины используется электродвижущая сила дополнительной обмотки.
Это техническое решение имеет существенный недостаток, заключающийся в сложности его практической реализации. У современных машин переменного тока коэффициент заполнения паза весьма велик и размещение дополнительной обмотки в пазах статора сопряжено с существенным усложнением технологии укладки обмотки, что, в свою очередь, увеличивает затраты на изготовление машины.
Известно изобретение по авторскому свидетельству СССР №1046852 кл. Н 02 К 11/00, Н 02 Н 7/08 Электрическая трехфазная машина с встроенным блоком для защиты, блок защиты которого содержит катушку, снабженную дополнительным третьим выводом, делящим ее на две части с соотношением витков 1пуск/1ном и два последовательно замыкающих геркона, которые прикреплены к лобовым частям катушечных групп разных фаз и подключены к выводам части катушки, содержащей большее число витков встроенного блока.
Эти технические решения имеют тот недостаток, что требуют дополнительных технологических операций на внутренней части машины, требующих разборки и сборки машины, а также изготовления дополнительных токовыводящих проводников. К тому же чувствительность герконов при контроле параметров обмоток часто не отвечает требованиям защитного устройства.
В качестве прототипа заявленного устройства используется устройство по авторскому свидетельству СССР №1046826 кл. Н 02 Н 7/08, Н 02 К 11/00 Электрическая трехфазная машина, содержащая статор, ротор и блок защиты от витковых замыканий обмотки статора с реагирующим органом, функционально связанным с кольцом, закрепленным внутри электрической машины так, что его плоскость была перпендикулярна оси вращения ротора, а геометрический центр находился на этой оси, при этом выполнено короткозамкнутым и охвачено ферромагнитным сердечником, на котором размещена обмотка, присоединенная к регистрирующему органу. Блок защиты формирует сигнал защиты при появлении несимметрии в магнитном поле лобового рассеяния трехфазной обмотки. Такая несимметрия поля появляется при возникновении витковых коротких замыканий.
Это изобретение имеет следующие недостатки:
– размещение кольца, охваченного ферромагнитным сердечником, внутри машины сопряжено с необходимостью разборки и сборки машины и представляет сложную технологическую операцию;
– наводимое в кольце электромагнитное поле не дает точного представления о характере нарушения изоляции и возникновении короткого замыкания в обмотке, что приводит к необходимости усложнения схемы блока защиты;
– возможны ложные срабатывания защиты при несимметричной нагрузке генератора;
– сложность блока защиты не позволяет обеспечить его высокую надежность в работе и предопределяет высокую стоимость.
Техническим решением задачи является повышение надежности работы и чувствительности защитного устройства при упрощении его конструкции.
Решение задачи достигается тем, что устройство защиты электрической машины переменного тока от виткового короткого замыкания и неисправности подшипников, содержащее электрическую машину с трехфазной обмоткой на статоре, подключенную через выключатель с электромагнитным приводом защитного отключения к электрической сети, обмотку возбуждения, присоединенную к возбудителю, также снабженному приводом защитного отключения, защитное устройство, подключенное к приводу защитного отключения выключателя и возбудителя, дополнительно имеет вибродатчик, установленный на корпусе электрической машины, подключенный на вход защитного устройства, состоящего из последовательно соединенных блока сравнения амплитуды вибрации с эталонным значением, усилителя и исполнительного механизма, при этом исполнительный механизм защитного устройства включен в цепь питания электромагнитного привода защитного отключения выключателя и возбудителя.
В качестве вибродатчиков могут быть использованы пьезоэлектрические или пьезокерамические элементы, например титанат бария (BaTiO2), (датчики описаны в кн.: Д.А.Гершгал, В.М.Фридман. Ультрозвуковая технологическая аппаратура. М.: Энергия, 1976).
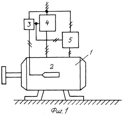
Сущность изобретения поясняется чертежом, где на фиг.1 изображена принципиальная схема управления и защиты синхронной машины, и на фиг.2 представлена блок-схема защитного устройства.
Защитное устройство содержит защищаемую электрическую машину 1, вибродатчик 2, который крепится на корпусе машины 1 (например, приклеивается клеем БФ-2), вибродатчик 2 подключается к входу защитного устройства 3, выход которого подключен к электромагнитному отключающему механизму коммутационного аппарата 4, который обеспечивает подключение к сети трехфазной статорной обмотки машины и к цепи управления возбудителя 5 (для синхронных машин). К выходу возбудителя 5 подключена обмотка возбуждения синхронной машины. При использовании защитного устройства для асинхронных машин возбудитель 5 не используется.
Вибродатчик 2 подключен к входу блока сравнения 6, к выходу которого включен усилитель электрического сигнала 7, подающий усиленный сигнал на исполнительный механизм (реле) 8, который приводит в действие электромагнитный привод аварийного выключения выключателя 4 и возбудителя 5 (нумерация позиционных обозначений на фиг.1 и 2 общая). Блок питания 9 выходами подключен к блокам 6 и 7 и обеспечивает работу этих блоков. Блоки 6, 7, 8 и 9 в совокупности составляют защитное устройство 3.
Сигналом вибродатчика 2 является электрическое напряжение. В блоке сравнения 6 этот сигнал сравнивается с заданным эталонным напряжением, соответствующим нормальному режиму работы машины, и при превышении сигнала датчика установленной эталонной величины формируется электрический сигнал на выходе блока 6. При величине сигнала датчика 2 меньше установленной эталонной величины на выходе блока 6 сигнал отсутствует.
Устройство работает следующим образом. При включении коммутационного аппарата 4 и возбудителя 5 (фиг.1) исправная электрическая машина 1 приводится в действие, при этом корпус машины 1 подвергается нормальным колебаниям, фиксируемым вибродатчиком 2 (величина которой регламентируется ГОСТом 12327-79). Сигнал вибродатчика 2 подается на устройство защиты 3. При этом амплитуда колебаний корпуса машины 1 меньше заданной величины, защитное устройство 3 не формирует сигнал защиты и электрическая машина 1 работает нормально, оставаясь подключенной к сети. В случае отсутствия сигнала на выходе блока сравнения 6 срабатывание исполнительного механизма 8 и отключение выключателя 4 и возбудителя 5 не происходит.
При возникновении виткового короткого замыкания в обмотке статора нарушается равновесие магнитодвижущих сил трехфазной обмотки, появляются электромагнитные силы одностороннего тяжения ротора, вследствие чего появляется дополнительные колебания корпуса машины 1 и сигнал вибродатчика 2 превышает пороговое значение. Блок сравнения амплитуд колебаний 6 формирует сигнал защиты. Сигнал на выходе блока сравнения 6 усиливается усилителем 7 и вызывает срабатывание исполнительного механизма 8 защитного устройства. Исполнительный механизм 8 приводит в действие привод аварийного отключения выключателя 4, который вызывает защитное отключение машины от сети и возбудителя 5, который снимает с машины 1 напряжения возбуждения и возбудителя 5 (фиг.1).
Аналогичные процессы протекают при неисправности подшипников, только вместо сил одностороннего тяжения причиной появления дополнительных колебаний корпуса машины 1 будет нарушение центровки ротора.
Предложенное техническое решение имеет существенные преимущества перед известными защитными устройствами, заключающиеся в простоте реализации как блока защиты, так и монтажа датчика сигналов и высоком быстродействии защиты. Кроме того, устройство защищает электрическую машины от других неисправностей, вызывающих увеличение амплитуды колебаний корпуса, таких как разбалансировка валов электрической и сопряженной с ней машиной (первичным двигателем для генератора или рабочей машиной для двигателя), ослабление крепления машины к фундаменту и др. Использование изобретения повышает надежность работы электрической машины, упрощает и удешевляет защитное устройство, расширяет его функциональные возможности.
Формула изобретения
Устройство защиты электрической машины переменного тока от виткового короткого замыкания и неисправности подшипников, содержащее электрическую машину с трехфазной обмоткой на статоре, подключенную через выключатель с электромагнитным приводом защитного отключения к электрической сети, обмотку возбуждения, присоединенную к возбудителю, также снабженному приводом защитного отключения, защитное устройство, подключенное к приводу защитного отключения выключателя и возбудителя, отличающееся тем, что имеет вибродатчик, установленный на корпусе электрической машины, подключенный на вход защитного устройства, состоящего из последовательно соединенных блока сравнения амплитуды колебаний с эталонным значением, усилителя и исполнительного механизма, при этом исполнительный механизм защитного устройства включен в цепь питания электромагнитного привода защитного отключения выключателя и возбудителя.
РИСУНКИ
MM4A – Досрочное прекращение действия патента СССР или патента Российской Федерации на изобретение из-за неуплаты в установленный срок пошлины за поддержание патента в силе
Дата прекращения действия патента: 08.10.2007
Извещение опубликовано: 27.06.2009 БИ: 18/2009
|
|