|
|
(21), (22) Заявка: 2003117594/09, 04.06.2003
(24) Дата начала отсчета срока действия патента:
04.06.2003
(43) Дата публикации заявки: 10.12.2004
(46) Опубликовано: 20.03.2007
(56) Список документов, цитированных в отчете о поиске:
RU 2174258 C1, 27.09.2001. RU 2192049 C1, 27.02.2002. US 4087092 A, 02.05.1978. WO 02/098523 A1, 12.12.2002. CN 1369811, 18.09.2002. EP 1220174 A, 03.07.2002. GB 2356149 A1, 16.05.2001. US 6024640 A, 15.02.2000. DE 19811457, 23.09.1999. WO 97/31339 A1, 28.08.1997. МУХИН A.M. и др. Энциклопедия мобильной связи. Т.1. – СПб.: Наука и техника. 2001, с.12. АДАМЕНКО М.В. Секреты сотовых телефонов. – М., 2002, с.148.
Адрес для переписки:
196070, Санкт-Петербург, а/я 44, пат. пов. С.М. Коготкову, рег. № 553
|
(72) Автор(ы):
Крыжановский Алексей Михайлович (RU)
(73) Патентообладатель(и):
Крыжановский Алексей Михайлович (RU), Крыжановская Людмила Николаевна (RU)
|
(54) СИСТЕМА ИГРОВЫХ УСТРОЙСТВ ДЛЯ ПРОВЕДЕНИЯ МОБИЛЬНОЙ ЛОГОТИП-ЛОТЕРЕИ “ЛОГОЛОТО”
(57) Реферат:
Изобретение относится к дистанционным лотерейным играм типа “лото” или “бинго”, включающим взаимодействие множества передающих и принимающих устройств связи игроков, и может быть использовано для рекламирования любого вида продукции и ее производителей в форме логотипов разного вида. Техническим результатом является расширение функциональных возможностей за счет использования персональных устройств связи как средств приема рекламной информации при участии в логотип-лотерее. Игровой центр снабжен устройством для хранения и извлечения игровых элементов, заранее выполненных в электронном виде изображений заставок дисплеев и/или мелодий звонков персональных устройств связи, при проведении игры в соответствии с SMS-запросами участников игры автоматически извлекают произвольным образом игровые элементы и направляют их одновременно на устройство связи игрока и в игровой компьютер, после чего осуществляют розыгрыш посредством генератора случайных чисел и отправляют на дисплеи всех участников выигравший логотип игрового элемента. 3 з.п.ф-лы, 1 ил.
Изобретение относится к области конструирования электронных игр, в частности к дистанционным лотерейным играм типа “лото” или “бинго”, включающим взаимодействие множества передающих и принимающих устройств, оборудованных дисплеями для показа относящихся к игре изображений, и может быть использовано для проведения различных видов массовых лотерей, викторин и других коллективных игр, а также в качестве средства “индивидуально-массового” рекламирования любого вида продукции и ее производителей.
Известны игровые устройства и системы игровых устройств, например для проведения игры в телефонную лотерею “индекслото” 10 из 10 (см. патент РФ №2053827 на изобретение, кл. A 63 F 3/06, 3/08, G 07 C 15/00, 1996.02.10), включающие центральный компьютер и соединенные с ним “классические” телефонные аппараты персональных абонентов – индивидуальных игроков, использующих в качестве игровых элементов числовые индексы участников, состоящие из десяти неповторяющихся арабских цифр. Указанная игра является упрощенно заформализованной и отличается низкой занимательностью и динамичностью.
Наиболее близким техническим решением к заявляемому, принятым за ближайший аналог (прототип) изобретения, является система игровых устройств (см. описание к патенту РФ №2174258, кл. G 07 F 17/32, G 06 F19/00, 161:00, A 63 F 13/12, 2001.09.27), содержащая несколько находящихся на удалении друг от друга игровых устройств, соединенных посредством соответствующей линии дистанционной передачи данных с игровым центром в составе взаимосвязанных между собой общего центрального компьютера и генератора случайных чисел для определения выигрышной комбинации игровых элементов, в качестве которых использованы цифры, числа, простейшие известные в игровой индустрии символы, буквы и их сочетания, при этом выигрышные комбинации игровых элементов непрерывно вырабатываются и определяются генератором случайных чисел.
Недостатком ближайшего аналога (прототипа) является относительно низкая занимательность и динамичность игры, вследствие весьма низкой информативности и внешней наглядности, в том числе в отношении весьма узкой прикладной и тематической направленности, используемых в ней стандартных для игровой индустрии игровых элементов, в т.ч. их неадекватности в отношении существующей жизненной реальности, а также ограниченные функциональные возможности используемых для достижения целей игры вышеупомянутых устройств.
Изобретение направлено на повышение занимательности, наглядности и динамичности игры с одновременным расширением знаний и кругозора у ее участников, а также на расширение ее функциональных возможностей, обусловленное возможностью ее использования в качестве средства “индивидуально-массового” рекламирования с помощью простейших игровых средств любого вида продукции и ее производителей.
При этом решена задача создания относительно простой и эффективной системы игровых устройств, позволяющей в процессе их реализации осуществлять проведение различных видов массовых лотерей, викторин и других подобных коллективных игр, обладающих высокой степенью наглядности и информативности для зрительного восприятия, втом числе, при необходимости, с одновременным рекламированием в ходе их проведения любых видов продукции и услуг, и способствующих в отношении участвующих в них индивидуальных игроков развитию и тренировке у последних памяти и внимания.
Это достигается тем, что в предлагаемой системе игровых устройств для проведения мобильной логотип-лотереи, включающей игровой центр с взаимосвязанными между собой игровым компьютером и генератором случайных чисел и соединенные с ним посредством единой сети связи персональные устройства связи с дисплеями для отображения визуальной информации, в отличие от ближайшего аналога (прототипа) игровой центр дополнительно снабжен устройством для хранения и извлечения игровых элементов, например, компьютеризированным банком данных, взаимосвязанным с игровым компьютером и генератором случайных чисел, а в качестве игровых элементов использованы заранее предусмотренные и выполненные в электронном виде изображения заставок дисплеев и/или мелодии звонков персональных устройств связи, например мобильных телефонов.
Наиболее распространенным вариантом выполнения системы игровых устройств является конструктивное решение, при котором персональные устройства связи индивидуальных игроков соединены с игровым центром посредством беспроводной связи, преимущественно радиотелефонной, например сотовой сети связи, и выполнены в виде, например, мобильных радиотелефонов.
В другом варианте, в случае использования в качестве игровых элементов только непосредственно изображений заставок (выполненных в электронном виде) дисплеев персональных устройств связи, последние могут быть соединены с игровым центром посредством пейджинговой связи и выполнены в виде персональных пейджеров, в штатной комплектации оборудованных дисплеями для отображения визуальной информации.
Собственно устройство для хранения и извлечения игровых элементов может быть выполнено в виде персонального компьютера, например, снабженного блоком дополнительной магнитной памяти для размещения банка данных или баз данных, содержащих в электронном виде изображения заставок для дисплеев и мелодии звонков (другие, т.п. сигналы звукового сопровождения) персональных устройств связи. Для извлечения последних из компьютеризированного банка данных может быть предусмотрен дополнительный блок процедур.
Возможен вариант, при котором устройство для хранения и извлечения игровых элементов сопряжено или включено в состав игрового компьютера, т.е. выполнено в одном электронном игровом блоке, при этом игровой компьютер может быть дооборудован дополнительной, например магнитной памятью для размещения игрового банка для хранения в электронном виде игровых элементов. При этом, в зависимости от целей и задаваемого режима проведения мобильной лотереи, может быть использован локальный банк (как часть общего игрового банка данных) электронных аналогов только изображений заставок дисплеев, или только мелодий звонков. В общем случае могут быть использованы парные комбинации игровых элементов, т.е. заставка дисплея с соответствующей мелодией звонка.
Также возможен вариант конструктивного выполнения системы игровых устройств, при котором игровой компьютер непосредственно содержит в себе генератор случайных чисел, выполненный, например, в виде соответствующего электронного блока процедур обработки массивов электронных аналогов вышеперечисленных игровых элементов; или соответствующего программного обеспечения, размещенного в памяти игрового компьютера и обеспечивающего выполнение режима моделирования работы генератора случайных чисел. В этом случае игровой компьютер и генератор случайных чисел могут быть выполнены ввиде единого компьютеризированного устройства, преимущественно центрального игрового компьютера.
Другим конструктивным выполнением заявленного технического решения является система игровых устройств, в которой игровой компьютер, генератор случайных чисел и устройство для хранения и извлечения игровых элементов выполнены в виде единого компьютеризированного устройства, преимущественно центрального игрового компьютера, или, например, в виде персонального компьютера.
В зависимости от предполагаемых масштабов охвата аудитории при проведении мобильной логотип-лотереи на практике возможен вариант, при котором игровой центр состоит только из взаимосвязанных между собой генератора случайных чисел и устройства для хранения и извлечения игровых элементов, выполненного в виде автономного компьютеризированного устройства с возможностью хранения, извлечения, розыгрыша, отправки и приема (переадресовки) игровых элементов.
При использовании системы игровых устройств с целью рекламирования и как средства реализации рекламных технологий в качестве разыгрываемых изображений заставок дисплеев или мелодий звонков персональных устройств связи могут быть использованы электронные аналоги изобразительных или звуковых логотипов, например изобразительных и звуковых товарных знаков, соответственно, фирм-продуцентов (разработчиков и производителей) товаров и услуг, например, в области производства пищевой, алкогольно-безалкогольной, косметической, автомобильной и любой другой продукции и услуг. В этом случае предполагаемые для дальнейшего участия в лотереи изобразительные и звуковые логотипы фирм и выпускаемой ими продукции заранее размещают в предусмотренном компьютеризированном устройстве игрового центра с помощью известных информационных технологий, например направляют по электронной почте.
Сущность изобретения поясняется чертежом, на котором схематично изображены основные устройства и элементы предлагаемой игровой системы.
Примером конкретного выполнения заявляемого изобретения является система игровых устройств для проведения мобильной логотип-лотереи “Логолото” преимущественно среди абонентов единой сети сотовой связи, например “MTC-GSM”, “Билайн GSM” или “МегаФон”, с помощью подключенных в установленном порядке персональных мобильных телефонов, оборудованных в штатном исполнении дисплеями (дисплейными экранами) для визуального отображения приходящей и исходящей по линиям связи текстовой и изобразительной информации, включая любого вида изображения заставок дисплея, в т.ч. содержащие динамические (движущиеся элементы) как черно-белые, так и выполненные в различных цветовых сочетаниях.
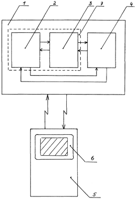
Система игровых устройств для проведения мобильной логотип-лотереи содержит игровой центр 1, включающий взаимосвязанные между собой игровой компьютер 2, устройство 3, например персональный компьютер с банком или базами данных (на чертеже не показаны) для хранения и извлечения игровых элементов – изображений заставок дисплеев, или мелодий телефонных звонков, или их парных комбинаций, например выполненных в электронном виде рекламных изобразительных и звуковых логотипов фирм-продуцентов (разработчиков и производителей) определенного вида продукции, например косметической; генератор случайных чисел 4, с которым посредством единой сети сотовой связи соединены персональные устройства связи – мобильные телефоны 5 (на чертеже условно показан один из них) с дисплеями 6, позволяющие зарегистрированным абонентам данной сети – потенциальным игрокам в любое удобное для них время, находясь в любом географическом месте охвата данной сети, принимать участие в проведении мобильной логотип-лотереи, получившей коммерческое наименование “Логолото”.
В одном из вариантов выполнения игровой компьютер 2 и устройство хранения и извлечения игровых элементов могут быть объединены в единый игровой компьютеризированный блок 7 (игровое компьютеризированное устройство), выполненный с возможностью выполнения всех необходимых игровых функций и процедур.
Система игровых устройств в режиме проведения мобильной логотип-лотереи работает следующим образом.
Абонент сотовой сети связи формирует на экране дисплея 6 своего персонального мобильного радиотелефона 5 SMS-сообщение (“короткое сообщение”) с запросом о высылке на его абонентский номер нового изображения заставки дисплея или мелодии звонка для его мобильного телефона, или одновременно заставки и мелодии, например, логотипов по выбранной им тематике, и отправляет его (SMS-сообщение) на сервисный тарификационный номер оператора сети (на чертеже не показано), с которым у него заключен договор на предоставление услуг связи, при этом с лицевого счета абонента “автоматически” снимается установленная в соответствии с тарифным планом плата за участие в игре, т.е. за высылку новых логотипов (логотипа) и участие в проведении собственно логотип-лотереи. Затем пришедший на сервисный номер, например службы коротких сообщений, SMS-запрос автоматически переадресовывается и поступает в устройство 3 хранения и извлечения находящихся в нем электронных аналогов логотипов, например персональный компьютер или компьютеризированный банк данных, откуда извлекаются произвольным образом выбранные логотипы (в электронном виде) и направляются одновременно на дисплей 6 мобильного телефона 5 абонента-игрока и в связанный с устройством хранения 3 игровой компьютер 2, после чего в игровом компьютере 2 с помощью генератора случайных чисел 4 производится известным образом розыгрыш участвующих (поступивших от абонентов сети) в лотереи логотипов и определяются логотипы-победители, которыми в зависимости от выбранного игроком режима игры могут быть чисто изобразительные, или чисто звуковые логотипы, или их совместные парные комбинации. После этого выигравшие логотипы-победители рассылаются для ознакомления на мобильные телефоны всех участников лотереи, а выигравшим участникам (участнику) высылаются в зависимости от выбранного ими режима игры соответствующие поздравительные логотипы (заставки, мелодии или их комбинации) и передается соответствующее извещение о других, заранее оговоренных в условиях проведения логотип-лотереи, призовых выигрышах, например денежно-вещевых, которые победители получают любым известным способом.
В другом варианте на начальном этапе проведения лотереи запрос абонента о высылке необходимых ему для игры логотипов и заявка на участие в игре могут быть осуществлены путем выполнения обычного телефонного звонка и передачи голосового сообщения, например, на сервисный тарификационный номер оператора сети, соединенный с соответствующим номером игрового центра 1, или непосредственно на специальный телефонный номер игрового центра 1, автоматически связанный с соответствующим сервисным номером оператора сети.
Идентификация участников проведения логотип-лотереи, например, для производства взаиморасчетов и осуществления взаимообратной связи в процессе игры может быть осуществлена любым известным способом на основании зарегистрированных у оператора сети реквизитов абонента, например номера SIM-карты и т.п., которые в свою очередь могут быть использованы в качестве дополнительных средств контроля за проведением розыгрыша электронных аналогов логотипов с помощью предлагаемой системы игровых устройств, например путем присвоения каждому запрошенному и направленному для участия в лотерее логотипу, например одного из номерных знаков, служащих для идентификации конкретного абонента сети, или порядковых номеров, автоматически присваиваемых при поступлении соответствующих обращений в игровой центр одновременно абоненту сети и собственно направленному на его мобильный телефон конкретному логотипу в соответствии с очередностью поступления заявок абонентов сети в игровой центр об их участии в лотереи.
На практике для участия в проведении логотип-лотереи возможен запрос-заказ заранее выбранных логотипов путем отправки SMS-сообщений с кодами, например цифровыми, присвоенными конкретным игровым изобразительным и звуковым (мелодиям) логотипам, размещенным для всеобщего ознакомления, например на сайтах операторов сетей связи, или опубликованным любым известным способом в средствах массовой информации.
При необходимости непосредственно собственно процесс розыгрыша может транслироваться в “прямом эфире”, например по телевидению или радио, а также в сети “Интернет”.
Необходимо также отметить, что, при сохранении всех существенных отличий, правила проведения мобильной логотип-лотереи с помощью предлагаемой системы игровых устройств могут быть откорректированы в сторону усложнения или в сторону упрощения, например, при использовании последней в качестве рекламного средства.
Формула изобретения
1. Способ проведения мобильной логотип-лотереи посредством системы игровых устройств, включающей игровой центр с взаимосвязанными между собой игровым компьютером и генератором случайных чисел и соединенные с ним в единую сеть персональные устройства связи с дисплеями, заключающийся в том, что с персональных устройств связи индивидуальных игроков в игровой центр посылают SMS-сообщения об участии в логотип-лотереи, на основании которых осуществляют игру типа «лото», определяют выигравший игровой элемент и его владельца – игрока-победителя, отличающийся тем, что игровой центр предварительно до начала игры снабжают дополнительным устройством для хранения и извлечения игровых элементов, например, компьютеризированным банком данных, с заранее выполненными в электронном виде и размещенными в нем в виде изображений заставок дисплеев и/или мелодий звонков персональных устройств связи, преимущественно мобильных телефонов, игровыми элементами, из которого по SMS-запросам участников игры, автоматически, например, посредством службы коротких сообщений, извлекают произвольным образом выбранные в электронном виде упомянутые игровые элементы и направляют их одновременно на дисплей устройства связи игрока и в связанный с устройством хранения и извлечения игровых элементов игровой компьютер, после чего посредством генератора случайных чисел осуществляют среди них розыгрыш, а по окончании игры выигравший игровой элемент отправляют для ознакомления на дисплеи персональных устройств связи всех участников игры.
2. Способ по п.1, отличающийся тем, что в качестве разыгрываемых изображений заставок дисплеев персональных устройств связи используют электронные аналоги логотипов, например товарных знаков, фирм-продуцентов, например в области производства пищевой, алкогольно-безалкогольной, косметической, автомобильной и другой продукции.
3. Способ по п.1, отличающийся тем, что в качестве разыгрываемых мелодий звонков персональных устройств связи используют электронные аналоги звуковых логотипов, например звуковых товарных знаков, фирм-продуцентов, например в области производств пищевой, алкогольно-безалкогольной, косметической, автомобильной и другой продукции.
4. Способ по п.1, отличающийся тем, что в качестве одновременно разыгрываемых изображений заставок дисплеев и мелодий звонков персональных устройств связи используют электронные аналоги изобразительных логотипов и соответствующих им звуковых логотипов, например изобразительных и звуковых товарных знаков, соответственно, фирм-продуцентов, например в области производства пищевой, алкогольно-безалкогольной, косметической, автомобильной и другой продукции.
РИСУНКИ
MM4A – Досрочное прекращение действия патента СССР или патента Российской Федерации на изобретение из-за неуплаты в установленный срок пошлины за поддержание патента в силе
Дата прекращения действия патента: 05.06.2008
Извещение опубликовано: 20.06.2010 БИ: 17/2010
|
|