|
|
(21), (22) Заявка: 2005101873/09, 24.07.2003
(24) Дата начала отсчета срока действия патента:
24.07.2003
(30) Конвенционный приоритет:
27.07.2002 (пп.1-4, 8-23, 25-28, 31-47, 49, 52, 54, 55, 58-65) KR 10-2002-0044505 01.10.2002 (пп.5-7, 24, 29, 30, 48, 50, 51, 53, 56, 57) KR 10-2002-0059777
(43) Дата публикации заявки: 10.08.2005
(46) Опубликовано: 20.03.2007
(56) Список документов, цитированных в отчете о поиске:
WO 01/22248 А1, 29.03.2001. RU 2000100982 А, 10.01.2002. ЕР 1206100 А1, 15.05.2002. GB 2366044 А, 27.02.2002. WO 02/17619 А2, 28.02.2002.
(85) Дата перевода заявки PCT на национальную фазу:
26.01.2005
(86) Заявка PCT:
KR 03/01483 (24.07.2003)
(87) Публикация PCT:
WO 2004/012095 (05.02.2004)
Адрес для переписки:
129010, Москва, ул. Б. Спасская, 25, стр.3, ООО “Юридическая фирма Городисский и Партнеры”, пат.пов. Ю.Д.Кузнецову, рег.№ 595
|
(72) Автор(ы):
ДЗУНГ Кил-Соо (KR), ЧУНГ Хиун-Квон (KR), ПАРК Сунг-Воок (KR)
(73) Патентообладатель(и):
САМСУНГ ЭЛЕКТРОНИКС КО., ЛТД. (KR)
|
(54) УСТРОЙСТВО И СПОСОБ ВОСПРОИЗВЕДЕНИЯ КОНТЕНТА И НОСИТЕЛЬ ИНФОРМАЦИИ ДЛЯ ЭТОГО
(57) Реферат:
Изобретение относится к устройству и способу воспроизведения контента и носителю информации для этого. Технический результат заключается в том, что устройство и способ воспроизведения контента реализованы с возможностью передачи информации и/или совместного использования системных параметров между размеченными документами без чрезмерной загрузки центрального процессорного устройства и без необходимости определения нового браузера. Устройство воспроизведения контента включает в себя блок хранения и/или считывания данных и презентационное устройство, управляющее блоком хранения данных, согласно управляющей программе, содержащейся во входном размеченном документе. При этом презентационное устройство содержит устройство грамматического разбора, проверяющее синтаксис размеченного документа; блок формирования дерева объектной модели документа (DOM), интерпретирующего структуру размеченного документа и извлекающего управляющую программу; и интерпретатор, принимающий управляющую программу из блока формирования дерева DOM для управления блоком хранения данных. 5 н. и 60 з.п. ф-лы, 8 ил.
Область техники, к которой относится изобретение
Настоящее изобретение относится к устройству и способу воспроизведения контента и носителю информации для этого, а более точно к устройству воспроизведения и способу, посредством которых в устройстве воспроизведения между размеченными документами возможны передача информации и совместное использование системных параметров, относящихся к воспроизведению аудио/видео для воспроизведения контента, образованного посредством использования языка разметки, и носителю информации для этого.
Уровень техники
Интерактивный контент относится к данным, хранящимся на носителе информации, например интерактивном цифровом универсальном диске (DVD), на котором аудио/видео (АВ) данные и размеченный документ для поддержки интерактивных функций хранятся вместе. Размеченный документ представляет собой документ, написанный на языке разметки, таком как язык гипертекстовой разметки (HTML) или расширенный язык разметки (XML).
АВ данные, записанные на интерактивном DVD, могут быть воспроизведены таким же способом, что и AV данные, записанные на обычном DVD или AV экране. AV данные могут быть воспроизведены и отображены при помощи браузера и могут быть встроены в окно отображения, определенное в размеченном документе. В последнем случае поддерживается интерактивная функция. Например, если AV данные представляют собой сегмент фильма, интерактивная функция представлена как множество интерактивных контентов, в которых фильм должен демонстрироваться в части окна отображения, причем заголовок отображается в другой части окна отображения, и стационарная картинка, являющаяся рекламой анонса фильма, размещена в еще одной части.
Однако документ разметки включает в себя тэг сценария, написанный на языке сценариев для реализации простых функций, которые не могут быть описаны языком разметки. Сценарий представляет собой программу или список инструкций, которые интерпретируются или выполняются другими программами. Примерами языков сценариев являются Peri, Java Script и REXX, которые применяются в мэйнфреймах IBM. Сценарий Java, содержащийся в веб-странице, выполняется веб-браузером, то есть на стороне клиента. В общем случае языки сценариев являются более структурированными и могут применятся проще и быстрее, чем такие языки, как С и C++, которые требуют компиляции. Соответственно, языки сценариев подходят для генерации программ, имеющих очень ограниченную производительность, или программ, которые могут быть повторно использованы после подсоединения к уже скомпилированной программе.
Однако, поскольку информация, генерируемая в размеченном документе, содержащем сценарии, стирается, если размеченный документ изменяют другим размеченным документом, указанная информация не может быть передана от одного документа к другому. Если диски изменяются вследствие того, что их контент записан на множество дисков, возникает такая же проблема, заключающаяся в том, что информация не может быть перенесена между размеченными документами, хранящимися на разных дисках. Для разрешения этой проблемы, во-первых, может быть определен новый браузер (средство просмотра), который запоминает всю информацию, даже если размеченный документ изменен другим документом, или, во-вторых, внешняя программа, например приложение Java, может быть использована таким образом, что информация может быть сохранена, даже если отображаемый браузером размеченный документ изменен. Тем не менее, первый способ, в котором определяют новый браузер, является неэффективным по времени, стоимости и трудозатратам. Второй способ, в котором разрабатывают и применяют внешнюю программу, например приложение Java, требует от центрального процессорного устройства (ЦПУ) в устройстве воспроизведения вычислительной мощности в миллионы операций в секунду (MIPS), тогда как такая вычислительная нагрузка является слишком большой для устройства воспроизведения для домашнего пользования, чьи системные ресурсы являются ограниченными.
Тем не менее, в веб-окружении для сохранения и обмена информацией между клиентом и сервером используют cookie-файлы. Cookie-файлы представляют собой специальные текстовые данные, которые веб-страница размещает на локальном запоминающем устройстве клиента, например жестком диске. Поскольку cookie-файлы являются протоколом, не использующим информацию о состоянии, при котором протокол передачи гипертекста (HTTP), являющийся веб-протоколом, не запоминает, что происходило в прошлом, веб-сервер не имеет записей о странице (в размеченном документе), которая была передана пользователю, является затруднительным выяснить, посещал ли в прошлом пользователь данную страницу. Cookie-файлы обычно сохраняют на нижнем уровне директории браузера, используемой пользователем, например в поддиректории директории Netscape. Все cookie-файлы веб-страниц, которые посетил пользователь, сохраняются в cookie-директории.
Ниже кратко описан процесс обмена информацией между клиентом и сервером с использованием cookie-файлов.
Во-первых, сервер, выбранный HTTP запросом клиента, предоставляет доступ к запрошенным ресурсам в виде HTTP ответа. HTTP ответ содержит команду SET_COOKIE, которая указывает, что cookie-файлы в заголовке ответа, предназначенные для сохранения на локальном запоминающем устройстве, переданы клиенту вместе с запрошенным размеченным документом. Команда SET_COOKIE генерируется, если пользователь первый раз запрашивает данные через браузер с определенного сервера. Информация, сохраняемая посредством cookie-файлов, может включать в себя, например, адрес домена универсального идентификатора ресурсов (URI), для которого cookie-файлы могут эффективно использоваться, директорию URI, для которой cookie-файлы могут эффективно использоваться, имя и значение cookie-файлов и дату прекращения действия cookie-файлов.
Клиент выполняет грамматический разбор и визуализацию размеченного документа, переданного сервером.
Клиент сохраняет информацию, содержащуюся в заголовке HTTP на локальном запоминающем устройстве, согласно функции, определенной в размеченном документе. Если клиент осуществляет доступ к данному серверу еще раз, клиент определяет домен и путь к серверу, введенные пользователем, получает доступ к информации в cookie-файлах, соответствующей серверу, сохраненной в локальном запоминающем устройстве клиента, добавляет информацию cookie в заголовок HTTP и передает cookie информацию серверу. Соответственно, выполняется обмен информацией между сервером и клиентом.
Раскрытие изобретения
Согласно аспекту настоящего изобретения предлагаются устройство и способ воспроизведения контента, причем заранее определенную информацию текущего размеченного документа сохраняют, используя cookie. Далее, в устройстве и способе воспроизведения считывают необходимую информацию, обращаясь к сохраненным cookie таким образом, что становятся возможными передача информации и совместное использование системных параметров. Согласно аспекту настоящего изобретения предлагается носитель информации для указанных устройства и способа.
Согласно аспекту настоящего изобретения предлагается устройство воспроизведения контента, включающее в себя блок хранения данных, запоминающий и/или считывающий данные; и презентационное устройство, управляющее блоком хранения данных согласно управляющей программе, содержащейся в принятом размеченном документе.
Презентационное устройство включает в себя устройство грамматического разбора, проверяющее синтаксис размеченного документа; устройство формирования дерева объектной модели документа (DOM), принимающее размеченный документ от устройства грамматического разбора, интерпретирующее структуру размеченного документа и извлекающее управляющую программу; и устройство интерпретации, принимающее извлеченную управляющую программу от устройства формирования дерева DOM для управления блоком хранения данных.
Управляющая программа может включать в себя, по меньшей мере, одну управляющую программу генерации cookie, которая управляет генерацией информации cookie, управляющую программу обращения к cookie, которая управляет поиском, по меньше мере, одного элемента информации cookie, сохраненного в блоке хранения данных, и предоставляет значение заранее определенной целевой информации, и управляющую программу удаления cookie, которая управляет поиском, по меньшей мере, одного элемента информации cookie, сохраненного в блоке хранения данных, и удалением заранее определенной информации cookie.
Презентационное устройство может внедрять идентификационную информацию о контенте, относящуюся к размеченному документу, в cookie информацию и сохранять информацию cookie в блоке хранения данных.
Согласно другому аспекту настоящего изобретения предлагается способ воспроизведения контента, включающий в себя прием размеченного документа, содержащего заранее определенную управляющую программу; грамматический разбор для проверки синтаксиса размеченного документа; извлечение управляющей программы посредством интерпретации структуры размеченного документа и управление блоком хранения данных согласно управляющей программе.
В указанном способе управляющая программа может включать в себя управляющую программу генерации cookie и может включать в себя, согласно управляющей программе генерации cookie, генерацию информации cookie, содержащей заранее определенную целевую информацию; и сохранение сгенерированной информации cookie в блоке хранения данных.
Генерация информации cookie может включать в себя внедрение идентификационной информации о контенте, относящейся к размеченному документу, в информацию cookie.
В указанном способе управляющая программа может включать в себя управляющую программу обращения к cookie, и управление блоком хранения данных может включать в себя, согласно управляющей программе обращения к cookie, поиск в блоке хранения данных, по меньшей мере, одного элемента информации cookie; и извлечения заранее определенной целевой информации из, по меньшей мере, одного элемента информации cookie.
В указанном способе управляющая программа может включать в себя управляющую программу удаления cookie, и управление блоком хранения данных может включать в себя, согласно управляющей программе удаления cookie, поиск в блоке хранения данных, по меньшей мере, одного элемента информации cookie среди множества элементов информации cookie, сохраненных в блоке хранения данных, которая соответствует информации cookie, которую удаляет управляющая программа удаления; и удаления по меньшей мере, одного элемента информации cookie.
Согласно еще одному аспекту настоящего изобретения предлагается носитель данных, включающий в себя аудио/видео (AV) данные и размеченный документ, воспроизводящий AV данные, причем размеченный документ имеет управляющую программу для управления блоком хранения данных устройства воспроизведения контента.
В носителе данных настоящего изобретения управляющая программа генерации cookie осуществляет управление таким образом, что устройство воспроизведения контента генерирует информацию cookie, включающую в себя информацию идентификации контента, относящуюся к размеченному документу, и сохраняет информацию cookie в блоке хранения данных.
В носителе данных управляющая программа может включать в себя управляющую программу обращения к cookie, причем управляющая программа обращения к cookie осуществляет управление таким образом, что устройство воспроизведения контента выполняет поиск в блоке хранения данных информации cookie с заранее определенной целевой информацией и извлечение заранее определенной целевой информации.
В носителе данных управляющая программа может включать в себя управляющую программу удаления cookie, причем управляющая программа удаления cookie осуществляет управление таким образом, что устройство воспроизведения контента выполняет поиск, по меньшей мере, одного элемента информации cookie среди множества элементов информации cookie, сохраненных в блоке хранения данных, которая соответствует информации cookie, которую удаляет управляющая программа удаления cookie, и удаляет, по меньшей мере, один элемент информации cookie.
Различные аспекты и/или преимущества настоящего изобретения будут частично приведены в нижеследующем описании и частично будут очевидны из описания или при осуществлении изобретения.
Краткое описание чертежей
Фиг.1 является блок-схемой, показывающей устройство воспроизведения контента, согласно аспекту настоящего изобретения;
фиг.2 является блок-схемой, иллюстрирующей подробную структуру презентационного устройства, показанного на фиг.1;
фиг.3 является блок-схемой, показывающей структуру директорий данных, хранящихся на носителе контента, согласно настоящему изобретению;
фиг.4 является блок-схемой, иллюстрирующей способ воспроизведения контента, согласно аспекту настоящего изобретения;
фиг.5 является блок-схемой, иллюстрирующей извлеченную управляющую программу, показанную на фиг.4;
фиг.6 является блок-схемой, иллюстрирующей другой аспект выполнения извлеченной управляющей программы, показанной на фиг.4;
фиг.7 является блок-схемой, иллюстрирующей еще один аспект выполнения извлеченной управляющей программы, показанной на фиг.4; и
фиг.8 является блок-схемой, иллюстрирующей еще один аспект способа воспроизведения контента, согласно настоящему изобретению.
Осуществление изобретения
Ниже даются боле подробные ссылки на аспекты настоящего изобретения, примеры которых иллюстрированы на прилагаемых чертежах, на которых одинаковые ссылочные позиции относятся к одинаковым элементам. Указанные аспекты описаны ниже для объяснения настоящего изобретения с ссылками на фигуры чертежей.
Ниже со ссылками на фиг.1-3 объясняется воспроизведение контента, согласно аспекту настоящего изобретения.
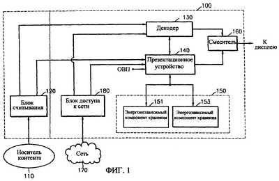
Фиг.1 является блок-схемой, показывающей устройство 100 воспроизведения контента, согласно аспекту настоящего изобретения. По фиг.1 устройство воспроизведения контента включает в себя блок 120 считывания, декодер 130, презентационное устройство 140, блок 150 хранения данных, смеситель 160, сеть 170 и блок 180 доступа к сети. Блок 150 хранения данных включает в себя компонент 151 энергонезависимого хранения данных и компонент 153 энергозависимого хранения данных.
Носитель 110 цифрового контента представляет собой носитель для хранения интерактивного контента, например интерактивный DVD. Интерактивный DVD хранит AV данные, размеченные документы и другие типы данных.
Фиг.3 является блок-схемой, показывающей структуру директорий данных, хранящихся на носителе 110 цифрового контента, согласно аспекту настоящего изобретения. Структура директорий включает в себя VIDEO_TC директорию для хранения AV данных, DVD_ENAV директорию для хранения данных, поддерживающих интерактивную функцию, таких как размеченные документы, и другие файлы.
Размеченный документ включает в себя управляющую программу, которая управляет блоком 150 хранения данных. Презентационное устройство 140 интерпретирует управляющую программу и исполняет команды. Управляющая программа написана на языке сценариев Java. Управляющая программа также может быть написана на других языках, например на языке сценариев Visual Basic.
Управляющая программа в размеченном документе написана таким образом, что управляющая программа имеет, по меньшей мере, управляющую программу генерации cookie, программу обращения к cookie или программу удаления cookie. Управляющая программа генерации cookie осуществляет управление таким образом, что заранее определенная информация сохраняется в форме cookie в текущем документе в блоке 150 хранения данных. Управляющая программа обращения к cookie осуществляет управление таким образом, что предварительно сохраненная заранее определенная информация предоставляется путем обращения к сохраненному cookie. Управляющая программа удаления cookie осуществляет управление таким образом, что удаляется cookie, содержащий заранее определенную информацию. Управляющая программа создается разработчиком контента при разработке размеченного документа.
Ниже объясняется пример cookie управляющей программы, записанной в заголовке размеченного документа, написанного на DVD-HTML версии 1.0, который может быть определен в качестве языка разметки для интерактивных DVD.
 
Вышеприведенный вариант осуществления управляющей программы написан на языке сценариев ЕСМА.
В заголовке размеченного документа “contentid”, который является идентификационной информацией контента, определен как “3AE86B20-7BE8-11D1-ABE6-00A0C905F3 75”. Помимо этого “diskid” представляет собой информацию, указывающую номер тома диска, если цифровой контент сформирован в виде множества дисков, и определенную как “disk.1”, что указывает, что данный диск является первым диском цифрового контента. Идентифицирующая информация контента представляет собой информацию, указывающую конкретный видеофрагмент или конкретную игру. Идентифицирующая информация контента может быть определена в размеченном документе, как описано выше, и может быть записана в заранее определенной области носителя 110 контента.
“playstate” представляет собой системную переменную для сохранения состояния воспроизведения, то есть воспроизведение, паузу, остановку и т.п. видео DVD, встроенные в текущую страницу (размеченного документа), и “parental_level” представляет собой переменную сохранения parental_level (родительского уровня), который установлен для текущего устройства воспроизведения. parental_level представляет собой информацию, указывающую установку системной переменной для устройства 100 воспроизведения с целью предотвращения воспроизведения видеопрограмм, неподходящих для детей или подростков, или информацию, указывающую допустимый возраст для просмотра цифрового контента видео DVD. Например, NC-17 указывает, что допустимым возрастом для просмотра цифрового контента является 17 лет.
Переменные playstate и parental_level принимают значение переменных InteractiveDVD.PlayState и InteractiveDVD.ParentalLevel соответственно от декодера 130 и сохраняют значение указанных характеристик в виде значений соответствующих переменных. Интерфейс прикладного программирования (API) представляет собой набор функций для взаимодействия DVD видеопрограммы с размеченным документом, и API можно разделить на три вида: “метод”, “свойство” и “событие”. Примером API является API, определенный в описании интерфейса прикладного программирования InterActual. В одном из аспектов настоящего изобретения InterActual API упоминается в качестве интерфейса программирования.
В одном из аспектов настоящего изобретения показано, что включены три программы: управляющая программа генерации cookie, управляющая программа обращения к cookie и управляющая программа удаления cookie.
Во-первых, управляющая программа генерации cookie генерирует cookie, используя функцию “setCookie”. Среди элементов cookie “parental_level” и parental_level соответствуют имени и значению целевой информации, предназначенной для сохранения в блоке 150 хранения данных, например, информации о системных переменных.
“Постоянная” информация указывает, что генерируемый cookie следует сохранить в энергонезависимом компоненте 151 хранения блока 150 хранения данных. Таким образом, данная информация представляет собой пример информации атрибута, определяющей, где должен сохраняться генерируемый cookie. Если информация “постоянная” отсутствует, информацию генерируемого cookie сохраняют в энергонезависимом компоненте 153 хранения.
Если устройство 100 воспроизведения контента выключено и затем снова включено; или если цифровой контент сохранен на множестве дисков, и после извлечения текущего диска из устройства 100 воспроизведения контента в него помещают другой диск, информация, предназначенная для повторного использования в размеченном документе, сохраняется в виде информации cookie в энергонезависимом компоненте 151 хранения.
Информация атрибута cookie может быть выражена другими способами, отличными от используемых при наличии информации “постоянная”. Например, информация о дате, включающая в себя время действия информации cookie, может быть использована в качестве информации атрибута хранения cookie. Таким образом, если информация о дате предназначена для будущего использования по сравнению с текущей датой, информация cookie сохраняется в энергонезависимом компоненте 151 хранения. Соответственно, после заранее определенного интервала времени информация cookie удаляется. В другом способе при отсутствии информации о длительности информация cookie может быть удалена, когда устройство просмотра указывает на окончание размеченного документа.
Информация cookie, сохраненная в блоке 150 хранения данных, может дополнительно включать в себя информацию идентификации контента для идентификации информации cookie. Поиск требуемой информации cookie может быть выполнен более точно, основываясь на информации идентификации контента, введенной в информацию cookie.
В способе введения информации идентификации контента в информацию cookie, как и в обычных способах, информация идентификации контента может быть сохранена как content__ID = “значение content_ID” в части информации cookie с name = “значение”. Информация идентификации контента сохраняется как элемент информации cookie. Для того, чтобы поиск сохраненной информации cookie можно было выполнить с большей точностью, основываясь на информации идентификации контента, информация идентификации контента может быть сохранена как обязательная информация или значение атрибута. Cookie с информацией идентификации контента, сохраненной как обязательная информация, имеет формат, отличающийся от обычных форматов. Помимо этого, информация идентификации контента, сохраненная в виде значения атрибута, является необязательной, поэтому cookie с информацией идентификации контента, сохраненной в виде значения атрибута, может иметь формат, по существу совпадающий с обычным форматом.
На информацию идентификации контента можно ссылаться из произвольной области носителя 110 контента и/или из заголовочной части размеченного документа.
“/dvd_enav” является информацией, указывающей путь, и используется для именования пути в домене (устройстве воспроизведения), в котором эффективно используется сохраненная информация. Если сохраненная информация соответствует эффективному домену, имя пути текущего размеченного документа сравнивается с атрибутом пути, сохраненным в блоке 150 хранения данных. Если имя пути соответствует атрибуту пути, определяют, что сохраненная информация является эффективной. Путь “/samsung” можно рассматривать как путь, соответствующий “/samsungelectronics” или “/samsung/index.html”, которые содержат аналогичные строки символов. К тому же, только путь, имеющий текст, в точности совпадающий с атрибутом пути, может быть определен как идентичный путь.
При помощи функции “getCookie” управляющая программа обращения к cookie выполняет в блоке 150 хранения данных, хранящем множество cookie, поиск требуемого cookie и предоставляет значение требуемой целевой информации. Используя имя “user input” целевой информации в качестве ключевого значения, интерпретатор 147 сценариев презентационного устройства 140 выполняет в блоке 150 хранения данных, хранящем множество cookie, поиск cookie, имеющего имя домена “dvd;” и затем выполняет поиск cookie, имеющих такую же информацию о пути, что и текущий размеченный документ. Среди указанных cookie интерпретатор 147 сценариев выполняет поиск cookie, имеющих имя целевой информации “user input”, и предоставляет целевую информацию данного cookie.
Как описано выше, если в информацию cookie дополнительно включена информация идентификации контента, в дополнение к поиску cookie, имеющего указанное имя домена или указанную информацию о пути, информация идентификации контента может использоваться только для поиска требуемого cookie. В качестве альтернативы для той же цели может быть определена функция getCookie, дополнительно включающая информацию идентификации контента.
При помощи функции “getCookie” управляющая программа удаления cookie выполняет в блоке 150 хранения данных, хранящем множество cookie, поиск требуемого cookie и удаляет требуемый cookie. Используя имя целевой информации “form 2” в качестве ключевого значения, интерпретатор 147 сценариев презентационного устройства 140 выполняет в блоке 150 хранения данных, хранящем множество cookie, поиск cookie, имеющего имя домена “dvd;” и затем выполняет поиск cookie, имеющих такую же информацию о пути, что и текущий размеченный документ. Среди указанных cookies интерпретатор 147 сценариев удаляет cookie, имеющие имя целевой информации “form 2”.
Как описано выше, если в информацию cookie дополнительно включена информация идентификации контента, функция delCookie может быть определена для удаления заранее определенной информации cookie среди cookie с данной информацией идентификации контента.
Помимо этого в одном из аспектов настоящего изобретения, относящемся к программе
|