|
|
(21), (22) Заявка: 2005101083/09, 29.04.2003
(24) Дата начала отсчета срока действия патента:
29.04.2003
(30) Конвенционный приоритет:
19.06.2002 US 10/174,615
(43) Дата публикации заявки: 10.08.2005
(46) Опубликовано: 20.03.2007
(56) Список документов, цитированных в отчете о поиске:
JP 2000-330847 А, 30.11.2000. WO 02/27489 А2, 04.04.2002. RU 2142158 C1, 27.11.1999. US 6385639 В1, 07.02.2002. US 6085166 А, 04.07.2000. US 6185208 А, 06.02.2001. JP 2002-149465 А, 24.05.2002. JP 2001-282602 А, 12.10.2001.
(85) Дата перевода заявки PCT на национальную фазу:
19.01.2005
(86) Заявка PCT:
US 03/13513 (29.04.2003)
(87) Публикация PCT:
WO 2004/001619 (31.12.2003)
Адрес для переписки:
129010, Москва, ул. Б. Спасская, 25, стр.3, ООО “Юридическая фирма Городисский и Партнеры”, пат.пов. Ю.Д.Кузнецову, рег.№ 595
|
(72) Автор(ы):
ПЭТЗЕР Роберт (US), ХУ Бин (US), ЛАТЫПОВ Дмитрий (US)
(73) Патентообладатель(и):
МОТОРОЛА, ИНК. (US)
|
(54) ГРУППЫ СОВМЕСТНОГО ИСПОЛЬЗОВАНИЯ ИНФОРМАЦИИ, СЕРВЕРНЫЕ И КЛИЕНТСКИЕ ГРУППОВЫЕ ПРИЛОЖЕНИЯ И СООТВЕТСТВУЮЩИЕ СПОСОБЫ
(57) Реферат:
Изобретение относится к совместному использованию информации. Его применение в сетевых системах, использующих группы совместного использования информации на коммуникационных серверах, позволяет осуществлять автоматическое удаление групп совместного использования информации по истечении заданного временного интервала достоверности группы при помощи связывания свойства автоудаления с группой совместного использования информации. Предпочтительно, чтобы группа удалялась только в случае отсутствия активных групповых сеансов связи. Свойство автоудаления и свойства любого временного периода достоверности задаются в примитиве свойств группы, генерируемом групповым приложением, выполняемым, например, клиентом, который передает примитив серверу. 3 н. и 14 з.п. ф-лы, 6 ил.
Область техники, к которой относится изобретение
Настоящие изобретения относятся в общем к группам совместного использования информации, а в частности к созданию и удалению групп совместного использования информации, например, размещенных поставщиками услуг Интернет или на других коммуникационных серверах. Изобретения относятся также к серверным и клиентским групповым приложениям, включая выполняемые на беспроводных коммуникационных микротелефонах, к свойствам группы и к соответствующим способам.
Уровень техники
Общеизвестно, как создавать и размещать группы совместного использования информации, включая дискуссионные группы, группы новостей и другие дискуссионные форумы на коммуникационных серверах, например, на серверах поставщиков услуг Интернет (ISP), включая принадлежащие America On-Line и другим. Группы могут быть созданы поставщиками услуг и администраторами сервера или пользователями, например, абонентами или представителями поставщика услуг Интернет.
Группы совместного использования информации на основе сервера, как правило, создаются в ходе транзакции создания группы, управляемой при помощи пользовательского интерфейса создания группы, после регистрации на ведущем сервере. При создании новой группы группе назначается уникальный идентификатор, как правило, серверным приложением. Как правило, создатель группы задает одно или несколько свойств группы, например, при помощи транзакции установки свойства группы. Известные свойства группы включают в себя, например, имя группы и тему группы, оба этих свойства, как правило, назначаются или устанавливаются создателем группы. Свойства группы могут также определять атрибуты группового членства, например, является ли групповое членство «приватным» или «публичным» и «открытым» или «ограниченным», ограничения на размер группового членства и тому подобное. Другие известные свойства группы включают в себя следующее: поддерживает ли группа приватный обмен сообщениями и возможен ли поиск по группе. Некоторые свойства задаются сервером группы, в то время как другие свойства могут быть заданы создателем группы. Для других свойств группы предусмотрены значения по умолчанию, если они не установлены создателем. В настоящее время группы совместного использования информации должны удаляться вручную или сервером, или создателем группы.
Различные особенности, отличительные признаки и преимущества настоящего изобретения станут более очевидными специалисту в данной области техники в ходе серьезного рассмотрения нижеследующего детального описания изобретения вместе с сопроводительными чертежами, описанными ниже.
КРАТКОЕ ОПИСАНИЕ ЧЕРТЕЖЕЙ
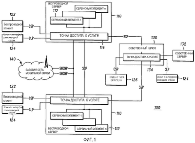
Фиг. 1 – схематическая блок-схема примерной коммуникационной архитектуры, содержащей серверы размещения групп, доступные беспроводным и другим клиентам.
Фиг. 2 – более детальная блок-схема примерной архитектуры группового сервера, имеющего функциональные возможности для обслуживания групп.
Фиг. 3 – схема последовательности операций примерного процесса создания и удаления группы.
Фиг. 4 – схема последовательности операций примерного процесса выбора свойства группы.
Фиг. 5 – примерный файл конфигурации группы, содержащий поля данных со свойствами группы.
Фиг. 6 – схематичное представление сгенерированного приложением примитива свойств группы совместного использования информации.
ПОДРОБНОЕ ОПИСАНИЕ ИЗОБРЕТЕНИЯ
На Фиг. 1 примерная коммуникационная архитектура 100 содержит, по меньшей мере, один беспроводной сервер 110, включающий в себя один или несколько сервисных элементов 112, имеющих различные функциональные возможности, из которых, по меньшей мере, один является элементом для обслуживания групп, обсуждаемым более подробно ниже. В системах, имеющих множество серверов 110, серверы взаимодействуют через соответствующие точки 114 доступа к услуге с использованием протокола сервер-сервер (SSP).
Фиг. 2 иллюстрирует примерный сервер 200, содержащий множество сервисных элементов 210, включающих в себя функциональные возможности 212 наличия сервиса, функциональные возможности 214 мгновенной передачи сообщений (IM), функциональные возможности 216 группы совместного использования информации и функциональные возможности 218 совместного использования содержания. В настоящих изобретениях сервер обеспечивает, по меньшей мере, функциональные возможности для обслуживания групп, хотя в других вариантах сервер может обеспечивать другие функциональные возможности по обслуживанию, включая комбинации сервисных элементов, проиллюстрированных в примерном варианте. Сервер 200 может быть беспроводным сервером, как показано на Фиг. 1, или это может быть доступный не беспроводной сервер. К серверу, как правило, имеют доступ беспроводные и проводные клиенты.
На Фиг. 1 примерный беспроводной сервер 110 обеспечивает доступ к услуге различным беспроводным клиентам 122, взаимодействующим с использованием протокола клиент-сервер (CSP) и беспроводным клиентам 124, взаимодействующим с использованием протокола с интерфейсом типа командной строки (CLI). Другие клиенты, включая беспроводных клиентов и клиентов 126 на основе браузера, наряду с другими, могут получить доступ к беспроводному серверу 110 через собственный шлюз 130, связанный с собственным сервером 132, имеющим соответствующую точку 134 доступа, которая взаимодействует с точкой 114 доступа к услуге на беспроводном сервере 110 по протоколу сервер-сервер (SSP). Клиенты на основе браузера могут быть беспроводными или проводными, включая, например, абонентов поставщика услуг Интернет (ISP).
На Фиг. 2 точка 220 доступа к серверу содержит элемент 222 доступа по протоколу клиент-сервер (CSP) для прямого взаимодействия с клиентами, например, с беспроводными клиентами 122, на которых выполняются групповые приложения на Фиг. 1. В некоторых вариантах беспроводные клиенты 122 содержат встроенное групповое прикладное программное обеспечение, написанное, например, на языке программирования Си. В других вариантах беспроводные клиенты 122 содержат групповое прикладное программное обеспечение на основе JAVA в J2ME.
На Фиг. 2 точка 220 доступа к серверу содержит элемент 224 доступа по протоколу командной строки (CLP) для прямого взаимодействия с традиционными беспроводными клиентами с интерфейсом типа командной строки, например, двунаправленными устройствами службы коротких сообщений (SMS) или другими традиционными устройствами.
На Фиг. 1 примерный беспроводной сервер 110 также взаимодействует с базовой сетью 140 мобильной связи по серверному протоколу для базовой сети мобильной связи (SMCNP). На Фиг. 2 точка 220 доступа к серверу содержит элемент 226 SMCNP доступа для взаимодействия с базовой сетью 140 мобильной связи. Точка 220 доступа к серверу содержит элемент 228 SSP доступа для взаимодействия с другими серверами, например, частным шлюзом 130 на Фиг. 1 с использованием протокола сервер-сервер.
На Фиг. 2 точка 220 доступа к услуге включает в себя функциональные возможности 232 для аутентификации и авторизации клиентов, функциональные возможности 234 для обнаружения и согласования услуг, функциональные возможности 236 для управления профилем пользователя и функциональные возможности 238 для ретрансляции услуги. В некоторых вариантах точка 220 доступа к услуге расположена физически вместе с сервисными элементами сервера, но в более общем случае точка 220 доступа к услуге может быть шлюзом, физически отделенным от сервера сервисных элементов.
Сервисный элемент группы совместного использования информации, обеспечиваемый сервером, включает в себя обеспечение групп новостей и обсуждений, дискуссионных групп и, в общем случае, любых других типов групп. В общем случае группы могут создаваться или сервером, или клиентом.
На схеме 300 последовательности операций, представленной на Фиг. 3 в блоке 310, группа создается или поставщиком услуги, или клиентом, например, беспроводными или другими абонентами, имеющими санкционированный доступ к серверу. Например, в некоторых вариантах группа создается клиентом, зарегистрированным на сервере, в ходе транзакции создания группы, в которой свойства группы задаются создателем группы. Как правило, интерфейс пользователя и приложения, позволяющие создание групп, широко известны. В других приложениях свойства группы для ранее основанных групп пересматриваются или обновляются. При создании или обновлении группы новая или обновленная группа устанавливается на сервере. В некоторых вариантах группа создается на клиенте или свойства ранее созданной группы изменяются на клиенте и передаются серверу, после чего группа устанавливается или свойства группы изменяются на сервере.
В одном варианте после установления группы совместного использования информации на коммуникационном сервере, что включает в себя создание новой группы или изменение одного или нескольких свойств ранее созданной группы, группа совместного использования информации автоматически удаляется с сервера по истечении заданного периода времени, связанного с группой совместного использования информации, как показано на фиг. 3 в блоке 320.
В одном варианте создатель задает, будет ли группа удалена автоматически, например, выбирая или устанавливая свойство автоудаления группы, или в другом случае связанную с группой команду для автоматического удаления группы, или при создании группы, или при обновлении свойств группы после ее создания. На Фиг. 3 в блоке 330 выполняется определение, должна ли группа удаляться автоматически. Если автоудаление не было задано для группы, то в блоке 332 сервер сохраняет группу совместного использования информации без автоматического удаления группы. На Фиг. 3, если группа была намечена для автоматического удаления, она будет удалена в блоке 320 по истечении связанного с ней периода времени.
В одном варианте пользователь задает период времени, связанный с группой совместного использования информации, например, задавая свойство временного периода достоверности группы, показывающего, как долго связанная группа существует до автоматического удаления. В вариантах, в которых задается, что группа совместного использования информации будет автоматически удалена, временной период достоверности группы может быть установлен создателем группы, или, в качестве альтернативы, временной период достоверности группы может принимать значение по умолчанию, не выбираемое создателем.
На Фиг. 4 представлена схема 400 последовательности операций части процесса создания группы совместного использования информации или процесса обновления свойств. В блоке 410 задается, будет или нет группа удалена автоматически, и в блоке 420 выбирается временной период достоверности группы. В блоке 430 устанавливается временной период достоверности группы по умолчанию, если его значение не было задано создателем/редактором группы. В блоке 440 другие свойства группы могут быть установлены.
На Фиг. 5 представлен примерный файл 500 конфигурации группы, который может храниться, например, на коммуникационном сервере, задавая свойства группы. Файл конфигурации группы может быть использован, а в некоторых вариантах являться частью, групповой прикладной программой на основе сервера.
Файл конфигурации группы связан с конкретной группой, например, при помощи отнесения файла данных конфигурации группы к уникальной информации об идентификации группы, для группы, с которой связаны данные. Как правило, файл конфигурации группы содержит поля данных свойств группы для сохранения сегментов данных свойств группы и другой информации о соответствующей группе. В некоторых вариантах файл конфигурации группы содержит информацию о конфигурации более чем одной группы.
На Фиг. 5 файл конфигурации группы содержит поле 510 данных свойства автоудаления группы совместного использования информации, которое может принимать значения TRUE или NOT TRUE. Поле данных времени достоверности группы, таким образом, хранит информацию, задающую, будет ли автоматически удалена группа совместного использования информации, связанная с файлом конфигурации группы, с коммуникационного сервера, после заданного периода времени. Когда установлено значение TRUE, группа совместного использования информации, с которой связан файл конфигурации группы, будет удалена автоматически после заданного периода времени.
Файл конфигурации группы на Фиг. 5 также содержит поле 520 данных временного периода достоверности группы. Поле данных временного периода достоверности группы хранит информацию о временном периоде достоверности группы, определяющую временной период, в течение которого группа совместного использования информации существует до автоматического удаления с коммуникационного сервера. В некоторых вариантах создатель группы выбирает период времени, в течение которого группа совместного использования информации существует перед удалением с коммуникационного сервера. В качестве альтернативы, временной период достоверности группы принимает значение по умолчанию в случае отсутствия выбора создателем группы. Файл конфигурации группы может также включать в себя поля данных для других свойств и информации, связанной с соответствующей группой совместного использования информации.
Фиг. 6 иллюстрирует схематичное представление сгенерированного приложением примитива 600 свойств группы совместного использования информации для задания свойств группы совместного использования информации. Как правило, примерный примитив свойств группы содержит идентификацию 610 группы, идентифицирующую группу, с которой связан примитив, и сегмент 620 данных автоудаления группы совместного использования информации, задающий период времени, в течение которого группа совместного использования информации, идентифицированная уникальным идентификационным сегментом данных, существует до автоматического удаления.
В некоторых вариантах сгенерированный приложением примитив 600 свойств группы совместного использования информации также содержит сегмент 630 данных временного периода достоверности группы, задающий период времени, в течение которого группа совместного использования информации, идентифицированная идентификацией группы, существует до автоматического удаления. В тех вариантах, в которых сегмент данных временного периода достоверности не включен, может использоваться период времени по умолчанию.
На Фиг. 6 примерный сгенерированный приложением примитив свойств группы совместного использования информации включает в себя сегмент 640 данных идентификации протокола, идентифицирующий протокол группы. В некоторых вариантах сегмент данных идентификации протокола включает в себя данные о версии протокола. Примерный сгенерированный приложением примитив свойств группы совместного использования информации также включает в себя сегмент 650 данных типа транзакции протокола, например, идентифицирующий транзакцию как транзакцию установки свойства. Примерный сгенерированный приложением примитив свойств группы совместного использования информации также включает в себя сегмент 660 данных идентификации сеанса связи, включающий в себя, например, регистрационную информацию, идентификацию пользователя, пароль и так далее. Сгенерированный приложением примитив свойств группы совместного использования информации может также включать в себя поля данных других свойств.
В одном варианте сгенерированный приложением примитив свойств группы совместного использования информации является сгенерированным клиентским приложением примитивом свойств группы совместного использования информации, который генерируется клиентским приложением, например, из группового приложения, выполняемого на беспроводном клиентском коммуникационном устройстве. В других вариантах примитив может генерироваться серверным приложением.
В тех вариантах, в которых свойства автоудаления и временного периода достоверности генерируются сгенерированным клиентским приложением примитивом свойств группы, примитив свойств группы, включающий в себя сегмент данных автоудаления группы совместного использования информации и любой сегмент данных временного периода достоверности группы совместного использования информации, передается от клиента, например, от беспроводного коммуникационного устройства к коммуникационному серверу, на котором размещается группа совместного использования информации.
На Фиг. 3 в блоке 340 группа сохраняется до тех пора, пока не истечет заданный или принятый по умолчанию временной период достоверности группы, после чего группа удаляется или перемещается с сервера автоматически. В некоторых вариантах в блоке 350 группа удаляется после истечения временного периода достоверности только, если нет пользователей или членов, активно участвующих в группе совместного использования информации. Таким образом, если группа активна в момент истечения временного периода группы, группа не будет удалена до тех пор, пока последний член не покинет группу.
Несмотря на то, что настоящие изобретения и его лучшие варианты, как считается в настоящий момент, были описаны для того, чтобы установить владение ими изобретателей, и для того, чтобы специалисты в данной области техники могли изготовить и использовать изобретения, должно быть понятно и принято во внимание, что существует множество эквивалентов примерных вариантов, описанных здесь, и что бесчисленные модификации и варианты настоящего изобретения без выхода за пределы объема и сущности настоящего изобретения ограничиваются не примерными вариантами, а только нижеследующей формулой.
Формула изобретения
1. Способ автоматического удаления группы совместного использования информации на коммуникационном сервере, заключающийся в том, что устанавливают группу совместного использования информации на коммуникационном сервере, автоматически удаляют группу совместного использования информации с коммуникационного сервера по истечении заданного периода времени, связанного с группой совместного использования информации.
2. Способ по п.1, отличающийся тем, что получают примитив свойств группы совместного использования информации от клиента, причем примитив свойств группы совместного использования информации содержит информацию об автоудалении группы совместного использования информации и информацию о временном периоде достоверности группы совместного использования информации, при этом информация об автоудалении группы совместного использования информации определяет, что группа совместного использования информации будет удалена автоматически, информация о временном периоде достоверности группы совместного использования информации определяет, как долго группа совместного использования информации существует до автоматического удаления.
3. Способ по п.1, отличающийся тем, что задают период времени, связанный с группой совместного использования информации, посредством задания временного периода достоверности группы, автоматически удаляют группу совместного использования информации по истечении временного периода достоверности группы.
4. Способ по п.3, отличающийся тем, что автоматически удаляют группу совместного использования информации по истечении временного периода достоверности группы, только если нет членов группы, активно участвующих в группе совместного использования информации.
5. Способ по п.3, отличающийся тем, что задают временной период достоверности группы как свойство достоверности группы совместного использования информации при создании группы совместного использования информации.
6. Способ по п.1, отличающийся тем, что устанавливают свойство автоудаления группы совместного использования информации, автоматически удаляют группу совместного использования информации с коммуникационного сервера по истечении заданного периода времени, связанного с группой совместного использования информации, только если установлено свойство автоудаления группы совместного использования информации.
7. Способ по п.1, отличающийся тем, что связывают заданный временной период с группой совместного использования информации посредством задания заданного периода времени как свойства группы совместного использования информации.
8. Способ по п.1, отличающийся тем, что получают на коммуникационном сервере команду от клиента для автоматического удаления группы совместного использования информации по истечении заданного периода времени.
9. Способ по п.8, отличающийся тем, что получают на коммуникационном сервере команду от клиента, задающую период времени, в течение которого группа совместного использования информации существует до автоматического удаления группы совместного использования информации.
10. Способ автоматического удаления группы совместного использования информации в сервере групп совместного использования информации, заключающийся в том, что задают, будет ли автоматически удалена в будущем группа совместного использования информации, размещенная на сервере, задают временной период достоверности группы совместного использования информации, в течение которого группа совместного использования информации существует до автоматического удаления.
11. Способ по п.10, отличающийся тем, что задают временной период достоверности группы совместного использования информации с использованием заданной по умолчанию информации о временном периоде достоверности группы совместного использования информации.
12. Способ по п.10, отличающийся тем, что задают период времени, в течение которого группа совместного использования информации существует до автоматического удаления, при помощи получения сервером от клиента примитива свойств группы совместного использования информации, включающего в себя сегмент данных автоудаления группы совместного использования информации и сегмент данных временного периода достоверности группы совместного использования информации.
13. Способ по п.10, отличающийся тем, что получают на сервере примитив свойств группы совместного использования информации от клиента, причем примитив свойств группы совместного использования информации включает в себя команду автоудаления группы совместного использования информации, задающую, будет ли удалена автоматически группа совместного использования информации, размещенная на сервере.
14. Способ по п.10, отличающийся тем, что получают на сервере примитив свойств группы совместного использования информации от клиента, причем примитив свойств группы совместного использования информации включает в себя команду автоудаления группы совместного использования информации, задающую, будет ли удалена автоматически группа совместного использования информации, размещенная на сервере, кроме того, примитив свойств группы совместного использования информации включает в себя команду достоверности группы совместного использования информации, задающую временной период достоверности группы совместного использования информации.
15. Способ автоматического удаления группы совместного использования информации в групповом приложении на беспроводном коммуникационном клиенте, заключающийся в том, что задают, будет ли автоматически удалена в будущем группа совместного использования информации, размещенная на сервере, задают временной период достоверности группы совместного использования информации, в течение которого группа совместного использования информации существует до автоматического удаления.
16. Способ по п.15, отличающийся тем, что задают период времени, в течение которого группа совместного использования информации существует до автоматического удаления, посредством передачи примитива свойств группы совместного использования информации, включающего в себя сегмент данных автоудаления группы совместного использования информации и сегмент данных временного периода достоверности группы совместного использования информации.
17. Способ по п.15, отличающийся тем, что передают примитив свойств группы совместного использования информации, включающий в себя сегмент данных автоудаления группы совместного использования информации и сегмент данных временного периода достоверности группы совместного использования информации, на сервер, на котором размещена группа совместного использования информации.
РИСУНКИ
MM4A – Досрочное прекращение действия патента СССР или патента Российской Федерации на изобретение из-за неуплаты в установленный срок пошлины за поддержание патента в силе
Дата прекращения действия патента: 30.04.2008
Извещение опубликовано: 27.07.2010 БИ: 21/2010
|
|