|
|
(21), (22) Заявка: 2005124056/28, 29.07.2005
(24) Дата начала отсчета срока действия патента:
29.07.2005
(46) Опубликовано: 20.03.2007
(56) Список документов, цитированных в отчете о поиске:
ЛЕОНЧИК Б.И., МАЯКИН В.П. Измерение в дисперсионных потоках. – М.: Энергоатомиздат, 1981, с.92. RU 2244310 C1, 10.01.2005. RU 2212669 C1, 20.09.2003. US 6338271 B1, 15.01.2002. US 4255968 А, 17.03.1981.
Адрес для переписки:
142530, Московская обл., г. Электрогорск, ул. Кржижановского, 26, кв.56, Э.А. Болтенко
|
(72) Автор(ы):
Болтенко Эдуард Алексеевич (RU), Шаров Виктор Петрович (RU)
(73) Патентообладатель(и):
Болтенко Эдуард Алексеевич (RU), Шаров Виктор Петрович (RU)
|
(54) СПОСОБ ОПРЕДЕЛЕНИЯ СКОРОСТИ ЖИДКОСТИ В СТАЦИОНАРНЫХ И ПЕРЕХОДНЫХ РЕЖИМАХ
(57) Реферат:
Настоящее изобретение относится к измерительной технике и может быть использовано для определения скорости однофазного потока жидкости в стационарных и переходных режимах. Способ определения скорости жидкости в стационарных и переходных режимах заключается в том, что измеряют температуру жидкости с помощью термопарного измерителя скорости (ТИС), нагревают чувствительный элемент ТИС от источника переменного тока, измеряют температуру нагретого чувствительного элемента ТИС, определяют их разность, определяют скорость жидкости на основе предварительно полученной зависимости Тч.э.=Тн-Тж=f(W), где Тн – температура чувствительного элемента ТИС, измеренная при включенном источнике переменного тока, Тж – температура жидкости, измеренная с помощью ТИС при отключенном источнике переменного тока, W – скорость жидкости. При этом, нагрев чувствительного элемента ТИС проводят периодически, измеряют температуру нагретого чувствительного элемента ТИС во временных интервалах, соответствующих включенному источнику переменного тока, измеряют температуру жидкости с помощью ТИС во временных интервалах, соответствующих отключенному источнику переменного тока, причем включение источника нагрева переменного тока проводят в момент минимального значения напряжения источника переменного тока, а временной интервал нагрева ТИС выбирается из условия tу< tнпр, где tн – временной интервал, соответствующий нагреву ТИС, tпр – характерное время исследуемого процесса, в котором определяется скорость жидкости, tу – время установления показаний ТИС. Технический результат: повышение точности определения скорости потока жидкости. 4 ил.
Изобретение относится к измерительной технике и может использоваться для определения скорости однофазного потока жидкости в стационарных и переходных режимах.
Известен способ определения скорости потока жидкости, заключающийся в том, что нагревают спай термопары от отдельного нагревателя, измеряют температуру спая термопары, определяют скорость потока жидкости на основе предварительно полученной зависимости W=f(T), где W – скорость потока, Т – температура спая термопары (Б.И.Леончик, В.П.Маякин. Измерение в дисперсных потоках. М.: Энергоатомиздат, 1981, с.92).
Недостатки способа заключаются в следующем: измерение температуры указанным способом имеет большую инерционность, в том числе и за счет наличия электроизоляционного слоя между спаем термопары и отдельным нагревателем. Конструкция датчика сложна из-за наличия элементов электроизоляции, отдельного нагревателя. Рабочие температуры датчика ограничены свойствами электроизоляции и не превышают 200-250°С.
Наиболее близким по технической сущности и достигаемому результату к предлагаемому способу является способ определения скорости однофазного потока жидкости, заключающийся в том, что измеряют температуру жидкости с помощью термопарного измерителя скорости (ТИС), нагревают чувствительный элемент ТИС от источника переменного тока, измеряют температуру нагретого чувствительного элемента ТИС, определяют их разность, определяют скорость жидкости на основе предварительно полученной зависимости Tч.э.=Tн-Tж=f(W), где Tн – температура чувствительного элемента ТИС, измеренная при включенном источнике переменного тока, Tж – температура жидкости, измеренная с помощью ТИС при отключенном источнике переменного тока, W – скорость жидкости (Б.И.Леончик, В.П.Маякин. Измерение в дисперсных потоках. М.: Энергоатомиздат, 1981, с.92).
Недостатки способа следующие. В переходных режимах, в которых изменяется температура жидкости, скорость жидкости будет определена с большой погрешностью, так как при изменении температуры жидкости разность Тч.э.=Тн-Тж будет изменяться по неизвестному закону и, следовательно, при определении скорости жидкости на основе зависимости Тч.э.=Тн-Тж=f(W) будет внесена ошибка, при этом может быть получен результат качественно неверный. Поскольку в известном способе отделение полезного сигнала, сформированного спаем измерительной термопары от сигнала, генерируемого источником переменного тока, достигается с помощью фильтра нижних частот, состоящего из конденсатора и дросселя, при включении источника переменного тока фильтр нижних частот не сможет отделить полезный сигнал, вырабатываемый ТИС, от сигнала питающей сети, поскольку при включении появятся гармоники различных частот, не задерживаемые фильтром. Переходной процесс может занимать достаточно продолжительный отрезок времени. Причем время переходного процесса будет зависеть от того, как время включения источника соотносится с периодом питающей сети.
Технический результат, на достижение которого направлено предлагаемое изобретение, заключается в повышении точности определения скорости потока жидкости, что обеспечивается тем, что нагрев чувствительного элемента ТИС проводят периодически, измеряют температуру нагретого чувствительного элемента ТИС во временных интервалах, соответствующих включенному источнику переменного тока, измеряют температуру жидкости с помощью ТИС во временных интервалах, соответствующих отключенному источнику переменного тока, причем включение источника нагрева переменного тока проводят в момент минимального значения напряжения источника переменного тока, а временной интервал нагрева ТИС выбирается из условия tу< tнпр, где tн – временной интервал, соответствующий нагреву ТИС, tпр – характерное время исследуемого процесса, в котором определяется скорость жидкости, tу – время установления показаний ТИС.
Достижение технического результата, заключающегося в повышении точности определения скорости жидкости, обеспечивается за счет того, что температура жидкости Тж и температура нагретого чувствительного элемента Тн, на основе которых определяется скорость жидкости W, определяются в соответствии с изменениями, имеющими место в соответствующем переходном процессе, и, соответственно, отслеживается изменение температуры жидкости и температуры нагретого чувствительного элемента ТИС в течение переходного периода. При этом в зависимость Тч.э.=Тн-Тж=f(W) не вносятся ошибки, связанные с неверным определением температур.
Повышение точности достигается также за счет правильного включения источника нагрева переменного тока. При включении источника нагрева переменного тока в момент минимального значения напряжения исключаются ошибки, связанные с неверной оценкой времени установления показаний ТИС, и ошибки, связанные с неправильной оценкой значений показаний ТИС, обусловленные плохой работой фильтра нижних частот.
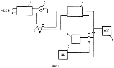
На фиг.1 показана схема для осуществления способа.
На фиг.2 показана зависимость относительного напряжения источника переменного тока от времени U/U0=f( ), где U – текущее значение напряжения; U0 – максимальное значение напряжения источника переменного тока.
На фиг.3 показана зависимость выходного сигнала ТИС при произвольном включении источника переменного тока.
На фиг.4 показана зависимость выходного сигнала ТИС при включении источника переменного тока в момент минимального значения напряжения источника переменного тока.
Схема для осуществления способа, фиг.1, включает в себя следующие элементы: 1 – источник питания переменного тока (сеть); 2 – амперметр служит для контроля тока в цепи нагрева; 3 – ТИС, термопарный измеритель скорости; 4 – блок преобразования и выделения сигнала, в блоке происходит отделение полезного сигнала от сигнала источника переменного тока, его усиление, включение источника переменного тока 1 в моменты времени, соответствующие минимальным значениям напряжения источника переменного тока. В блоке 4 также устанавливается интервал времени, соответствующий условию tу< tнпр; 5 – милливольтметр служит для контроля выходного сигнала ТИС; 6 – осциллограф служит для контроля выходного сигнала ТИС; 7 – персональный компьютер служит для записи и обработки выходного сигнала ТИС.
Способ определения скорости жидкости осуществляется следующим образом. Помещают чувствительный элемент ТИС 3 в канал, где производят измерение скорости жидкости (центр канала). С помощью ТИС 3 производят измерение температуры жидкости Тж. Нагревают чувствительный элемент ТИС 3 от источника переменного тока 1. Измеряют Тн и определяют разность температур Тч.э.=Тн-Тж. Далее включение источника переменного тока 1 и его отключение проводят периодически. Измеряют температуру нагретого чувствительного элемента ТИС во временных интервалах, соответствующих его нагреву, измеряют температуру жидкости с помощью ТИС во временных интервалах, соответствующих отключению источника переменного тока, причем включение источника нагрева переменного тока проводят в момент минимального значения напряжения источника переменного тока, а временной интервал нагрева ТИС выбирается из условия tу< tнпр, где tн – временной интервал. На фиг.4 показана зависимость выходного сигнала ТИС при включении источника переменного тока в момент минимального значения напряжения источника переменного тока. Как видно при включении источника переменного тока в моменты времени, соответствующие значениям U/U0, равным нулю (точки 10, 20, 30 с на фиг.2), искажения выходного сигнала практически нет. На фиг.3 показана зависимость выходного сигнала ТИС при произвольном включении источника переменного тока (на фиг.2 моменты включения отмечены буквами а и б). Позиция а соответствует возрастающему участку синусоиды, позиция б нисходящему участку синусоиды, фиг.2. Как видно из фиг.3, в этом случае имеет место переходной процесс, связанный с появлением при включении гармоник различных частот, не равных частоте питающего тока. Переходной процесс может занимать достаточно продолжительный отрезок времени. Причем время переходного процесса будет зависеть от того, как время включения источника соотносится с периодом питающей сети. В качестве примера рассмотрим определение скорости воды в трубе диаметром 10 мм. Режимные параметры: давление 16.0 МПа, расход воды поддерживался постоянным и равнялся 360 кг/час. Температура воды изменялась в диапазоне 120-300°С. Зависимость Тч.э.=Тн-Тж=f(W) предварительно была получена на градуировочном стенде на идентичном канале. Скорость, используемая для градуировки, определялась с помощью трубки Пито, установленной в центре трубы. ТИС устанавливался в центре трубы. При проведении измерений на измерительном стенде скорость в центре трубы определялась с помощью ТИС и сравнивалась со скоростью, определенной с помощью трубки Пито. tн – временной интервал, соответствующий нагреву ТИС, выбран равным 2 с, tпр – характерное время исследуемого процесса равнялось 120 с, tу – время установления показаний ТИС за счет его собственной инерционности составило 0,18 с. Сравнение скоростей в указанном диапазоне расходов показало совпадение в диапазоне 3-5%. Таким образом, предлагаемое техническое решение позволяет повысить точность определения скорости жидкости. Повышение точности достигается за счет того, что температура жидкости Тж и температура нагретого чувствительного элемента Тн, на основе которых определяется скорость жидкости W, определяются в соответствии с изменениями, имеющими место в соответствующем переходном процессе, и, соответственно, отслеживается изменение температуры жидкости и температуры нагретого чувствительного элемента ТИС в течение переходного периода. При этом в зависимость Тч.э.=Тн-Тж=f(W) не вносятся ошибки, связанные с неверным определением температур. Повышение точности достигается также за счет правильного включения источника переменного тока.
Формула изобретения
Способ определения скорости жидкости в стационарных и переходных режимах, заключающийся в том, что измеряют температуру жидкости с помощью термопарного измерителя скорости (ТИС), нагревают чувствительный элемент ТИС от источника переменного тока, измеряют температуру нагретого чувствительного элемента ТИС, определяют их разность, определяют скорость жидкости на основе предварительно полученной зависимости Тч.э.=Tн-Tж=f(W), где Tн – температура чувствительного элемента ТИС, измеренная при включенном источнике переменного тока, Тж – температура жидкости, измеренная с помощью ТИС при отключенном источнике переменного тока, W – скорость жидкости, отличающийся тем, что нагрев чувствительного элемента ТИС проводят периодически, измеряют температуру нагретого чувствительного элемента ТИС во временных интервалах, соответствующих включенному источнику переменного тока, измеряют температуру жидкости с помощью ТИС во временных интервалах, соответствующих отключенному источнику переменного тока, причем включение источника нагрева переменного тока проводят в момент минимального значения напряжения источника переменного тока, а временной интервал нагрева ТИС выбирается из условия tу< tнпр, где tн – временной интервал, соответствующий нагреву ТИС, tпр – характерное время исследуемого процесса, в котором определяется скорость жидкости, tу – время установления показаний ТИС.
РИСУНКИ
MM4A – Досрочное прекращение действия патента СССР или патента Российской Федерации на изобретение из-за неуплаты в установленный срок пошлины за поддержание патента в силе
Дата прекращения действия патента: 30.07.2007
Извещение опубликовано: 27.02.2009 БИ: 06/2009
|
|