|
|
(21), (22) Заявка: 2002120198/28, 30.07.2002
(24) Дата начала отсчета срока действия патента:
30.07.2002
(30) Конвенционный приоритет:
31.07.2001 (пп.1-23) DE 10137389.9
(43) Дата публикации заявки: 20.03.2004
(46) Опубликовано: 20.03.2007
(56) Список документов, цитированных в отчете о поиске:
SU 196418 A1, 16.05.1967. SU 983528 A1, 23.12.1982. US 5361767 A, 08.11.1994. SU 142465 A1, 01.01.1961. US 5947902 A, 07.09.1999.
Адрес для переписки:
101000, Москва, М.Златоустинский пер., 10, кв.15, ЕВРОМАРКПАТ, пат.пов. М.Б.Веселицкому, рег. № 503
|
(72) Автор(ы):
ВУНДЕРЕР Бернд (DE)
(73) Патентообладатель(и):
ГИЗЕКЕ УНД ДЕВРИЕНТ ГМБХ (DE)
|
(54) СПОСОБ И УСТРОЙСТВО ДЛЯ КОНТРОЛЯ ИЛИ ПРОВЕРКИ ТОНКОГО МАТЕРИАЛА
(57) Реферат:
Использование: для контроля или проверки тонкого материала. Сущность: заключается в том, что материал, по меньшей мере, на отдельных его участках подвергают воздействию ультразвуковых волн и определяют и анализируют прохождение ультразвуковых волн сквозь материал, при этом определяют прохождение через материал ультразвуковых волн с различными частотами и определяют критерий оценки качества подвергнутого воздействию ультразвука материала, основанный на частотной зависимости дифракции на порах. Технический результат: обнаружение в материале поврежденных, прежде всего пористых, участков. 2 н. и 21 з.п. ф-лы, 4 ил.
Настоящее изобретение относится к способу контроля или проверки тонкого материала, такого, например, как бумага, пленка или иной листовой материал, при этом такой материал по меньшей мере на отдельных его участках подвергают воздействию ультразвуковых волн и определяют и анализируют прохождение ультразвуковых волн сквозь материал. Изобретение относится также к соответствующему контрольному устройству для проверки тонкого материала.
Подобные способ и контрольное устройство позволяют на основании характеристик прохождения ультразвука через материал бесконтактным методом определять его удельную массу (плотность), соответственно толщину, поскольку степень прохождения ультразвука через определенный участок материала в целом обратно пропорциональна удельной массе материала на этом проверяемом участке. Такой способ контроля описан, например, в заявке DE 3048710 С 2. При этом типичной областью применения подобного контроля является проверка банкнот в банковских автоматах (банкоматах) или в устройствах сортировки банкнот. Для такой проверки банкноты пропускают в промежутке между излучателями и приемниками ультразвука, что позволяет проконтролировать банкноту по меньшей мере вдоль одной заданной линии, параллельной направлению ее движения.
Наряду с определением толщины, соответственно удельной массы материала измерение характеристик прохождения ультразвука сквозь материал позволяет также выявлять наличие в нем разрывов или сквозных отверстий. Способ такого контроля описан, например, в патенте US 4519249, при этом при проверке банкноты в процессе воздействия на них ультразвука изгибают с помощью системы роликов или валиков настолько, чтобы в достаточной мере раскрыть возможно имеющиеся у них разрывы, соответственно сквозные отверстия. В результате ультразвуковые волны беспрепятственно проходят сквозь разрыв или сквозное отверстие. Коэффициент прохождения ультразвуковых волн через не имеющие повреждений банкноты составляет только около 1%, тогда как коэффициент прохождения ультразвука через сквозные отверстия или разрывы в банкнотах составляет 100%. Поэтому таким местам на полученной в результате измерений характеристике, отражающей изменение прохождения ультразвука сквозь банкноту, соответствуют ярко выраженные пики.
В ходе исследований, проводившихся при создании настоящего изобретения, было установлено, что существенный недостаток этих известных методов состоит в том, что с их помощью невозможно выявить наличие в проверяемом материале пористых участков с не видимыми невооруженным глазом порами и что поэтому при определении удельной массы материала возможно получение искаженных результатов. С подобной проблемой приходится сталкиваться прежде всего при проверке таких объектов, как банкноты, которые уже длительное время находились в обращении. Связано это с тем, что в определенных местах банкнот вследствие их частого сгибания со временем могут образовываться пористые участки. В результате коэффициент прохождения ультразвука через такие пористые места выше по сравнению с коэффициентом прохождения ультразвука через не поврежденный материал. Выявленная по результатам вышеуказанных исследований проблема, связанная с обнаружением подобных мест или участков в процессе проверки, состоит в том, что повышенный коэффициент прохождения ультразвука сквозь структурированный материал, такой, например, как банкнота, не обязательно обусловлен пористостью. Так, в частности, банкнота может иметь на определенных участках, например в месте расположения водяного знака или другого защитного элемента, специально выполненные более тонкими участки или участки с иной плотностью либо может иметь микроперфорацию в качестве дополнительного защитного признака. Поэтому увеличение коэффициента прохождения ультразвука через неповрежденную банкноту в процессе ее проверки может быть обусловлено также наличием специально предусмотренных структур, соответственно элементов. Если, например, для не имеющей повреждений банкноты принять коэффициент прохождения сквозь нее ультразвука равным примерно 1%, то коэффициент прохождения ультразвука через пористый участок составил бы, например, от 3 до 4%. Одновременно с этим у неповрежденной банкноты коэффициент прохождения ультразвука через определенный, специально предусмотренный у нее более тонкий участок также может составить от 3 до 4%, что в результате не позволит отличить такой участок от пористого участка с таким же коэффициентом прохождения ультразвука.
Исходя из вышеизложенного, в основу настоящего изобретения была положена задача разработать в качестве альтернативы известным способам и устройствам меры, которые позволяли бы простым путем выявлять и по возможности однозначно идентифицировать в процессе контроля наличие у материала поврежденных, прежде всего пористых, участков или мест и отличать их, например, от специально предусмотренных в проверяемом материале более тонких участков или мест.
Указанная задача решается с помощью способа и контрольного устройства, отличительные признаки которых представлены в соответствующих независимых пунктах формулы изобретения. Наиболее предпочтительные варианты осуществления предлагаемого в изобретении способа и выполнения предлагаемого в изобретении контрольного устройства приведены в соответствующих зависимых пунктах формулы.
Предлагаемое в изобретении решение также основано на измерении характеристик прохождения ультразвука через проверяемый материал. Наиболее существенный аспект состоит в том, что для определения характеристик прохождения ультразвуковых волн через проверяемый материал его подвергают воздействию ультразвуковых колебаний с различными частотами. При этом измерения проводят с использованием ультразвука, излучаемого по меньшей мере на двух различных частотах. Затем в качестве критерия оценки качества проверяемого материала на основании различий в прохождении через материал ультразвуковых волн с различными частотами определяют некоторый показатель, например разность или соотношение между коэффициентами прохождения через материал ультразвука с разными частотами.
Эта положенная в основу изобретения идея базируется на том факте, что прохождение ультразвука через нормальную, не поврежденную бумагу обратно пропорционально не только ее удельной массе, но и частоте воздействующего на нее ультразвука. На поврежденном, пористом участке из-за частотной зависимости дифракции ультразвуковых волн на порах отклонение от этой закономерности тем больше, чем выше частота ультразвуковых колебаний. Вследствие этого, например, при воздействии ультразвуковых волн меньшей длины измеренный коэффициент прохождения ультразвука через пористый участок увеличивается по сравнению с коэффициентом прохождения ультразвука через неповрежденный материал на большую величину, чем при воздействии ультразвуковых волн большей длины. В результате на основании различий в измеренной интенсивности прошедших через материал ультразвуковых колебаний с различными частотами можно простым путем получить информацию о наличии в таком материале участков с повышенной пористостью.
Соответствующее контрольное устройство помимо устройства излучения ультразвука, предназначенного для воздействия ультразвуковых волн на проверяемый материал с одной его стороны по меньшей мере на отдельных его участках, и устройства приема ультразвука, предназначенного для измерения с другой стороны материала интенсивности прошедших сквозь него ультразвуковых волн, имеет также необходимый блок обработки, предназначенный для обработки и анализа результатов измерений прохождения ультразвуковых волн сквозь материал. При этом устройство излучения ультразвука и/или устройство приема ультразвука выполнены с возможностью определять прохождение сквозь материал ультразвуковых волн с различными частотами. В соответствии с этим блок обработки должен обладать возможностью определять критерий оценки качества подвергнутого воздействию ультразвука материала на основании различий в прохождении через него ультразвуковых волн с различными частотами.
Согласно одному из вариантов материал предлагается подвергать воздействию ультразвуковых волн с различными, точно заданными дискретными, т.е. отдельными, частотами, например только с двумя различными точно заданными частотами. В данном случае под выражением “дискретные частоты” понимаются не только сами конкретные частоты, но и узкополосные частотные диапазоны около соответствующей заданной частоты.
Для воздействия ультразвуковыми волнами с различными дискретными частотами можно использовать, например, устройство излучения ультразвука, имеющее различные излучатели, каждый из которых излучает ультразвуковые волны определенной частоты, соответственно в пределах определенного узкополосного частотного диапазона. Однако для этой же цели можно также использовать устройство излучения ультразвука, излучающее ультразвуковые волны точно заданного спектра, например одновременно излучающее ультразвуковые волны на двух различных дискретных частотах.
В том случае, если устройство излучения ультразвука излучает ультразвук на точно заданных дискретных частотах, то устройство приема ультразвука можно выполнить таким образом, чтобы он принимал только ультразвуковые волны с частотами, также лежащими в этих диапазонах, т.е. также состоял, например, из отдельных приемников, каждый из которых избирательно регистрирует ультразвуковые волны только одной частоты. Вместе с тем можно также использовать только один приемник ультразвука, способный воспринимать ультразвуковые волны различных частот в широкой полосе и тем самым регистрировать широкий спектр проходящих через проверяемый материал ультразвуковых колебаний. Однако в этом случае необходимо обеспечить возможность отделения друг от друга ультразвуковых волн с различными частотами. Подобное выделение отдельных частот из всего зарегистрированного в приемнике ультразвука частотного спектра может также происходить, например, на программном уровне, для чего при обработке и анализе результатов измерений следует учитывать только те измеренные значения, которые соответствуют определенным частотам.
Другая возможность разделения ультразвуковых волн с различными частотами состоит в излучении ультразвуковых волны с различными частотами не одновременно, а последовательно во времени, при этом в процессе измерения, соответственно обработки необходимо учитывать, в какой момент времени и на какой частоте были излучены принятые ультразвуковые волны.
Согласно другому варианту устройство излучения ультразвука выполнено с возможностью подвергать проверяемый материал воздействию ультразвуковых волн с непрерывным широким частотным спектром. В этом случае на приемной стороне происходит, например, селективная регистрация ультразвуковых колебаний, т.е. приемник регистрирует ультразвуковые волны только определенных частот, соответственно на последующей стадии учитываются только результаты измерений, полученные для определенных частот.
Одно из возможных решений, позволяющих излучать ультразвуковые волны с широким частотным спектром, состоит в том, чтобы воздействовать ультразвуковыми волнами на проверяемый материал с помощью устройства излучения ультразвука короткими импульсами. Известно, что частотный спектр импульса тем шире, чем короче импульс. Поэтому длительность импульса предпочтительно не должна превышать нескольких микросекунд.
Согласно одному из предпочтительных вариантов в качестве критерия наличия в проверяемом материале пористости определяют соотношение между выявленными коэффициентами прохождения ультразвуковых волн двух различных частот. Поскольку прохождение ультразвука через не имеющий повреждений материал обратно пропорционально частоте ультразвуковых колебаний и удельной массе, у не имеющего повреждений проверяемого объекта соотношение между измеренными значениями интенсивности прохождения ультразвуковых волн двух различных частот всегда остается на постоянном уровне. Этот соотношение отклоняется от постоянной величины только при прохождении ультразвука через пористые участки, что позволяет простым путем выявлять такие участки.
В тех случаях, когда, например, при излучении ультразвуковых волн короткими импульсами используют ультразвуковые волны с широкополосным частотным спектром, а также измеряют и регистрируют весь спектр проходящих через материал ультразвуковых колебаний, для определения критерия оценки качества материала можно также регистрировать изменение спектра проходящих через материал ультразвуковых колебаний в зависимости от местоположения подвергаемого воздействию ультразвука локального участка. С этой целью можно непрерывно регистрировать измеренный спектр проходящих через материал ультразвуковых волн и сравнивать полученные результаты с результатами предшествующих измерений.
Поскольку, далее, форма импульса зависит также от спектра присутствующих в нем частотных составляющих, существует также возможность эффективно выявлять пористые участки непосредственно путем анализа таких частотных составляющих.
В процессе проверки материала предлагаемым в изобретении способом можно, например, определять количество пористых участков у определенного материала (проверяемого объекта). Равным образом у проверяемого объекта можно также определять размеры имеющихся на нем пористых участков.
Согласно особо предпочтительному варианту предлагается задавать некоторое предельное значение, например максимальное количество и/или максимальные размеры пористых участков. В том случае, когда при контроле проверяемого объекта фактически измеренные значения превышают такое предельное значение, то этот проверяемый объект отсортировывается как поврежденный, например при контроле банкнот соответствующая отбракованная банкнота поступает в измельчитель.
Предпочтительно, чтобы частота используемых для контроля ультразвуковых волн составляла от 50 до 400 кГц. Для получения при контроле ярко выраженного эффекта, а также для выявления пористых участков с достаточно высокой степенью надежности необходимо, чтобы используемые для проверки частоты, соответственно, частотные диапазоны были разнесены друг от друга на достаточно большое расстояние. В этом отношении предпочтительно, чтобы при использовании ультразвуковых волн двух различных частот более высокая частота в 1,5-3 раза превышала более низкую частоту.
Ниже изобретение более подробно рассмотрено на примере одного из вариантов его осуществления со ссылкой на прилагаемые чертежи, на которых показано:
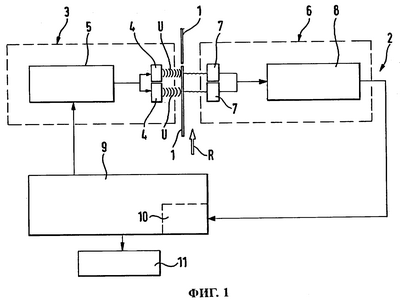
на фиг.1 – схематичное упрощенное изображение предлагаемого в изобретении контрольного устройства,
на фиг.2 – схема расположения показанных в виде сбоку излучателей и приемников ультразвука относительно направления перемещения проверяемого объекта,
на фиг.3 – пространственная схема расположения показанных в виде в плане излучателей ультразвука, изображенных на фиг.2, и
на фиг.4 – диаграмма, иллюстрирующая изменение интенсивности прошедшего сквозь проверяемый материал ультразвука, излучаемого на двух различных частотах, а также изменение соотношения между обоими измеренными значениями интенсивности в зависимости от координаты участка, на котором проводятся измерения.
На фиг.1 показан один из возможных вариантов выполнения предлагаемого в изобретении контрольного устройства 2, предназначенного для проверки банкнот 1. Подобное контрольное устройство 2 может располагаться, например, в устройстве для сортировки банкнот (не показано).
Это контрольное устройство 2 имеет устройство 3 излучения ультразвука и устройство 6 приема ультразвука. В рассматриваемом варианте устройство 3 излучения ультразвука состоит из нескольких излучателей 4 и блока 5 управления, который управляет этими отдельными излучателями 4. Устройство 6 приема ультразвука также состоит из одного или нескольких приемников 7, каждый из которых соединен с блоком 8 управления ими, в который поступают измеряемые этими приемниками 7 значения.
Управление блоком 5 управления излучателями ультразвука в свою очередь осуществляется системой 9 управления, предусмотренной в контрольном устройстве 2. Частью этой системы 9 управления является блок 10 обработки, который обрабатывает и анализирует данные, поступающие в него от блока 8 управления приемниками ультразвука. В качестве системы 9 управления может использоваться, например, компьютер или микроконтроллер, при этом блок 10 обработки реализован в виде соответствующего программного обеспечения. В отличие от рассматриваемого варианта блок 5 управления излучателями ультразвука и блок 8 управления приемниками ультразвука также можно реализовать не на аппаратном, а на программном уровне и равным образом интегрировать в виде соответствующего программного обеспечения в указанную систему 9 управления.
Кроме того, к системе 9 управления подсоединено устройство 11 вывода информации, например дисплей, на котором может воспроизводиться различного рода информация, например информация, указывающая пользователю контрольного устройства 2 о прохождении через последнее поврежденной или дефектной банкноты 1. Подобное устройство 11 вывода может представлять собой также интерфейс, соединяющий предлагаемое в изобретении контрольное устройство 2 с системой управления более высокого уровня, предусмотренной в устройстве для сортировки банкнот, и тем самым инициирующий, например, автоматическое отсортировывание поврежденной или дефектной банкноты 1.
Излучатели 4 устройства 3 излучения ультразвука и приемники 7 устройства приема 6 ультразвука расположены соответственно друг напротив друга. При работе контрольного устройства проверяемые банкноты 1 перемещаются в направлении R в промежутке между излучателями 4 ультразвука и приемниками 7 ультразвука и при этом подвергаются с одной стороны воздействию ультразвуковых волн U, излучаемых излучателями 4. При этом расположенные с другой стороны приемники 7 измеряют интенсивность прошедшей через банкноту части ультразвуковых волн U.
На фиг.2 и 3 показано точное расположение отдельных излучателей 4 ультразвука и находящихся соответственно по другую сторону относительно проверяемой банкноты 1 приемников 7 ультразвука. Как показано на этих чертежах, несколько расположенных в одну линию и распределенных по всей ширине банкноты 1 излучателей 4 ультразвука образуют первый их ряд, ориентированный поперечно направлению R перемещения банкнот. Каждый из этих излучателей 4 воздействует ультразвуком на движущуюся банкноту 1 вдоль строго определенной линии в направлении R ее перемещения. Перед или за этим первым рядом излучателей 4 ультразвука параллельно ему расположен второй ряд излучателей 4 ультразвука, которые смещены относительно излучателей 4 ультразвука первого ряда и точно перекрывают промежутки между ними. Тем самым обеспечивается проверка банкноты 1 по всей ее поверхности.
Как показано на фиг.2, приемники 7 ультразвука расположены точно по такой же схеме, что и излучатели 4 ультразвука, и каждый из них находится напротив одного из излучателей ультразвука.
В рассматриваемом варианте каждый из излучателей ультразвука излучает ультразвуковые колебания на двух точно заданных частотах f1 и f2, при этом более высокая частота f1 примерно в 1,5-3 раза превышает более низкую частоту f2. Устройство 6 приема ультразвука выполнено с возможностью раздельного измерения ультразвуковых колебаний для обеих этих частот f1 и f2, соответственно в каждом диапазоне частот.
На фиг.4 показана типичная полученная в результате измерений кривая. На этом графике для каждой из требуемых частот f1 и f2 показано изменение нормированного в каждом случае на частоту f1 коэффициента прохождения ультразвука T(f1), T(f2)×f2/f1, т.е. изменение измеренной интенсивности прошедшего через банкноту ультразвука, отнесенной к полной интенсивности излученного ультразвука, в зависимости от координаты подвергнутого воздействию ультразвука места X, т.е. вдоль подвергнутой воздействию ультразвука линии по длине банкноты 1. Третья, изображенная пунктиром кривая отражает соотношение между этими двумя экспериментально снятыми кривыми T(f1)×f1 и T(f2)×f2, полученное делением одного коэффициента прохождения на другой. Согласно этому варианту на протяжении некоторого проверяемого отрезка по длине банкноты нормированные коэффициенты прохождения T(f1) и T(f2)×f2/f1 остаются постоянными (равными, например, 1%), после чего резко возрастают в точке Хр и затем снова уменьшаются до нормальной величины. Такая точка Хр соответствует участку с повышенной степенью прохождения ультразвука.
Если бы подобный участок представлял собой просто участок меньшей удельной массы, например более тонкий участок банкноты 1, то реакция материала банкноты на воздействие ультразвука не зависела бы от частоты воздействующих на банкноту ультразвуковых колебаний и, следовательно, относительное увеличение коэффициентов прохождения T(f1) и T(f2)×f2/f1 было бы одинаковым на обеих частотах f1, f2. В этом случае обозначенная пунктиром кривая, отражающая соотношение между обоими коэффициентами прохождения, оставалась бы на постоянном уровне, при этом на отдельных экспериментально снятых кривых имелось бы по одному пику одинаковой высоты.
Однако в рассматриваемом случае речь идет о пористом, т.е. поврежденном, участке банкноты 1. В этом месте (точка Хр на графике) из-за частотной зависимости дифракции ультразвуковых волн на порах измеренный коэффициент прохождения T(f1) ультразвука большей частоты f1 увеличивается до более высокого уровня по сравнению с коэффициентом прохождения ультразвуковых волн меньшей частоты f2. В данном варианте измеренный коэффициент прохождения T(f1) ультразвуковых волн большей частоты f1 увеличивается на пористом участке банкноты, т.е. в точке Хр, в 3 раза, а коэффициент прохождения ультразвуковых волн меньшей частоты f2 увеличивается только в 2 раза. Поэтому и кривая, отражающая соотношение между коэффициентами прохождения T(f1) и T(f2)×f2/f1, имеет на этом участке, т.е. в точке Хр, ярко выраженный пик. Тем самым появляется возможность простым путем однозначно выявить пористый участок банкноты. Следует также отметить, что различная ширина пиков в остальном также обусловлена частотной зависимостью дифракции ультразвуковых волн.
Если бы участок банкноты, соответствующий на графике точке Хр, представлял бы собой не пористый участок, а неповрежденный участок с вдвое меньшей удельной массой по сравнению с удельной массой окружающей этот участок зоны, то показанные на фиг.4 кривые, отражающие изменение коэффициентов прохождения, также имели бы максимумы для обеих частот f1 и f2. Однако в этом случае соответствующая кривая, отражающая соотношение между обоими коэффициентами прохождения, практически не отклонялась бы от прямолинейной формы, т.е. и в точке Хр имела бы значение, которое в основном соответствует значению указанного соотношения, характерному для смежных участков с более высокой удельной массой.
В описанном выше варианте предлагаемый в изобретении способ описан применительно к проверке банкнот 1, являющихся одним из примеров ценных документов, поскольку присущие известным способам проблемы, которые позволяет решить настоящее изобретение, проявляются прежде всего у подобных материалов, которые обычно не обладают полностью однородной структурой. Вместе с тем, настоящее изобретение с равным успехом может найти применение для проверки или контроля и других объектов, например бумажных полотен, пленки или аналогичного тонкого материала.
Формула изобретения
1. Способ контроля или проверки тонкого материала (1), при осуществлении которого такой материал (1) по меньшей мере на отдельных его участках подвергают воздействию ультразвуковых волн (U) и определяют и анализируют прохождение ультразвуковых волн (U) сквозь материал (1), отличающийся тем, что определяют прохождение через материал ультразвуковых волн (U) с различными частотами (f1, f2) и по различиям в прохождении через материал ультразвуковых волн с различными частотами (f1, f2) определяют критерий оценки качества подвергнутого воздействию ультразвука материала (1), основанный на частотной зависимости дифракции на порах.
2. Способ по п.1, отличающийся тем, что определяют критерий оценки пористости материала (1).
3. Способ по п.2, отличающийся тем, что определяют количество и/или размеры пористых участков проверяемого или контролируемого материала и, если выявленное количество и/или размеры пористых участков превышают заданное в качестве предельного значения максимальное количество и/или максимальные размеры пористых участков, этот материал отсортировывают как поврежденный или дефектный.
4. Способ по любому из пп.1-3, отличающийся тем, что материал (1) подвергают воздействию ультразвуковых волн (U) с различными дискретными частотами (f1, f2).
5. Способ по п.4, отличающийся тем, что материал подвергают воздействию ультразвуковых волн с помощью различных излучателей ультразвука, каждый из которых излучает ультразвуковые волны определенной частоты.
6. Способ по любому из пп.1-3, отличающийся тем, что материал подвергают воздействию ультразвуковых волн с широким частотным спектром.
7. Способ по п.6, отличающийся тем, что определяют прохождение через материал широкополосных ультразвуковых волн на нескольких дискретных частотах и полученные результаты используют для анализа.
8. Способ по п.6 или 7, отличающийся тем, что для определения критерия оценки качества материала определяют изменение измеренного более широкого спектра прошедших через материал широкополосных ультразвуковых волн.
9. Способ по любому из пп.1-8, отличающийся тем, что материал подвергают воздействию ультразвуковых волн короткими импульсами.
10. Способ по п.9, отличающийся тем, что критерий оценки качества материала определяют путем сравнения формы импульсов ультразвуковых волн до и после их прохождения сквозь материал (1).
11. Способ по любому из пп.1-10, отличающийся тем, что в качестве критерия оценки качества материала определяют соотношение между выявленными коэффициентами прохождения (T(f1), T(f2)×f2/f1) ультразвуковых волн (U) двух различных частот (f1, f2).
12. Способ по любому из пп.1-11, отличающийся тем, что одна из двух частот (f1) примерно в 1,5-3 раза больше другой частоты (f2).
13. Контрольное устройство (2) для проверки тонкого материала (1), имеющее устройство (3) излучения ультразвука, предназначенное для воздействия ультразвуковыми волнами (U) на проверяемый материал (1) с одной его стороны по меньшей мере на отдельных его участках, устройство (6) приема ультразвука, предназначенное для измерения с другой стороны материала (1) интенсивности прошедших сквозь него ультразвуковых волн (U), и блок (10) обработки, предназначенный для обработки и анализа результатов измерений прохождения ультразвуковых волн (U) сквозь материал, отличающееся тем, что устройство (3) излучения ультразвука и/или устройство (6) приема ультразвука выполнены с возможностью определять при проверке материала (1) прохождение сквозь него ультразвуковых волн (U) с различными частотами (f1, f2), а блок (10) обработки выполнен с возможностью определять по различиям в прохождении через материал ультразвуковых волн с различными частотами (f1, f2) критерий оценки качества подвергнутого воздействию ультразвука материала (1), который (критерий) основан на частотной зависимости дифракции на порах.
14. Контрольное устройство по п.13, отличающееся тем, что устройство (3) излучения ультразвука выполнено с возможностью подвергать материал (1) воздействию ультразвуковых волн (U) с различными дискретными частотами (f1, f2).
15. Контрольное устройство по п.14, отличающееся тем, что устройство излучения ультразвука имеет различные излучатели ультразвука, каждый из которых выполнен с возможностью излучать ультразвуковые волны определенной частоты.
16. Контрольное устройство по п.13, отличающееся тем, что устройство излучения ультразвука выполнено с возможностью подвергать проверяемый материал воздействию ультразвуковых волн с широким частотным спектром.
17. Контрольное устройство по п.16, отличающееся тем, что устройство приема ультразвука выполнено с возможностью определять прохождение сквозь материал широкополосных ультразвуковых волн на нескольких различных дискретных частотах.
18. Контрольное устройство по п.16 или 17, отличающееся тем, что блок обработки выполнен с возможностью использовать для обработки и анализа показатели измеренного спектра прошедших через материал широкополосных ультразвуковых волн на нескольких дискретных частотах.
19. Контрольное устройство по любому из пп.16-18, отличающееся тем, что блок обработки сигналов имеет средства для определения изменения спектра прошедших через материал широкополосных ультразвуковых волн.
20. Контрольное устройство по любому из пп.13-19, отличающееся тем, что устройство излучения ультразвука выполнено с возможностью подвергать проверяемый материал воздействию ультразвуковых волн короткими импульсами.
21. Контрольное устройство по п.20, отличающееся тем, что блок обработки имеет средства для определения изменения формы импульсов ультразвуковых волн до и после их прохождения сквозь материал (1).
22. Контрольное устройство по любому из пп.13-21, отличающееся тем, что устройство приема ультразвука имеет различные приемники ультразвука, каждый из которых рассчитан на прием ультразвуковых волн определенной частоты.
23. Контрольное устройство по любому из пп.13-22, отличающееся тем, что блок (10) обработки имеет средства для определения соотношения между выявленными коэффициентами прохождения (T(f1), T(f2)×f2/f1) ультразвуковых волн (U) двух различных частот (f1, f2).
РИСУНКИ
|
|