|
|
(21), (22) Заявка: 2005109722/28, 04.04.2005
(24) Дата начала отсчета срока действия патента:
04.04.2005
(43) Дата публикации заявки: 10.09.2006
(46) Опубликовано: 20.03.2007
(56) Список документов, цитированных в отчете о поиске:
RU 2096770 A1, 20.11.1997. SU 1056016 A, 23.11.1983. SU 1776350 A3, 15.11.1992. US 4174480 A, 13.11.1979.
Адрес для переписки:
141070, Московская обл., г. Королев, ул. Ленина, 4а, ОАО “РКК “Энергия” им. С.П. Королева”, отдел интеллектуальной собственности
|
(72) Автор(ы):
Обухов Владимир Васильевич (RU), Обухова Людмила Васильевна (RU)
(73) Патентообладатель(и):
Открытое акционерное общество “Ракетно-космическая корпорация “Энергия” им. С.П. Королева” (RU)
|
(54) СПОСОБ ОПРЕДЕЛЕНИЯ ТЕПЛОФИЗИЧЕСКИХ ХАРАКТЕРИСТИК ПЕНОПОЛИУРЕТАНОВ
(57) Реферат:
Изобретение относится к теплофизическим измерениям. Способ состоит в том, что на теплоизолируемую поверхность исследуемого образца воздействуют по линии тепловыми импульсами постоянной мощности и периодом следования. Выбирают ряд образцов пенополиуретана с заранее определенными и различными теплопроводностью и температуропроводностью. Воздействие по линии тепловыми импульсами осуществляют по очереди на поверхности каждого из них, в процессе которого регистрируют три температуры Тn1, Тn2 и Тn3 в моменты подачи n1 n2 и n3 импульсов, строят по полученным данным градуировочные зависимости теплопроводности от разности температур (Tn2-Tn1), a температуропроводности от отношения разностей температур (Tn2-Tn1)/(Tn3-Тn1). Аналогичное воздействие осуществляют на образце исследуемого пенополиуретана, регистрируют вышеуказанные температуры и, используя имеющиеся градуировочные зависимости, определяют искомые характеристики. Техническим результатом изобретения является повышение точности измерения комплекса теплофизических характеристик пенополиуретанов. 4 ил. 1 табл.
Предлагаемое изобретение относится к теплофизическим измерениям. Область применения – определение теплофизических характеристик (ТФХ) – теплопроводности, температуропроводности и плотности пенополиуретанов методом неразрушающего контроля. Жесткие ячеистые пенополиуретаны, такие как Рипор-2Н, ППУ-3, ППУ-17 и др., нашли применение в качестве высокоэффективной криогенной теплоизоляции и наносятся на изделие путем заливки или напыления. В процессе нанесения на готовое изделие при изготовлении по каким-либо причинам может быть нарушена технология, определяющая состав, качество, температуру и процентное соотношение исходных компонентов. В зависимости от этого теплофизические характеристики изготовленного пенополиуретана могут существенно отличаться от заданных. В связи с этим стоит задача точного контроля неразрушающим методом теплофизических характеристик нанесенного на изделии пенополиуретана в любой точке.
Передача тепла в пенополиуретане осуществляется через полиуретановый каркас и через газ, находящийся внутри пор. Открытые поры заполнены атмосферным воздухом, имеющим теплопроводность 0,025 Вт/(м·К), а закрытые поры – низкотеплопроводной газообразной смесью, состоящей из атмосферного воздуха и вспенивателя, например Фреона 111, имеющего теплопроводность газовой фазы 0,008 Вт/(м·К). Таким образом, теплопроводность пенополиуретана определяется его плотностью и емкостью закрытых пор. Температуропроводность , как известно, связана с теплопроводностью и плотностью зависимостью:

где: Ср – теплоемкость полиуретановой смолы, равная 1350 Дж/(кг·град);
-теплопроводность, Вт/(м·К);
– температуропроводность, м2/с;
– плотность, кг/м3.
Так как теплоемкостью газа в порах, по сравнению с теплоемкостью каркаса, можно пренебречь, то теплоемкость любого пенополиуретана, изготовленного из той же смолы, также равна 1350 Дж/(кг·град.). На практике температуропроводность пенополиуретана определяют по формуле (1), измерив теплопроводность образца по высокоточной методике на стационарной установке и определив его плотность путем измерения объема и веса образца.
Известен способ неразрушающего контроля теплофизических характеристик материала (патент РФ №2192000, 2002г., МПК-6: G 01 N 25/18), включающий многократное импульсное тепловое воздействие на теплоизолированную поверхность исследуемого материала при помощи нагревателя в виде окружности и регистрацию частоты следования тепловых импульсов, подаваемых в моменты наступления заданных соотношений интегральных значений температуры в двух контрольных точках поверхности исследуемого материала на окружности нагревателя и в его центре, а теплопроводность и температуропроводность рассчитывают по формулам.
Недостатком этого способа является низкая точность измерений теплофизических характеристик пенополиуретанов за счет несоответствия физической и математической моделей.
Известен также способ определения теплофизических характеристик материалов (патент РФ №2096770, 1997г., МПК-6: G 01 N 25/18), принятый за прототип, состоящий в том, что на теплоизолируемую поверхность исследуемого образца воздействуют по линии тепловыми импульсами постоянной мощности и периодом следования, регистрируют температуры в точке, расположенной на фиксированном расстоянии от линии воздействия на поверхности образца, при этом температуру и скорость ее изменения регистрируют в моменты подачи парных (n-1)-го, (2n-1)-го, 2n-го импульсов, а по измеренным значениям рассчитывают искомые характеристики, где n=2, 3.
Недостатком способа является низкая точность измерений теплофизических характеристик пенополиуретанов за счет несоответствия физической и математической моделей. Это связано с тем, что используемая в данном способе математическая модель основана на предположении, что все тепло, выделяемое импульсным нагревателем в плоскости контакта исследуемого образца и теплоизолятора, уходит в исследуемый образец. Это предположение справедливо только для материалов, теплопроводность которых, как минимум на порядок, больше теплопроводности теплоизолятора, с которым они находятся в тепловом контакте. Закрытопористые пенополиуретаны являются одними из лучших теплоизоляторов, поэтому невозможно теплоизолировать их поверхность материалом с теплопроводностью на порядок меньшей, чем у них. В качестве подложки измерительного зонда, на которой расположен нагреватель и датчик температуры, предлагается использовать аналогичный пенополиуретан. В этом случае тепло, выделяемое линейным нагревателем в плоскости контакта, уходит как в подложку зонда, так и в исследуемый пенополиуретан и распределяется между ними пропорционально их теплофизическим характеристикам, а измеряемая в различные моменты времени температура является усредненным значением двух нестационарных цилиндрических температурных полей. В связи с этим невозможно с достаточно высокой точностью решить задачу расчета этой температуры, а следовательно, и определения теплофизических характеристик пенополиуретана из-за неполного соответствия физической и математической моделей. Кроме того, использование математических моделей, в расчетные формулы которых входят измеренные значения температуры и количества выделенного нагревателем тепла, также приводит к дополнительной погрешности. Это связано с необходимостью учета теплоемкостей проволоки, из которых изготовлены нагреватель и термопара (датчик температуры), а также переходных термических сопротивлений между исследуемым пенополиуретаном нагревателем и датчиком температуры. В связи с вышеизложенным теплопроводность пенополиуретанов, во всем диапазоне ее изменения от 0,02 до 0,045 Вт/(м·К), наиболее целесообразно определять относительным (градуировочным) методом, лишенным вышеуказанных недостатков.
Задачей изобретения является уменьшение погрешности измерения теплофизических характеристик пенополиуретанов.
Техническим результатом предполагаемого изобретения является повышение точности определения теплофизических характеристик пенополиуретанов.
Технический результат достигается тем, что в способе определения теплофизических характеристик пенополиуретанов, состоящем в том, что на теплоизолируемую поверхность исследуемого образца воздействуют по линии тепловыми импульсами постоянной мощности и периодом следования, регистрируют температуры в точке, расположенной на фиксированном расстоянии от линии воздействия на поверхности образца, выбирают ряд образцов пенополиуретана с заранее определенными и различными теплопроводностью и температуропроводностью во всем возможном диапазоне их изменения для данного класса пенополиуретанов, а воздействие по линии тепловыми импульсами осуществляют по очереди на поверхности каждого из них, в процессе которого регистрируют три температуры Tn1, Tn2 и Tn3 в моменты подачи n1, n2 и n3 импульсов, для каждого из образцов определяют разности температур (Tn2-Tn1) и (Tn3-Tn1) и отношение разностей температур (Tn2-Tn1)/(Tn3-Tn1), строят по полученным данным градуировочные зависимости теплопроводности от разности температур (Tn2-Tn1), а температуропроводности от отношения разностей температур (Tn2-Tn1)/(Tn3-Tn1), после чего аналогичное воздействие по линии тепловыми импульсами осуществляют на образце исследуемого пенополиуретана, регистрируют вышеуказанные температуры и определяют вышеуказанные разности и отношение разностей температур, по которым, используя имеющиеся градуировочные зависимости, определяют искомые характеристики.
Данный способ основан на наличии в области изменения ТФХ пенополиуретанов экспериментально подтвержденных однозначных зависимостей теплопроводности от разностей температур (Tn2-Tn1), а температуропроводности от отношения разностей температур (Tn2-Tn1)/(Tn3-Tn1), воспроизводимых с достаточной точностью. Используя градуировочные зависимости теплопроводности от разности температур и температуропроводности от отношения разностей температур, заранее полученные на образцах пенополиуретана с различными теплофизическими характеристиками во всем возможном диапазоне их изменения, предлагается определять теплофизические характеристики пенополиуретана неразрушающим методом непосредственно на изделии. Образцы с различными температуропроводностью и теплопроводностью можно выбрать из пенополиуретанов, получаемых в процессе отработки технологии их изготовления за счет отклонения различных технологических параметров. При необходимости такие пенополиуретаны можно специально изготовить, изменяя технологические параметры при их изготовлении. Из этих материалов изготавливаются образцы и существующими методами на стационарных высокоточных установках определяются их теплофизические характеристики.
Сущность способа поясняется представленными чертежами.
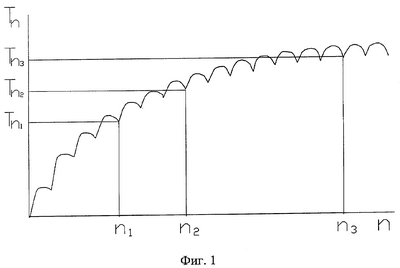
На фиг.1 представлен общий вид термограммы, полученной по датчику температуры, расположенному в плоскости контакта теплоизолятора и исследуемого пенополиуретана на фиксированном расстоянии от линии действия нагревателя при воздействии тепловыми импульсами постоянной мощности и постоянным периодом следования. На термограмме показаны температуры Tn1, Tn2 и Tn3 в моменты подачи n1, n2 и n3 импульсов.
На фиг.2 сплошной линией представлена осредненная градуировочная зависимость теплопроводности от разности температур Т14-Т4, полученная для образцов пенополиуретана с различными известными значениями теплопроводности. Штриховыми линиями обозначена область максимального разброса экспериментальных данных.
На фиг.3 сплошной линией представлена осредненная градуировочная зависимость температуроводности от отношения разностей температур (Т7-Т4)/(T14-T4), полученная для образцов пенополиуретана с различными известными значениями температуропроводности. Штриховыми линиями обозначена область максимального разброса экспериментальных данных.
На фиг.4 представлена принципиальная схема типичного устройства для реализации данного способа.
В плоскости контакта подложки 1 из пенополиуретана и исследуемого образца пенополиуретана 2 расположен по линии (а-б) линейный нагреватель и на фиксированном расстоянии r от него датчик температуры 3, регистрирующее вычислительное устройство 4, усилитель 5, программируемое управляющее устройство 6, импульсный источник напряжения 7.
Сущность предлагаемого способа состоит в следующем.
Из образцов пенополиуретана с заранее определенными и различными ТФХ (теплопроводностью и температуропроводностью), полученных по различным вариантам технологии изготовления пенополиуретана, выбирают ряд образцов, теплопроводность и температуропроводность которых равномерно распределена во всем диапазоне их изменения для данного класса пенополиуретанов. По очереди на поверхности каждого образца устанавливают зонд измерительного устройства, содержащий подложку 1 из теплоизолятора, например пенополиуретана, на которой установлен по линии (а-б) линейный источник тепла, например проволочный нагреватель, и на фиксированном расстоянии r от него датчик температуры 3, например термопара, сваренная встык. Воздействуют по линии (а-б) нагревателя тепловыми импульсами постоянной мощности и постоянным периодом следования, регистрируют температуры в точке, расположенной на фиксированном расстоянии r от линии воздействия (а-б) на поверхности образца, в процессе которого регистрируют три температуры Tni, Тn2 и Тn3 в моменты подачи n1, n2 и n3 импульсов, для каждого из образцов определяют разности температур (Tn2-Tn1) и (Tn3-Tn1) и отношение разностей температур (Tn2-Tn1)/(Tn3-Tn1).
По полученным данным строят градуировочные зависимости теплопроводности выбранных образцов от разности температур Tn2-Tn1 и температуропроводности образцов от отношения разностей температур (Tn2-Tn1)/(Tn3-Tn1). После построения вышеуказанных градуировочных зависимостей повторяют операции многократного теплового воздействия с регистрацией указанных температур на поверхности контакта подложки и исследуемого нанесенного на изделие пенополиуретана. Рассчитывают вышеуказанные разности, отношения и, используя градуировочные зависимости, определяют искомые теплопроводность и температуропроводность, и по ним рассчитывают плотность исследуемого пенополиуретана.
Предложенный способ реализуется при использовании, например, данного устройства следующим образом.
Из образцов пенополиуретана с заранее определеннными и различными ТФХ (теплопроводностью и температуропроводностью), полученных по различным вариантам технологий, выбирают ряд образцов, теплопроводность и температуропроводность которых равномерно распределена во всем диапазоне их изменения для данного класса пенополиуретанов. Выбор образцов с теплопроводностью и температуропроводностью, равномерно распределенными во всем возможном диапазоне их изменения, обусловлен возможностью получения более точных осредняющих градуировочных зависимостей. По очереди теплоизолируют поверхность каждого выбранного образца пенополиуретана 2 путем приведения его поверхности в контакт с подложкой 1, выполненной из одного и того же пенополиуретана. При помощи программируемого управляющего устройства 6 подается управляющий сигнал на импульсный источник напряжения 7, от которого на линейный нагреватель, расположенный в плоскости контакта, по линии (а-б) подается заданное число импульсов напряжения с постоянной мощностью и периодом следования. Мощность, период следования и количество подаваемых импульсов заранее подбираются для данного класса пенополиуретанов, исходя из условия непревышения допустимой температуры термодеструкции и возможности регистрации с минимальной погрешностью значений температуры в интересующем диапазоне изменения ТФХ. Сигнал от датчика температуры 3, расположенного в плоскости контакта на фиксированном расстоянии r от линии воздействия (а-б) на поверхности образца, поступает на вход усилителя 5 и с его выхода на регистрирующее вычислительное устройство 4, в памяти которого фиксируются значения температуры в момент подачи n1, n2 и n3 импульсов. Тепловое импульсное воздействие осуществляют по очереди на поверхности каждого из выбранных образцов, в процессе которого регистрируют три температуры Tn1, Tn2 и Tn3 в моменты подачи n1, n2 и n3 импульсов. Для каждого из образцов определяют разности температур (Tn2-Tn1) и (Tn3-Tn1) и отношение разностей температур (Tn2-Tn1)/(Tn3-Tn1), после чего по полученным данным строят градуировочные зависимости теплопроводности от разности температур (Tn2-Tn1), а температуропроводности от отношения разностей температур (Tn2-Tn1)/(Tn3-Tn1). После этого осуществляют тепловое импульсное воздействие с регистрацией температур в момент подачи n1, n2 и n3 импульсов на поверхности образца исследуемого пенополиуретана, определяют для него указанные выше разности и отношение разностей температур, по которым, используя имеющиеся градуировочные зависимости, определяют искомые теплопроводность и температуропроводность.
Применение предлагаемого способа позволяет повысить точность определения теплофизических характеристик пенополиуретанов по сравнению с прототипом за счет использования относительного метода измерений, основанного на получении градуировочных зависимостей в узком диапазоне существования ТФХ для данного класса материалов, вместо использования абсолютного метода, основанного на применении математической модели, имеющей, для данного класса материалов, дополнительную методическую погрешность за счет несоответствия физической модели. Получение градуировочных зависимостей производится один раз, после чего ими можно многократно пользоваться для определения ТФХ пенополиуретанов данного класса. В связи с этим при использовании данного способа среднее время одного измерения и его трудоемкость ниже, чем у аналогичных способов/использующих сложные математические модели.
Пример реализации способа.
Проводилось определение данным способом неразрушающего контроля комплекса теплофизических характеристик контрольных образцов пенополиуретана, изготовленного методом напыления. Предварительно, при отработке технологии изготовления пенополиуретана из разных партий были выбраны 11 образцов, изготовленных в виде цилиндров диаметром d=70 мм и толщиной h=9 мм с различными ТФХ. Теплопроводность каждого образца определялась на существующем стенде стационарным методом “плиты”, наиболее точным из всех существующих методов. Плотность каждого образца определялась путем взвешивания и рассчитывалась по формуле:

где: G – вес образца, определенный на аналитических весах, кг;
– плотность образца, кг/м3;
– постоянное число;
d – диаметр образца, мм;
h – толщина образца, мм.
Температуропроводность каждого образца рассчитывалась по формуле (1). Теплоемкость любого изготовленного из одной и той же полиуретановой смолы образца равна 1350 Дж/(кг·град).
По очереди осуществляли тепловое импульсное воздействие в плоскости контакта каждого образца с одним и тем же теплоизолятором (пенополиуретаном) по линии действия нагревателя (а-б) тепловыми импульсами постоянной мощности и периодом следования (1 с) и регистрировали температуры в точке, расположенной на фиксированном расстоянии (r=2мм) от нагревателя. Регистрировали три температуры Т4, Т7 и T14 в моменты подачи четвертого n4, седьмого n7 и четырнадцатого n14 импульсов. Для каждого из образцов определяли разности температур (Т7-Т4) и (T14-Т4) и отношение разностей температур (Т7-T4)/(T14-Т4).
Результаты измерений на образцах пенополиуретана с известными ТФХ представлены в таблице 1. По полученным данным была построена зависимость теплопроводности различных пенополиуретанов от разности температур (T14-Т4), представленная на фиг.2. Как видно из графика, разброс экспериментальных данных не превышает ±2,5%. Также была построена осредненная зависимость температуроводности различных пенополиуретанов от отношения разностей температур (T7-T4)/(T14-T4), представленная на фиг.3. Как видно из графика, разброс экспериментальных данных составляет в среднем ±7,5%.
Для проверки достоверности результатов определения ТФХ по предложенному способу были выбраны три контрольных образца пенополиуретана с неизвестными ТФХ. На каждом из образцов были проведены описанные выше операции по предложенному способу, зарегистрированы три температуры Т4, Т7, T14, рассчитаны разности температур (Т7-Т4) и (T14-Т4) и отношение разностей температур (Т7-T4)/(T14-T4), по которым, используя зависимости, представленные на фиг.2 и фиг.3, были определены значения теплопроводности и температуропроводности. По формуле (1) были рассчитаны значения плотности контрольных образцов. После этого описанными выше существующими стационарными методами были измерены теплопроводность, плотность и по ним рассчитана температуропроводность каждого контрольного образца. Результаты представлены в таблице 1. На основании полученных данных была определена погрешность определения ТФХ по предложенному способу по отношению к данным, полученным на существующих аттестованных стандартных измерительных средствах, являющихся наиболее точными. Данная погрешность, как видно из таблицы 1, не превышает по теплопроводности ±3,2%, по температуропроводности ±5,4%, по плотности ±4,1%, что соизмеримо с погрешностью самих стандартных средств измерения.
Таким образом, использование предложенного способа позволяет по сравнению с прототипом повысить точность измерения комплекса теплофизических характеристик пенополиуретанов.
| Таблица 1 |
| № |
 |
 |
 |
 |
а·10-7 |
а·10-7 |
T14-T4 |
 |
| образ ца |
(определена существующим методом) |
(определен по данному способу) |
(определена существующим методом) |
(определена по данному способу) |
(определена существующим методом) |
(определена по данному способу) |
|
| |
Вт/(м·К) |
Вт/(м·К) |
кг/м3 |
кг/м3 |
м2/с |
м2/с |
Условные единицы |
|
| Образцы пенополиуретана с известными ТФХ |
| 1 |
0,0260 |
– |
43 |
– |
4,48 |
– |
4,62 |
0,491 |
| 2 |
0,0278 |
– |
36,7 |
– |
5,61 |
– |
4,45 |
0,505 |
| 3 |
0,0300 |
– |
55 |
– |
4,04 |
– |
4,40 |
0,475 |
| 4 |
0,0345 |
– |
56 |
– |
4,56 |
– |
4,20 |
0,491 |
| 5 |
0,0362 |
– |
57 |
– |
4,76 |
– |
4,06 |
0,487 |
| 6 |
0,0375 |
– |
44 |
– |
6,31 |
– |
4,08 |
0,507 |
| 7 |
0,0380 |
– |
36 |
– |
7,8 |
– |
4,02 |
0,522 |
| 8 |
0,0385 |
– |
27 |
– |
10,56 |
– |
4,04 |
0,533 |
| 9 |
0,0386 |
– |
36 |
– |
8,20 |
– |
4,00 |
0,521 |
| 10 |
0,0452 |
– |
99 |
– |
3,52 |
– |
3,7 |
0,468 |
| 11 |
0,0496 |
– |
145 |
– |
2,50 |
– |
3,52 |
0,443 |
| Контрольные образцы пенополиуретана |
| 1 |
0,0346 |
0,0351 |
49 |
47 |
5,20 |
5,50 |
4,18 |
0,500 |
| 2 |
0,0405 |
0,0392 |
36 |
36 |
8,33 |
8,05 |
3,98 |
0,521 |
| 3 |
0,0262 |
0,0270 |
53 |
52 |
3,64 |
3,81 |
4,56 |
0,478 |
Формула изобретения
Способ определения теплофизических характеристик пенополиуретанов, состоящий в том, что на теплоизолируемую поверхность исследуемого образца воздействуют по линии тепловыми импульсами постоянной мощности и периодом следования, регистрируют температуры в точке, расположенной на фиксированном расстоянии от линии воздействия на поверхности образца, отличающийся тем, что выбирают ряд образцов пенополиуретана с заранее определенными и различными теплопроводностью и температуропроводностью во всем возможном диапазоне их изменения для данного класса пенополиуретанов, а воздействие по линии тепловыми импульсами осуществляют по очереди на поверхности каждого из них, в процессе которого регистрируют три температуры Тn1, Тn2 и Тn3 в моменты подачи n1, n2 и n3 импульсов, для каждого из образцов определяют разности температур (Тn2-Тn1) и (Тn3-Тn1) и отношение разностей температур (Tn2-Tn1)/(Tn3-Tn1), строят по полученным данным градуировочные зависимости теплопроводности от разности температур (Tn2-Tn1), а температуропроводности – от отношения разностей температур (Тn2-Тn1)/(Тn3-Тn1), после чего аналогичное воздействие по линии тепловыми импульсами осуществляют на образце исследуемого пенополиуретана, регистрируют вышеуказанные температуры и определяют вышеуказанные разности и отношение разностей температур, по которым, используя имеющиеся градуировочные зависимости, определяют искомые характеристики.
РИСУНКИ
|
|