|
|
(21), (22) Заявка: 2005110328/12, 08.04.2005
(24) Дата начала отсчета срока действия патента:
08.04.2005
(43) Дата публикации заявки: 20.10.2006
(46) Опубликовано: 20.03.2007
(56) Список документов, цитированных в отчете о поиске:
RU 2087891 C1, 20.08.1997. SU 1401015 A1, 07.06.1988. RU 2091579 C1, 27.09.1991. RU 40763 U1, 27.09.2004. SU 1264035 A1, 15.10.1986. SU 1518705 A2, 30.10.1989. SU 1546879 A1, 28.02.1990.
Адрес для переписки:
452323, Республика Башкортостан, г. Дюртюли, ул. Зайлалова, 16, кв.82, И.З. Денисламову
|
(72) Автор(ы):
Денисламов Ильдар Зафирович (RU), Рабартдинов Загит Раифович (RU), Аминов Аскар Флюрович (RU)
(73) Патентообладатель(и):
Денисламов Ильдар Зафирович (RU), Рабартдинов Загит Раифович (RU), Аминов Аскар Флюрович (RU)
|
(54) ПРОБООТБОРНОЕ УСТРОЙСТВО ДЛЯ ТРУБОПРОВОДА
(57) Реферат:
Изобретение относится к пробоотборникам жидкости и газа из трубопровода, позволяющим производить поинтервальный отбор проб по сечению трубопровода. Пробоотборное устройство для трубопровода содержит корпус с сальниковым устройством, пробоотборную трубку с частичным нахождением в полости корпуса и запорный вентиль на конце пробоотборной трубки. Пробоотборная трубка соединена с корпусом резьбовой парой между трубопроводом и сальниковым устройством, причем резьба на пробоотборной трубке превышает по длине ответную резьбу на корпусе на величину внутреннего диаметра трубопровода. Такое выполнение устройства позволяет механическим примесям за счет многократного увеличения длины и времени контакта пробоотборной трубки и сальникового материала при наличии резьбового соединения оставаться, благодаря силам трения, во внешних слоях сальникового уплотнения, не проникая во внутренние слои. Сохранность внутренних слоев сальникового материала обеспечивает герметичность и работоспособность проотборного устройства на длительное время. 1 ил.
Предлагаемое изобретение относится к пробоотборникам жидкости и газа из трубопровода, позволяющим производить поинтервальный отбор проб по сечению трубопровода.
Известен пробоотборник, содержащий корпус, отводящую трубку с запорным элементом и заборную трубку с регулируемым выдвижением относительно корпуса (патент РФ №2150096, G 01 N 1/10, опубл. 27.05.2000). Устройство не позволяет изменять положение точки отбора проб после монтажа корпуса к трубопроводу.
Известен пробоотборник, содержащий корпус с сальниковым устройством и Г-образную пробозаборную трубку с запорным краном (патент РФ №2021586, G 01 N 1/10, опубл. 15.10.1994). Поворот Г-образной трубки на 180 градусов позволяет отбирать пробы по высоте сечения трубопровода, но точный поинтервальный отбор сопряжен с установкой заданного угла поворота с помощью транспортира (угломера) значительных размеров, зафиксированного к корпусу пробоотборника. Это увеличивает габариты изделия и усложняет конструкцию пробоотборника.
Наиболее близким по техническому решению к предлагаемому пробоотборнику является устройство для отбора проб из трубопровода, состоящее из пробоотборной трубки в силовом цилиндре с сальниками, способной выдвигаться в полость трубопровода на заданное растояние с помощью гидравлической системы трубок, вентилей и энергии жидкости самого трубопровода (патент РФ №2087891, G 01 N 1/10, опубл. 20.08.1997). Устройство имеет два недостатка. Наличие значительного числа трубок и вентилей требует периодического ухода за ними. Во-вторых, вертикальное движение пробоотборной трубки ведет к быстрому износу сальникового уплотнения при наличии абразивных частиц в продукции трубопровода и на внешней поверхности пробоотборной трубки.
Целью изобретения является снижение эксплуатационных затрат и одновременное повышение точности положения точки отбора проб по высоте сечения трубопровода.
Поставленная цель достигается тем, что известное устройство, содержащее корпус с сальниковым устройством, пробоотборную трубку с частичным нахождением в полости корпуса, запорный вентиль на конце пробоотборной трубки, выполнено так, что пробоотборная трубка соединена с корпусом резьбовой парой между трубопроводом и сальниковым устройством, причем резьба на пробоотборной трубке превышает по длине ответную резьбу на корпусе на величину внутреннего диаметра трубопровода.
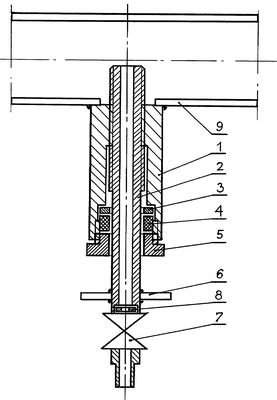
Предложенное техническое решение изображено на чертеже, где 1 – корпус пробоотборника, 2 – пробоотборная трубка, соединенная с корпусом 1 резьбовой парой с шагом Р так, что длина этой резьбы на пробоотборной трубке больше длины ответной резьбы в полости корпуса на величину внутреннего диаметра трубопровода 9. Сальниковое устройство состоит из шайбы перекрытия 3, сальникового материала 4 и прижимной втулки 5. Поворотная ручка 6 служит для поворота трубки 2 относительно неподвижного корпуса 1. Шайба-штуцер 8 и шаровой вентиль 7 обеспечивают постоянство диаметра отверстия истечения жидкости и газа из трубопровода в пробоотборную камеру.
Пробоотборное устройство работает следующим образом. Корпус 1 фиксируется в нижней стороне горизонтального трубопровода 9 одним из видов соединений (резьбовое, сварочное, фланцевое) так, чтобы верхняя часть (срез) пробоотборной трубки 2 находилась на уровне нижней образующей внутренней поверхности трубопровода (НОТ). Шаровой вентиль 7 закрывается и трубопровод пускается в эксплуатацию. После восстановления режима движения газожидкостной смеси в трубопроводе можно отбирать поинтервальные пробы в заданных точках по высоте сечения трубопровода от НОТ, с тем, чтобы поднять трубку 2 на заданную высоту Н, необходимо ее повернуть с помощью ручки 6 несколько раз на 360 градусов, а именно: Н/Р раз.
К примеру, чтобы взять пробу с осевой линии двухдюймового трубопровода (внутренний диаметр – 50 мм), необходимо пробоотборную трубку 2 с шагом резьбы Р=2 мм повернуть вокруг своей оси на 360 градусов 12,5 раз, т.е. сделать 12 полных оборотов и еще поворот на 180 градусов. При повороте трубки на 25 оборотов по 360 градусов можно отобрать пробу с верхней точки сечения трубопровода.
С тем, чтобы проходное сечение вентиля 7 всегда было одинаковым, вентиль 7 должен быть шаровым и открываться полностью. Обычно это достигается при повороте ручки шарового вентиля на 90 градусов. Скорость истечения газожидкостной смеси из полностью открытого пробоотборника устанавливается шайбой-штуцером 8, имеющей меньший диаметр, чем проходное сечение шарового вентиля 7. Шайба-штуцер 8 выполняет роль местного сопротивления.
Сочетание этих двух факторов: полностью открытый шаровой вентиль и наличие шайбы-штуцера дает равные условия прохождения газожидкостной смеси через пробоотборник, исключает влияние субъективного фактора, который возможен при неполном открытии запорного вентиля.
Дополнение пробоотборного устройства резьбовой парой между корпусом 1 и пробоотборной трубкой 2 выполняет поставленную цель – эксплуатационные расходы практически отсутствуют, так как необходимое положение точки отбора содержимого трубопровода достигается поворотом пробоотборной трубки на необходимое число оборотов по резьбе без привлечения другого оборудования и приспособлений. Во-вторых, замена линейного возвратно-поступательного движения пробоотборной трубки на вращательное ведет к снижению числа задиров и микроразрушений сальникового материала 4 при наличии механических примесей и следов коррозии на поверхности пробоотборной трубки. Такой положительный эффект объясняется тем, что при линейном возвратно-поступательном движении прилипшие к пробоотборной трубке механические примеси проходят сальниковое уплотнение по кратчайшему пути, равному его толщине. При кратковременном контакте с сальниковым материалом (СМ) мех. примеси остаются в сохранности на пробоотборной трубке и оставляют линейные бороздки на СМ, которые со временем превращаются в каналы утечки продукции трубопровода. Многократное увеличение длины и времени контакта пробоотборной трубки и сальникового материала при наличии резьбового соединения ведет к тому, что мех. примеси благодаря силам трения остаются во внешних слоях сальникового уплотнения, не проникая во внутренние. Сохранность внутренних слоев СМ обеспечивает герметичность и работоспособность пробоотборного устройства на длительное время.
Пробоотборные устройства заявленной конструкции испытаны на выкидных линиях нескольких добывающих скважин нефтяных месторождений ОАО АНК “Башнефть”. С их помощью определен характер течения газожидкостной смеси в трубопроводе, уточнена обводненность добываемой нефти. Эксплуатация пробоотборников в агрессивной среде (наличие высокоминирализованной воды, механических примесей и сероводорода) показала их работоспособность в течение 3 и более месяцев при еженедельном отборе поинтервальных проб.
Технико-экономическая эффективность использования пробоотборного устройства образуется за счет упрощения конструкции изделия, снижения эксплуатационных затрат и продления сроков безотказной службы.
Формула изобретения
Пробоотборное устройство для трубопровода, содержащее корпус с сальниковым устройством, пробоотборную трубку с частичным нахождением в полости корпуса, запорный вентиль на конце пробоотборной трубки, отличающееся тем, что пробоотборная трубка соединена с корпусом резьбовой парой между трубопроводом и сальниковым устройством, причем резьба на пробоотборной трубке превышает по длине ответную резьбу на корпусе на величину внутреннего диаметра трубопровода.
РИСУНКИ
MM4A – Досрочное прекращение действия патента СССР или патента Российской Федерации на изобретение из-за неуплаты в установленный срок пошлины за поддержание патента в силе
Дата прекращения действия патента: 09.04.2007
Извещение опубликовано: 20.07.2008 БИ: 20/2008
|
|