|
|
(21), (22) Заявка: 2005116816/28, 01.06.2005
(24) Дата начала отсчета срока действия патента:
01.06.2005
(43) Дата публикации заявки: 20.11.2006
(46) Опубликовано: 20.03.2007
(56) Список документов, цитированных в отчете о поиске:
SU 159295 A1, 01.01.1963. SU 805052 A1, 15.02.1981. SU 1474501 A1, 23.04.1989. СА 1287971 А, 27.08.1991. GB 884518 A, 13.12.1961.
Адрес для переписки:
644046, г.Омск, пр-кт Маркса, 35, Омский государственный университет путей сообщения
|
(72) Автор(ы):
Данковцев Вячеслав Тихонович (RU), Овчаренко Сергей Михайлович (RU)
(73) Патентообладатель(и):
Омский государственный университет путей сообщения (RU)
|
(54) СПОСОБ ИЗМЕРЕНИЯ ЗАЗОРОВ В ПОДШИПНИКОВЫХ УЗЛАХ ШАТУНА ДВИГАТЕЛЯ ВНУТРЕННЕГО СГОРАНИЯ
(57) Реферат:
Изобретение относится к области измерительной техники и предназначено для контроля степени износа подшипниковых узлов шатуна двигателя внутреннего сгорания. Способ измерения зазоров в подшипниковых узлах шатуна двигателя внутреннего сгорания заключается в контроле значения зазоров между подшипником верхней головки шатуна и пальцем поршня и между шатунным подшипником и шатунной шейкой коленчатого вала и позволяет раздельно фиксировать зазоры между подшипником верхней головки шатуна и пальцем поршня, а также зазор между шатунным подшипником и шатунной шейкой коленчатого вала. При этом класс точности измерения зазоров достигается за счет обеспечения плотных контакторов в подшипниковых узлах головок шатуна, при которых проводится начальная настройка стрелок измерительных индикаторов на нуль шкалы. Эффект измерения зазоров также достигается за счет возможности контроля зазоров в условиях эксплуатации двигателя внутреннего сгорания без его разборки. 1 ил.
Изобретение относится к области измерительной техники, в частности, для контроля степени износа подшипниковых узлов верхней и нижней головок шатуна двигателя внутреннего сгорания.
Известный способ для определения зазоров в узлах шатуна [1] заключается в том, что в камере сжатия цилиндра двигателя создается разрежение и посредством измерительных индикаторов фиксируют величины перемещений относительно корпуса двигателя в начале поршня, а затем поршня совместно с шатуном и раздельно – шатуна.
При таком способе определения зазора в верхней головке шатуна требуются определенные расчеты, связанные с получением разницы между суммарным зазором, фиксируемым при перемещении поршня совместно с шатуном, и зазором, фиксируемым при перемещении шатуна.
К числу существенных недостатков также следует отнести и то, что на точность измерения зазоров будет сказываться неизбежное наличие масляной пленки в подшипниковых узлах верхней и нижней головок шатуна.
Цель изобретения заключается в определении зазоров без каких-либо расчетов и в устранении погрешностей, зависящих от наличия масляной пленки в подшипниковых узлах шатуна.
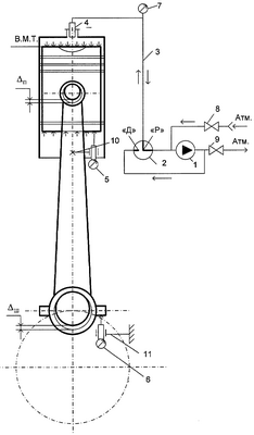
На чертеже иллюстрируется установка для измерения зазоров между подшипником верхней головки шатуна и пальцем поршня, а также между шатунным подшипником и шатунной шейкой коленчатого вала.
Установка состоит из вакуум-компрессора 1, двухходового пробкового вентиля 2, металлорезинового рукава 3, переходного патрубка 4, устанавливаемого вместо форсунки или свечи зажигания, измерительного индикатора 5 для фиксации величины перемещения поршня, измерительного индикатора 6 для фиксации величины перемещения шатуна, указателя давления и разрежения 7, перепускных вентилей 8, 9 и приспособлений 10, 11 для установки индикаторов 5, 6.
В качестве дополнительного пояснения конструкции установки следует отметить, что двухходовой пробковый вентиль 2 имеет два положения “Д” и “Р”. В положении “Д” вакуум-компрессор 1 обеспечивает через открытый вентиль 8, металлорезиновый рукав 3 и переходной патрубок 4 избыточное давление в камере сгорания цилиндра двигателя в пределах 1,8-2 атм, а в положении “Р” вакуум-компрессор 4 обеспечивает, при закрытом вентиле 8 и открытом 9, разрежение в камере сгорания в пределах 380-420 мм рт. столба.
В процессе измерения зазоров предварительно устанавливают поршень в верхней мертвой точке и посредством приспособления 10, 11 устанавливают измерительный индикатор 5 к штоку шатуна в вертикальной плоскости напротив поршня и индикатор 6, также в вертикальной плоскости напротив головки шатуна.
После этого рукоятку пробкового вентиля 2 переводят в положение “Д” и посредством вентилей 8, 9 переключают установку в режим подачи сжатого воздуха в цилиндр двигателя и далее, после включения вакуум-компрессора создают в цилиндре избыточное давление в пределах 1,8-2 атм. При таком состоянии установки стрелки измерительных индикаторов 5, 6 настраивают на нуль шкалы. Затем отключают вакуум-компрессор, переводят рукоятку пробкового вентиля в положение “Р” и также посредством вентилей 8, 9 переключают установку в режим – разрежение. После включения вакуум-компрессора создают в цилиндре разрежение в пределах, как уже отмечалось, 380-420 мм рт. столба. При таком состоянии установки по измерительным индикаторам 5, 6 фиксируют зазоры между подшипником верхней головки шатуна и пальцем поршня ( п) и зазор между шатунным подшипником и шатунной шейкой коленчатого вала ( ш).
Таким образом, измерение зазоров п и ш производится раздельно в каждом подшипниковом узле шатуна, и при этом повышение точности измерений достигается за счет плотного прилегания трущихся пар в начальный момент отсчета измерений.
Источник информации
1. А.С. СССР №159295, кл. 42b 26/03, 1963.
Формула изобретения
Способ измерения зазоров в подшипниковых узлах шатуна двигателя внутреннего сгорания путем создания разрежения в камере сгорания цилиндра и фиксации посредством измерительных индикаторов, величины перемещений относительно корпуса двигателя, вначале перемещение поршня, затем поршня совместно с шатуном и раздельно – шатуна, отличающийся тем, что в начале в камере сгорания цилиндра создают избыточное давление в пределах 1,8-2 атм и после этого стрелки измерительных индикаторов, установленных в вертикальной плоскости напротив поршня с противоположной стороны его головки и нижней головки шатуна, настраивают на нуль шкалы, а затем в цилиндре создают разряжение в пределах 380-420 мм рт. ст. и по индикаторам раздельно фиксируют величину перемещения поршня относительно его шатуна и перемещения шатуна относительно блока двигателя, то есть в результате фиксируют зазоры п и ш.
РИСУНКИ
|
|