|
|
(21), (22) Заявка: 2005119865/28, 27.06.2005
(24) Дата начала отсчета срока действия патента:
27.06.2005
(46) Опубликовано: 20.03.2007
(56) Список документов, цитированных в отчете о поиске:
SU 1762109 A1, 15.09.1992. SU 1030718 А, 23.07.1983. GB 547958 A, 21.09.1942. GB 299354 A, 22.07.1929.
Адрес для переписки:
656037, г.Барнаул, ул. Полярная, 32, кв.25, В.А. Цымбалисту
|
(72) Автор(ы):
Золотарев Сергей Васильевич (RU), Иливанов Виктор Михайлович (RU), Кандрин Юрий Викторович (RU), Цымбалист Василий Арсентьевич (RU), Цымбалист Ольга Васильевна (RU)
(73) Патентообладатель(и):
Кандрин Юрий Викторович (RU), Цымбалист Василий Арсентьевич (RU)
|
(54) УСТРОЙСТВО ДЛЯ ИЗМЕРЕНИЯ ТОЛЩИНЫ ЛЕНТЫ
(57) Реферат:
Изобретение относится к измерительной технике. Технический результат: повышение надежности и расширение диапазона измерений. Сущность: устройство содержит ферромагнитный сердечник, две катушки индуктивности, поворотный рычаг с роликом, вал, измерительный прибор и источник переменного напряжения. Поворотный рычаг установлен под углом 20-30° относительно вертикального диаметра вала. На конце рычага закреплен ферромагнитный сердечник, открытый торец которого образует с валом рабочий воздушный зазор. Источник переменного напряжения выполнен в виде высокочастотного генератора, в котором вторая катушка индуктивности образует положительную обратную связь. 3 ил.
Изобретение относится к измерительной технике и может быть использовано для измерения линейных перемещений объектов.
Известен индуктивный преобразователь линейных перемещений, содержащий якорь (вал), связываемый в процессе измерения с контролируемым объектом, два ферромагнитных сердечника, выполненных в виде стаканов, в первом из которых размещена измерительная обмотка, а во втором – компенсационная обмотка, открытый торец первого сердечника образует с якорем рабочий воздушный зазор, а открытый торец второго сердечника образует с помощью диэлектрической прокладки выполненной в виде кольца постоянный зазор с дном первого сердечника, настроечный элемент который установлен с возможностью перемещения в осевом направлении обоих сердечников, выполненный в виде жестко соединенных одна с другой цилиндрической ферромагнитной и цилиндрической с кольцевым выступом электропроводной частей, стопорный винт, мостовую измерительную схему и измерительный прибор который регистрирует разбаланс мостовой схемы (А.с. СССР №1088441, кл. Q 01 В 7/00).
Недостатком индуктивного преобразователя является недостаточная чувствительность и сравнительно малые функциональные возможности. Это объясняется тем, что при изменении длины рабочего воздушного зазора на десятые доли и до 1 мм. в котором расположена диамагнитная лента, не вызывает изменение индуктивности измерительной обмотки.
Преобразователь не обеспечивает измерение толщины резиновой ленты и обрезиненного корда, что снижает его функциональные возможности.
Наиболее близким по своей технической сущности является устройство для контроля толщины ленты, содержащие якорь, связанный в процессе измерения с контролируемой лентой, ферромагнитный сердечник, катушку индуктивности, открытый торец ферромагнитного сердечника образует с якорем рабочий воздушный зазор, опорный ролик, поворотный рычаг на одном конце которого установлен опорный ролик, а второй конец шарнирно соединен с якорем, вал, на котором расположена контролируемая лента, направляющую втулку, в которой установлен поворотный рычаг, измерительный прибор и источник переменного напряжения частотой 50 Гц (А.Я.Мучник и К.А.Парфенов. Общая электротехника. Москва: Высшая школа, 1965, 414 с., см. 245 с.).
Известное устройство обладает сравнительно низкой надежностью. Это объясняется тем, что при горизонтальном перемещении по валу резиновой ленты толщиной менее 5 мм она вибрирует и поворотный рычаг тормозит ее движение, что затрудняет практическое применение устройства. Кроме того, при контроле ленты происходит перемещение поворотного рычага по вертикали и смещение его по горизонтали, что может привести к заклиниванию рычага в направляющей втулке и это снижает надежность устройства и диапазон измерения толщины ленты.
Задачей настоящего изобретения является повышение надежности устройства и расширение диапазона измерения.
Настоящая задача достигается тем, устройство для измерения толщины ленты, содержащее ферромагнитный сердечник, расположенную на нем катушку индуктивности, поворотный рычаг, опорные ролики, вал для размещения ленты, на который опираются ролики, измерительный прибор, источник переменного напряжения, снабжено второй катушкой индуктивности, расположенной на ферромагнитном сердечнике, один конец которого шарнирно закреплен, установлен под углом 20-30° относительно вертикальной оси вала, на другом конце рычага закреплен ферромагнитный сердечник с опорными роликами, открытый торец которого образует с валом рабочий воздушный зазор, причем источник переменного напряжения выполнен в виде высокочастотного генератора, в котором вторая катушка индуктивности образует положительную обратную связь.
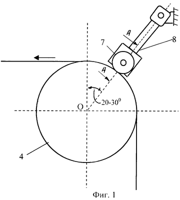
На фиг.1 изображено устройство для измерения толщины ленты, вид с боку; на фиг.2 – разрез по А-А; на фиг.3 – блок схема устройства.
Устройство для измерения толщины ленты содержит ферромагнитный сердечник 1, две катушки индуктивности 2 и 3, которые размещены на сердечнике 1, вал 4, открытый торец 5 сердечника 1 образует с валом 4 рабочий воздушный зазор 6, в котором размещена контролируемая лента, опорные ролики 7, поворотный рычаг 8, один конец которого шарнирно закреплен под углом 20-30° по отношению к вертикальной оси вала 4, а на другом его конце смонтированы ферромагнитный сердечник 1 и опорные ролики 7, высокочастотный генератор 9 переменного напряжения 50 кГц, выпрямительный блок 10, вход которого соединен с катушкой индуктивности 3, цифровой микроконтроллер 11, аналоговый вход которого соединен с выходом выпрямительного блока 10.
Устройство для измерения толщины ленты работает следующим образом.
На валу 4 находится контролируемая лента, и на ней расположены опорные ролики 7. Высокочастотный генератор 9 подключен к источнику постоянного напряжения. Генератор 9 вырабатывает переменное напряжение частотой 50 кГц, которое прилагается к катушке индуктивности 2, и по ней протекает переменный ток той же частоты. Переменный ток катушки 2 создает в ферромагнитном сердечнике 1 основной магнитный поток, и в поверхностном слое вала 4 проходит высокочастотный ток, индуктированный основным магнитным потоком. Этот ток оказывает размагничивающее действие на основной магнитный поток сердечника 1. При этом происходит уменьшение индуктивности катушки 2. Это вызывает уменьшение частоты и увеличение амплитуды переменного высокочастотного напряжения генератора 9. Индуктированная в катушке 3 ЭДС Е поступает на вход выпрямительного блока 10. С выхода блока 10 постоянное напряжение U поступает на аналоговый вход микроконтроллера 11, и его цифровой индикатор отображает измеряемую величину рабочего воздушного зазора 6, т.е. толщину ленты, которая расположена в нем. При отсутствии ленты на валу 4 на цифровом табло микроконтроллера 11 высвечивается «О».
Устройство обеспечивает повышение надежности и расширение диапазона измерения за счет поворотного рычага с ферромагнитным сердечником, катушками индуктивности и роликами на его конце, который установлен относительно вертикальной оси вала под углом 20-30°.
Катушка индуктивности образует положительную обратную связь генератора, которая обеспечивает отсчет показаний прямо пропорционально измеряемой толщине ленты.
Предлагаемое устройство позволяет производить измерение толщины резиновой ленты и обрезиненного корда, имеющих любую толщину.
Устройство надежно в работе из-за простоты и технологичности.
Формула изобретения
Устройство для измерения толщины ленты, содержащее ферромагнитный сердечник, расположенную на нем катушку индуктивности, поворотный рычаг, опорные ролики, вал для размещения ленты, на который опираются ролики, измерительный прибор, источник переменного напряжения, отличающееся тем, что оно снабжено второй катушкой индуктивности, расположенной на ферромагнитном сердечнике, поворотный рычаг, один конец которого шарнирно закреплен, установлен под углом 20-30° относительно вертикальной оси вала, на другом конце рычага закреплен ферромагнитный сердечник с опорными роликами, открытый торец которого образует с валом рабочий воздушный зазор, причем источник переменного напряжения выполнен в виде высокочастотного генератора, в котором вторая катушка индуктивности образует положительную обратную связь.
РИСУНКИ
MM4A – Досрочное прекращение действия патента СССР или патента Российской Федерации на изобретение из-за неуплаты в установленный срок пошлины за поддержание патента в силе
Дата прекращения действия патента: 28.06.2007
Извещение опубликовано: 20.02.2009 БИ: 05/2009
|
|