|
|
(21), (22) Заявка: 2005108101/03, 22.03.2005
(24) Дата начала отсчета срока действия патента:
22.03.2005
(43) Дата публикации заявки: 10.10.2006
(46) Опубликовано: 20.03.2007
(56) Список документов, цитированных в отчете о поиске:
SU 727849 А, 15.04.1980. SU 901516 А, 30.01.1982. SU 1693316 A1, 23.11.1991. SU 1809047 А1, 15.04.1993. US 3451370 А, 24.06.1969.
Адрес для переписки:
680035, г.Хабаровск, ул. Тихоокеанская, 136, Тихоокеанский государственный университет, отдел интеллектуальной собственности
|
(72) Автор(ы):
Лещинский Александр Валентинович (RU), Шевкун Евгений Борисович (RU), Иванченко Сергей Николаевич (RU), Шевкун Тамара Ивановна (RU)
(73) Патентообладатель(и):
Государственное образовательное учреждение высшего профессионального образования “Тихоокеанский государственный университет” (ГОУ ВПО “ТОГУ”) (RU)
|
(54) УСТРОЙСТВО ДЛЯ ЛОКАЛИЗАЦИИ ЭЛЕМЕНТОВ СКВАЖИННОЙ ВЗРЫВНОЙ СЕТИ
(57) Реферат:
Изобретение относится к области буровзрывных работ в крепких горных породах и может быть использовано в различных отраслях, применяющих взрывные работы в скальных массивах горных пород. Устройство для локализации элементов скважинной взрывной сети включает цилиндр, установленную по его оси с возможностью вращения несущую штангу с распорным приспособлением и съемную крышку. Устройство снабжено металлической обечайкой с установленной в ее нижней части крестовиной, на которой закреплена несущая штанга, при этом цилиндр вдоль его оси разрезан на части, которые штырями крепятся к крестовине. Распорное приспособление выполнено в виде закрепленных на несущей штанге кулачков, напротив которых на разрезанных частях цилиндра выполнены выступы для крепления силовой трубы с толкателем и пружиной, а съемная крышка установлена на обечайке и снабжена запорным элементом. Изобретение позволяет надежно защитить скважинную взрывную сеть от несанкционированного использования с момента зарядки скважин до начала монтажа поверхностной взрывной сети и повысить безопасность взрывных работ. 5 ил.
Изобретение относится к области буровзрывных работ в крепких горных породах и может быть использовано в различных отраслях, применяющих взрывные работы в скальных массивах горных пород.
При подготовке массовых взрывов с выполнением операций по зарядке взрывчатыми веществами (ВВ) большого количества скважин в течение нескольких суток возникает необходимость применения постоянной охраны заряжаемых блоков ввиду наличия на поверхности уступа элементов скважинной взрывной сети – выходящих из скважин частей детонирующих шнуров (ДШ) от боевиков [1]. Эти элементы могут быть несанкционированно использованы, а при возможных наездах на ДШ зарядных и забоечных машин возникает опасность преждевременного взрыва заряда. Для устранения этих недостатков необходимо надежно локализовать элементы скважинной взрывной сети на поверхности уступа.
Известна крышка-указатель заряженных скважин, включающая цилиндрический корпус и крышку, которая с целью повышения безопасности и надежности взрывных работ снабжена распорным устройством, расположенным в нижней части корпуса и связанным посредством тяги с крышкой, в которой выполнена герметичная полость [2]. Устройство вставляют в устье заряженной скважины, не заполненное забойкой на 0,5-0,6 м, ДШ укладывают в герметичную полость и распирают распорное устройство поворотом штанги с помощью фигурной гайки. Оно предохранит ДШ от замокания и, по мнению разработчиков, предохранит ДШ от случайных наездов карьерного транспорта и послужит указателем для поиска скважины в сложных погодных условиях.
Если с последним доводом можно согласиться, то предохранение от наезда вызывает сомнение, поскольку устройство возвышается над скважиной и будет неизбежно смято тяжелыми карьерными машинами, особенно в сложных погодных условиях. Кроме того, не составит труда вскрыть устройство и извлечь из него ДШ, ведь гайка никак не предохраняется от несанкционированного доступа.
Технической задачей, на решение которой направлено предлагаемое изобретение, является повышение безопасности взрывных работ за счет надежного укрытия элементов взрывной сети до начала монтажа поверхностной взрывной сети.
Поставленная задача достигается тем, что в устройстве для локализации элементов скважинной взрывной сети, включающем цилиндр, установленную по его оси с возможностью вращения несущую штангу с распорным приспособлением и съемную крышку, согласно изобретению устройство снабжено металлической обечайкой с установленной в ее нижней части крестовиной, на которой закреплена несущая штанга, при этом цилиндр вдоль его оси разрезан на части, которые штырями крепятся к крестовине, распорное приспособление выполнено в виде закрепленных на несущей штанге кулачков, напротив которых на разрезанных частях цилиндра выполнены выступы для крепления силовой трубы с толкателем и пружиной, а съемная крышка установлена на обечайке и снабжена запорным элементом.
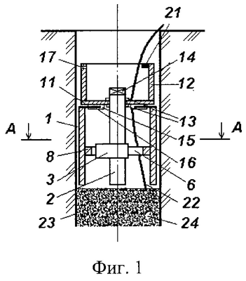
На фиг.1 схематично изображено устройство для локализации элементов скважинной взрывной сети в скважине до его установки, на фиг.2 – в рабочем положении, после распора в стенки скважины, на фиг.3 – после локализации элементов скважинной взрывной сети, на фиг.4 – сечение по А-А на фиг.1, на фиг.5 – сечение по Б-Б на фиг.2.
Устройство для локализации элементов скважинной взрывной сети включает цилиндр 1, выполненный из металла или пластической массы диаметром на 4-8 мм меньше диаметра скважины и разрезанный по продольной оси, например, на 3 части. По его оси установлена несущая штанга 2 с кулачками 3, на которых с помощью штифтов 4 закреплены толкатели 5, вставленные в силовую трубу 6, которая противоположным концом закреплена штифтом 7 на выступе 8 цилиндра 1. Внутри силовой трубы 6 между толкателем 5 и выступом 8 размещена пружина 9. На кулачках 3 выполнены фиксаторы 10. Несущая штанга 2 закреплена на крестовине 11, установленной в нижней части металлической обечайки 12 с помощью шайб 13 с возможностью вращения, и имеет в верхней части грани 14 под торцовый ключ. На крестовине 11 закреплены трубки 15, в которые вставляются штыри 16 от частей цилиндра 1. В обечайке 12 выполнено отверстие 17 под штырь 18 съемной крышки 19, снабженной запорным элементом 20, и выступ 21 под язычок запорного элемента 20.
Устройство для локализации элементов скважинной взрывной сети применяют следующим образом. На поверхности блока его собирают в конструктивный элемент. Для этого штыри 16 частей цилиндра 1 вставляют в трубки 15, пропускают через цилиндр 1 проводник инициирующего импульса 22 (волновод неэлектрической системы или детонирующий шнур) и в таком виде устройство опускают в скважину 23 на некоторую глубину, до забойки 24.
После этого торцовым ключом с помощью граней 14 поворачивают несущую штангу 2 до упора фиксаторов 10 в силовую трубу 6. При этом кулачки 3 поворачиваются и распирают разрезные части цилиндра 1 в стенки скважины 23 с помощью силовой трубы 6, внутри которой пружина 9 сжимается. Фиксаторы выполнены так, что при их упоре в силовую трубу 6 штифт 4 оказывается за осевой линией силовой трубы 6, что предотвращает обратный поворот кулачков 3 за счет сжатой пружины 9. Поскольку верхняя часть скважины, где размещают устройство для локализации элементов скважинной взрывной сети, расположена в нарушенной предыдущими взрывами части уступа, там часто бывают вывалы в стенках, они неровные. Поэтому при встрече какой-либо часть цилиндра 1 такого вывала пружина 9 распрямляется и толкает конкретный элемент цилиндра 1 дальше, до соприкосновения со стенкой скважины 23. При этом силовая труба 6 скользит по толкателю 5 и устройство плотно распирается в скважине. После этого сворачивают в бухточку проводник инициирующего импульса 22, укладывают его в полость металлической обечайки 12, вставляют в отверстие 17 штырь 18 съемной крышки 19, выполненной с гладкой поверхностью по диаметру обечайки 12, и защелкивают язычок запорного элемента 20 за выступ 21. Проводник инициирующего импульса 22 надежно защищен – устройство установлено глубоко в узкой скважине, крышка заперта запорным элементом, на ней отсутствуют какие-либо выступы. Выполнение крышки размером по наружному диаметру обечайки 12 защищает ее от возможного акта вандализма (умышленное воздействие для заклинивания, например, удары ломом). Защита внутрискважинной взрывной сети механическим путем позволит отказаться от вооруженной охраны и повысить надежность сохранения взрывчатых материалов на блоках, поскольку в последнее время человеческий фактор становится все чаще причиной хищений взрывчатых материалов.
Перед началом монтажа взрывной сети отпирают запорный элемент устройства, снимают крышку 19, используя ключ в замке в качестве ручки. Поворотом кулачков 3 в обратном направлении снимают распор устройства в стенки скважины, разворачивают и выводят из обечайки 12 конец проводника инициирующего импульса, и вынимают устройство из скважины для повторного использования. Затем приступают к монтажу поверхностной взрывной сети в обычном порядке.
Таким образом, заявляемое устройство для локализации элементов скважинной взрывной сети позволяют надежно защищать скважинную взрывную сеть от несанкционированного использования с момента зарядки скважин до начала монтажа поверхностной взрывной сети, повышая безопасность взрывных работ, чем достигается выполнение поставленной технической задачи.
Источники информации
2. Крышка-указатель заряженных скважин. А.с. СССР №727849. Е 21 С 37/00, F 42 D 5/04. 1980 (прототип).
Формула изобретения
Устройство для локализации элементов скважинной взрывной сети, включающее цилиндр, установленную по его оси с возможностью вращения несущую штангу с распорным приспособлением и съемную крышку, отличающееся тем, что устройство снабжено металлической обечайкой с установленной в ее нижней части крестовиной, на которой закреплена несущая штанга, при этом цилиндр вдоль его оси разрезан на части, которые штырями крепятся к крестовине, распорное приспособление выполнено в виде закрепленных на несущей штанге кулачков, напротив которых на разрезанных частях цилиндра выполнены выступы для крепления силовой трубы с толкателем и пружиной, а съемная крышка установлена на обечайке и снабжена запорным элементом.
РИСУНКИ
MM4A – Досрочное прекращение действия патента СССР или патента Российской Федерации на изобретение из-за неуплаты в установленный срок пошлины за поддержание патента в силе
Дата прекращения действия патента: 23.03.2007
Извещение опубликовано: 10.07.2008 БИ: 19/2008
|
|