|
|
(21), (22) Заявка: 2004104640/06, 04.07.2002
(24) Дата начала отсчета срока действия патента:
04.07.2002
(30) Конвенционный приоритет:
18.07.2001 (пп.1-15) IT PD2001A000181
(43) Дата публикации заявки: 10.05.2005
(46) Опубликовано: 20.03.2007
(56) Список документов, цитированных в отчете о поиске:
US 4341516 A1, 27.07.1982. SU 1032297 А, 30.07.1983. SU 1383068 A1, 23.03.1988. SU 1370403 A1, 30.01.1988. SU 1099199 A, 23.06.1984.
(85) Дата перевода заявки PCT на национальную фазу:
18.02.2004
(86) Заявка PCT:
EP 02/07426 (04.07.2002)
(87) Публикация PCT:
WO 03/008887 (30.01.2003)
Адрес для переписки:
129010, Москва, ул. Б.Спасская, 25, стр.3, ООО “Юридическая фирма Городисский и Партнеры”, пат.пов. С.А.Дорофееву
|
(72) Автор(ы):
БАРБЬЕРИ Сильвано (IT)
(73) Патентообладатель(и):
АГРЕКС С.П.А. (IT)
|
(54) СУШИЛЬНАЯ УСТАНОВКА, В ОБЩЕМ ПРЕДНАЗНАЧЕННАЯ ДЛЯ ЗЕРНОВЫХ КУЛЬТУР И ГРАНУЛИРОВАННЫХ МАТЕРИАЛОВ
(57) Реферат:
Изобретение относится к сушильной установке для зерновых, культур и гранулированных материалов. Сушильная установка содержит сушильную камеру, нагревательный агрегат, включающий в себя горелку, связанную с камерой сгорания, для нагрева потока воздуха, вводимого в сушильную камеру, дополнительную камеру, расположенную внутри сушильной камеры так, что она окружена массой зерна, подлежащего сушке, при этом дополнительная камера проходит в продолжение камеры сгорания нагревательного агрегата и сообщается с ней, создавая теплообменное устройство для нагрева осушающего воздуха, при этом дополнительная камера уплотнена для препятствования поступлению газов, образуемых при сгорании, в сушильную камеру, а газы, образуемые при сгорании, переносятся непосредственно внутрь сушильной камеры отдельно от потока осушающего воздуха, поток осушающего воздуха подается через канал в центральную полость сушильной камеры, центральная полость ограничена раструбом с перфорированной поверхностью для удержания полости отдельно от зерна и гранулированных материалов. Изобретение должно обеспечить повышение эффективности теплообмена. 14 з.п. ф-лы, 4 ил.
ОБЛАСТЬ ТЕХНИКИ
Настоящее изобретение, в общем, относится к сушильной установке для зерновых культур и гранулированных материалов.
ПРЕДПОСЫЛКИ К СОЗДАНИЮ ИЗОБРЕТЕНИЯ
Настоящее изобретение может найти конкретное, хотя и не исключительное, применение в области передвижных сушильных установок или скорее в области таких сушильных установок, которые размещают вблизи от площадей, на которых производят уборку зерновых культур, для возможности их сушки по месту в течение короткого времени, чтобы избежать распада главным образом из-за влаги, содержащейся в убранной зерновой культуре.
В другом типе сушильной установки используют теплообменник, расположенный снаружи сушильной установки, посредством которого нагревают поток воздуха, который затем подводят внутрь сушильной камеры.
Сушильные установки первого указанного типа обычно содержат вертикальную цилиндрическую сушильную камеру, предназначенную для нахождения в ней убранного зерна, и нагревательный агрегат, включающий в себя горелку, связанную с камерой сгорания, предназначенной для вырабатывания горячего воздуха, который должен быть введен в сушильную камеру с целью облегчения испарения влаги, содержащейся в осушаемом зерне. Обычно устанавливают вентилятор для введения потока воздуха в сушильную камеру в центральной полости, отделенной от хранящегося зерна, например, посредством панелей с перфорированной поверхностью. Из этой центральной полости создаваемый поток горячего воздуха, перемешанный с газами, образуемыми при сгорании, должен проникать в слои зерна, находящиеся в сушильной камере, что способствует выполнению процесса сушки.
Согласно этому типу сушильной установки осушающий воздух нагревают в камере сгорания, чтобы затем обеспечить его перемещение в центральную полость сушильной камеры. Кроме того, поток воздуха, нагретого посредством нагревательного агрегата, вводят в полость перемешанным с газами, образуемыми при сгорании, следовательно, эти газы при выполнении процесса сушки входят в контакт с зерном (см. патент США №4341516).
СУЩНОСТЬ ИЗОБРЕТЕНИЯ
Основная задача настоящего изобретения заключается в создании сушильной установки для зерновой культуры или подобных материалов, причем сушильной установки усовершенствованного типа, которая позволяет довести до максимума эффективность теплообмена между создающим тепло нагревательным агрегатом и потоком воздуха, к которому происходит перенос тепла и который обеспечивает процесс сушки, вследствие чего повышается предельная мощность теплообмена.
Еще одна задача заключается в создании сушильной установки, которая обеспечивает возможность удерживания потока осушающего воздуха отдельно от газов, образуемых при сгорании, что позволяет предотвратить контакт этих газов с зерном и предохранить их влияние на характеристики самого зерна.
Еще одна задача заключается в создании сушильной установки, которая позволяет повысить предельную эффективность теплообмена, чтобы за короткое время обеспечить высокую степень однородной сушки массы зерна, которая должна быть высушена.
Эти и другие задачи, которые далее будут очевидны, согласно настоящему изобретению решаются посредством сушильной установки, содержащей сушильную камеру, приспособленную для нахождения в ней зерна, подлежащего сушке; нагревательный агрегат, включающий в себя горелку, связанную с камерой сгорания, для нагрева потока воздуха, вводимого в сушильную камеру для сушки воздуха; дополнительную камеру, расположенную внутри сушильной камеры так, чтобы она была окружена массой зерна, подлежащего сушке, при этом эта камера проходит в продолжение камеры сгорания нагревательного агрегата и сообщается с ней так, чтобы создать теплообменное устройство для нагрева осушающего воздуха, причем камера, образующая теплообменник, выполнена таким образом, чтобы она была уплотнена для препятствования поступлению газов, образуемых при сгорании, в сушильную камеру, при этом газы, образуемые при сгорании, переносятся непосредственно внутрь сушильной камеры отдельно от потока осушающего воздуха, причем поток осушающего воздуха подается через канал в центральную полость сушильной камеры, при этом центральная полость ограничена перфорированной поверхностью, окружающей камеру, образующую теплообменное устройство, для удерживания полости отдельно от зерна, но в то же время обеспечивающей возможность прохождения потока воздуха из полости в направлении слоев зерна, хранящегося в сушильной установке.
Сушильная камера предпочтительно содержит верхнюю часть по существу цилиндрической формы, при этом камера, образующая теплообменное устройство, расположена соосно с сушильной камерой. Камера, образующая теплообменное устройство, ограничена стенками, формирующими поверхности для теплообмена между газами, образуемыми при сгорании и подводимыми в эту камеру, и потоком осушающего воздуха, который течет снаружи по поверхностям. Стенки снабжены дополнительными ребристыми поверхностями, предназначенными для усиления теплообмена в обменном устройстве. Обеспечены трубчатые элементы, проходящие внутри камеры, на которые могут воздействовать газы, образуемые при сгорании, чтобы обеспечить теплообмен между этими газами и потоком осушающего воздуха, подаваемого в трубчатые элементы для нагрева воздуха. Камера, образующая теплообменник, содержит первое, входное отверстие для топочных газов, сообщающееся непосредственно с камерой сгорания, и по меньшей мере одно второе, выходное отверстие для топочных газов, сообщающееся со средством перемещения топочных газов к наружной стороне сушильной камеры. Средство перемещения содержит по меньшей мере один трубчатый канал, имеющий противоположные концы, сообщающиеся с камерой, образующей теплообменник, и с дымоходом для топочных газов. Множество трубчатых каналов обеспечено для перемещения топочных газов в дымоход снаружи сушильной камеры. Каналы проходят пучком вокруг камеры сгорания и соединены с коллекторным устройством, сообщающимся с дымоходом для топочных газов. Пучок каналов размещен в таком положении, чтобы на него воздействовал встречный поток воздуха, создаваемый вентиляторным средством, для теплообмена между топочными газами и потоком воздуха для предварительного нагрева потока воздуха, вводимого в сушильную камеру. Причем предпочтительно обеспечено средство для продления пути, по которому перемещаются топочные газы в каждом из каналов пучка, так чтобы увеличить теплообмен между топочными газами и потоком воздуха, подаваемого вентиляторным средством противотоком к газам, образуемым при сгорании. Указанное средство содержит соответствующее спиральное тело, заключенное в каждом из каналов соосно с ним, так чтобы образовать проход для потока со спиральным ходом вдоль каналов в осевом направлении. Причем каждое из спиральных тел может быть установлено в соответствующем канале с возможностью извлечения. Причем каждое из спиральных тел выполнено с возможностью скольжения в соответствующем канале в осевом направлении. Каждое из спиральных тел может быть снабжено соответствующей манипуляционной рукояткой, проходящей от конца тела, обращенного к дымоходу для газов, образуемых при сгорании.
КРАТКОЕ ОПИСАНИЕ ЧЕРТЕЖЕЙ
Характеристики и преимущества изобретения будут более понятны из подробного описания одного из предпочтительных вариантов его осуществления, приведенного далее в качестве примера, не налагающего каких-либо ограничений, со ссылками на прилагаемые чертежи, на которых:
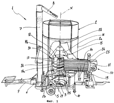
Фиг.1 представляет вид в перспективе, частично в сечении, сушильной установки, выполненной согласно изобретению;
Фиг.2 представляет вид в перспективе, частично в сечении, фрагмента сушильной установки, показанной на фиг.1;
Фиг.3 представляет разнесенный вид в перспективе, частично в сечении, фрагмента вида, показанного на фиг.2;
Фиг.4 представляет вид в перспективе, частично в сечении, фрагмента вида, показанного на фиг.3.
ПРЕДПОЧТИТЕЛЬНЫЙ ВАРИАНТ ОСУЩЕСТВЛЕНИЯ ИЗОБРЕТЕНИЯ
Сначала будет рассмотрена фиг.1, на которой позицией 1 в целом обозначена подвижная сушильная установка для зерновых культур и других гранулированных материалов, созданная в соответствии с настоящим изобретением.
Сушильная установка 1 содержит сушильную камеру, в целом обозначенную позицией 2, которая состоит из верхней основой части 2а цилиндрической формы и из имеющей форму усеченного конуса бункерной части 2b, которая заканчивается подающей горловиной 3, несущей пластинчатую заслонку с регулируемым отверстием для подачи по частям выпускаемого зерна.
Сушильную камеру 2 устанавливают на раму 4 с колесами 5 так, что сушильная установка выполнена передвижной и ее можно перемещать к месту уборки зерна, где и осуществляют сушку.
Кроме того, обеспечены транспортерные устройства, предпочтительно шнековые транспортеры, для выполнения функций загрузки и разгрузки, а также для рециркуляции зерна внутри сушильной камеры. Точнее, предусмотрен горизонтальный шнековый транспортер 6, расположенный под подающей горловиной 3 и подсоединенный к вертикальному шнековому транспортеру 7.
Вертикальный шнековый транспортер проходит параллельно центральной оси Х сушильной камеры 2 от основания камеры к ее вершине, где расположена наклонная выпускная труба 8, посредством которой материал, поднимающийся по вертикальному транспортеру 1, может вновь падать внутрь камеры 2 или наружу при выполнении фазы выгрузки (опорожнения) сушильной установки. Третий шнековый транспортер 9 предназначен для переноса зерна в месте соединения транспортеров 6 и 7.
Участок горизонтального транспортера 6, проходящий между подающей горловиной 3 и соединением с вертикальным транспортером 7, дополнительно предназначен для перемещения материала, поданного посредством горловины 3, и его переноса по вертикальному шнеку 7 назад внутрь сушильной камеры для выполнения рециркуляции зерна в течение фазы сушки.
Сушильная установка 1 также содержит нагревательный агрегат 10, включающий в себя горелку 11, связанную с камерой сгорания 12, для нагревания потока воздуха, который должен быть введен в сушильную камеру 2, что будет более понятно по ходу описания, для осуществления сушки зерна. Такой поток воздуха создают вентилятором 13 и подают по каналу 14 в сушильную камеру, а точнее в центральную полость 15 камеры, ограниченную раструбом 16 с перфорированной поверхностью, образованной, например, обшивкой 17 из перфорированного листового металла, предназначенной для удерживания полости отдельно от зерна, но в то же время обеспечивающей возможность прохождения потока воздуха из полости в направлении слоев зерна, хранящегося в сушильной установке. Эта центральная полость 15 соосна с сушильной камерой, так что раструб 16 будет окружен зерном, загруженным в сушильную камеру.
Камеру сгорания 12 устанавливают внутри канала 14 соосно с ним, при этом она проходит внутри центральной полости 15 до того места, где сообщается с дополнительной камерой 18, образуя теплообменное устройство для нагрева потока осушающего воздуха, что более подробно описано ниже. Камера 18 ограничена боковой стенкой 19а, закрытой противоположными торцевыми стенками 19b, 19с, при этом все стенки формируют соответствующие поверхности для теплообмена между газами, образуемыми при сгорании и подаваемыми в камеру 18, и потоком осушающего воздуха, создаваемого вентилятором, который течет вдоль наружной стороны стенок.
Следует заметить, что камера 18 выполнена с обеспечением уплотнения для предотвращения утечек топочных газов и возможности их введения в сушильную камеру. С этой целью камеру 18 выполняют с входным отверстием 20 для топочных газов, сообщающимся с камерой сгорания, а также с большим количеством выходных отверстий 21 для топочных газов, соединенных со средством перемещения топочных газов для их подачи наружу от сушильной камеры. Упомянутое средство перемещения содержит множество трубчатых каналов 22, сообщающихся одним осевым концом с камерой 18, а противоположным концом с общим коллектором 23, в свою очередь, подсоединенным к дымоходу для топочных газов, обозначенному позицией 24.
Согласно предпочтительной конфигурации, каналы 22 проходят в виде пучка вокруг камеры сгорания 12 и размещены внутри канала 14, так чтобы они подвергались воздействию встречного потока воздуха, создаваемого вентилятором и направляемого в сушильную камеру. В результате этого будет обеспечен дополнительный теплообмен между топочными газами, подаваемыми наружу по каналам 22, и потоком осушающего воздуха, создаваемым вентилятором, для предварительного нагрева этого потока воздуха, используя тепло газов, образуемых при сгорании и выпускаемых в дымоход.
В целях повышения теплообмена главным образом за счет конвекции тепла в камере 18 последнюю оснащают дополнительными ребристыми поверхностями, состоящими, например, из пластинчатых элементов 25, которым придана соответствующая конфигурация и которые крепят к боковой стенке 19а, так чтобы образовать каналы для прохождения по ним потока осушающего воздуха с увеличением поверхности теплообмена, охватываемой потоком.
Кроме того, установлены трубчатые элементы, все из которых обозначены позицией 26, проходящие внутри камеры 18 и открытые с противоположных концов, а также соответствующим образом прикрепленные к боковой стенке 19а, которые предназначены для воздействия на них горячих газов, образуемых при сгорании, внутри камеры 18, чтобы обеспечить теплообмен между этими газами и потоком осушающего воздуха, подаваемого в трубчатые элементы для дополнительной передачи тепла к потоку воздуха.
Следует заметить, что в описанном примере камера 18 имеет приблизительно кольцеобразную конфигурацию, содержащую центральное цилиндрическое отверстие 27, соосное с осью X, пригодное для возможности прохождения центрального вала 28, служащего для приведения в действие смесительного средства 29, предназначенного для перемешивания зерна. Очевидно, что если сушильная установка выполнена с центральным вертикальным транспортером по оси X, то форму и размеры цилиндрического отверстия 27 выбирают таким образом, чтобы оно обеспечивало возможность размещения транспортера. В сушильных установках с вертикальным транспортером, наружным по отношению к сушильной камере, так, как это выполнено в описанном примере, камера 18, как вариант, может и не иметь центрального сквозного отверстия или иметь уменьшенное отверстие для прохождения передаточных устройств, например таких, как вышеупомянутый вал 28. В последнем случае поверхность цилиндрического отверстия также просто снабжена дополнительными ребрами 30, например, в форме профилей, проходящих в осевом направлении с заданным угловым шагом и предназначенных для увеличения поверхности теплообмена.
Боковая стенка 19а камеры 18 дополнительно обеспечена впадинами 31, образующими внутри самой камеры пару отклоняющих поверхностей 32а, 32b, предназначенных для отклонения потока горячих топочных газов, вводимых в камеру, и создающих внутреннее циркуляционное движение для облегчения переноса тепла к стенкам самой камеры, доводя до максимума относительный теплообмен.
Каждый канал 22 пучка труб, который охватывает камеру сгорания 12, дополнительно снабжен с внутренней стороны соответствующим, соосным с ним и проходящим по спирали телом 33. Предпочтительно, чтобы такое тело было выполнено в форме двойной спирали или скорее было бы образовано парой налагаемых друг на друга и отстоящих друг от друга по углу спиралей, которые в каждом канале 22 формируют проход с двойным спиральным направлением, по которому перемещаются газы, образуемые при сгорании. В результате путь, проходимый топочными газами, будет значительно больше длины канала по оси, и топочные газы будут больше находиться в контакте с наружной стенкой труб благодаря наличию спиральных проходов, поэтому будет происходить больший перенос тепла от топочных газов к встречному потоку воздуха при сохранении фактически постоянных значений скорости и давления, за счет чего происходит увеличение теплообмена без какого-либо увеличения прохождения пучка труб в осевом направлении.
Также обеспечена возможность скольжения спиральных тел 33 в осевом направлении в соответствующих каналах 22, и с этой целью они снабжены соответствующей манипуляционной рукояткой 34, расположенной на осевом конце тела 33, обращенном к коллектору 23 для выпуска топочных газов. В коллекторе обеспечено кольцо с отверстиями 35, расположенное соосно с пучком 22 труб для возможности извлечения спиральных тел 33 из соответствующих каналов пучка и их введения в эти каналы.
Таким образом, в изобретении решены поставленные задачи с получением при этом ряда преимуществ по отношению к известным техническим решениям.
Основное преимущество заключается в том, что в сушильной установке согласно изобретению эффективность теплообмена при нагревании осушающего воздуха увеличивается благодаря тому, что происходит сгорание, и газы, образуемые при сгорании, подводят непосредственно внутрь сушильной камеры, и они скапливаются в камере, образующей теплообменник, который позволяет довести теплообмен до максимума. Испытания, проведенные заявителем, продемонстрировали повышенную эффективность полного теплообмена по отношению к известным техническим решениям.
Дополнительное преимущество заключается в том, что тепло горячих газов, образуемых при сгорании и направляемых к дымоходу, эффективно передается потоку осушающего воздуха для предварительного нагрева этого потока, позволяя получить выгоды теплообмена, происходящего при противотоке.
Еще одно преимущество заключается в том, что согласно изобретению газы, образуемые при сгорании, удерживают отдельно от потока осушающего воздуха внутри сушильной камеры, чтобы избежать контакта между топочными газами и продуктами горения с зерном для сохранения характеристик и свойств последнего.
Еще одно преимущество заключается в том, что эффективность теплообмена при противотоке топочных газов, подаваемых в пучке выпускных каналов, и потока воздуха, создаваемого вентилятором, увеличивается вследствие спирального направления проходов, обеспеченных внутри каналов, что создает преимущество, позволяя ограничить габаритные размеры пучка труб в осевом направлении и уменьшить общий размер сушильной установки.
Еще одно преимущество заключается в том, что применение обменника не влечет за собой изменений сушильной установки в отношении ее конструкции и размеров, тем самым обеспечивая возможность ее применения в существующих машинах, а также не приводит к увеличению затрат на ее изготовление. Кроме того, поскольку габаритные размеры не изменяются, транспортные расходы сохраняются неизменными.
Формула изобретения
1. Сушильная установка, в общем предназначенная для зерновых культур и гранулированных материалов, содержащая сушильную камеру (2), приспособленную для нахождения в ней зерна и гранулированных материалов, подлежащих сушке; нагревательный агрегат (10), включающий в себя горелку (11), связанную с камерой сгорания (12), для нагрева потока воздуха, вводимого в сушильную камеру (2) для сушки зерна и гранулированных материалов; дополнительную камеру (18), расположенную внутри сушильной камеры (2) так, чтобы она была окружена массой зерна и гранулированных материалов, подлежащих сушке, при этом камера (18) проходит в продолжение камеры сгорания (12) нагревательного агрегата (10) и сообщается с ней так, чтобы создать теплообменное устройство для нагрева осушающего воздуха, отличающаяся тем, что камера (18), образующая теплообменник, выполнена таким образом, чтобы она была уплотнена для препятствования поступлению газов, образуемых при сгорании, в сушильную камеру (2), при этом газы, образуемые при сгорании, переносятся непосредственно внутрь сушильной камеры отдельно от потока осушающего воздуха, причем поток осушающего воздуха подается через канал (14) в центральную полость (15) сушильной камеры, при этом центральная полость ограничена раструбом с поверхностью для удерживания полости отдельно от зерна и гранулированных материалов, но в то же время обеспечивающей возможность прохождения потока воздуха из полости в направлении слоев зерна и гранулированных материалов, хранящихся в сушильной установке, причем центральная полость соосна с сушильной камерой.
2. Сушильная установка по п.1, в которой сушильная камера (2) содержит верхнюю часть по существу цилиндрической формы, при этом камера (18), образующая теплообменное устройство, расположена соосно с сушильной камерой.
3. Сушильная установка по п.1 или 2, в которой камера (18), образующая теплообменное устройство, ограничена стенками (19а, 19b, 19 с), формирующими поверхности для теплообмена между газами, образуемыми при сгорании и подводимыми в камеру (18), и потоком осушающего воздуха, который течет снаружи по стенкам (19а, 19b, 19 с).
4. Сушильная установка по п.3, в которой стенки снабжены дополнительными ребристыми поверхностями (25), предназначенными для усиления теплообмена в обменном устройстве.
5. Сушильная установка по одному из пп.1, 2 и 4, в которой обеспечены трубчатые элементы (26), проходящие внутри камеры (18), на которые могут воздействовать газы, образуемые при сгорании, чтобы обеспечить теплообмен между этими газами и потоком осушающего воздуха, подаваемого в трубчатые элементы (26) для нагрева воздуха.
6. Сушильная установка по одному из пп.1, 2 и 4, в которой камера (18), образующая теплообменник, содержит первое входное отверстие (20) для топочных газов, сообщающееся непосредственно с камерой сгорания (12), и, по меньшей мере, одно второе выходное отверстие (21) для топочных газов, сообщающееся со средством (22) перемещения топочных газов к наружной стороне сушильной камеры (2).
7. Сушильная установка по п.6, в которой средство перемещения содержит, по меньшей мере, один трубчатый канал (22), имеющий противоположные концы, сообщающиеся с камерой (18), образующей теплообменник, и с дымоходом (24) для топочных газов.
8. Сушильная установка по п.7, в которой множество трубчатых каналов (22) обеспечено для перемещения топочных газов в дымоход (24) снаружи сушильной камеры (2).
9. Сушильная установка по п.8, в которой каналы (22) проходят пучком вокруг камеры сгорания (12) и соединены с коллекторным устройством (23), сообщающимся с дымоходом (24) для топочных газов.
10. Сушильная установка по п.9, в которой пучок каналов (22) размещен в таком положении, чтобы на него воздействовал встречный поток воздуха, создаваемый вентиляторным средством, для теплообмена между топочными газами и потоком воздуха для предварительного нагрева потока воздуха, вводимого в сушильную камеру (2).
11. Сушильная установка по одному из пп.7-10, в которой обеспечено средство для продления пути, по которому перемещаются топочные газы в каждом из каналов (22) пучка так, чтобы увеличить теплообмен между топочными газами и потоком воздуха, подаваемого вентиляторным средством противотоком к газам, образуемым при сгорании.
12. Сушильная установка по п.11, в которой упомянутое средство содержит соответствующее спиральное тело (33), заключенное в каждом из каналов соосно с ним так, чтобы образовать проход для потока со спиральным ходом вдоль каналов (22) в осевом направлении.
13. Сушильная установка по п.12, в которой каждое из спиральных тел (33) установлено в соответствующем канале (22) с возможностью извлечения.
14. Сушильная установка по п.12 или 13, в которой каждое из спиральных тел (33) выполнено с возможностью скольжения в соответствующем канале (22) в осевом направлении.
15. Сушильная установка по п.12 или 13, в которой каждое из спиральных тел (33) снабжено соответствующей манипуляционной рукояткой (34), проходящей от конца тела (33), обращенного к дымоходу (24) для газов, образуемых при сгорании.
РИСУНКИ
MM4A – Досрочное прекращение действия патента СССР или патента Российской Федерации на изобретение из-за неуплаты в установленный срок пошлины за поддержание патента в силе
Дата прекращения действия патента: 05.07.2009
Извещение опубликовано: 27.07.2010 БИ: 21/2010
|
|